Next Article in Journal
Advances in the Study of Bioactive Compounds and Nutraceutical Properties of Goji Berry (Lycium barbarum L.)
Previous Article in Journal
The Effect of the Use of the Beneficial Acetic Acid Bacteria Starter Cultures on the Microbiological and Physicochemical Quality of Raw Ripening Sausages
 
 
Font Type:
Arial Georgia Verdana
Font Size:
Aa Aa Aa
Line Spacing:
Column Width:
Background:
Article

Enhancing Camera Source Identification: A Rapid Algorithm with Enhanced Discriminative Power

by
Zhimao Lai
1,2,*,
Lijuan Cheng
1 and
Renhai Feng
3
1
School of Immigration Administration (Guangzhou), China People’s Police University, Guangzhou 510663, China
2
School of Automation, Guangdong University and Technology, Guangzhou 510006, China
3
School of Electrical and Information Engineering, Tianjin University, Tianjin 300072, China
*
Author to whom correspondence should be addressed.
Appl. Sci. 2025, 15(1), 261; https://doi.org/10.3390/app15010261
Submission received: 12 November 2024 / Revised: 22 December 2024 / Accepted: 28 December 2024 / Published: 30 December 2024

Abstract

Digital image source identification primarily focuses on analyzing and detecting the machine imprints or camera fingerprints left by imaging devices during the imaging process to trace the origin of digital images. The development of a swift search algorithm is crucial for the effective implementation of camera source identification. Despite its importance, this domain has witnessed limited research, with existing studies predominantly focusing on search efficiency while neglecting robustness, which is essential. In practical scenarios, query images often suffer from poor signal quality due to noise, and the variability in fingerprint quality across different sources presents a significant challenge. Conventional brute-force search algorithms (BFSAs) prove largely ineffective under these conditions because they lack the necessary robustness. This paper addresses the issues in digital image source identification by proposing a rapid fingerprint search algorithm based on global information. The algorithm innovatively introduces a search priority queue (SPQ), which analyzes the global correlation between the query fingerprint and all reference fingerprints in the database to construct a comprehensive priority ranking, thereby achieving the efficient retrieval of matching fingerprints. Compared to the traditional brute-force search algorithm (BFSA), our method significantly reduces computational complexity in large-scale databases, optimizing from O ( n N ) to O ( n log N ) , where n is the length of the fingerprint, and N is the number of fingerprints in the database. Additionally, the algorithm demonstrates strong robustness to noise, maintaining a high matching accuracy rate even when image quality is poor and noise interference is significant. Experimental results show that in a database containing fingerprints from 70 cameras, our algorithm is 50% faster in average search time than BFSA, and its matching accuracy rate exceeds 90% under various noise levels. This method not only improves the efficiency and accuracy of digital image source identification but also provides strong technical support for handling large-scale image data, with broad application prospects in fields such as copyright protection and forensic evidence.

1. Introduction

The widespread availability of image editing tools has simplified the process for users to enhance or modify digital images according to their needs. However, when such manipulated images are utilized in formal media, scientific research, or as court evidence, they pose significant information security concerns [1,2]. These concerns can potentially disrupt social stability and impede national development. Furthermore, when malicious actors disseminate illicit content online, authorities must trace the origins of these images to effectively curb their distribution. Digital image forensics involves the analysis and verification of manipulation, forgery, and concealment in digital images. It is primarily divided into active and passive forensics. Active forensics relies on digital watermarking for authentication, which is achieved by embedding verification information into original digital photos beforehand. Representative techniques include robust digital watermarking for anti-counterfeiting, fragile digital watermarking for tamper detection, and digital fingerprints and signatures for authentication. This limitation makes it difficult to fundamentally resolve information security issues arising from digital images. In contrast, passive digital image forensics, also known as blind forensics, can be independently conducted by the forensics party without any preprocessing of the digital image. Passive digital image forensics analyzes and detects given digital multimedia objects to determine their origin, whether they have been altered, and how they were manipulated. Digital image source identification aims to extract characteristic information about the generating device from the image [3]. Current techniques achieve this by extracting and analyzing various clues that reflect the imaging characteristics of the generating device. This is primarily due to the image generation pipeline and unique hardware.
The field of digital image forensics has experienced substantial advancements, particularly in methods aimed at associating images with their originating devices, as demonstrated by extensive research [4,5,6,7,8,9,10,11,12,13,14,15,16,17,18]. Lukas et al. [19] achieved a pioneering breakthrough by employing photo-response non-uniformity (PRNU) noise as a unique identifier for determining the origin of images from cameras. Building on this foundational work, numerous PRNU-based algorithms have been developed, focusing on innovating new methods for fingerprint extraction and extending their application from mere source identification to forgery detection [20,21]. Additionally, other studies have concentrated on enhancing the quality of the fingerprints and improving the efficacy of detection [22,23,24,25,26,27]. Despite these advancements, concerns persist regarding the reliability and applicability of PRNU-based identification, especially in large-scale databases [28,29]. The reliability of device PRNUs has undergone rigorous evaluation, and the practicality and dependability of employing PRNU-based identification within extensive databases have been investigated [30]. Furthermore, the efficiency of identification within such large fingerprint databases has been investigated [22,31]. In response to these challenges, Zhao et al. [32] proposed a novel device fingerprint for robust video source camera identification, which demonstrates enhanced robustness against video processing. Their method employs image processing techniques to extract low-frequency and high-frequency features, thereby improving identification accuracy. Further contributions include Chen et al.’s [9] introduction of a method based on demosaicing residual features for robust camera model identification. Yang et al. [33] proposed a video forensics method based on PRNU analysis that enhances identification accuracy while maintaining processing speed, although it does not specify performance under extreme conditions, such as varying lighting or complex backgrounds. Li et al. [34] proposed an innovative method based on principal component analysis (PCA) to purify PRNU noise, thereby enhancing the accuracy of source camera identification. This approach involves the application of PCA technology to effectively eliminate interfering noise from the reference PRNU noise. As a result, the method significantly improved receiver operating characteristic (ROC) curves and Kappa statistics, underscoring its effectiveness in accurately identifying the source camera. Moreover, Manisha et al. [35] proposed a new data-driven approach to extract device-specific fingerprints beyond PRNU, thereby improving source camera identification accuracy. Their method extracts location-independent, random, and globally available device-specific fingerprints, addressing the vulnerability of PRNU to image processing operations and anti-forensic attacks.
Before source camera identification can be effectively applied in real-world scenarios, several critical issues must be addressed, with fast identification being a primary concern. In this study, we explore an extensive database containing N camera reference fingerprints to determine whether the fingerprint of the camera that captured a specific query or test image is included in this database. This task can be framed as a multiple-hypothesis testing problem, wherein a cross-correlation detector is employed for each fingerprint in the database. The search process is conducted using a sequential search algorithm, specifically the brute-force search algorithm (BFSA), which has a computational complexity of O ( n N ) . Here, n denotes the number of pixels in each image or its corresponding camera fingerprint. Given that the resolution of popular cameras is often high, the computational cost associated with BFSA can become prohibitively expensive for extensive camera reference fingerprint databases. Beyond the challenge of search efficiency, another significant issue has been overlooked or ignored by previous studies [22,31]: the robustness of fast search algorithms. As this work will demonstrate, fast algorithms that do not account for robustness, such as BFSA, are prone to high erroneous detection rates.
We propose a novel approach to designing a fast and robust search algorithm. Generally, global information demonstrates greater resilience than local information against noise interference during rapid matching processes. From this viewpoint, we scrutinize how the query’s fingerprint or digest correlates with the fingerprints or digests of references throughout the entire database. It is important to note that we will define “digest” later and will not strictly differentiate between fingerprints and their digests unless necessary. This relationship is effectively represented by our search priority queue (SPQ). The SPQ is based on the observation that pairs of PRNU signals or camera fingerprints, originating from the same camera tend to have a higher number of elements with identical signs (i.e., “+” or “−”) at corresponding spatial locations. This phenomenon is particularly evident when the signals are free from noise or minimally affected by it. In contrast, pairs of PRNU signals from different cameras exhibit fewer elements with matching signs. Consequently, for a given query fingerprint, the number of such elements can serve as an indicator to swiftly identify the matching reference fingerprint within the database. The foundation for constructing the SPQ lies in the number of elements with identical signs.
Our contributions can be summarized as follows:
  • We propose a novel search priority queue (SPQ) aimed at accelerating and enhancing the process of digital image source identification. This approach leverages comprehensive data to assess the interconnections between the query’s unique identifier (fingerprint or digest) and those of the references across the entire database. The SPQ capitalizes on the observation that pairs of PRNU signals originating from the same camera exhibit a higher frequency of elements with identical signs (i.e., “+” or “−”) at corresponding spatial locations. This characteristic becomes more pronounced when the pair is free from noise or minimally affected by it.
  • We introduce a new fast search algorithm that prioritizes both search efficiency and robustness. This algorithm significantly reduces computational costs and decreases the rate of false detections when compared to the traditional brute-force search algorithm (BFSA), particularly in the context of large-scale databases.
  • A key innovation of our work is the utilization of global information to enhance the robustness of the identification process. Unlike traditional methods that depend on local information, our approach analyzes the relationship between the entire database of reference fingerprints and the query fingerprint. This comprehensive analysis, rather than relying solely on local features of individual images or fingerprints, yields more stable and reliable identification results, especially when confronted with noise interference and variations in image quality.
The structure of this paper is organized as follows: Section 2 analyzes the challenges faced in designing a practical fast search algorithm, emphasizing the limitations found in the existing literature. In Section 3, we provide a comprehensive description of our proposed algorithm, with special attention given to the acquisition procedure of SPQ. Section 4 showcases experimental results that illustrate the effectiveness and advantages of our algorithm. Finally, Section 5 concludes the paper.

2. Problem Statement and Review of Previous Works

A significant challenge faced by the BFSA is its computational complexity, primarily due to the iterative cross-correlation computations required. The calculation of the correlation between two fingerprints involves complex multiplications, making it the most time-consuming operation within the BFSA process. A viable strategy to improve BFSA efficiency is to decrease the number of required correlation computations.
One of the fundamental challenges faced by the BFSA is its lack of robustness, which renders it highly sensitive to the degradation in the quality of fingerprints. To illustrate the gravity of this issue, consider a scenario where the camera reference fingerprint database comprises nine fingerprints, denoted as { F i } for i = 1 , , 9 . When presented with a query fingerprint X , BFSA conducts its search by sequentially calculating the correlation ρ i between X and each F i . The search process terminates immediately upon finding a correlation value exceeding the decision threshold t k , at which point a match is reported. Assume that both X and F 7 originate from the same camera. In the scenario depicted in Figure 1a , X is correctly matched with F 7 , and no other correlation value surpasses t k . Conversely, in Figure 1b, BFSA erroneously identifies a match because other correlation values exceed t k , specifically with ρ 2 > t k occurring before ρ 7 > t k . Consequently, ρ 9 > t k does not influence the decision, as the search concludes before comparing X with F 9 . This scenario in Figure 1b suggests that the sequence of reference fingerprints in the database can affect BFSA’s outcomes, an undesirable trait for a fast search algorithm. Ideally, as shown in Figure 1a, a high-quality X would ensure ρ 7 > t k while maintaining ρ i t k for i 7 . However, Figure 1b reflects a more realistic situation where an ordinary or poor-quality X results in ρ 7 , ρ 2 , and ρ 9 , all exceeding t k . Despite efforts to prevent the scenario depicted in Figure 1b, it is more common than the ideal situation in Figure 1a in practical applications.
The exploration of potential solutions to enhance the accuracy and efficiency of camera fingerprint matching reveals three primary approaches. The first solution involves obtaining high-quality query fingerprints. This approach assumes that all camera reference fingerprints are of perfect quality, yet the extraction of high-quality query fingerprints, denoted as X , presents numerous challenges, which will be analyzed subsequently. The second approach proposes raising the decision threshold from t k to a higher value, denoted as t k . However, this adjustment proves impractical when faced with a large database of camera fingerprints, particularly when the query fingerprints are derived from a variety of sources. The third solution focuses on enhancing the robustness of the fast search algorithm. For instance, if the fast search algorithm could identify F 7 in the initial search round, erroneous decisions could be avoided. This study concentrates on the third solution, aiming to design a robust fast search algorithm.
Goljan et al. [22] introduced the approximate rank matching search algorithm (ARMS), a fast search algorithm that outperforms the BFSA. Their approach involved two key improvements: the introduction of fingerprint digests and the selection of candidate-matching digests based on the most influential indices. Utilizing digests instead of full-length fingerprints significantly reduces computational complexity. A fingerprint digest is a sorted array of the k most significant components, based on their absolute values, where k is less than n. From a signal processing perspective, these defective pixels can be considered forensic feature pixels of the fingerprint. The second effort of the study draws inspiration from the Spearman rank correlation [36]. For two fingerprints, denoted as X and F , their corresponding digests are represented by X ˜ and F ˜ , respectively. Hereafter, any symbol with a “∼” indicates a digest. The positions of the elements in X ˜ and F ˜ are recorded as L ( X ˜ ) and L ( F ˜ ) . ARMS identifies the elements that most significantly influence the Spearman rank correlation coefficient between X ˜ and F ˜ as the key indices. To prevent confusion with fingerprint indices, we refer to these as the most influential elements instead. The rapid matching of the query digest with the reference digest is facilitated by the rank information derived from these influential elements. Figure 1 illustrates the fundamental concept of this selection criterion.
The ARMS algorithm initiates the search process with the largest element of X ˜ , identified as the first most influential element. For instance, if the largest element, x 1 , is positioned at the left corner of X , ARMS employs the spatial data to identify and retrieve digest components that are located at identical positions within the reference fingerprints in the database. It prioritizes the search for those reference digests, such as digest numbers 2, 4, and 5 depicted in Figure 2, considering them as potential candidates. To refine the search scope and enhance matching accuracy, ARMS incorporates three additional constraints: the search window, the consistency of signs between query and reference elements, and the accumulated evidence. In the event that the initial search round fails to produce a satisfactory match—characterized by correlation values between the query and selected reference digests falling below the threshold t k —ARMS advances to the subsequent element of X ˜ and reiterates the search process. This iterative procedure persists until either a match is identified or the time limit for the ARMS search is reached. The implementation of this process, as detailed in [22], involves accessing a sparse matrix that maintains the location and value of each element in the reference digests, along with the index of each reference digest. The ARMS search algorithm is effectively designed, with its search order determined by a priority level. This prioritization suggests that if a query digest is of high quality, its elements are likely to be the feature pixels mentioned earlier. Consequently, a successful match is expected to occur within the initial search rounds. As a result, ARMS significantly reduces the number of correlation computations and avoids the scenario illustrated in Figure 1b. In essence, the use of a priority-based search inadvertently introduces a degree of robustness to ARMS. However, a notable limitation of ARMS is that the search priority assigned to candidate-matching reference digests is determined by one individual element of X ˜ at a time. This characteristic classifies ARMS as a local information-based algorithm. It can be deduced that if a query digest is of low quality, its elements might be artifacts rather than feature pixels, which could mislead ARMS. Under the most unfavorable conditions, ARMS may require more search iterations than BFSA, as noted in [22]. To mitigate this issue, Goljan et al. implemented a search time upper bound. If this time limit is exceeded, ARMS automatically switches to BFSA. Another drawback of ARMS is its reliance on running parameters, including the search window size F, the accumulated evidence threshold t cand , and the search time limit. These parameters are intricately linked to the camera reference digest database, and optimizing them necessitates prior knowledge of the database. In many practical applications, the reference digest database may be frequently updated. If each update necessitates resetting the running parameters, it becomes inconvenient or even impractical. The running parameters are critical to ARMS, and in Section 4, we will demonstrate the performance differences of ARMS under two sets of running parameters.
Bayram et al. [31] introduced a novel rapid search algorithm that is rooted in tree-structured vector quantization. This method provides an innovative way to match camera PRNU fingerprints by processing them in groups instead of individually. The core concept of their search scheme is depicted in Figure 3. Initially, the complete collection of reference fingerprints from the camera database is evenly divided into two distinct groups. Each group’s combined fingerprints are then amalgamated to form a single composite fingerprint. This composite fingerprint is subsequently represented as a node within a binary tree structure, as illustrated in Figure 3. This hierarchical structure allows each node to generate two descendant nodes, continuing the construction process until each node contains only a single fingerprint. For a given query fingerprint, denoted as X , the search begins at the top of the tree and progresses downward. At each level, the node exhibiting a higher correlation with X selected, as indicated by the red arrow in Figure 3. This method achieves a logarithmic reduction in search complexity. However, there are two major issues when using this method to determine the origin of a camera from its fingerprint database. The method faces a significant limitation if the query image is not captured by any camera included in the database, leading to an inevitable incorrect identification. Additionally, the quality of the fingerprint derived from the query image plays a crucial role in the accuracy of the search approach. As depicted in Figure 1b, a poor-quality fingerprint can result in a 50 % chance of error, further complicating the identification process. Although employing a decision threshold might seem like a viable solution, the varying quality of query fingerprints from different sources renders this approach impractical in real-world applications. Fundamentally, this issue stems from a lack of robustness, as elaborated in [31].
To address these challenges, we propose a straightforward and efficient algorithm designed for rapid camera identification. Our search scheme enhances both efficiency and robustness by utilizing more extensive data from both the query and the reference digests stored in the database. Notably, our approach distinguishes itself from the ARMS method by not requiring prior parameters to maintain its efficiency.

3. The Proposed Method

3.1. Camera Fingerprint Preprocessing Operation and Normalized Correlation Detector

For a single image, the built-in camera fingerprint X is simply obtained as follows:
X = I F ( I ) = IK + Ξ
Here, I is the image, K is the PRNU factor, and Ξ is the sum of independent random noise from the camera imaging process and the noise introduced by the denoising filter F [37]. The noise residual/residual image X contains the PRNU signal IK . We simply use such a noise residual as a query fingerprint. The signal quality of X is often not high due to the effect of Ξ . Considering camera manufacturers do not provide camera fingerprints, this work directly adopts the average of multiple noise residuals of images taken by the same camera as the camera reference fingerprint. The reference fingerprint F is calculated as follows:
F = 1 M m = 1 M x m = 1 M m = 1 M I m K m + 1 M m = 1 M Ξ m
Empirical evidence suggests that when M > 50 , a more accurate approximation of the true camera fingerprint can be achieved [1]. It is important to note that some studies, such as those by Chen et al. (2008) and Goljan et al. (2010), have utilized an alternative form of camera fingerprint, specifically the estimated PRNU factor K ^ [20,22]. Fundamentally, F and K ^ exhibit minimal differences. To enhance the accuracy of our analysis, we preprocess both X and F , using the zero-mean (ZM) operation. This operation was originally introduced to eliminate non-unique artifacts (NUAs) that are present in different cameras of the same make or model [20]. For the purposes of this study, it is assumed that all fingerprints have undergone preprocessing with the ZM operation. Specifically, for the residual image F , which comprises m rows and n columns of pixels. To simplify notation, we continue to use X and F i as stand-ins for ZM ( X ) and ZM F i , respectively. The extraction of a sensor’s pattern noise, commonly referred to as the camera fingerprint, involves several steps. Specifically, to ascertain the reference pattern noise for a particular camera, we denote this reference pattern noise as X . Additionally, the size of the reference image set is represented by N p .
(1)
Select a Channel: Choose one of the color channels of the image, for example, the R channel.
(2)
Denoising Process: Utilize a spatially adaptive wavelet thresholding algorithm based on a context model, to perform denoising operations on the R channel of each image I j ( j = 1 , 2 , , N p ) .
(3)
Calculate Residuals: Subtract the corresponding denoised image from each image to obtain a set of residual images F r j ( j = 1 , 2 , , N p ) .
(4)
Zero-Mean Processing: Apply zero-mean processing to eliminate the influence of interpolated pixels in the row and column directions of each residual image F r j .
(5)
Stack and Average: Stack the N p residual images F r j ( j = 1 , 2 , , N p ) and calculate their average to obtain the mean value X r .
(6)
Repeat for Other Channels: Repeat steps 1 to 4 for the G and B channels to obtain X g and X b , respectively.
(7)
We separately extract the noise residuals from the red, green, and blue channels of a color image. Following this, we merge these distinct noise elements into a unified signal using the conventional luminance calculation:
X = 0.299 X r + 0.587 X g + 0.114 X b
In this context, X r , X g , and X b denote the red, green, and blue components of the image X , respectively. The detailed process of this integration is depicted in Figure 4 and Figure 5.
The problem of determining whether a query image originates from a specific camera can be approached as a binary hypothesis testing problem. This can be addressed using a simplified version of the generalized likelihood ratio test, which employs the normalized cross-correlation, denoted as ρ . The correlation ρ is defined as follows:
ρ = corr ( X , F ) = i = 1 n ( X [ i ] X ¯ ) ( F [ i ] F ¯ ) X X ¯ F F ¯
In this equation, X represents the query signal, while F denotes the reference signal. In this analysis, the symbol · is used to denote the L 2 norm, and the overbar “−” signifies the mean of the respective signals. To simplify the examination, it is assumed that the two signals are perfectly synchronized. This assumption implies that there is no geometrical distortion present in the images or fingerprints being compared. The decision-making process involves comparing ρ to a predetermined threshold t. If ρ exceeds this threshold, the detector concludes H 1 , indicating that the query and reference fingerprints originate from the same camera. Conversely, if ρ is below the threshold, the detector concludes H 0 , suggesting that the fingerprints are from different cameras. The threshold t is typically established based on the Neyman–Pearson criterion, as discussed in [22]. An illustration of this correlation detection framework is provided in Figure 6.

3.2. Introduction of Search Priority Measurement n s

Consider two PRNU fingerprints, denoted as P 1 and P 2 . Both fingerprints have a length of n, expressed as n = | P 1 | = | P 2 | , where | · | indicates the length of a fingerprint sequence. Let n s denote the number of elements that share the same sign and are located in identical spatial positions within P 1 and P 2 (as illustrated in Figure 7). Although zero elements are included in this count, they do not substantially influence the correlation value described in Equation (4). In practice, fingerprint digests seldom contain zero elements; instead, they predominantly consist of feature pixels.
To illustrate the characteristics of n s , we calculate n s values for fingerprints from both identical and different cameras. The test images are obtained from 12 commonly used digital cameras, labeled as C i for i = 1 , , 12 . Corresponding camera reference fingerprints are represented as F i ( i = 1 , , 12 ) . In this study, all images are cropped from the center of real-world digital photos, each with a size of 1024 × 1024 . The camera reference fingerprint is derived by applying Equation (2) to the training set of the respective camera. It is important to note that the training and test sets consist of different images; the training set is solely used to estimate the camera reference fingerprint, while the test set exclusively provides query images.
For the analysis, we randomly select a camera fingerprint, F 1 , as the reference signal and compute n s values between this reference and query images from C i ( i = 1 , , 12 ) . For ease of interpretation, we use P s ( = n s / n ) on the vertical axis in Figure 8. To clarify the description, we define n s values between fingerprints from the same camera as intra-class n s values, and those between fingerprints from different cameras as inter-class n s values. As illustrated in Figure 7, the intra-class P s values are distributed around 51.8 % , whereas the inter-class P s values are approximately 50 % . The intra-class values significantly exceed the inter-class values, allowing for a clear distinction between the two data types.
To elucidate the relationship between our search priority measurement and correlation, we begin by calculating the correlation values for two distinct scenarios: fingerprints originating from the same camera and those from different cameras. As illustrated in Figure 8, the correlation values for fingerprints from the same camera, referred to as intra-class correlation values, are centered around 0.058 . In contrast, the correlation values for fingerprints from different cameras, known as inter-class correlation values, are approximately 0. This distinction highlights the variance in correlation based on the source of the fingerprints, thereby providing insight into the effectiveness of our search priority measurement. This indicates that intra-class values are evidently higher than inter-class values, resulting in a clear separation between the two data types. By examining Figure 8 and Figure 9, it becomes apparent that the search priority measurement n s is higher for fingerprints from the same camera compared to those from different cameras. In essence, when two PRNU fingerprints exhibit correlation, the n s value is elevated; conversely, when they are uncorrelated, the n s value is diminished.
To address computational complexity, our fast search algorithm utilizes fingerprint digests rather than full-length fingerprints. We replicated the aforementioned experiments using these digests to determine if the relationship between n s and ρ persists. The results, presented in Figure 10 and Figure 11, confirm that the relationship is maintained. Nevertheless, it is important to note that the variances in both n s and ρ values tend to increase when digests are utilized.
We conducted these experiments using supplementary test data and observed similar patterns, which informed our proposed search strategy. For a given query fingerprint, the reference fingerprint most likely to match is the one with the highest n s value. Consequently, the search should prioritize fingerprints in descending order of their n s values. The n s value is calculated by considering every element of the two fingerprints being compared, thereby encapsulating the comprehensive information between them.

3.3. Lookup Table

Our fast algorithm visits the lookup table instead of the camera fingerprint database during the construction of SPQ. This implies that the lookup table must contain information for each reference digest necessary for calculating the n s value. It should also have a structure that facilitates the visit and the update of the camera database. Assume the camera database consists of N cameras. The reference digest database is represented by { F ˜ i } , where i = 1 , , N . To extract the sign and location information of an element within a digest, we establish two functions. The first function is to obtain the sign of an element as follows:
S ( i , d ) = sgn ( F ˜ i [ d ] ) · i , 1 i N , 1 d k
where sgn ( · ) refers to the sign function. By using Equation (4), we can map the i-th digest into a sequence of “+i” and “−i”.
The location of an element of a digest within its full-length fingerprint can be extracted using the following hash function:
l ( i , d ) = L ( F ˜ i [ d ] ) , 1 i N , 1 d k
In this work, we utilize a separate-chaining hash table to construct the lookup table, denoted as H , due to its efficient handling of hash collisions [38]. Hash tables offer benefits when representing extensive arrays since they demand reduced memory for storage and are straightforward to manage. Specifically, we store S ( i , d ) at l ( i , d ) within the lookup table. The sample lookup table is illustrated in Figure 12. To aid readers in comprehending the structure of our lookup table, the figure includes the buckets l ( i , d ) for i = 1 , 2 , , N and d = 1 , 2 , , k . However, it is important to note that these buckets are not retained in a practical implementation of the lookup table.

3.4. Search Priority Algorithm

To determine the search order for a given query digest X ˜ , we first calculate n 5 values for the correlation between X ˜ and each reference digest F ˜ i where i = 1 , 2 , , N . These calculated values are stored in an array N s , where each element N s [ i ] represents the degree of correlation between X ˜ and the corresponding F ˜ i . By sorting the elements of N s in descending order, we derive the sorted priority array N sp , which serves as our search priority queue (SPQ). The initial element of N sp possesses the highest n s value, signifying that its original index in N s aligns with the reference digest that is most likely to correlate with X ˜ . Likewise, the second element of N sp corresponds to the second most probable matching reference digest, and this sequence persists for the ensuing elements. Thus, the SPQ effectively determines the search order for the specific query digest X ˜ .

3.5. Fingerprint Digest Detection

Upon identifying a candidate reference digest, the correlation value is computed as follows:
ρ i ( α ) = corr X L F ˜ i , F ˜ i
where α = k / n . α is the relative length of the digest. The decision threshold t k is determined using the Neyman–Pearson criterion.
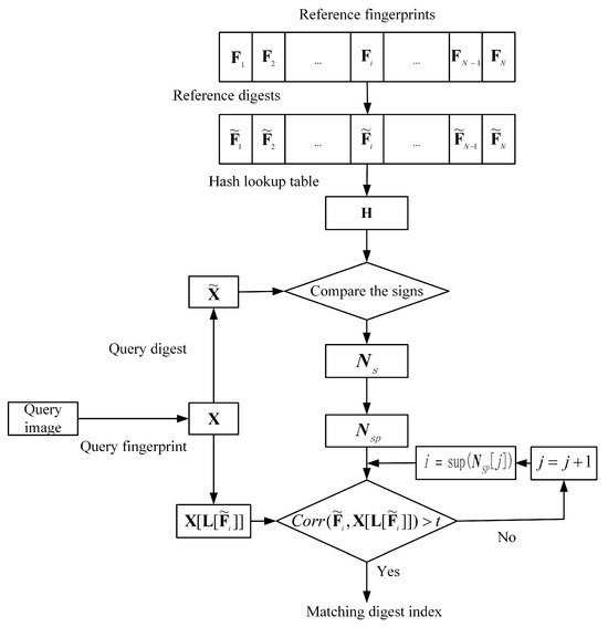
The implementation of our fast search algorithm can be described in the following pseudo-code. Steps 1–8 are accomplished in the offline phase while Steps 9–26 are online operations. The search time is only related to online operations. The flowchart of our algorithm is illustrated in Figure 13. The specific process is shown in Algorithm 1.
Algorithm 1 Fast search algorithm.
  1:
 for i = 1 to N do
  2:
      Compute F i and subsequently F ˜ i
  3:
 end for
  4:
 for  i = 1 to N do
  5:
      for  d = 1 to k do
  6:
            Store S ( i d ) in the bucket corresponding to the l ( i d ) th linked list in H
  7:
      end for
  8:
end for
  9:
for  d = 1 to k do
10:
      if  X ˜ [ d ] 0  and  i is in the L ( X ˜ [ d ] ) th linked list then
11:
            Increment N i [ i ] by 1
12:
      else if  X ˜ [ d ] < 0  and  i is in the L ( X ˜ [ d ] ) th linked list then
13:
            Increment N t [ i ] by 1
14:
      end if
15:
 end for
16:
Sort ( N s N N sp )
17:
 for  j = 1 to N do
18:
       i = Index ( N t j [ j ] , N z )                 ▹ Index ( · ) gets the original index of N sp [ j ] in N s
19:
       ρ i ( α ) = corr ( X [ L ( F ˜ i ) ] , F ˜ i )
20:
      if  ρ i ( α ) > t k  then
21:
            Output “The matching reference fingerprint is i
22:
            break
23:
      else if  j = N  and  ρ i ( α ) t k  then
24:
            Output “Cannot find a matching reference fingerprint”
25:
      end if
26:
 end for

4. Experiment and Discussion

To comprehensively evaluate the performance of the algorithm, we employ several metrics: the receiver operating characteristic (ROC) curve, the false negative rate (FNR), which is equivalent to the probability of missed detections, the false positive rate (FPR), equivalent to the probability of false alarms, the average search round ( A SR ), and the average search time ( A ST ). The ROC analysis is particularly valuable as it provides an unbiased assessment of algorithm performance, free from the influence of arbitrary decision threshold selections. To demonstrate the improvements of the proposed algorithm, we conduct a comparative analysis with ARMS and BFSA. The ARMS algorithm is evaluated under two distinct models: Model-A, with running parameters set at F = 1000 and t cand = F = 31.623 , and Model-B, with F = 1000 and t cand = 0.2 F = 6.3246 . For context, when k = 10,000, the time required to perform a single correlation computation on our computer is less than 1.8 × 10 4 seconds. Consequently, we establish the time limit for the ARMS search as 1.8 × 10 4 × 2 × ( N / 2 ) . For further details regarding the configuration of ARMS running parameters, the reader is directed to reference [22].
Our experiments involve the use of 70 cameras. The reference camera database comprises only the first 60 cameras, denoted as C 1 C 60 . However, to generate receiver operating characteristic (ROC) curves, we utilize query fingerprints from all 70 cameras ( C 1 C 70 ). To evaluate the capability of distinguishing images from the same camera model or make, we deliberately include images from identical camera models or makes, such as five Nikon D90 models, but sourced from different individuals. The photographs taken with our own cameras are in their original resolution, with most being outdoor scenes captured during daylight hours. In contrast, we do not have control over the resolution, content, quality, or sources of the images we have downloaded. Regardless of their origin, all images, whether captured by us or downloaded, are saved in JPEG format. Figure 14 illustrates the sample images used in the experiment. The experiments were executed on a system featuring an Intel (R) Core (TM) i7-5500U processor, running at a speed of 2.40 GHz and equipped with 16 GB of RAM. All three search algorithms were coded using Visual C++ 14.0.

4.1. Performance Evaluation in a Simulated Environment

As stated before, algorithm performance is influenced by the quality of query fingerprints. In this work, we evaluate algorithm performance in a simulated environment, where good quality fingerprints are used, as well as in a real-world application scenario. In the former, we acquire good-quality query fingerprints using the computer. According to Equation (1), a noise residual X can be modeled as a noisy version of the camera fingerprint. Thus, we rely on a reference fingerprint to generate its noisy version. Specifically, given a reference fingerprint F i , we use the MATLAB function AWGN to add WGN (white Gaussian noise) ξ i into F i , where ξ i N ( 0 , σ i 2 ) , and ξ i is independent of F i . We let the control parameter SNR (signal-to-noise ratio) of AWGN equal 40 dB to yield good-quality resulting signals. For 70 cameras, we generate 70,000 fingerprints, i.e., each reference fingerprint F i ( i = 1 , , 70 ) responsible for 1000 simulated fingerprints.
For simulated fingerprints, correlation values between two digests from the same cameras are quite close to 1. In our experiment, they are greater than 0.999. At the same time, the variances of intra-class values are extremely small and are very close to 0. These two characteristics make FNRs (false negative rates) 0 for all three algorithms when t k { 1 ε , 1 } , 0 ε < 10 3 . When t k { 1 ε , 1 } , FNR = 0 for all the three algorithms. Since the ROC curve is a plot of TPR (true positive rate, equivalent to 1-FNR) against FPR (false positive rate), the ROC curves of the three algorithms are superimposed, and the TPRs (true positive rates) remain at 1 except for the imperceptible far left region corresponding to t k { 1 ε , 1 } . To comprehensively evaluate the performance of the fingerprint extraction algorithm, we need to consider both the consistency and distinguishability of fingerprints. The introduction of the intraclass correlation average and interclass correlation average allows us to quantitatively analyze the algorithm from these two perspectives, thereby more accurately assessing the strengths and weaknesses of the algorithm. The intraclass correlation average refers to the average of the correlation coefficients between multiple pairs of fingerprints from the same camera, used to measure the consistency of fingerprints from the same camera; the interclass correlation average refers to the average of the correlation coefficients between multiple pairs of fingerprints from different cameras, used to measure the distinguishability of fingerprints from different cameras.
The metric A SR signifies the mean count of search iterations required to reach a conclusion for a specific query digest. This is analogous to the mean count of correlation calculations or the mean count of candidate reference digests examined before achieving a match. Figure 15 shows that our algorithm and ARMS need almost the same search rounds, meaning our algorithm is as accurate as ARMS in identifying the candidate-matching reference digests. On the other hand, BFSA requires many more search rounds than either our algorithm or ARMS. When both FPR and FNR become 0, A SR values tend to be constant. This situation takes place for both our algorithm and ARMS from t k = 0.27 and for BFSA from t k = 0.5 . Figure 15 shows that BFSA needs a little over 34 search rounds while both our algorithm and ARMS take about 10 search rounds, which is about 24 less than that of BFSA. In theory, if a query image was indeed taken by a camera in the reference database, the average number of search rounds for BFSA is N / 2 under conditions of FPR = 0 and FNR = 0 . Conversely, if a query image was not taken by any known reference camera, the number of search rounds for BFSA is N. For our reference camera database with N = 60 , the theoretical value is ( ( 60 / 2 ) × 6000 + 60 × 1000 ) / 7000 = 34.2857 . Note that when t k { 1 ε , 1 } , A SR values are 60 for all the three algorithms. In other words, all decisions are miss detections. Our experimental results have proved the above analysis.
The average time consumed for each match is described by A ST . Figure 16 reveals that ARMS runs the fastest among the three algorithms. Specifically, ARMS-B needs less time than ARMS-A. The time difference between the two ARMS models is caused by the use of different t cand , and there is no essential difference between them. Nevertheless, this discrepancy also indicates that the performance of ARMS is susceptible to the configuration of its parameters.
We now explain why our algorithm takes more search time than ARMS. As stated before, the construction of SPQ involves all the elements of the query digest and reference digests, so this construction process is an online operation and consumes online time. In contrast, ARMS only takes one most influential element from the query digest at a time and looks for the candidate matching reference digests via the sparse matrix directly. Apparently, ARMS saves time building the search guidance information like SPQ and is thus faster. One risk is that poor-quality query digests may misguide the search of ARMS. For query fingerprints generated by AWGN with SNR = 40 dB , their quality is good. So ARMS needs less search time than our algorithm. As will be shown later, however, the performance of ARMS drops apparently with the degradation of the quality of query fingerprints.
Figure 16 also shows that our algorithm needs a little more search time than BFSA when t k < 0.18 . But this comparison has no much significance in that FPRs for the two algorithms are quite different. From t k > 0.5 , A ST for all three algorithms tends to be constant due to FPR = 0 and FNR = 0 . With respect to the current database size, our algorithm only has a small superiority over BFSA in A ST . The main reason is that the construction of SPQ takes a relatively large portion of online time. With the increase in database size N, however, this portion will decrease, as will be analyzed in Section 4.3. Note that when t k { 1 ε , 1 } , A ST values for our algorithm, ARMS-A, ARMS-B, and BFSA are about 20 ms , 20 ms , 19 ms , and 20 ms , respectively. We have to point out that the other software that runs on the PC during our experiments slightly affects the measurement of A ST .
Before ending this subsection, one thing we have to stress is that, between t k = 0.3 and t k = 0.5 , both our algorithm and ARMS have F P R = 0 and F N R = 0 , but BFSA has F P R 0 and F N R = 0 . This phenomenon indicates that both our algorithm and ARMS are more insensitive to the setting of decision thresholds than BFSA. This verifies that our algorithm and ARMS have some robustness to tackle the situation depicted in Figure 1b. The insensitivity to decision thresholds reduces the difficulty of parameter tuning and enhances robustness to a certain extent, but it may also have limitations in specific scenarios. The simulation results of the three algorithms under the simulated environment are shown in Table 1.

4.2. Performance Evaluation in a Real-World Environment

According to Equation (1), the extraction of the image noise residual is involved in image content, quality, and the denoising filter. Therefore, the quality of query digests is readily affected by various factors, including image content (such as edges, textures, etc.), image quality (whether it is compressed or uncompressed,= and the degree of compression), and the characteristics of the denoising filter (whether it is adaptive or non-adaptive). In real-world application scenarios, query images usually come from different sources, and thus, query digests may be of poor quality; worse than that, they tend to have different quality levels. The first negative effect causes the mean of intra-class correlation values to decrease whereas the second one causes the variances of both intra-class and inter-class correlation values to become larger. Their combined effect makes the selection of the matching reference digest in the database more difficult. Apparently, this challenge requires a fast search algorithm to be more robust and resilient. In other words, it should resist degradation of the quality of query digests and be able to tackle digests with different quality.
Below we investigate the performance of the aforementioned three algorithms using query digests from images taken by C i , i = 1 , , 70 . We noticed that some downloaded photos were severely compressed by their original publishers, so we used five test images instead of one to extract each query fingerprint. That is, every query fingerprint is obtained using Equation (2). Although the quality has been improved by this averaging operation, it is far from being good. To obtain a good quality PRNU signal, one might need far more images (e.g., over 50 in [19]) from the same camera. The authors of [22] extracted each fingerprint from 60 images when they tested ARMS. To avoid confusion of symbols, we still use X to denote the query fingerprint, and still the reference digest database consists of { F ˜ i } , i = 1 , , 60 .
In the realm of ROC space, enhanced decision-making or detection capabilities are denoted by a curve that is situated higher and further to the left. As illustrated in Figure 17, it is apparent that the ROC curves for all three algorithms have moved downward and to the right, signifying a reduction in performance relative to the simulated environment addressed in the preceding subsection. Notably, the ROC curve for our algorithm exhibits less change compared to those of ARMS and BFSA. Specifically, for any given false positive rate (FPR), our algorithm achieves the highest true positive rate (TPR), and conversely, for any given TPR, it maintains the lowest FPR. This demonstrates that our algorithm outperforms the other two algorithms. Among the three, BFSA exhibits the poorest performance.
Figure 18 and Figure 19 jointly prove that our algorithm retains the least erroneous detections under the same decision threshold. For a specific t k , FNRs for the three algorithms are almost the same, but FPRs for our algorithm are less than or at most equal to FPRs for ARMS and BFSA. The superiority of our algorithm is more impressive when t k falls in [ 0.04 , 0.18 ] . As for the average search round, our algorithm outperforms ARMS (either ARMS-A or ARMS-B) though the margin over them (in particular, ARMS-B) is not large and approaches 0 with the increase in t k . Figure 20 exhibits that our algorithm always has the lowest A SR , meaning that it has the highest accuracy in finding the matching reference digests. This result also verifies that artifacts from poor-quality query digests interfere with the accuracy of ARMS, and the local information employed by ARMS is not as robust as the global information utilized by our search scheme. BFSA still needs the largest search rounds. Note that A ST for all three algorithms is directly proportional to t k . When t k approaches 0, A ST for all three algorithms approaches 60, where TPRs = 0 .
Regarding the average search time, the curve for our algorithm is quite close to that for ARMS-B and is lower than that for ARMS-A, as shown in Figure 21. This indicates that our algorithm has similar performance in this aspect. Since BFSA has much higher erroneous detections than our algorithm, we do not make a comparison with it. In terms of Figure 17 to Figure 21, we can easily conclude that our algorithm has the best robustness against the change in quality of query digests. The simulation results of the three algorithms under the real-world environment is shown in Table 2.

4.3. Comparison of Computational Complexity

We discuss computational complexity by comparing our algorithm with ARMS and BFSA. BFSA does not need any preparation for search, so its offline computational load is zero. Its average online computational load is N / 2 times the correlation computations if the query image was taken by a reference camera in the database and is N times the correlation computations for the query image whose digest is not present in the database. Note that both FAR and FNR should be set to 0 in order to not disturb the normal search [39,40].
Both our algorithm and ARMS, unlike BFSA, incorporate two distinct phases for search: an offline preparation phase and an online correlation-based comparison phase. During the offline phase, ARMS creates a sparse n × k matrix S , functioning as a guide for search-related information. The elements of S consist of lists of reference indices, i { 1 , , N } . In contrast, our algorithm constructs a hash table H , where the buckets store the same reference indices, but with the signs of the elements of digests. Given that a sparse matrix is often stored in a hash table to facilitate efficient element search, the construction of S is analogous to that of H . Consequently, both our algorithm and ARMS require nearly equivalent offline computational resources. During the online phase, ARMS sifts through the reference digests based on the most impactful elements. Should the quality of the digest be high, the appropriate matching reference digest is pinpointed within the early search iterations; however, if not, further rounds become necessary. In the most unfavorable scenario, ARMS might necessitate a greater number of search rounds than BFSA, as elaborated in Section 2. Conversely, our algorithm necessitates the construction of SPQ for each query image to guide the search process. This involves first building N s and then sorting it to obtain SPQ. Although this process must be repeated for every new query digest, it primarily involves simple comparison operations, resulting in low computational complexity. The time required to build SPQ constitutes a fixed portion of the online time. While this fixed time is significant when the database size is small, it becomes negligible as the database size increases. In large databases, the number of correlation computations is substantial, and since these computations involve complex multiplication operations, the online time is predominantly determined by the number of search rounds. It is worth highlighting that our algorithm will never demand more search rounds than BFSA. In the most unfavorable scenario, it will require an equivalent number of search rounds as BFSA.
Although our algorithm demonstrates good performance in various test scenarios, there are still some potential limitations that need further exploration. First, the processing time of the algorithm is somewhat dependent on the resolution of the images and the size of the database. For high-resolution images or large-scale databases, the time required to calculate correlations and search for matching fingerprints may significantly increase, thereby affecting the real-time performance of the algorithm. For example, when processing 4K resolution images, due to the need to handle more pixel data, the processing time of the algorithm may be 2–3 times longer than that for processing 1080 p resolution images. Additionally, the algorithm is sensitive to certain image features, such as noise and blur levels in the images. When images are severely affected by noise interference or blur processing, the camera fingerprint features extracted may change significantly, leading to a decrease in the algorithm’s recognition accuracy. For instance, when the image noise level reaches 30%, the accuracy of the algorithm may drop from 95% to 85%. Lastly, when confronted with complex image processing techniques or anti-forensic attacks, such as image splicing and deepfake, the algorithm may struggle to accurately identify the source of the images. These techniques can alter the original features of the images, making it difficult for the algorithm to correctly match the corresponding camera fingerprints.

5. Conclusions

Designing a fast fingerprint search algorithm for real-world applications is both an important and complex task. In this study, we present an innovative fast fingerprint search algorithm that tackles this challenge by developing the separate-chaining path algorithm (SPQ). A significant aspect of our work is the investigation of robustness, a topic that has not been thoroughly explored in previous studies. SPQ utilizes data from each element of the query digest and the reference digests throughout the entire database, thus capturing a more extensive relationship between the query digest and the reference digest database. This global perspective provides more accurate and robust indicators for identifying matching reference digests within the database. The use of a separate-chaining hash table in the implementation further improves the construction of SPQ, which is another benefit of our algorithm. Experimental results demonstrate that our algorithm significantly outperforms the basic fingerprint search algorithm (BFSA). Moreover, our algorithm surpasses the adaptive robust matching system (ARMS) in two key areas: it excels in processing query digests of varying and poor quality, and it operates without the need for running parameters, allowing for immediate application across diverse camera databases. Our primary contribution, therefore, lies in the development of SPQ, which not only improves accuracy and robustness but also offers practical advantages in real-world applications. The rapid fingerprint search algorithm proposed in this study not only achieves significant complexity optimization in theory but also verifies its efficiency and robustness in practical applications through experiments, providing new solutions and strong technical support for the field of digital image source identification. Additionally, we will actively explore the possibility of integrating the algorithm into real-time systems. For example, in live video streaming platforms, the algorithm can be embedded in the video processing module to quickly identify and verify the source of real-time video frames. This will help to promptly detect and prevent the spread of illegal content, such as pirated videos and terrorist propaganda. To achieve this goal, we need to further optimize the computational efficiency of the algorithm, reduce processing latency, and ensure its stable operation under the high frame rate requirements of real-time video streams. In addition, we also plan to study strategies for adapting the algorithm to mobile devices. Considering the limited computing resources and energy of mobile devices, we will explore lightweight algorithm design methods, such as simplifying the algorithm’s computational steps and reducing model complexity, to decrease the algorithm’s consumption of computing resources and impact on battery life. At the same time, we will also consider the portability and user interaction characteristics of mobile devices, and develop easy-to-integrate and user-friendly mobile application interfaces, enabling the algorithm to be conveniently deployed and applied on mobile devices, providing support for mobile forensics, on-site forensics, and other scenarios.
In the future, we will focus on exploring the deep integration of artificial intelligence technology with camera fingerprint recognition methods. On the one hand, we plan to introduce deep learning models, such as convolutional neural networks (CNNs), to optimize the process of camera fingerprint feature extraction. By constructing targeted network structures and training strategies, we aim to mine deeper and more distinctive fingerprint features, improving the recognition accuracy of the algorithm under complex shooting conditions. On the other hand, we will research how to use generative adversarial networks (GANs) to generate high-quality camera fingerprint samples, expanding the training dataset and solving the problem of difficulty in obtaining high-quality samples in practical applications, thereby enhancing the model’s generalization and robustness. Additionally, we will attempt to combine other artificial intelligence technologies, such as reinforcement learning, to further optimize the search strategies and decision-making mechanisms of the matching algorithm, improving overall recognition efficiency and performance. We will expand our test scenarios to include a wider range of real-world cases. Specifically, we have incorporated images from various sources, such as social media platforms, online forums, and news websites, to better represent the diversity of images encountered in practical applications. By including these real-world cases, we aim to provide a more comprehensive validation of the algorithm’s performance in diverse and challenging scenarios.

Author Contributions

Data curation, Z.L.; formal analysis, Z.L. and L.C.; investigation, L.C.; methodology, Z.L.; supervision, Z.L. and R.F.; visualization, Z.L. and L.C.; writing—original draft, Z.L.; writing—review and editing, L.C. and R.F. All authors have read and agreed to the published version of the manuscript.

Funding

This work is supported in part by the National Fund Cultivation Project from China People’s Police University under Grant JJPY202402 and the Science Research Project of Hebei Education Department under Grant QN2024183.

Institutional Review Board Statement

Not applicable.

Informed Consent Statement

Not applicable.

Data Availability Statement

Some of the camera photos used in this work are available at http://www.flickr.com/, accessed on 30 October 2024.

Conflicts of Interest

The authors declare no conflicts of interest.

References

  1. Sharma, D.K.; Singh, B.; Agarwal, S.; Garg, L.; Kim, C.; Jung, K.H. A Survey of Detection and Mitigation for Fake Images on Social Media Platforms. Appl. Sci. 2023, 13, 10980. [Google Scholar] [CrossRef]
  2. Cho, S.H.; Agarwal, S.; Koh, S.J.; Jung, K.H. Image Forensics Using Non-Reducing Convolutional Neural Network for Consecutive Dual Operators. Appl. Sci. 2022, 12, 7152. [Google Scholar] [CrossRef]
  3. Raj, A.; Sankar, D. A Texture Descriptor of the Camera Fingerprint for Source Camera Model and Device Identification. Int. J. Intell. Syst. Technol. Appl. 2024, 22, 213–235. [Google Scholar] [CrossRef]
  4. You, C.; Zheng, H.; Guo, Z.; Wang, T.; Wu, X. Multiscale Content-Independent Feature Fusion Network for Source Camera Identification. Appl. Sci. 2021, 11, 6752. [Google Scholar] [CrossRef]
  5. Wang, B.; Wang, Y.; Hou, J.; Sui, X.; Zhu, M. Discriminative Feature Projection for Camera Model Identification of Recompressed Images. Multimed. Tools Appl. 2021, 80, 29719–29743. [Google Scholar] [CrossRef]
  6. Wang, B.; Wu, S.; Wei, F.; Wang, Y.; Hou, J.; Sui, X. Virtual Sample Generation for Few-Shot Source Camera Identification. J. Inf. Secur. Appl. 2022, 66, 103153. [Google Scholar] [CrossRef]
  7. Jeyalakshmi, A.; Chitra, D.R. Comparative Study of Feature Extraction Using Several Wavelet Transforms for Source Camera Identification. In Proceedings of the 2018 2nd International Conference on Inventive Systems and Control (ICISC), Coimbatore, India, 19–20 January 2018; pp. 1407–1414. [Google Scholar] [CrossRef]
  8. Raj, A.; Sankar, D. Comparison of Deep Learning Networks for Source Camera Identification. In Proceedings of the 2022 4th International Conference on Advances in Computing, Communication Control and Networking (ICAC3N), Bangalore, India, 16–17 December 2022; pp. 1090–1095. [Google Scholar] [CrossRef]
  9. Chen, C.; Stamm, M.C. Robust Camera Model Identification Using Demosaicing Residual Features. Multimed. Tools Appl. 2021, 80, 11365–11393. [Google Scholar] [CrossRef]
  10. Qian, F.; He, S.; Huang, H.; Ma, H.; Zhang, X.; Yang, L. Web Photo Source Identification Based on Neural Enhanced Camera Fingerprint. In Proceedings of the ACM Web Conference 2023, Tianjin, China, 17–20 March 2023; pp. 2054–2065. [Google Scholar] [CrossRef]
  11. Güneş, A.S.; Vatansever, S. A Survey of Source Camera Attribution Applications Using PRNU. In Proceedings of the 2023 Innovations in Intelligent Systems and Applications Conference (ASYU), Istanbul, Turkey, 11–13 October 2023; pp. 1–6. [Google Scholar] [CrossRef]
  12. Flor, E.; Aygun, R.; Mercan, S.; Akkaya, K. PRNU-Based Source Camera Identification for Multimedia Forensics. In Proceedings of the 2021 IEEE 22nd International Conference on Information Reuse and Integration for Data Science (IRI), Las Vegas, NV, USA, 10–12 August 2021; pp. 168–175. [Google Scholar] [CrossRef]
  13. de Roos, L.; Geradts, Z. Factors That Influence PRNU-Based Camera-Identification via Videos. J. Imaging 2021, 7, 8. [Google Scholar] [CrossRef]
  14. Hsiao, A.C.; Takenouchi, T.; Kikuchi, H.; Sakiyama, K.; Miura, N. More Accurate and Robust PRNU-Based Source Camera Identification with 3-Step 3-Class Approach. In Proceedings of the International Workshop on Digital Watermarking, Cham, Switzerland, 20–22 November 2021; pp. 87–101. [Google Scholar] [CrossRef]
  15. Bhat, N.N.; Bianchi, T. Investigating Inconsistencies in PRNU-Based Camera Identification. In Proceedings of the 2022 IEEE International Conference on Image Processing (ICIP), Bordeaux, France, 16–19 October 2022; pp. 851–855. [Google Scholar] [CrossRef]
  16. Manisha; Li, C.T.; Kotegar, K.A. Source Camera Identification with a Robust Device Fingerprint: Evolution from Image-Based to Video-Based Approaches. Sensors 2023, 23, 7385. [Google Scholar] [CrossRef]
  17. Feng, R.; Xiang, X.; Xie, S.; Jiang, P. Sensing System for Mixed Inorganic Salt Solution Based on Improved Double Label Coupling RFID. IEEE Sens. J. 2023, 23, 13565–13574. [Google Scholar] [CrossRef]
  18. Fernández-Menduiña, S.; Pérez-González, F.; Masciopinto, M. Source Camera Attribution via PRNU Emphasis: Towards a Generalized Multiplicative Model. Signal Process. Image Commun. 2023, 114, 116944. [Google Scholar] [CrossRef]
  19. Lukas, J.; Fridrich, J.; Goljan, M. Digital Camera Identification from Sensor Pattern Noise. IEEE Trans. Inf. Forensics Secur. 2006, 1, 205–214. [Google Scholar] [CrossRef]
  20. Chen, M.C.; Fridrich, J.; Goljan, M.; Lukas, J. Determining Image Origin and Integrity Using Sensor Noise. IEEE Trans. Inf. Forensics Secur. 2008, 3, 74–90. [Google Scholar] [CrossRef]
  21. Goljan, M.; Fridrich, J. Camera Identification from Cropped and Scaled Images. In Proceedings of the Electronic Imaging, Forensics, Security, Steganography, and Watermarking of Multimedia Contents X, San Jose, CA, USA, 28–30 January 2008; Volume 6819, pp. 0E-1–0E-13. [Google Scholar] [CrossRef]
  22. Goljan, M.; Fridrich, J.; Filler, T. Managing a Large Database of Camera Fingerprints. In Proceedings of the Media Forensics and Security XII, San Jose, CA, USA, 17–21 January 2010; Volume 7541, pp. 08-01–08-12. [Google Scholar] [CrossRef]
  23. Amerini, I.; Caldelli, R.; Cappellini, V.; Picchioni, F.; Piva, A. Analysis of Denoising Filters for Photo Response Non Uniformity Noise Extraction in Source Camera Identification. In Proceedings of the IEEE International Conference on Digital Signal Processing, Santorini, Greece, 5–7 July 2009. [Google Scholar] [CrossRef]
  24. Li, C.T. Source Camera Identification Using Enhanced Sensor Pattern Noise. IEEE Trans. Inf. Forensics Secur. 2010, 5, 280–287. [Google Scholar] [CrossRef]
  25. Li, C.T.; Li, Y.H. Color-Decoupled Photo Response Non-Uniformity for Digital Image Forensics. IEEE Trans. Circuits Syst. Video Technol. 2013, 23, 1689–1700. [Google Scholar] [CrossRef]
  26. Hu, Y.; Yu, B.; Jian, C. Source Camera Identification Using Large Components of Sensor Pattern Noise. In Proceedings of the IEEE International Conference on Computer Science and Its Applications, Jeju, Repbulic of Korea, 10–12 December 2009; pp. 1–5. [Google Scholar] [CrossRef]
  27. Liu, B.B.; Lee, H.K.; Hu, Y.; Choi, C.H. On Classification of Source Cameras: A Graph Based Approach. In Proceedings of the IEEE Workshop on Information Forensics and Security, Seattle, WA, USA, 12–15 December 2010; pp. 1–6. [Google Scholar] [CrossRef]
  28. Gloe, T.; Kirchner, M.; Winkler, A.; Bohme, R. Can We Trust Digital Image Forensics? In Proceedings of the 15th ACM International Conference on Multimedia, Augsburg, Germany, 25–29 September 2007; pp. 78–86. [Google Scholar] [CrossRef]
  29. Caldelli, R.; Amerini, I.; Novi, A. An Analysis on Attacker Actions in Fingerprint-Copy Attack in Source Camera Identification. In Proceedings of the IEEE International Workshop on Information Forensics and Security, Seattle, WA, USA, 12–15 December 2011; pp. 1–6. [Google Scholar] [CrossRef]
  30. Goljan, M.; Fridrich, J.; Filler, T. Large Scale Test of Sensor Fingerprint Camera Identification. In Proceedings of the Media Forensics and Security XI, San Jose, CA, USA, 18–21 January 2009; Volume 7254, pp. 0I 1–0I 12. [Google Scholar] [CrossRef]
  31. Bayram, S.; Sencar, H.T.; Memon, N. Efficient Techniques for Sensor Fingerprint Matching in Large Image and Video Databases. In Proceedings of the Media Forensics and Security II, San Jose, CA, USA, 18–20 January 2010; Volume 7541, pp. 09-1–09-8. [Google Scholar] [CrossRef][Green Version]
  32. Zhao, Y.; Zheng, N.; Qiao, T.; Xu, M. Source Camera Identification via Low Dimensional PRNU Features. Multimed. Tools Appl. 2019, 78, 8247–8269. [Google Scholar] [CrossRef]
  33. Yang, W.C.; Jiang, J.; Chen, C.H. A Fast Source Camera Identification and Verification Method Based on PRNU Analysis for Use in Video Forensic Investigations. Multimed. Tools Appl. 2021, 80, 6617–6638. [Google Scholar] [CrossRef]
  34. Li, J.; Liu, Y.; Ma, B.; Wang, C.; Qin, C.; Wu, X.; Li, S. A Novel PCA-Based Method for PRNU Distillation to the Benefit of Source Camera Identification. Appl. Sci. 2023, 13, 6583. [Google Scholar] [CrossRef]
  35. Manisha; Li, C.T.; Lin, X.; Kotegar, K.A. Beyond PRNU: Learning Robust Device-Specific Fingerprint for Source Camera Identification. Sensors 2022, 22, 7871. [Google Scholar] [CrossRef]
  36. Corder, G.W.; Foreman, D.I. Nonparametric Statistics for Non-Statisticians: A Step-by-Step Approach; Wiley: Hoboken, NJ, USA, 2009. [Google Scholar] [CrossRef]
  37. Mihcak, M.K.; Kozintsev, I.; Ramchandran, K. Spatially Adaptive Statistical Modeling of Wavelet Image Coefficients and Its Application to Denoising. In Proceedings of the IEEE International Conference on Acoustics, Speech, and Signal Processing, Phoenix, AZ, USA, 15–19 March 1999; Volume 6, pp. 3253–3256. [Google Scholar] [CrossRef]
  38. Knuth, D.E. The Art of Computer Programming. Volume 3: Sorting and Searching, 2nd ed.; Addison-Wesley: Reading, MA, USA, 1998. [Google Scholar] [CrossRef]
  39. Zhang, H.; Li, J.; Wang, Y. Deep Learning-Based Image Recognition: A Complexity Analysis. J. Comput. Vis. Image Underst. 2020, 192, 107456. [Google Scholar]
  40. Wang, S.; Zhang, X.; Liu, M. A Comprehensive Evaluation of Algorithms for Large-Scale Image Retrieval. IEEE Trans. Multimed. 2021, 23, 2050–2063. [Google Scholar]
Figure 1. Case studies of robustness for a fast search algorithm. t k is the the decision threshold. The yellow part represents below the threshold, and the red part represents above the threshold. The number is the camera reference fingerprint.
Figure 1. Case studies of robustness for a fast search algorithm. t k is the the decision threshold. The yellow part represents below the threshold, and the red part represents above the threshold. The number is the camera reference fingerprint.
Applsci 15 00261 g001
Figure 2. Illustration of the ARMS search. “×” refers to the location of a digest element. “∘” refers to the location of a non-digest element. The number is the camera reference fingerprint.
Figure 2. Illustration of the ARMS search. “×” refers to the location of a digest element. “∘” refers to the location of a non-digest element. The number is the camera reference fingerprint.
Applsci 15 00261 g002
Figure 3. Illustration of the tree-structured vector quantization-based search algorithm. X is the query fingerprint, F is the reference fingerprint.
Figure 3. Illustration of the tree-structured vector quantization-based search algorithm. X is the query fingerprint, F is the reference fingerprint.
Applsci 15 00261 g003
Figure 4. The process of extracting camera reference pattern noise. The complete steps from inputting the original image to obtaining the camera fingerprint are demonstrated, including key steps such as noise estimation, denoising processing, and fingerprint calculation.
Figure 4. The process of extracting camera reference pattern noise. The complete steps from inputting the original image to obtaining the camera fingerprint are demonstrated, including key steps such as noise estimation, denoising processing, and fingerprint calculation.
Applsci 15 00261 g004
Figure 5. The process of extracting residual noise from a single test image. The complete steps from inputting the original image to obtaining a single test image are demonstrated, including key steps such as noise estimation, denoising processing, and extracting residual noise.
Figure 5. The process of extracting residual noise from a single test image. The complete steps from inputting the original image to obtaining a single test image are demonstrated, including key steps such as noise estimation, denoising processing, and extracting residual noise.
Applsci 15 00261 g005
Figure 6. Illustration of the correlation detection.
Figure 6. Illustration of the correlation detection.
Applsci 15 00261 g006
Figure 7. Explanation of n s . Here n s = 5 .
Figure 7. Explanation of n s . Here n s = 5 .
Applsci 15 00261 g007
Figure 8. P s values between F 1 and X are obtained from 12 cameras.
Figure 8. P s values between F 1 and X are obtained from 12 cameras.
Applsci 15 00261 g008
Figure 9. Correlation values between F 1 and X from 12 cameras are presented.
Figure 9. Correlation values between F 1 and X from 12 cameras are presented.
Applsci 15 00261 g009
Figure 10. n s values between X ˜ and F ˜ from 12 cameras, respectively; k = 10,000.
Figure 10. n s values between X ˜ and F ˜ from 12 cameras, respectively; k = 10,000.
Applsci 15 00261 g010
Figure 11. The correlation values between X ˜ and F ˜ are obtained from 12 cameras, with k = 10,000.
Figure 11. The correlation values between X ˜ and F ˜ are obtained from 12 cameras, with k = 10,000.
Applsci 15 00261 g011
Figure 12. The sample of the lookup table. Each node in the linked list stores information about the elements of the reference fingerprint digests, including the sign (positive or negative) and corresponding index, and the arrows denote the connection relationships between data elements.
Figure 12. The sample of the lookup table. Each node in the linked list stores information about the elements of the reference fingerprint digests, including the sign (positive or negative) and corresponding index, and the arrows denote the connection relationships between data elements.
Applsci 15 00261 g012
Figure 13. The flowchart of our algorithm.
Figure 13. The flowchart of our algorithm.
Applsci 15 00261 g013
Figure 14. The sample images used in the experiment.
Figure 14. The sample images used in the experiment.
Applsci 15 00261 g014
Figure 15. Average search round versus decision threshold curves for three algorithms in a simulated environment.
Figure 15. Average search round versus decision threshold curves for three algorithms in a simulated environment.
Applsci 15 00261 g015
Figure 16. Average search time versus decision threshold curves for three algorithms in a simulated environment.
Figure 16. Average search time versus decision threshold curves for three algorithms in a simulated environment.
Applsci 15 00261 g016
Figure 17. ROC curves for three algorithms in a real-wold environment.
Figure 17. ROC curves for three algorithms in a real-wold environment.
Applsci 15 00261 g017
Figure 18. False positive rate versus decision threshold curves for three algorithms in a real-wold environment.
Figure 18. False positive rate versus decision threshold curves for three algorithms in a real-wold environment.
Applsci 15 00261 g018
Figure 19. False negative rate versus decision threshold curves for three algorithms in a real-wold environment.
Figure 19. False negative rate versus decision threshold curves for three algorithms in a real-wold environment.
Applsci 15 00261 g019
Figure 20. Average search round versus decision threshold curves for three algorithms in a real-wold environment.
Figure 20. Average search round versus decision threshold curves for three algorithms in a real-wold environment.
Applsci 15 00261 g020
Figure 21. Average search time versus decision threshold curves for three algorithms in a real-wold environment.
Figure 21. Average search time versus decision threshold curves for three algorithms in a real-wold environment.
Applsci 15 00261 g021
Table 1. Simulation results of three algorithms under simulated environment.
Table 1. Simulation results of three algorithms under simulated environment.
AlgorithmN N t t k (s)kPerformance Metrics (%)Additional Metrics
FPRFNRACC A SR A ST (s)
Ours5040000.077410,000001001.000.0029
50,000001001.000.0283
ARMS5040000.077410,000001001.030.0005
50,000001002.310.0020
BFSA5040000.077410,00023.52076.4819.680.0072
50,00019.33080.6420.920.0351
Table 2. Simulation results of three algorithms under real-world environment.
Table 2. Simulation results of three algorithms under real-world environment.
Param.OursARMSBFSA
N p = 1 N p = 10 N p = 60 N p = 1 N p = 10 N p = 60 N p = 1 N p = 10 N p = 60
N505050505050505050
k10,00010,00010,00010,00010,00010,00010,00010,00010,000
t k (s)0.07740.07740.07740.07740.07740.07740.07740.07740.0774
N t 819381011281938101128193810112
t cand (s)---6.324631.62326.3246---
FPR (%)0.890.120.884.436.290.988.1519.1528.32
FNR (%)27.053.05027.0527.053.0527.053.050
ACC (%)72.0696.8399.1268.5266.6695.9764.877.871.68
A S R 18.052.901.0020.9924.905.1329.7021.1017.80
A S T (s)0.01200.00410.00370.01160.01560.00340.01050.00770.0063
Disclaimer/Publisher’s Note: The statements, opinions and data contained in all publications are solely those of the individual author(s) and contributor(s) and not of MDPI and/or the editor(s). MDPI and/or the editor(s) disclaim responsibility for any injury to people or property resulting from any ideas, methods, instructions or products referred to in the content.

Share and Cite

MDPI and ACS Style

Lai, Z.; Cheng, L.; Feng, R. Enhancing Camera Source Identification: A Rapid Algorithm with Enhanced Discriminative Power. Appl. Sci. 2025, 15, 261. https://doi.org/10.3390/app15010261

AMA Style

Lai Z, Cheng L, Feng R. Enhancing Camera Source Identification: A Rapid Algorithm with Enhanced Discriminative Power. Applied Sciences. 2025; 15(1):261. https://doi.org/10.3390/app15010261

Chicago/Turabian Style

Lai, Zhimao, Lijuan Cheng, and Renhai Feng. 2025. "Enhancing Camera Source Identification: A Rapid Algorithm with Enhanced Discriminative Power" Applied Sciences 15, no. 1: 261. https://doi.org/10.3390/app15010261

APA Style

Lai, Z., Cheng, L., & Feng, R. (2025). Enhancing Camera Source Identification: A Rapid Algorithm with Enhanced Discriminative Power. Applied Sciences, 15(1), 261. https://doi.org/10.3390/app15010261

Note that from the first issue of 2016, this journal uses article numbers instead of page numbers. See further details here.

Article Metrics

Back to TopTop