Next Article in Journal
Error Modeling of Fiber Optic Gyroscope Universal Time Measurement
Previous Article in Journal
Characteristics of Donghe Sandstone Transport Conductor in Hudson Oilfield, Tarim Basin and Its Oil and Gas Control Effect
 
 
Font Type:
Arial Georgia Verdana
Font Size:
Aa Aa Aa
Line Spacing:
Column Width:
Background:
Article

Development and Evaluation of a Haptic Virtual Walker for Wheelchair Users in Immersive VR Environments

by
Jose Vicente Riera
1,*,
Belen Palma
2,
Pablo Casanova-Salas
1,
Manolo Pérez
1,
Jesus Gimeno
1 and
Marcos Fernandez
1
1
Computer Science Department, University of Valencia, 46010 Valencia, Spain
2
Institute on Robotics and Information and Communication Technologies, Universitat de Valencia, 46980 Paterna, Spain
*
Author to whom correspondence should be addressed.
Appl. Sci. 2025, 15(1), 23; https://doi.org/10.3390/app15010023
Submission received: 27 November 2024 / Revised: 18 December 2024 / Accepted: 20 December 2024 / Published: 24 December 2024

Abstract

This paper presents the development of a virtual walker for wheelchair users designed for use in highly immersive environments, such as Cave Automatic Virtual Environments (CAVEs). The system allows users to navigate virtual environments using their natural wheelchair movements, providing haptic feedback based on the terrain they traverse. Both the control software and hardware have been developed from scratch and integrated into various CAVEs, including one with a six-degree-of-freedom (DOF) motion platform. To test the system, a comparative study was conducted with 21 users, measuring the time taken to complete the same course using different interaction methods and various feedback configurations with the virtual environment. The results show that the shortest times were achieved when users navigated using their natural interaction with their wheelchairs.

1. Introduction

Virtual reality (VR) has become increasingly prevalent in our daily lives, driven by significant advancements in both hardware and software. These developments have made it possible to create highly immersive experiences that can transport users from their real-world surroundings into entirely virtual environments where most of their senses are stimulated as if they were experiencing real-life scenarios. Just twenty years ago, the idea of a person fully immersing themselves in a virtual environment with such a high degree of sensory engagement would have been considered science fiction.
VR is a computer-generated simulation that allows users to interact with and experience a three-dimensional environment in real time, often using multisensory feedback (visual, auditory, and haptic) to enhance immersion and realism. In this study, we focus on highly immersive VR environments, where the term ‘immersive’ refers to the user’s ability to feel fully enveloped in the virtual space, experiencing natural interaction and realistic feedback through multisensory cues, particularly haptic feedback.
The effectiveness of VR is often measured by the sense of presence, which is the user’s feeling of “being there” in the virtual environment [1]. This sense of presence is crucial for training, simulation, and rehabilitation applications, as it allows users to engage more fully and intuitively with the virtual world. Achieving a high sense of presence typically involves stimulating multiple senses simultaneously, including sight, sound, and touch.
However, the rapid advancements in VR technology have primarily benefited a broad audience, often overlooking the specific needs of users with disabilities. While there have been significant improvements in visual, auditory, and even haptic devices for the general population, the progress in developing VR solutions tailored for individuals with mobility impairments has been relatively limited. This disparity highlights the need for more inclusive VR technologies that cater to the diverse needs of all users, including those who rely on wheelchairs for mobility. The use of VR technologies for individuals with disabilities has shown great promise in areas such as rehabilitation, skill training, and accessibility solutions. These technologies provide immersive and customizable environments that enable users to practice real-world tasks and interactions in a safe and controlled manner, improving both functionality and quality of life.
At the Institute of Robotics and Information and Communication Technologies (IRTIC) of the University of Valencia, we have embarked on a project aimed at bridging this gap. Our goal is to develop a haptic system that allows wheelchair users to interact with virtual environments in a manner identical to how they would in the real world. This system is designed to provide realistic feedback based on the user’s movements and the virtual terrain they navigate, enhancing their sense of presence and immersion.
The developed system incorporates two servo-actuators that function as both encoders and force generators, delivering haptic feedback to the user. This feedback can simulate various real-world conditions, such as increased resistance when moving uphill or assistance when moving downhill. By integrating this haptic system into VR environments, we aim to offer wheelchair users a more natural and engaging way to explore and interact with virtual worlds.
This paper details the development and evaluation of our haptic system. We conducted tests with 21 wheelchair users, who navigated a virtual course using different interaction methods and feedback configurations. Participants’ performance was measured by the time taken to complete the course, and their experiences were assessed through presence and cybersickness questionnaires. The results indicate that users achieved the best performance and reported the highest sense of presence when using their natural interaction method with their wheelchairs.
The remainder of this paper is structured as follows: the next section reviews related work on interaction systems for wheelchair users. Section 3 and Section 4 describe the hardware and software developments, respectively. Section 5 details the testing procedures and results. Finally, Section 6 presents the conclusions of the study and outlines future research directions.

2. Related Work

VR has seen substantial growth and diversification over the past few decades, driven by advancements in both hardware and software technologies. Initially conceptualized in the 1980s by pioneers like Jaron Lanier [2], VR aimed to create fully immersive digital environments that could convincingly replicate real-world experiences. The rapid evolution of graphics processing units (GPUs) and the development of intuitive VR development platforms have significantly lowered the barriers to entry, making VR accessible to a broader audience across various domains, from entertainment to professional training. One of the critical aspects of VR is the concept of immersion [1], which refers to the extent to which a user feels present in the virtual environment. Immersion is typically achieved by stimulating multiple senses, including sight, sound, and touch. The sense of presence, which is the user’s subjective feeling of being “in” the virtual environment, is closely tied to the level of immersion. High levels of presence are essential for the effectiveness of VR applications, particularly in training and simulation scenarios.

2.1. Haptic and Vestibular Feedback Systems in VR for Wheelchair Users

In the realm of VR for users with disabilities, particularly those who use wheelchairs, there have been significant strides. Early work in this field focused primarily on visual and auditory feedback. However, as the technology evolved, there has been a growing emphasis on incorporating haptic and vestibular feedback to enhance realism and effectiveness. Haptic feedback involves providing tactile sensations that mimic real-world interactions, while vestibular feedback simulates the physical sensations of movement, such as acceleration and turning.
One notable example of a VR application for wheelchair users is the power wheelchair driving simulator developed by Vailland et al. [3]. This system integrates vestibular feedback to simulate the motion sensations experienced during wheelchair use. The inclusion of vestibular feedback significantly enhances the sense of presence and reduces cybersickness, a common issue in VR environments. The study by Vailland et al. demonstrated that users experienced improved quality of experience (QoE) when vestibular feedback was active, highlighting the importance of multisensory integration in VR systems for mobility-impaired users. This system has the advantage of transmitting vestibular feedback to the user but has several drawbacks. Firstly, it does not allow the user to use their wheelchair, as the simulator chair is motorized and is fixed and adapted (without wheels) for this use. This increases the user’s dependence on other people to use the simulator. Secondly, and more importantly, it does not allow the use of a manual wheelchair. Finally, and linked to the above, the system does not transmit feedback in terms of slope force or ground friction index.
Another significant contribution to the field is the work by Devigne et al. [4], who developed a haptic guidance system for assisted wheelchair navigation. This system provides real-time haptic feedback to users, simulating various terrain conditions and obstacles. The study showed that haptic feedback could help users navigate complex environments more safely and efficiently, making it a valuable tool for training and rehabilitation.
Recent advancements in haptic interaction have explored the simulation of fluid dynamics and terrain-based interactions in virtual environments. For instance, the work of Zhang, X. [5] introduces SPH-based haptic interaction to simulate multiple fluid behaviors in virtual reality, providing a realistic representation of fluid motion through advanced simulation techniques. Similarly, Ping-Hsuan Han [6] developed GroundFlow, a liquid-based haptic system capable of simulating fluid interactions on the ground in virtual environments. While these studies focus on fluid-based interactions, our approach is specifically designed to simulate solid terrain properties, such as slopes, resistances, and uneven surfaces, to allow wheelchair users to navigate virtual environments in a manner identical to real-world conditions. By integrating haptic feedback into the user’s natural wheelchair movements, we provide a unique interaction method that emphasizes realism for solid ground navigation.

2.2. VR-Based Training and Rehabilitation Systems

Mahajan et al. [7] explored the use of a VR-based wheelchair simulator for assessing and improving driving performance. Their research highlighted the potential of VR simulators to provide a safe, controlled environment where users can practice and refine their driving skills. The simulator’s ability to replicate real-world conditions ensures that skills learned in the virtual environment can be effectively transferred to real-life scenarios.
Simpson [8] reviewed various smart wheelchair systems, emphasizing the importance of user-centered design in developing effective assistive technologies. His review covered a range of systems that incorporate different types of feedback and control mechanisms to aid wheelchair users. The findings underscored the potential of integrating advanced sensory feedback systems to improve user experience and functionality. Recio et al. [9] conducted a study on the use of VR for recreational rehabilitation, utilizing a sailing simulator to engage users in an immersive training environment. The study found that VR could effectively enhance the rehabilitation process by providing engaging and realistic training scenarios, thereby improving users’ physical and cognitive skills. Further advancements in VR for wheelchair users have been driven by the development of more sophisticated haptic devices. For instance, the work by Arlati et al. [10] on VR-based wheelchair simulators highlighted the benefits of using haptic feedback to simulate different surface textures and resistance levels. Their scoping review identified several VR systems that successfully integrated haptic feedback, enhancing the realism and training effectiveness of the simulations.
Recent advancements in wheelchair ergometry have led to the development of novel systems like the servo-driven dual-roller hand-rim wheelchair ergometer, as described by R. de Klerk et al. [11]. This ergometer facilitates standardized and comparable lab-based measurements, which is crucial for research, clinical settings, and adapted sports. It integrates dual servomotors to simulate translational inertia and resistive forces encountered during wheelchair propulsion, thereby allowing for detailed performance analysis and capacity assessment.
In the broader context of VR and disability, Cromby et al. [12] discussed the potential of VR in the education and training of people with learning disabilities. Their work emphasized the importance of creating inclusive VR environments that cater to the specific needs of different user groups, including those with physical disabilities. N. W. John et al. [13] present a cost-effective VR application for wheelchair maneuvers using consumer-level hardware, deployable at home or in assessment centers. Initial validation with 33 non-disabled volunteers showed significant improvement in driving skills, though cybersickness remains a concern. Also, T. I. Chowdhury et al. [14] explored how virtual embodiment in a wheelchair affects implicit bias towards wheelchair users with a VR wheelchair locomotion system, and G. Bruder et al. [15] demonstrated in a VR laboratory that redirected walking techniques can be applied to transportation devices, such as electric wheelchairs, combining real walking’s advantages in confined spaces with vehicle-based self-motion for longer distances.
The integration of haptic feedback in VR systems has also been explored by Howard [16], who conducted a meta-analysis on the effectiveness of VR in rehabilitation programs. The analysis concluded that VR, especially when combined with haptic feedback, could significantly enhance rehabilitation outcomes by providing immersive and engaging training environments.
In addition to these academic contributions, commercial advancements have also played a significant role in the development of VR systems for wheelchair users, like NaviBoard [17]. Products like the KAT Walk and the Virtuix Omni have popularized the use of haptic feedback in consumer VR applications, making these technologies more accessible and affordable. These systems allow users to move naturally within the virtual environment, providing a more immersive experience, but are not available for wheelchair users.
Recently, at the Polytechnic University of Cartagena (UPCT), a system similar to the one presented in this paper was developed, which allows wheelchair users to move around virtual environments. In this simulator [18], visual and auditory stimulation was provided by HMD. The base where the wheelchair was placed allowed yaw rotation, but the user had no feedback on the wheels of the wheelchair, i.e., no force was transmitted on slopes or in collisions.

2.3. Challenges in VR for Wheelchair Users

Despite these advancements, there are still challenges to be addressed in the development of VR systems for wheelchair users. One of the primary challenges is ensuring that the VR experience is comfortable and does not induce cybersickness. Studies like those by Rebenitsch and Owen [19] have highlighted the importance of minimizing sensory conflicts and providing consistent feedback to reduce the likelihood of cybersickness.
Another challenge is the customization of VR systems to meet the specific needs of individual users. Research by Hurst and Tobias [20] on do-it-yourself assistive technologies demonstrated the value of customizable solutions that can be tailored to the unique requirements of each user.
As can be appreciated, and despite the advances in the field, no other systems have been found in the literature that provide similar characteristics to the system described in this paper. However, the state of the art in VR for wheelchair users involves the integration of multisensory feedback systems, including visual, auditory, haptic, and vestibular feedback, to create immersive and realistic training environments. These systems have shown great potential in improving the quality of life for individuals with mobility impairments by providing safe and effective training tools.

3. Materials and Methods

The materials and methods used to test the proposed hypothesis are described below.

3.1. Apparatus

The developed haptic system for wheelchair users consists of a robust and sophisticated hardware setup, which can be seen in Figure 1, designed to seamlessly integrate with virtual reality environments, particularly CAVE (Cave Automatic Virtual Environment) systems, which are room-sized virtual reality spaces that project images onto walls, floor, and ceiling to create an immersive experience. The primary objective of this system is to allow wheelchair users to navigate virtual environments using their wheelchairs while providing realistic haptic feedback to enhance the sense of presence and immersion. As users maneuver the wheelchair, the system captures their movements and translates them into the virtual environment (projected in the CAVE) in real time. The system consists of a platform with 4 openings in the floor, corresponding to the places where the wheels of the user’s wheelchair should be positioned. In these openings, the two front ones are free rollers, while the two rear ones are rollers where one of each pair is connected to a servomotor. This only happens on the rear wheels because they are usually the driving wheels with which the user interacts (the ones that accelerate or brake).
The platform measures 1000 × 1000 × 150 mm and weighs approximately 75 kg. This compact design ensures that the system can be easily integrated into various VR setups without requiring extensive modifications to the existing infrastructure.
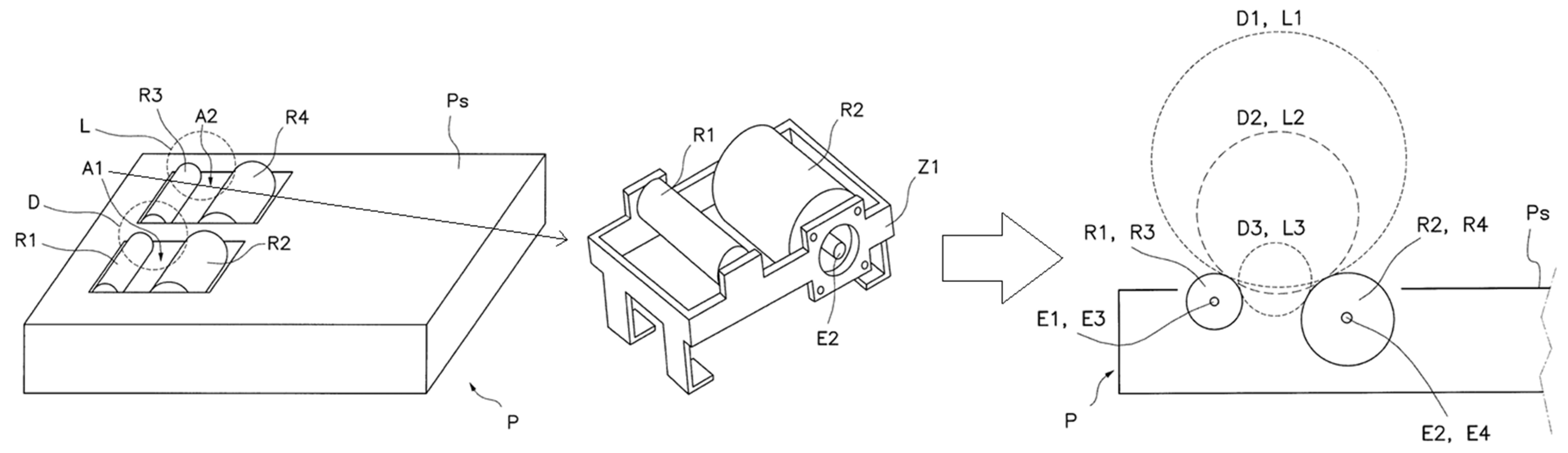
The platform features two primary components, the rear and front cylinders, that are critical for the interaction between the wheelchair and the platform, which can be seen in Figure 2, where P refers to the complete platform, R1–R2 and R3–R4 are the cylinders, E1–E3 and E2–E4 are the roller shafts, Z1–Z2 are the support bases for Ex, and Dx refers to the different wheel diameters and Lx to the longitudinal separation between wheels.
  • Rear cylinder: A free-spinning cylinder with a radius of 40 mm, mounted on bearings at both ends.
  • Front cylinder: A driven cylinder with a radius of 80 mm, connected to a servo reducer on one end and a bearing on the other. This cylinder is responsible for generating the required feedback forces.
The system is designed such that the driving wheels of the wheelchair fit snugly between the two cylinders. As the user maneuvers the wheelchair, the cylinders rotate, and the system captures the motion data. The core of the haptic feedback system is based on two high-precision servo actuators, which are responsible for both capturing the motion of the wheelchair and providing the necessary haptic feedback. Each actuator is equipped with a servo reducer and an encoder to ensure accurate control and feedback.
  • Servomotor:
    (a)
    Speed (input/output): 3000 RPM/617 RPM;
    (b)
    Total reduction ratio: 4.86;
    (c)
    Output torque: 33 Nm nominal, 45 Nm dynamic;
    (d)
    Motor voltage: 230 VAC.
  • Encoders: Absolute rotary encoders with a Hiperface interface, providing precise position and speed feedback to the control system.
The servo actuators are controlled via frequency converters, which adjust the motor speed and torque based on the input from the encoders and the simulation software.
  • Specifications:
    (a)
    Input Voltage: 1 × 200–240 VAC ± 10%;
    (b)
    Output Voltage: 20–250 VAC (ensure safe and stable operation of the servomotors);
    (c)
    Output Frequency: 0–500 Hz.
These converters are equipped with integrated network filters (Category C2) to ensure smooth and noise-free operation. The haptic feedback is generated by varying the resistance and assistance provided by the servo actuators, simulating real-world conditions such as inclines and declines. The system’s control software adjusts these parameters in real time based on the virtual environment’s terrain data and the user’s movements.
The system communicates with the VR environment via a TCP/IP to SystemBus gateway, ensuring seamless data exchange between the hardware platform and the simulation software.
The control software is responsible for managing the communication, processing the encoder data, and adjusting the servo actuator parameters to provide realistic feedback. The software is configured via XML files, which define the parameters of the wheelchair and the virtual environment, including cylinder radius, wheel separation, and ground friction coefficients. To ensure user safety, the system includes several features:
  • Emergency stop buttons: up to two emergency stop buttons can be connected to the platform. These buttons immediately halt all platform operations when pressed.
  • Safety mode: a safety mode has been developed. The system starts in a high-torque, zero-velocity mode, allowing users to safely enter and exit the platform. This mode can be toggled via the software interface.
The hardware system described provides a comprehensive solution for integrating wheelchair users into immersive VR environments, offering a realistic and engaging experience through sophisticated haptic feedback mechanisms. All hardware parts can be observed in Figure 3, where, in addition to the abbreviations already described in Figure 2, S1–S2 are the servomotors, F1–F2 are the frequency drivers, R is the braking resistances, M the TCP/IP-System bus module, C the computer and V the visualization system.

3.2. Software

The software system for the haptic feedback platform is designed to provide seamless integration with virtual reality environments, allowing wheelchair users to interact naturally and receive realistic haptic feedback based on their movements and the virtual terrain. The software components are responsible for communication, control, and feedback generation, ensuring a high level of immersion and user experience. The software architecture comprises several key modules, which are summarized in Figure 4. Each module plays a crucial role in the overall functionality of the system.
The primary control software is responsible for the real-time operation of the haptic feedback system. It interfaces with both the hardware components and the virtual reality simulation software, ensuring synchronized operation.
  • Initialization: upon launch, the software initializes the servo actuators and sets them to a safe state with high torque and zero velocity, allowing users to enter and exit the platform safely.
  • Main Loop: the main loop of the software continuously reads input data from the encoders and processes these data to determine the wheelchair’s position and movement. The main loop steps are as follows:
    (a)
    Update information position from motors.
    (b)
    Detect if the user is applying any torque to the cylinders (to the motors).
    (c)
    Calculate the virtual wheelchair displacement and orientation depending on the velocity detected in step b.
    (d)
    Send data (increments and orientation) to the virtual system to update the physics and, consequently, the visual.
    (e)
    Read actual pitch, roll, collisions, coefficient of friction, etc., from physics.
    (f)
    Calculate the torque needed to simulate the tilt as
    τ = r ∗ F
    where
    F = m ∗ g ∗ µ ∗ cos α.
    τ is the resultant torque needed, r is the radius of the actuated cylinder, m is the mass (taking into account the user and the wheelchair mass), g is gravity, µ the coefficient of friction, and α is the data read in step 5.
    (g)
    Apply the torque to motors (force feedback).
The system uses XML configuration files to manage various parameters, ensuring flexibility and ease of customization. The primary configuration files are as follows:
  • Configuration.XML: This file contains information about the wheelchair and user settings. Key parameters include:
    (a)
    Cylinder radius: specifies the radius of the driving cylinders.
    (b)
    Wheel separation: defines the distance between the wheelchair’s driving wheels.
    (c)
    Wheelchair type: indicates whether the wheelchair is electric or manual.
    (d)
    Gravity: sets the gravity constant for simulation.
    (e)
    Wheel radius: specifies the radius of the wheelchair’s driving wheels.
    (f)
    Default ground friction coefficient factor: defines the friction between the wheelchair wheels and the virtual terrain in those areas where the physical model does not have this information.
    (g)
    User mass: specifies the combined mass of the user and the wheelchair.
    (h)
    Safety parameters: includes maximum motor speed, collision mode, and force application settings.
Figure 4. Software architecture of the system.
Figure 4. Software architecture of the system.
Applsci 15 00023 g004
2.
WheelChair VRPN.XML: this file manages the VRPN (Virtual Reality Peripheral Network) [21] settings for communication with the simulation environment:
(a)
Client device: specifies the type of client device.
(b)
Client IP: defines the IP address for communication.
(c)
Client port: specifies the port number for communication.
Communication between the control software and the virtual environment is facilitated through a TCP/IP by the SystemBus gateway. This ensures that data are exchanged efficiently.
  • TCP/IP settings: the gateway uses a predefined IP address and port for communication.
  • Data exchange: the software acts as both a server and a client. It sends the wheelchair’s position and receives terrain information and collision data from the simulation environment.
The feedback processing module is critical for generating realistic haptic feedback based on the virtual environment’s conditions.
  • Encoder data processing: the software reads real-time data from the encoders to determine the wheelchair’s movement.
  • Terrain feedback: based on the terrain data received from the virtual environment, the software adjusts the servo actuators to simulate various conditions, such as different surface textures, inclines, and declines.
  • Collision detection: when a collision is detected, the software can apply a predefined force to simulate the impact, enhancing the realism of the simulation.
The software includes several safety features to protect users and ensure smooth operation:
  • Emergency stop: the system can be immediately halted by pressing the emergency stop button, which disconnects the actuators and stops all movement.
  • Safe mode activation: the software starts in a safe mode with high torque and zero velocity, allowing users to safely mount and dismount the platform.
  • Error handling: the software continuously monitors system performance and can shut down safely in case of any anomalies.

3.3. User Testing Methodology

To evaluate the effectiveness of the haptic feedback system and its integration into virtual environments, a series of user tests were conducted. The primary objective of these tests was to compare the performance of wheelchair users in completing a virtual task using different interaction methods and feedback configurations. The following sections detail the methodology employed, the analysis approach, and the comparative framework used for the evaluation.
Participants were recruited to represent a diverse sample group, including 21 individuals with varying ages, genders, and wheelchair types. The group comprised eight males and thirteen females, aged between 20 and 63 years. Both manual and motorized wheelchair users were included in the study, with fifteen participants using manual wheelchairs and six using motorized ones. Table 1 summarises the demographic data of the study.
The tests were carried out in a controlled virtual environment designed to simulate a typical navigation task. This environment, which can be seen in Figure 5, was displayed using a CAVE (Cave Automatic Virtual Environment) system to provide an immersive experience. The haptic feedback system was integrated into this setup, delivering realistic force feedback based on the virtual terrain, enhancing the overall immersion and realism of the experience.
Participants were required to complete the navigation task using three different interaction methods. The first method involved using their wheelchair with the base motors on, activating the haptic feedback system to provide force feedback. The second method was similar but with the base motors off, deactivating the haptic feedback. The third method required participants to use a standard joystick to navigate the virtual environment. This setup allowed for a comprehensive evaluation of the haptic feedback system’s impact on user performance. Since the feedback system does not make sense for users who use motorized wheelchairs, this test was omitted in these cases.
The navigation task involved guiding the wheelchair through a predefined course within the virtual environment. This course was designed to mimic real-world navigation challenges, including various obstacles and terrain types. The task aimed to test the users’ ability to maneuver effectively under different conditions.
Prior to the actual tests, participants were given a brief training session to familiarize themselves with the virtual environment and the different interaction methods. Each participant then completed the navigation task under each of the three conditions. To mitigate any potential learning effects, the order of the interaction methods was randomized. The time taken to complete the task was recorded for each condition, providing a quantitative measure of performance.
Data collection focused primarily on the completion times for each condition, serving as the key metric for analysis. Additionally, qualitative data, based on Witmer and Singer’s [22] presence questionnaire, were gathered through participant feedback and observations made during the tests. The Witmer and Singer’s Presence Questionnaire is a widely used tool for evaluating the sense of presence in virtual environments. It has demonstrated strong psychometric properties, including good reliability and validity, as reported in previous studies. The questionnaire assesses factors such as involvement, immersion, and the perceived realism of the virtual environment, making it particularly suitable for evaluating the user experience in immersive VR systems. This feedback provided insights into the user experience and any difficulties encountered.
The comparative analysis aimed to evaluate performance across the three interaction methods, focusing on efficiency and ease of use. The analysis sought to determine which method allowed for the quickest task completion and whether there were significant performance differences based on wheelchair type. Statistical analysis was performed to interpret the data, identifying any significant trends or patterns.
Overall, this methodology provided a robust framework for assessing the haptic feedback system’s effectiveness, ensuring a comprehensive evaluation of its impact on wheelchair user performance in virtual environments.

4. Other Resources

4.1. Travel Time Analysis

To evaluate the effectiveness of different interaction methods for wheelchair users in virtual environments, we conducted three statistical analyses comparing the performance across various conditions: C1 versus C2, C1 versus C3, and C2 versus C3:
  • C1 = interaction with wheelchair and base motors ON;
  • C2 = interaction with wheelchair and base motors OFF;
  • C3 = interaction with joystick and base motors off.
Each analysis aimed to determine the optimal method for enabling natural and efficient movement in immersive virtual reality (VR) settings. The performance metric used in these analyses was the time users took to complete a navigation task within the VR environment.
In the comparison between C1 and C2, a paired t-test revealed a significant difference in user performance. The results showed that users navigated significantly faster with the motors off, as indicated by a t-statistic of 4.001 and a p-value of 0.0013. The effect size, measured by Cohen’s d, was 1.036, which is considered large, indicating a substantial improvement in performance when the motors were off. The statistical power of this test was 96.1%, suggesting a high likelihood that the observed effect is real and not due to chance. These findings imply that users experience less resistance and greater control without motor assistance.
The second analysis compared C1 with C3. Here, the paired t-test results demonstrated a significant performance difference, with users performing better when using their wheelchairs with base motors on. The t-statistic was −3.939, and the p-value was 0.0015, indicating strong statistical significance. The effect size was −0.988, which is also considered large, showing that the use of base motors is far more effective than joystick control. The statistical power for this comparison was 94.4%, reinforcing the reliability of these results. This analysis underscores that while motor assistance might not be optimal, it still offers a better interaction method than joystick control.
The most pronounced difference was observed in the comparison between C2 and C3. The paired t-test yielded a t-statistic of −6.046 and a highly significant p-value of 6.547 × 10−6. The effect size was a striking −1.803, indicating an extremely large effect. The statistical power for this comparison was 96.8%, indicating that the likelihood of detecting a true effect was virtually certain. These results highlight the superiority of natural interaction methods without motor assistance over joystick control, showing that users can navigate much more efficiently and naturally in the VR environment without relying on a joystick.
Table 2 summarizes the results of the statistical analysis comparing navigation performance across the three interaction methods. It presents the mean navigation time differences, t-statistics, p-values, effect sizes (Cohen’s d), and statistical power for each comparison, highlighting the significant differences in user efficiency.

4.2. Sense of Presence

Qualitative data, based on Witmer and Singer’s Presence Questionnaire [22], were gathered through participant feedback and observations made during the tests. Participants were asked to rate their sense of presence, immersion, and realism in the virtual environment under each interaction method (C1, C2, or C3). The feedback revealed that users felt a higher sense of presence and immersion when using their wheelchairs in C1 and C2. Eighty-five percent of participants reported that this method allowed for more natural movements and better alignment with their real-world experiences. Conversely, joystick control was frequently described as less intuitive and less immersive, detracting from the overall virtual experience. Observations corroborated these findings, as users appeared more comfortable and engaged when using natural interaction methods compared to joystick control. Notably, users exhibited 20% more positive engagement behaviors, such as exploring more of the virtual environment, when using C2.
Additionally, participants noted that the haptic feedback system enhanced their sense of realism, particularly when navigating varying terrains within the virtual environment. Those using the wheelchair with C1 reported a greater sensation of resistance and support that closely mimicked real-world conditions, contributing to a more immersive experience. Specifically, 90% of participants with manual wheelchairs indicated that the haptic feedback provided a realistic simulation of different surfaces and obstacles. This was less evident with joystick control, which lacked the nuanced feedback that users experienced with their wheelchairs. Overall, the qualitative data underscore the importance of natural interaction methods and sophisticated haptic feedback systems in enhancing the sense of presence and immersion for wheelchair users in virtual reality environments.

4.3. Comparison with Related Works

The findings of this study demonstrate significant advancements compared to previous works. The authors of [3] incorporated vestibular feedback to enhance the sense of presence in virtual wheelchair simulations; however, their system did not integrate direct haptic feedback on wheel movements, a feature that is central to our approach. By simulating real-world conditions such as slopes and terrain resistance, our system offers a more natural and immersive interaction. Similarly, ref. [4] developed a haptic guidance system focused on assisted navigation and obstacle avoidance, but it lacked the emphasis on enabling natural wheelchair interaction methods, which is a key contribution of our study. Furthermore, ref. [7] utilized VR-based wheelchair simulators primarily for skill training, while our results highlight the added value of haptic feedback in improving both user performance and immersion. These distinctions underscore the importance of our approach in advancing the development of inclusive and realistic VR systems for wheelchair users.

5. Conclusions and Future Work

This study aimed to evaluate the effectiveness of various interaction methods for wheelchair users in virtual environments, utilizing a haptic feedback system designed to enhance immersion and user experience. The methods compared were using the wheelchair with base motors on (C1), using the wheelchair with base motors off (C2), and control via joystick (C3). The results from these comparisons provide several significant insights into the performance and preferences of wheelchair users in virtual settings.
The comparison between C1 and C2 revealed a notable improvement in user performance when the motors were off. Users navigated through the virtual environment significantly faster without motor assistance, suggesting that the absence of base motors reduced resistance and allowed for more natural and controlled movements. The large effect size (Cohen’s d = 1.036) and high statistical power (96.1%) underscore the robustness of these findings, indicating that users have a clear preference for moving without motor assistance in virtual environments.
In the comparison between C1 and C3, the results showed that users performed better with the base motors on. Although this method did not match the effectiveness of having the motors off, it still provided better control and faster navigation times compared to using a joystick. The substantial effect size (Cohen’s d = −0.988) and statistical power (94.4%) reinforce the reliability of these results, demonstrating that natural interaction methods are generally more effective than joystick control. This suggests that while motor assistance might not be ideal, it is still preferable to alternative control methods like joysticks.
The most striking results emerged from the comparison between C2 and joystick control. Users exhibited significantly better performance with the motors off, as indicated by much faster navigation times and very large effect size (Cohen’s d = −1.803). The statistical power of 96.8% confirms the strength and reliability of these findings, emphasizing that joystick control is the least effective method among those tested. This substantial difference highlights the importance of enabling users to interact with virtual environments in a manner that closely mimics their real-world movements.
Qualitative data showed that 85% of participants felt more immersed using their wheelchairs with base motors due to natural movements. Observations noted a 20% increase in engagement behaviors. Additionally, 90% of participants found the haptic feedback system enhanced realism, particularly for varying terrains. These findings underscore the importance of natural interaction methods and advanced haptic feedback in improving VR experiences for wheelchair users.
Despite the promising results, our study has certain limitations. First, while the system effectively simulates terrain-based haptic feedback, the virtual environments tested were relatively simple; more complex environments could pose additional computational challenges. Additionally, the user study involved a limited sample size, which may not fully represent the diversity of wheelchair users.
Future research should focus on refining the haptic feedback system to further enhance user control and immersion. This could involve developing more sophisticated algorithms to simulate various terrain types and resistances more accurately. Expanding the study to include a larger and more diverse sample of wheelchair users will help to generalize the findings and ensure their applicability to a broader population.
Additionally, it can be interesting to conduct this study with the motorized base integrated into our already constructed six-degree-of-freedom (6DOF) motion platform, which can be seen in Figure 6. This setup allows for the simulation of more complex and realistic movement dynamics, including pitch, roll, and yaw, which could further enhance the immersion and realism of the virtual environment. By incorporating a 6DOF platform, we can investigate how multi-axis movement affects user performance, sense of presence, and overall experience. This study could provide valuable insights into the potential benefits and challenges of using advanced motion platforms in VR systems for wheelchair users, potentially leading to even more effective and engaging rehabilitation and training applications.
Exploring real-world applications of these findings, particularly in rehabilitation and training programs for wheelchair users, could lead to practical benefits. Implementing virtual reality systems that utilize the most effective interaction methods identified in this study could improve training outcomes and assist users in developing better navigation skills in both virtual and real environments.

6. Patents

This paper uses and describes (to a large extent) the system patented by the University of Valencia, with the corresponding author as inventor, under license ES-2-523-777-A1.

Author Contributions

Conceptualization, J.V.R.; methodology, J.V.R. and M.F.; software, B.P. and P.C.-S.; validation, J.V.R., J.G. and M.P.; formal analysis, J.G., M.P. and M.F.; resources, J.V.R.; data curation, J.V.R., B.P. and P.C.-S.; writing—original draft preparation, J.V.R., B.P. and P.C.-S.; writing—review and editing, J.G., M.P. and M.F.; visualization, B.P. and P.C.-S.; supervision, J.V.R. and M.F.; project administration, J.V.R.; funding acquisition, M.F. All authors have read and agreed to the published version of the manuscript.

Funding

This research received no external funding.

Institutional Review Board Statement

Ethical review and approval were waived for this study due to its classification as low-risk research, as it does not involve invasive interventions, the use of identifiable personal data, or significant ethical risks, in accordance with university, national, and European regulations.

Informed Consent Statement

Informed consent was obtained from all subjects involved in the study.

Data Availability Statement

The original contributions presented in this study are included in the article. Further inquiries can be directed to the corresponding author.

Conflicts of Interest

The authors declare no conflicts of interest.

References

  1. Interaction Design Foundation (IxDF). What is Presence in Virtual Reality (VR)? Interaction Design Foundation (IxDF): Aarhus, Denmark, 2023; Available online: https://www.interaction-design.org/literature/topics/presence (accessed on 15 December 2024).
  2. Lanier, J. A Vintage Virtual Reality Interview. 1988. Available online: https://www.jaronlanier.com/ (accessed on 24 July 2024).
  3. Vailland, G.; Gaffary, Y.; Devigne, L.; Gouranton, V.; Arnaldi, B.; Babel, M. Vestibular feedback on a virtual reality wheelchair driving simulator: A pilot study. In Proceedings of the 2020 ACM/IEEE International Conference on Human-Robot Interaction, Cambridge, UK, 23–26 March 2020; pp. 171–179. [Google Scholar] [CrossRef]
  4. Devigne, L.; Pasteau, F.; Babel, M.; Narayanan, V.K.; Guegan, S.; Gallien, P. Design of a Haptic Guidance Solution for Assisted Power Wheelchair Navigation. In Proceedings of the 2018 IEEE International Conference on Systems, Man, and Cybernetics (SMC), Miyazaki, Japan, 7–10 October 2018; pp. 3231–3236. [Google Scholar] [CrossRef]
  5. Zhang, X.; Liu, S. SPH haptic interaction with multiple-fluid simulation. Virtual Real. 2017, 21, 165–175. [Google Scholar] [CrossRef]
  6. Han, P.-H.; Wang, T.-H.; Chou, C.-H. GroundFlow: Liquid-based Haptics for Simulating Fluid on the Ground in Virtual Reality. IEEE Trans. Vis. Comput. Graph. 2023, 29, 2670–2679. [Google Scholar] [CrossRef] [PubMed]
  7. Mahajan, H.P.; Dicianno, B.E.; Cooper, R.A.; Ding, D. Assessment of wheelchair driving performance in a virtual reality-based simulator. J. Spinal Cord Med. 2013, 36, 322–332. [Google Scholar] [CrossRef] [PubMed] [PubMed Central]
  8. Simpson, R.C. Smart wheelchairs: A literature review. J. Rehabil. Res. Dev. 2005, 42, 423–436. [Google Scholar] [CrossRef] [PubMed]
  9. Recio, A.C.; Becker, D.; Morgan, M.; Saunders, N.R.; Schramm, L.P.; McDonald, J.W., 3rd. Use of a virtual reality physical ride-on sailing simulator as a rehabilitation tool for recreational sports and community reintegration: A pilot study. Am. J. Phys. Med. Rehabil. 2013, 92, 1104–1109. [Google Scholar] [CrossRef] [PubMed]
  10. Arlati, S.; Colombo, V.; Ferrigno, G.; Sacchetti, R.; Sacco, M. Virtual realitybased wheelchair simulators: A scoping review. Assist. Technol. 2020, 32, 294–305. [Google Scholar] [CrossRef] [PubMed]
  11. de Klerk, R.; Vegter, R.J.K.; Veeger, H.E.J.; van der Woude, L.H.V. Technical Note: A Novel Servo-Driven Dual-Roller Handrim Wheelchair Ergometer. IEEE Trans. Neural Syst. Rehabil. Eng. 2020, 28, 953–960. [Google Scholar] [CrossRef] [PubMed]
  12. Cromby, J.J.; Standen, P.J.; Brown, D.J. The potentials of virtual environments in the education and training of people with learning disabilities. J. Intellect. Disabil. Res. 1996, 40 Pt 6, 489–501. [Google Scholar] [CrossRef] [PubMed]
  13. John, N.W.; Pop, S.R.; Day, T.W.; Ritsos, P.D.; Headleand, C.J. The Implementation and Validation of a Virtual Environment for Training Powered Wheelchair Manoeuvres. IEEE Trans. Vis. Comput. Graph. 2018, 24, 1867–1878. [Google Scholar] [CrossRef] [PubMed]
  14. Chowdhury, T.I.; Quarles, J. A Wheelchair Locomotion Interface in a VR Disability Simulation Reduces Implicit Bias. IEEE Trans. Vis. Comput. Graph. 2022, 28, 4658–4670. [Google Scholar] [CrossRef]
  15. Bruder, G.; Interrante, V.; Phillips, L.; Steinicke, F. Redirecting Walking and Driving for Natural Navigation in Immersive Virtual Environments. IEEE Trans. Vis. Comput. Graph. 2012, 18, 538–545. [Google Scholar] [CrossRef] [PubMed]
  16. Howard, M.C. A meta-analysis and systematic literature review of virtual reality rehabilitation programs. Comput. Human. Behav. 2017, 70, 317–327. [Google Scholar] [CrossRef]
  17. Nguyen-Vo, T.; Riecke, B.E.; Stuerzlinger, W.; Pham, D.-M.; Kruijff, E. NaviBoard and NaviChair: Limited Translation Combined with Full Rotation for Efficient Virtual Locomotion. IEEE Trans. Vis. Comput. Graph. 2021, 27, 165–177. [Google Scholar] [CrossRef] [PubMed]
  18. UPCT Presents a Simulator That Allows People with Reduced Mobility to Make Virtual Visits. Esmartcity.es. 25 April 2022. Available online: https://www.esmartcity.es/2022/04/25/upct-presenta-simulador-permite-personas-con-movilidad-reducida-realizar-visitas-virtuales (accessed on 15 December 2024).
  19. Rebenitsch, L.; Owen, C. Review on cybersickness in applications and visual displays. Virtual Real. 2016, 20, 101–125. [Google Scholar] [CrossRef]
  20. Hurst, A.; Tobias, J. Empowering individuals with do-ityourself assistive technology. In Proceedings of the 13th International ACM SIGACCESS Conference on Computers and Accessibility (ASSETS ’11), Boulder, CO, USA, 22–24 October 2012; Association for Computing Machinery: New York, NY, USA, 2011; pp. 11–18. [Google Scholar] [CrossRef]
  21. Thomas, R.M.T.; Hudson, C.; Seeger, A.; Weber, H.; Juliano, J.; Helser, A.T. VRPN: A device-independent, network-transparent VR peripheral system. In Proceedings of the ACM Symposium on Virtual Reality Software and Technology (VRST ’01), Baniff, AB, Canada, 15–17 November 2001; Association for Computing Machinery: New York, NY, USA, 2001; pp. 55–61. [Google Scholar] [CrossRef]
  22. Witmer, B.G.; Jerome, C.J.; Singer, M.J. The Factor Structure of the Presence Questionnaire. Presence 2005, 14, 298–312. [Google Scholar] [CrossRef]
Figure 1. Hardware setup: (a) User with a manual wheelchair. (b) User with a motorized wheelchair.
Figure 1. Hardware setup: (a) User with a manual wheelchair. (b) User with a motorized wheelchair.
Applsci 15 00023 g001
Figure 2. Cylinders detailed description.
Figure 2. Cylinders detailed description.
Applsci 15 00023 g002
Figure 3. Hardware parts.
Figure 3. Hardware parts.
Applsci 15 00023 g003
Figure 5. CAVE environment for the test of the device with users.
Figure 5. CAVE environment for the test of the device with users.
Applsci 15 00023 g005
Figure 6. The 6DOF motion platform (developed by IRTIC) with the developed wheelchair system integrated.
Figure 6. The 6DOF motion platform (developed by IRTIC) with the developed wheelchair system integrated.
Applsci 15 00023 g006
Table 1. Demographics of study participants.
Table 1. Demographics of study participants.
Gender/Wheelchair TypeQuantityMean Age
F/Manual836.5
F/Motor532.2
M/Manual743.4
M/Motor151
Table 2. Summarizes the results of the statistical analysis.
Table 2. Summarizes the results of the statistical analysis.
ComparisonMean Navigation Time Difference (s)t-Statisticp-ValueEffect Size (Cohen’s d)Statistical Power
Base Motors ON vs. Base Motors OFFFaster by 8 s (131 vs. 139)4.0010.00131.0360.961
Base Motors ON vs. With JoystickFaster by 15 s (131 vs. 146)−3.9390.0015−0.9880.944
Base Motors OFF vs. With JoystickFaster by 7 s (139 vs. 146)−6.0466.547 × 10−6−1.8031
Disclaimer/Publisher’s Note: The statements, opinions and data contained in all publications are solely those of the individual author(s) and contributor(s) and not of MDPI and/or the editor(s). MDPI and/or the editor(s) disclaim responsibility for any injury to people or property resulting from any ideas, methods, instructions or products referred to in the content.

Share and Cite

MDPI and ACS Style

Riera, J.V.; Palma, B.; Casanova-Salas, P.; Pérez, M.; Gimeno, J.; Fernandez, M. Development and Evaluation of a Haptic Virtual Walker for Wheelchair Users in Immersive VR Environments. Appl. Sci. 2025, 15, 23. https://doi.org/10.3390/app15010023

AMA Style

Riera JV, Palma B, Casanova-Salas P, Pérez M, Gimeno J, Fernandez M. Development and Evaluation of a Haptic Virtual Walker for Wheelchair Users in Immersive VR Environments. Applied Sciences. 2025; 15(1):23. https://doi.org/10.3390/app15010023

Chicago/Turabian Style

Riera, Jose Vicente, Belen Palma, Pablo Casanova-Salas, Manolo Pérez, Jesus Gimeno, and Marcos Fernandez. 2025. "Development and Evaluation of a Haptic Virtual Walker for Wheelchair Users in Immersive VR Environments" Applied Sciences 15, no. 1: 23. https://doi.org/10.3390/app15010023

APA Style

Riera, J. V., Palma, B., Casanova-Salas, P., Pérez, M., Gimeno, J., & Fernandez, M. (2025). Development and Evaluation of a Haptic Virtual Walker for Wheelchair Users in Immersive VR Environments. Applied Sciences, 15(1), 23. https://doi.org/10.3390/app15010023

Note that from the first issue of 2016, this journal uses article numbers instead of page numbers. See further details here.

Article Metrics

Back to TopTop