The Possibility of Detrimental Effects on Soil–Structure Interaction in Seismic Design Due to a Shift in System Frequency
Abstract
1. Introduction
2. Methodology
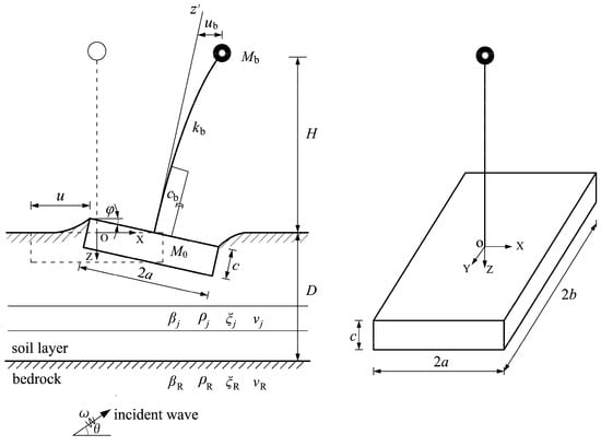
2.1. Model
2.2. Dynamic Equilibrium
- (1)
- The dimensionless mass of the foundation and the structure are M0/Ms and Mb/M0, respectively, where Ms is the mass of soil replaced by the foundation.
- (2)
- (3)
- The dimensionless size of the foundation and the dimensionless thickness of the soil layer are a/a, b/a, c/a and D/a, respectively.
- (4)
- The dimensionless mass density and the shear wave velocity of the soil layer are ρR/ρj and βR/βj, respectively.
3. SSI System versus Fixed-Base Oscillator
3.1. Dynamic Properties of SSI
3.2. Shift in System Frequency
4. Detrimental Effects of SSI
4.1. Data on Structures and Sites
4.2. Case Studies
4.3. Evaluation of System Frequency
5. Conclusions
Author Contributions
Funding
Data Availability Statement
Acknowledgments
Conflicts of Interest
References
- Mylonakis, G.; Gazetas, C. Seismic soil-structure interaction: Beneficial or detrimental? J. Earthq. Eng. 2000, 4, 277–301. [Google Scholar] [CrossRef]
- Khosravikia, F.; Mahsuli, M.; Ghannad, M.A. The effect of soil–structure interaction on the seismic risk to buildings. Bull. Earthq. Eng. 2018, 16, 3653–3673. [Google Scholar] [CrossRef]
- Moghaddasi, M.; Cubrinovski, M.; Chase, J.G.; Pampanin, S.; Carr, A. Probabilistic evaluation of soil- foundation-structure interaction effects on seismic structural response. Earthq. Eng. Struct. Dyn. 2011, 40, 135–154. [Google Scholar] [CrossRef]
- Nakhaei, M.; Ghannad, M.A. The effect of soil-structure interaction on damage index of buildings. Eng. Struct. 2008, 30, 1491–1499. [Google Scholar] [CrossRef]
- Forcellini, D. Seismic fragility of tall buildings considering soil structure interaction (SSI) effects. Structures 2022, 45, 999–1011. [Google Scholar] [CrossRef]
- Dong, V.N.; Dookie, K.; Duan, D.N. Nonlinear seismic soil-structure interaction analysis of nuclear reactor building considering the effect of earthquake frequency content. Structures 2020, 26, 901–914. [Google Scholar]
- Dong, V.N.; Dookie, K.; Chunse, P.; Byounghan, C. Seismic Soil–Structure Interaction Analysis of Concrete Gravity Dam Using Perfectly Matched Discrete Layers with Analytical Wavelengths. J. Earthq. Eng. 2019, 25, 1657–1678. [Google Scholar]
- Zhang, N.; Wang, L.; Zhang, Y.; Lu, H.; Dai, D.; Cai, G.; Gao, Y. Effect of a V-shaped canyon on the seismic response of a bridge under oblique incident SH waves. Earthq. Eng. Struct. Dyn. 2023, 53, 496–514. [Google Scholar] [CrossRef]
- Zheng, S.-X.; Jia, H.-Y.; Zhao, C.-H.; Qu, H.-L.; Shi, X.-L. Seismic response analysis of long-span and asymmetrical suspension bridges subjected to near-fault ground motion. Eng. Fail. Anal. 2020, 115, 104615. [Google Scholar] [CrossRef]
- Oztoprak, S.; Cinicioglu, S.F.; Oztorun, N.K.; Alhan, C. Impact of neighbouring deep excavation on high-rise sun plaza building and its surrounding. Eng. Fail. Anal. 2020, 111, 104495. [Google Scholar] [CrossRef]
- Cui, C.; Zhang, S.; Chapman, D.; Meng, K. Dynamic impedance of a floating pile embedded in poro-visco-elastic soils subjected to vertical harmonic loads. Geomech. Eng. 2018, 15, 793–803. [Google Scholar]
- Cui, C.Y.; Meng, K.; Wu, Y.J.; Chapman, D.; Liang, Z.M. Dynamic response of pipe pile embedded in layered visco-elastic media with radial inhomogeneity under vertical excitation. Geomech. Eng. 2018, 16, 609–618. [Google Scholar]
- Renzi, S.; Madiai, C.; Vannucchi, G. A simplified empirical method for assessing seismic soil-structure interaction effects on ordinary shear-type buildings. Soil Dyn. Earthq. Eng. 2013, 55, 100–107. [Google Scholar] [CrossRef]
- Fu, J.; Todorovska, M.I.; Liang, J. Correction factors for SSI effects predicted by simplified models: 2D versus 3D rectangular embedded foundations. Earthq. Eng. Struct. Dyn. 2018, 47, 1963–1983. [Google Scholar] [CrossRef]
- Cinna, L. Mexico, San Francisco, Los Angeles and Kobe: What next? Nat. Hazards 1997, 16, 287–296. [Google Scholar]
- ASCE/SEI 7-16; Minimum Design Loads for Buildings and Other Structures. American Society of Civil Engineers: Reston, VA, USA, 2016.
- FEMA P-1050-1/2015; National Earthquake Hazard Reduction Program (NEHRP) Recommended Seismic Provisions for New Buildings and Other Structures: Part 2 Commentary. Building Seismic Safety Council (BSSC): Washington, DC, USA, 2015.
- CECS 160: 2004; General Rules for Performance-Based Seismic Design of Buildings (Trial Version). China Association for Engineering Construction Standardization (CECS): Beijing, China, 2004.
- National Institute of Standards and Technology. Soil-Structure Interaction for Building Structures; Report No. NIST GCR 12-917-21; National Institute of Standards and Technology: Gaithersburg, MD, USA, 2012.
- Zhao, M.; Liu, P.; Zhang, J.; Zhang, G.; Gao, Z.; Du, X. A direct time-domain FEM-SBFEM-SBPML method for soil-structure interaction analysis using quadtree mesh. Comput. Geotech. 2023, 161, 105597. [Google Scholar] [CrossRef]
- Liu, J.; Bao, X.; Wang, D.; Tan, H.; Li, S. The internal substructue method for seismic wave input in 3D dynamic soil-structure interaction analysis. Soil Dyn. Earthq. Eng. 2019, 127, 105847. [Google Scholar] [CrossRef]
- Zhang, L.; Wang, J.T.; Xu, Y.J.; He, C.H.; Zhang, C.H. A Procedure for 3D Seismic Simulation from Rupture to Structures by Coupling SEM and FEM. Bull. Seismol. Soc. Am. 2020, 110, 1134–1148. [Google Scholar] [CrossRef]
- Zhang, X.; Far, H. Seismic behaviour of high-rise frame-core tube structures considering dynamic soil-structure interaction. Bull. Seismol. Soc. Am. 2022, 20, 5073–5105. [Google Scholar] [CrossRef]
- Fu, J.; Liang, J.; Ba, Z. Non-singular boundary element method on impedances of three-dimensional rectangular foundations. Eng. Anal. Bound. Elem. 2019, 99, 100–110. [Google Scholar] [CrossRef]
- Luis, A.P.; Suarez, A.; Aznarez, J.J.; Maeso, O. Kinematic internal forces in deep foundations with inclined piles. Earthq. Eng. Struct. Dyn. 2015, 44, 2129–2135. [Google Scholar]
- Chen, S.S.; Liao, K.H.; Shi, J.Y. A dimensionless parametric study for forced vibrations of foundation-soil systems. Comput. Geotech. 2016, 76, 184–193. [Google Scholar] [CrossRef]
- Ghannad, M.A.; Jahankhah, H. Site-dependent strength reduction factors for soil-structure systems. Soil Dyn. Earthq. Eng. 2007, 27, 99–110. [Google Scholar] [CrossRef]
- Luco, J.E.; Lanzi, A. Approximate soil-structure interaction analysis by a perturbation approach: The case of stiff soils. Soil Dyn. Earthq. Eng. 2013, 51, 97–110. [Google Scholar] [CrossRef]
- Lanzi, A.; Luco, J.E. Approximate soil-structure interaction analysis by a perturbation approach: The case of soft soils. Soil Dyn. Earthq. Eng. 2014, 66, 415–428. [Google Scholar] [CrossRef]
- Fu, J.; Liang, J.; Todorovska, M.I.; Trifunac, M.D. Soil-structure system frequency and damping: Estimation from eigenvalues and results for a 2D model in layered half-space. Earthq. Eng. Struct. Dyn. 2018, 47, 2055–2075. [Google Scholar] [CrossRef]
- Luco, J.E. Soil-structure interaction and identification of structural models. In Proceedings of the 2nd ASCE Conference on Civil Rngineering and Nuclear Power, Knoxville, TN, USA, 15–17 September 1980; Geotechnical Topics. ASCE: New York, NY, USA, 1980; Volume II, pp. 10.1–10.30. [Google Scholar]
- Trifunac, M.D.; Hao, T.Y.; Todorovska, M.I. Response of a 14-Story Reinforced Concrete Structure to Nine Earthquakes: 61 Years of Observation in the Hollywood Storage Building; Report CE 01-02; Department of Civil Engineering, University of Southern California: Los Angeles, CA, USA, 2001. [Google Scholar]
- Luco, J.E.; Wong, H.L.; Trifunac, M.D. Soil-Structure Interaction Effects on Forced Vibration Tests; Report 86-05; University of Southern California, Department of Civil Engineering: Los Angeles, CA, USA, 1986. [Google Scholar]
- Fu, J.; Liang, J. Performance degradation of tuned-mass-dampers arising from ignoring soil-structure interaction effects. Soil Dyn. Earthq. Eng. 2019, 125, 105701. [Google Scholar]
- Todorovska, M.I.; Trifunac, M.D. The system damping, the system frequency and the system response peak amplitudes during in-plane building-soil interaction. Earthq. Eng. Structrual Dyn. 1992, 21, 127–144. [Google Scholar] [CrossRef]







| Parameters | Hollywood Storage Building | Millikan Library | Sherman Oaks Building | Walnut Creek Building | |
|---|---|---|---|---|---|
| a (short side) | 7.77 m | 11.65 m | 18.15 m | 15.9 m | |
| b (long side) | 33.15 m | 12.55 m | 28.8 m | 22.6 m | |
| c | 8.74 m | 4.30 m | 16.10 m | 4.20 m | |
| H | 45.6 m | 43.9 m | 50.0 m | 39.2 m | |
| He | 26.3 m | 25.3 m | 28.9 m | 22.6 m | |
| M0 (kg) | 1.38 × 107 kg | 1.43 × 106 kg | 4.57 × 107 kg | 1.43 × 106 kg | |
| Mb | 1.17 × 107 kg | 1.07 × 107 kg | 1.66 × 107 kg | 1.07 × 107 kg | |
| Mb/M0 | 0.85 | 7.48 | 0.24 | 7.48 | |
| 2% | 2% | 2% | 2% | ||
| NS | b/a | 4.27 | 0.93 | 1.59 | 1.42 |
| c/a | 1.12 | 0.34 | 0.89 | 0.26 | |
| He/a | 3.38 | 2.17 | 1.59 | 1.42 | |
| 0.070 | 0.168 | 1.10 | 0.14 | ||
| 0.83 Hz | 2.16 Hz | 1.54 Hz | 1.52 Hz | ||
| 0.78 Hz | 1.86 Hz | 1.38 Hz | 1.40 Hz | ||
| 0.93 | 0.84 | 0.90 | 0.92 | ||
| EW | a/b | 0.23 | 1.08 | 0.63 | 0.70 |
| c/b | 0.26 | 0.37 | 0.56 | 0.186 | |
| He/b | 0.79 | 2.02 | 1.00 | 1.00 | |
| 0.72 | 0.11 | 0.61 | 0.28 | ||
| 2.00 Hz | 1.26 Hz | 1.69 Hz | 2.10 Hz | ||
| 1.78 Hz | 1.20 Hz | 1.55 Hz | 1.88 Hz | ||
| 0.89 | 0.94 | 0.92 | 0.89 | ||
| S-Wave Velocity (m/s) | Thickness (m) | Mass Density (kg/m3) | Damping Ratio | |
|---|---|---|---|---|
| Hollywood Storage Building | ||||
| 1 | 184.7 | 15.2 | 2050.4 | 2% |
| 2 | 362.7 | 15.2 | 2082.4 | 2% |
| 3 | 554.7 | 30.5 | 2082.4 | 2% |
| 4 | 624.8 | 41.5 | 2082.4 | 2% |
| Bedrock | 1045.5 | ∞ | 2082.4 | 2% |
| Millikan Library | ||||
| 1 | 298.7 | 5.49 | 1846.9 | 2% |
| 2 | 387.1 | 4.26 | 1846.9 | 2% |
| 3 | 454.2 | 3.66 | 1846.9 | 2% |
| 4 | 487.7 | 6.71 | 1846.9 | 2% |
| 5 | 609.6 | 82.29 | 1846.9 | 2% |
| 6 | 762.0 | 16.16 | 1846.9 | 2% |
| Bedrock | 944.8 | ∞ | 1846.9 | 2% |
| Sherman Oaks Building | ||||
| 1 | 160 | 2.7 | 2040.8 | 2% |
| 2 | 205 | 6.7 | 2040.8 | 2% |
| 3 | 260 | 13.7 | 2040.8 | 2% |
| 4 | 330 | 23.8 | 2040.8 | 2% |
| Bedrock | 514 | ∞ | 2040.8 | 2% |
| Walnut Creek Building | ||||
| 1 | 336 | 5.0 | 1846.9 | 2% |
| Bedrock | 434 | ∞ | 1846.9 | 2% |
| Earthquake | Year | ||||||
|---|---|---|---|---|---|---|---|
| Maximum (g) | Mean (g) ×10−2 | Maximum (g) | |||||
| SSI System | Fixed-Base | SSI System | Fixed-Base | SSI System | Fixed-Base | ||
| Hollywood Storage Building (NS) | |||||||
| Kern County | 1952 | 0.43 | 0.28 | 7.72 | 5.25 | 1.67 | 1.40 |
| San Fernando | 1971 | 0.37 | 0.15 | 5.52 | 3.12 | 1.17 | 0.85 |
| Whittier Narrow | 1987 | 0.32 | 0.15 | 4.92 | 4.34 | 0.97 | 0.90 |
| Northridge | 1994 | 0.33 | 0.21 | 4.33 | 2.92 | 0.96 | 0.80 |
| Chino Hills | 2008 | 0.41 | 0.18 | 7.24 | 2.75 | 1.73 | 0.68 |
| Encino | 2014 | 0.27 | 0.11 | 1.49 | 0.61 | 0.57 | 0.23 |
| Millikan Library (NS) | |||||||
| Lytle Creek | 1970 | 0.41 | 0.33 | 11.40 | 9.83 | 3.44 | 2.56 |
| San Fernando | 1971 | 0.13 | 0.21 | 3.41 | 5.61 | 0.57 | 1.10 |
| Whittier Narrow | 1987 | 0.16 | 0.37 | 3.12 | 7.10 | 0.90 | 2.66 |
| Yorba Linda | 2002 | 0.13 | 0.26 | 2.91 | 5.76 | 0.69 | 1.96 |
| San Simeon | 2003 | 0.12 | 0.13 | 3.45 | 3.49 | 0.87 | 1.03 |
| Sherman Oaks Building (NS) | |||||||
| Lander | 1992 | 0.21 | 0.28 | 5.64 | 6.55 | 1.30 | 1.66 |
| Whittier Narrow | 1987 | 0.13 | 0.15 | 1.38 | 1.52 | 0.34 | 0.33 |
| Northridge | 1994 | 0.20 | 0.22 | 2.43 | 3.70 | 0.78 | 1.51 |
| Chatsworth | 2007 | 0.095 | 0.102 | 1.00 | 1.04 | 0.33 | 0.47 |
| Chino Hills | 2008 | 0.20 | 0.16 | 2.44 | 2.57 | 0.73 | 1.01 |
| Encino | 2014 | 0.061 | 0.12 | 0.053 | 0.06 | 0.18 | 0.33 |
| Walnut Creek Building (EW) | |||||||
| Livermore | 1980 | 0.33 | 0.34 | 4.94 | 6.20 | 1.32 | 1.48 |
| Livermore Aftershock | 1980 | 0.27 | 0.39 | 4.33 | 7.84 | 1.50 | 2.37 |
| Loma Prieta | 1989 | 0.24 | 0.33 | 4.54 | 5.83 | 1.19 | 1.68 |
| Alamo | 2008 | 0.10 | 0.12 | 1.25 | 1.77 | 0.30 | 0.45 |
| Earthquake | Year | ||||||
|---|---|---|---|---|---|---|---|
| Maximum (g) | Mean (g) ×10−2 | Maximum (g) | |||||
| SSI System | Fixed-Base | SSI System | Fixed-Base | SSI System | Fixed-Base | ||
| Hollywood Storage Building (EW) | |||||||
| Kern County | 1952 | 0.44 | 0.32 | 7.84 | 7.02 | 2.39 | 2.50 |
| San Fernando | 1971 | 0.38 | 0.19 | 4.01 | 3.17 | 1.45 | 1.36 |
| Whittier Narrow | 1987 | 0.49 | 0.53 | 8.60 | 15.42 | 2.09 | 4.69 |
| Northridge | 1994 | 0.45 | 0.32 | 6.60 | 4.15 | 3.11 | 1.95 |
| Chino Hills | 2008 | 0.35 | 0.41 | 5.52 | 6.45 | 1.94 | 3.14 |
| Encino | 2014 | 0.19 | 0.25 | 2.88 | 3.67 | 0.88 | 1.48 |
| Millikan Library (EW) | |||||||
| Lytle Creek | 1970 | 0.39 | 0.49 | 9.47 | 15.44 | 2.37 | 3.77 |
| San Fernando | 1971 | 0.20 | 0.19 | 6.65 | 7.74 | 1.35 | 1.53 |
| Whittier Narrow | 1987 | 0.27 | 0.34 | 5.53 | 6.36 | 1.30 | 1.80 |
| Yorba Linda | 2002 | 0.107 | 0.105 | 2.62 | 3.54 | 0.56 | 0.70 |
| San Simeon | 2003 | 0.44 | 0.55 | 11.74 | 14.90 | 3.13 | 4.19 |
| Sherman Oaks Building (EW) | |||||||
| Lander | 1992 | 0.19 | 0.27 | 5.20 | 8.10 | 1.20 | 1.99 |
| Whittier Narrow | 1987 | 0.20 | 0.26 | 2.95 | 5.50 | 0.87 | 1.64 |
| Northridge | 1994 | 0.187 | 0.190 | 2.91 | 3.11 | 1.13 | 1.15 |
| Chatsworth | 2007 | 0.055 | 0.106 | 0.060 | 0.087 | 0.19 | 0.43 |
| Chino Hills | 2008 | 0.20 | 0.24 | 3.58 | 5.18 | 1.46 | 1.63 |
| Encino | 2014 | 0.061 | 0.12 | 0.053 | 0.06 | 0.18 | 0.33 |
| Walnut Creek Building (NS) | |||||||
| Livermore | 1980 | 0.28 | 0.37 | 6.25 | 8.17 | 2.07 | 2.42 |
| Livermore Aftershock | 1980 | 0.14 | 0.17 | 2.75 | 3.27 | 0.85 | 1.01 |
| Loma Prieta | 1989 | 0.14 | 0.20 | 3.09 | 2.94 | 0.96 | 1.33 |
| Alamo | 2008 | 0.13 | 0.19 | 1.11 | 2.15 | 0.36 | 0.59 |
Disclaimer/Publisher’s Note: The statements, opinions and data contained in all publications are solely those of the individual author(s) and contributor(s) and not of MDPI and/or the editor(s). MDPI and/or the editor(s) disclaim responsibility for any injury to people or property resulting from any ideas, methods, instructions or products referred to in the content. |
© 2024 by the authors. Licensee MDPI, Basel, Switzerland. This article is an open access article distributed under the terms and conditions of the Creative Commons Attribution (CC BY) license (https://creativecommons.org/licenses/by/4.0/).
Share and Cite
Tao, W.; Fu, J.; Li, Y. The Possibility of Detrimental Effects on Soil–Structure Interaction in Seismic Design Due to a Shift in System Frequency. Appl. Sci. 2024, 14, 7519. https://doi.org/10.3390/app14177519
Tao W, Fu J, Li Y. The Possibility of Detrimental Effects on Soil–Structure Interaction in Seismic Design Due to a Shift in System Frequency. Applied Sciences. 2024; 14(17):7519. https://doi.org/10.3390/app14177519
Chicago/Turabian StyleTao, Weifeng, Jia Fu, and Yugang Li. 2024. "The Possibility of Detrimental Effects on Soil–Structure Interaction in Seismic Design Due to a Shift in System Frequency" Applied Sciences 14, no. 17: 7519. https://doi.org/10.3390/app14177519
APA StyleTao, W., Fu, J., & Li, Y. (2024). The Possibility of Detrimental Effects on Soil–Structure Interaction in Seismic Design Due to a Shift in System Frequency. Applied Sciences, 14(17), 7519. https://doi.org/10.3390/app14177519
