You are currently viewing a new version of our website. To view the old version click .
Applied Sciences
  • Article
  • Open Access

25 January 2023

Study of Loads Acting on the Load during the Sudden Braking of a Vehicle

,
and
1
Department of Automotive Vehicles and Transportation, Faculty of Mechatronics and Mechanical Engineering, Kielce University of Technology, 25-314 Kielce, Poland
2
Department of Mechanical Engineering, Institute of Vehicles and Transportation, Military University of Technology (WAT), 00-908 Warsaw, Poland
*
Author to whom correspondence should be addressed.
This article belongs to the Special Issue Automotive Safety and Security Engineering: From Theories to Practices

Abstract

This article presents the results of a study of the braking process in terms of assessing the longitudinal loading condition of transported cargo. The existing methods of securing cargo do not take into consideration the type of vehicle used to transport the cargo. This may result in cargo not being transported in compliance with the principles of proper cargo protection. This paper discusses the differences in maximum deceleration values achieved by different types of vehicles that are structurally suitable for freight transport. As a result of these differences in deceleration values, the values of forces acting on the transported cargo are also different. This paper presents and analyses the results of road tests that entailed the heavy braking of two vehicles structurally suitable for freight transport. One of them was a delivery vehicle, while the other was a semi-trailer truck. The experiment was carried out in six measurement series. Four of them were performed on an asphalt pavement, while the other two on a concrete pavement. One series included ten brake tests. Deceleration values registered during the tests were later used to determine the values of coefficient Cx, which were then compared with standardised values. It has been shown that failure to take into account in the selection process of cargo securing equipment, vehicle category, and type and condition of the pavement can result in cargo displacement and even traffic incidents.

1. Introduction

Road transport is currently considered to be the most important category of transport in Europe. This is influenced by factors such as its versatility and the unrestricted availability of its infrastructure, among others. The development of road transport has also been advanced by the wide availability of transport means with sufficient cargo space to accommodate practically any type of cargo. As a result, more than 1.952 million tonnes of cargo have been transported by road in Poland in 2021.
Aside from all of the benefits resulting from the development of road transport, there are several hazards that this type of transport generates in relation to the natural environment and traffic safety. Transported cargo must be properly secured in the cargo bay so that it does not move during transport. This is one of the main factors affecting the safety of the driver, as well as the safety of all other road users [1,2]. Of some concerns are statistics suggesting that almost one-quarter of road accidents with the participation of cargo-carrying vehicles are caused by the inappropriate securing of cargo [1,3].
Cargo transport safety has been described in many publications. M. Vlkovský and P. Veselík divided errors related to the securing of cargo into three different groups. They have differentiated between intentional, careless, and unintentional errors [4]. The first two groups of errors are related to poor management, or the lack of supervision over subordinates. These errors usually have an economic background (overloading of the vehicle, insufficient number and poor technical condition of fastening equipment) or are committed due to insufficient knowledge in the field of securing cargo. Unintentional errors are committed inadvertently despite compliance with the recommendations of standard (EN 12195-1:2010) [5,6,7]. In accordance with Directive 2014/47/EU of the European Parliament and of the Council of 3 April 2014, the standard EN 12195-1:2010 is used in roadside inspections of cargo securing in vehicles moving within the European Union [8,9]. This standard also applies to the carriage of cargo from subsection 7.5.7.1 of the Agreement Concerning the International Carriage of Dangerous Goods by Road (ADR) [10].
The authors of articles in which the problem of cargo securing has been presented usually focus on conducting computer simulations [11,12,13]. Zong, C. et al. [11] first built a model of the vehicle and its operating conditions, and then analysed the accelerations that act on the vehicle under the assumed conditions. The resulting acceleration values were the input values for the program in which the cargo attachment model was built and analysed. Stokłosa J. et al. [13] carried out computer simulations in which they analysed the strength of cargo fastening elements under various extreme situations occurring in the transportation process.
Discussions of the source data for the models (e.g., acceleration coefficients) have appeared rather sporadically, e.g., [14,15]. Zamecnik J. et al. [14] tested belts from various manufacturers according to EN 12 195-2 and analysed how the number of coils in the tensioning pawl affected the results of the tests.
JAGELČÁK, J. addressed the problem of calculating the number of lashings. He stated that the requirements in “European standard EN 12195-1 Load Restraint Assemblies. Safety. Part 1: Calculation of lashing forces,” in terms of the number of lashings that girdle the load from above to prevent it from tipping over, are unreasonable and should be corrected. Vlkovský et al. analysed accelerations generated by road surface irregularities by carrying out a series of tests on an unpaved road, as well as on a motorway. They demonstrated that the application of standard EN 12195-1:2010 without the consideration of any additional transport conditions, such as the type of motor vehicle and the type of road and its technical condition, is not sufficient [16,17,18,19,20,21].
The possibility of monitoring accelerations and the related forces acting on cargo was also analysed by Gnap et al. They carried out measurements in several selected points of the box body of a loaded vehicle [22]. The authors believed that the monitoring of accelerations recorded in several points allowed them to identify areas with a higher risk of cargo damage within a vehicle’s box body. This information can be used to adapt the packaging and secure the cargo appropriately or to modify the transport route.
The selection of elements preventing the cargo from moving requires the knowledge of forces acting on this cargo during transport. Loads that act on cargo during transport are generated mainly by inertial forces connected with the movement of the vehicle, its vibrations, or tilting. They can act in the longitudinal, transverse, or vertical direction. Longitudinal inertial forces occur during the acceleration or braking of the vehicle and transverse forces occur during curved motion, whereas any road surface irregularities generate vertical forces.
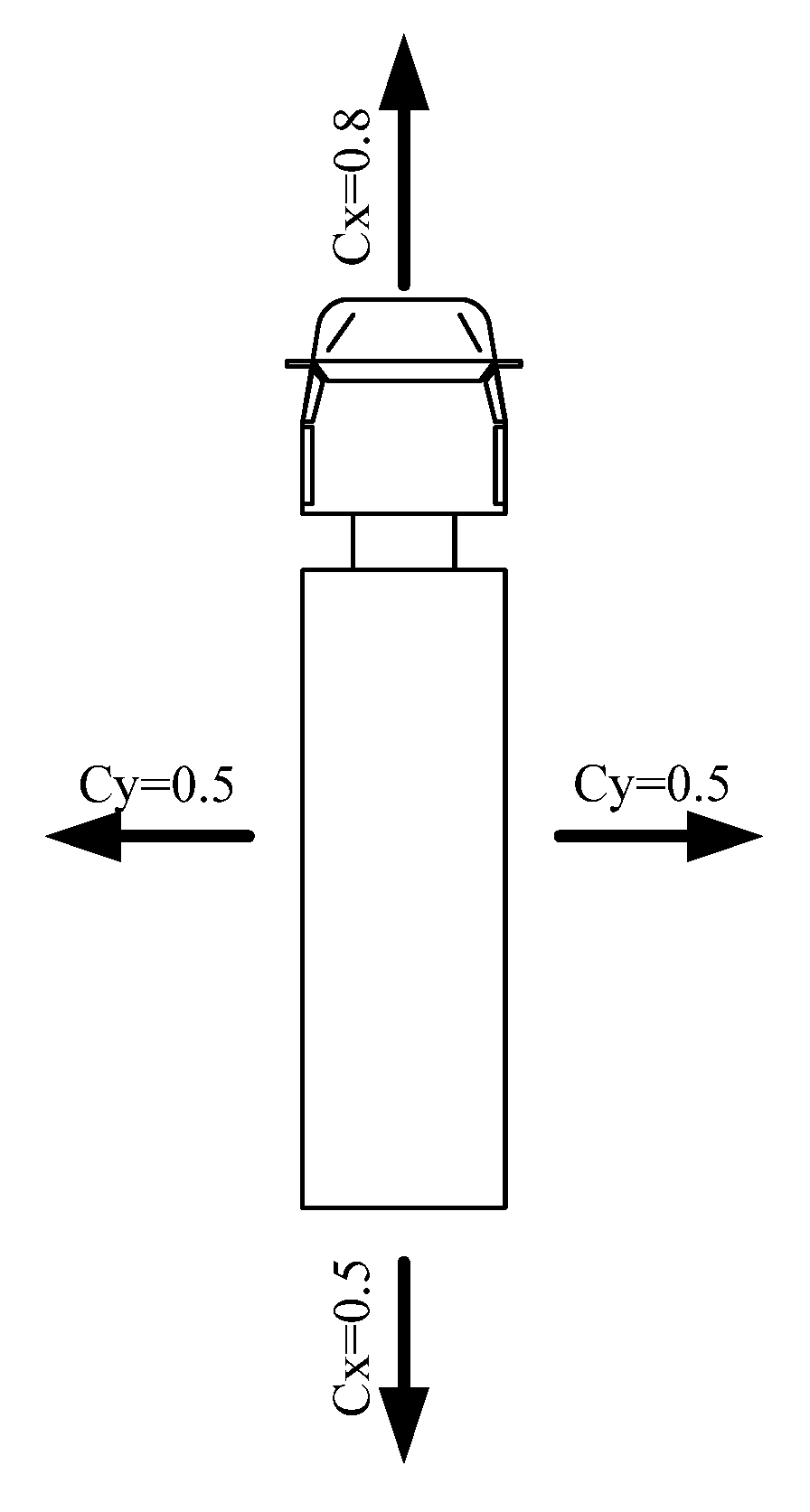
According to standard EN 12195-1, the maximum values of longitudinal forces that must be considered for the selection of fastening elements constitute the mass force of the cargo (Qł) expressed by the coefficient Cx, which, according to the standard, equals 0.8 (Figure 1) [5,6,7,8,9].
C x = a x g
where g—acceleration of gravity 9.81 m/s2.
Figure 1. Acceleration coefficients used in road transport.
In accordance with equation No. 1, the value of coefficient Cx depends on the value of the acceleration of the mass centre of the transported cargo. The maximum value of the acceleration of the centre of mass (ax) is equal to the deceleration of braking (aH).
The value of deceleration is influenced by the adhesion of the wheels to the road surface, the mass of the vehicle, the mass distribution of the load being carried [23,24,25,26], and the design of the braking system [27,28,29,30]. A high value of braking deceleration and simultaneous inertia forces acting on the vehicle and load can also be the result of poor driving technique on the part of the driver. The characteristics of such a driving technique are rapid braking, rapid acceleration, and excessive speed on a curve of the road [31,32].
The emergency braking process for trucks and commercial vehicles has been studied by [23,24,25,33]. A study and analysis of the emergency braking of an N3 category vehicle carrying loose cargo was presented in the article [23]. In none of the described tests, the deceleration value of the vehicle did not exceed 0.8 g during intensive braking. T. Skrucany et al. [24,25] studied the effect of the position of the cargo’s centre of mass on the value of deceleration achieved by N1 and N2 category vehicles. They showed that lowering the centre of mass and bringing the centre of mass closer to the rear axle of a vehicle of the N1 and N2 categories increased the value of deceleration and, at the same time, shortened the braking distance. In four of the sixteen post-measurement tests of sudden braking performed, the value of longitudinal deceleration exceeded 8 m/s2.
There are no articles in the available literature describing the results of studies on the influence of driving technique and vehicle category on the choice of cargo securing. The lack of such publications, as well as some inadequacies of the European standard EN 12195-1:2010, which omits vans, inspired a series of studies covering the emergency braking of trucks and commercial vehicles.
The aim of these tests was to verify whether the value of standardized coefficient Cx, which, according to the existing standard, equals 0.8, should be corrected depending on the type of transporting vehicle or the technical condition of the road surface. This article describes the object and conditions of the tests and presents the results of braking deceleration of a truck and commercial vehicles.
The purpose of the article is to point out the inadequacies of the European standard EN 12195-1:2010. This standard applies only to trucks and ignores delivery vans, which behave differently from trucks during the braking process. The authors of the article show that a rigid approach to this standard can lead to unintended errors in the aspect of securing the transported cargo.

2. The Methodology of Field Tests

2.1. Test Vehicle

The international classification of vehicles used for the carriage of goods divides them into four categories. Such vehicles must have at least four wheels and must be suitable for transporting goods, including [34]:
Category N1: vehicles used for the carriage of goods and having a maximum mass not exceeding 3.5 t;
Category N2: vehicles used for the carriage of goods and having a maximum mass exceeding 3.5 t but not exceeding 12 t;
Category N3: vehicles used for the carriage of goods and having a maximum mass exceeding 12 t.
This paper presents and analyses the results of testing the longitudinal dynamics of a delivery van classified as an N1 category vehicle and a semi-trailer vehicle classified as an N3 category vehicle. The technical condition of the braking, steering, and driving systems was checked before testing. The tested vehicles were equipped with tires with a wear rate of maximum 20%.

2.2. Measuring Apparatus

All results presented and analysed below were obtained with the use of a specially built test track. This track consisted of the following elements:
An optical electronic Correvit S-350™ head that enables contact-free measurement of speed vector components (speed measurement range 0.5–250 km/h, lateral drift angle measurement range ±40°, lateral drift angle measurement precision <±0.1°) [35];
A TANS™ gyroscope sensor for the measurement of linear acceleration (measuring range ±3 g) and angular velocity (directional deviation velocity range ±150 deg/s) [36];
A data acquisition station EEP-12 [37];
A portable computer with software.
The configuration of the test track enabled the registration of the longitudinal speed, as well as the deceleration of vehicle as parameters measured directly using the optical electronic head and the gyroscope acceleration sensor.

2.3. Testing Procedure

The research included tests of straight-line braking from two initial speeds that are typical for urban traffic. The braking tests were carried out on the road and asphalt pavement. The asphalt road was in a good state of repair, while the concrete road had a few instances of concrete spalling. The article presents the results of the measurements taken during:
Sudden braking of a motor vehicle on a dry and wet concrete road from 30 km/h;
Sudden braking of a motor vehicle on a dry and wet asphalt road from 30 km/h and 50 km/h.
Each of the measurement series consisted of 10 rapid braking tests of the vehicles, during which the values of the longitudinal speed and longitudinal acceleration of the bodies of test vehicles were measured over time. For each braking test, the maximum value of braking deceleration amax and the value of the mean fully developed deceleration (MFDD) were measured.
The weather conditions of the experiment were optimal, and the visibility was excellent. The air temperature was about 20 °C.

3. Test Results

During the tests, characteristics such as the longitudinal acceleration of vehicle were recorded, the values of which are shown in Figure 2 and Figure 3.
Figure 2. The presentation of values of longitudinal deceleration registered for a category N1 vehicle during the tests of rapid braking carried out on: (a) dry asphalt pavement from 30 km/h, (b) dry asphalt pavement from 50 km/h, (c) wet asphalt pavement from 30 km/h, (d) wet asphalt pavement from 50 km/h, (e) dry concrete pavement from 30 km/h, (f) wet concrete pavement from 30 km/h.
Figure 3. The presentation of values of longitudinal deceleration registered for a category N3 vehicle during the tests of rapid braking carried out on: (a) dry asphalt pavement from 30 km/h, (b) dry asphalt pavement from 50 km/h, (c) wet asphalt pavement from 30 km/h, (d) wet asphalt pavement from 50 km/h, (e) dry concrete pavement from 30 km/h, (f) wet concrete pavement from 30 km/h.
In the vast majority of cases, the values of maximum deceleration recorded by acceleration sensors during braking on wet pavement were lower than those recorded on dry pavement. This correlation was also observed during the performance of braking tests from an initial speed of the vehicle of approximately 30 km/h. During the braking tests performed with an initial speed of 50 km/h, the maximum deceleration values of the vehicle on wet pavement were similar to the maximum values of deceleration registered during the tests performed on dry pavement. Such correlation between the results may have been affected partly by the testing methodology. During pulse braking, braking with an active ABS system, and during intensive (rapid) braking tests, there were differences in the values of peripheral deceleration and acceleration of wheels in the braking and de-braking phases. That is because braking on a wet surface generates higher values of peripheral deceleration of wheels than braking on a dry surface. De-braking on a dry surface, meanwhile, generates higher values of peripheral deceleration of wheels than braking on a wet surface [38]. However, the confirmation or the elimination of the influence of this effect on recorded values requires the performance of additional, more detailed tests.
Using correlation 2 and the recorded values of speed over time (the examples of which are shown in Figure 4 and Figure 5), the following values were determined for each test: Vo (initial speed of vehicle), Vb = 0.8 Vo, Ve = 0.1 Vo, Sb (distance travelled between Vo and Vb), Se (distance travelled between Vo and Ve), and MFDD. The results are compiled in Table 1, Table 2, Table 3, Table 4, Table 5 and Table 6.
Figure 4. Examples of the presentation of values of longitudinal deceleration and longitudinal speed over time registered for a category N1 vehicle during braking tests carried out on: (a) dry asphalt pavement from 30 km/h, (b) dry asphalt pavement from 50 km/h, (c) wet asphalt pavement from 30 km/h, (d) wet asphalt pavement from 50 km/h, (e) dry concrete pavement from 30 km/h, (f) wet concrete pavement from 30 km/h.
Figure 5. Examples of the presentation of values of longitudinal deceleration and longitudinal speed over time registered for a category N3 vehicle during braking tests carried out on: (a) dry asphalt pavement from 30 km/h, (b) dry asphalt pavement from 50 km/h, (c) wet asphalt pavement from 30 km/h, (d) wet asphalt pavement from 50 km/h, (e) dry concrete pavement from 30 km/h, (f) wet concrete pavement from 30 km/h.
Table 1. Parameters of the braking process on a dry asphalt pavement from 30 km/h.
Table 2. Parameters of the progress of braking on a dry asphalt pavement from 50 km/h.
Table 3. Parameters of the braking process on a wet asphalt pavement from 30 km/h.
Table 4. Parameters of the braking process on a wet asphalt pavement from 50 km/h.
Table 5. Parameters of the braking process on a dry concrete pavement from 30 km/h.
Table 6. Parameters of the braking process on a wet concrete pavement from 30 km/h.
An initial analysis of the above charts suggests that there was a close similarity in terms of the quality and quantity between the values of deceleration recorded during the individual measurement series. The effect of the activation of the ABS system and body sway is clearly visible on all charts.
For each of the performed braking tests, the mean fully developed deceleration (MFDD) was calculated in accordance with the recommendations of Regulation 13 of the United Nations Economic Commission for Europe. The mean fully developed deceleration (MFDD) is the average deceleration over a distance in the speed range between Vb and Ve and can be calculated on the basis of correlation No. 2 [39,40]:
M F D D = V b 2 V e 2 25.92 ( S e S b )
where Vo—the initial speed of vehicle (km/h)–, Vb—the speed of vehicle corresponding to 0.8 Vo (km/h)–, Ve—the speed of vehicle corresponding to 0.1 Vo (km/h), Sb—the distance travelled between Vo and Vb (m), and Se—the distance travelled between Vo and Ve (m).
For the purposes of this research, the mean fully developed deceleration during braking was determined on the basis of the following correlation:
MFDD = a ¯ s b s e
where a ¯ s b s e —the mean braking deceleration value, registered with an acceleration sensor during the time of travel of the test vehicle from Sb to Se in m/s2.
The registered values of actual initial speeds and maximum decelerations, as well as the results of the calculation of the mean fully developed deceleration, are listed in Table 1, Table 2, Table 3, Table 4, Table 5 and Table 6.
During the next phase of analysis, the value of mean fully developed deceleration (MFDD) was determined for each of the braking tests. On the basis of these, the following values were calculated for each series consisting of 10 braking tests: the highest (MFDDmax) and lowest (MFDDmin) fully developed deceleration (MFDD) and its average value ( MFDD ¯ ) . The results have been listed in Table 7.
Table 7. List of mean fully developed braking deceleration (MFDD) values.
The analysis of the MFDD values in Table 8 suggests that:
Table 8. List of C x coefficient values established for maximum deceleration values.
The highest values of ( MFDD ¯ ) for the tested vehicles were recorded during the series of braking tests performed on dry asphalt pavement with an initial speed of approximately 50 km/h.
The values of ( MFDD ¯ )   recorded for the category N1 vehicle were much higher than the values of MFDD ¯ recorded for acceleration values registered during tests carried out using the category N3 vehicle.
For the N1 category vehicle, the highest value ( MFDD ¯ ) was determined during tests on dry asphalt pavement and was 9.52 m/s2, which was over 18% higher than the value of ( MFDD ¯ ) recorded for the series of braking tests performed on wet concrete pavement with an initial speed of approximately 30 km/h.
For the N3 category vehicle, the highest value ( MFDD ¯ ) determined for dry asphalt pavement was 7.31 m/s2, which was over 51% higher than the value of ( MFDD ¯ ) recorded for the series of braking tests performed on wet concrete pavement with an initial speed of approximately 30 km/h.
A series of tests on the parameters of sudden braking of trucks (category N3) on dry, wet drying, and wet asphalt pavement was also carried out by Janczur R. and Zawalańczyk J. [41]. The authors reported MFDD values in the range from 5.23 m/s2 to 8.82 m/s2. The lowest values of MFDD were obtained in tests carried out on a drying wet pavement. The initial speed of the test vehicle in these tests was 59.1–64.4 km/h. They conducted one series of tests on a dry asphalt pavement from an initial speed of 48.8 km/h to 50.9 km/h. The average MFDD for these tests was 8.64 m/s2, which was 18 % higher than the average MFDD obtained by the authors of this study in tests conducted for dry asphalt pavement from an initial speed of 48.56 to 56.25 km/h. Considering that the braking tests were conducted for different vehicles and for different measuring sections, the difference of 18% should be considered small.
With the consideration of correlation (4), the values of maximum deceleration, and the values of mean fully developed deceleration, the following values were calculated for each series consisting of 10 braking tests: the highest ( C x   max ) and the lowest ( C x   min ) Cx coefficient value and its average value C ¯ x . The results of these calculations are listed in Table 8 and Table 9 and shown in Figure 6, Figure 7, Figure 8 and Figure 9.
Table 9. List of C x coefficient values established for fully developed deceleration values.
Figure 6. Average values of coefficient Cx established for maximum deceleration values registered during braking tests with an initial speed of 30 km/h.
Figure 7. Average values of coefficient C x established for maximum acceleration values registered during braking tests with an initial speed of 50 km/h.
Figure 8. Average values of coefficient C x established for fully developed deceleration values during braking tests performed with an initial speed of 30 km/h.
Figure 9. Average values of coefficient C x established for fully developed deceleration values during braking tests performed with an initial speed of 50 km/h.

4. Discussion

The values of C ¯ x established for maximum deceleration values were in the range between 0.68 and 1.14. The highest values of C ¯ x were recorded for the series of braking tests performed on dry concrete pavement with an initial speed of approximately 30 km/h, whereas the lowest values were recorded for the series of braking tests performed on wet concrete pavement with an initial speed of approximately 30 km/h. The values of C ¯ x recorded for the category N1 vehicle were higher than the values of C ¯ x recorded for the category N3 vehicle. In the case of the N1 category vehicle, the highest value of C ¯ x at 1.14 was recorded during braking tests performed on dry concrete pavement with an initial speed of about 30 km/h and was 14% higher than the value of C ¯ x recorded during braking tests performed with the same initial speed but on wet concrete pavement. In the case of the N3 category vehicle, the highest value of C ¯ x at 0.99 was recorded during braking tests performed on wet asphalt pavement with an initial speed of about 50 km/h and was 25% higher than the value of C ¯ x recorded during braking tests performed on wet concrete pavement with an initial speed of about 30 km/h.
The authors are aware that basing on the extreme values of the deceleration run is subject to great uncertainty due to the lack of complete knowledge regarding, among other factors, body vibration, road wheel vibration, varying tire stiffness and ground interaction conditions, ABS operation, etc. [42,43,44] (these parameters were not recorded), so the results of the analysis of the fully developed deceleration MFDD ¯ waveform are also presented.
An analysis of the values listed in Table 9 reveals that the values of C ¯ x established on the basis of MFDD ¯ were within the range between 0.49 and 0.97 and were much lower than the values of C ¯ x established for maximum deceleration values (Table 8). For MFDD ¯ , the highest values of C ¯ x were recorded for the series of braking tests performed on dry concrete pavement with an initial speed of approximately 30 km/h and for tests on dry asphalt pavement with an initial speed of approximately 50 km/h, whereas the lowest values were recorded for the series of braking tests performed on wet concrete pavement with an initial speed of approximately 30 km/h. The values of C ¯ x recorded for the category N1 vehicle were higher than the values of C ¯ x recorded for the category N3 vehicle. In the case of the N1 category vehicle, the highest value of C ¯ x at 0.97 was recorded during braking tests performed on dry pavements and was over 18% higher than the value of C ¯ x recorded during braking tests performed on wet concrete pavement with an initial speed of 30 km/h. In the case of the N3 category vehicle, the highest value of C ¯ x at 0.75 was recorded during braking tests performed on dry asphalt pavement with an initial speed of about 50 km/h and was 53% higher than the value of C ¯ x recorded during the braking tests performed on wet concrete pavement with an initial speed of about 30 km/h. The average C x values established on the basis of MFDD were in the range between 0.49 and 0.97. In half of the cases, they exceeded the standardized value of the C x coefficient of 0.8.
The research revealed the inadequacies of the European Standard EN 12195-1:2010. This standard applies only to trucks and omits commercial vehicles. The authors showed that delivery trucks behaved differently than trucks during braking. A review of the literature shows that the vast majority of publications on the safety of cargo transportation refer to transportation that is carried out by vehicles of category N3. In order to better understand the issue, it is desirable to conduct tests on a larger number of vehicles. The selection of vehicles for testing should take into account the dimensions of the vehicles and the design of the braking systems. The results of the tests may contribute to changes in European Standard 12195-1:2010, which may reduce the number of traffic incidents caused by improper cargo securing.

5. Conclusions

The authors have identified cases in which the limiting value of the vehicle’s acceleration in the longitudinal direction was greater than that specified in EN 12195-1:2010.
Detailed analysis of the results of rapid braking road tests performed with the use of a truck (semi-trailer vehicle) and a delivery van leads to the following conclusions:
C x coefficient values established for the truck were favourable because they did not exceed the standardized value. Lashing equipment selected on this basis will exclude the possibility of the load shifting during sudden braking.
The situation was opposite in the case of the delivery van. C x values established for this vehicle exceeded 0.8. The actual values of forces acting on the cargo during rapid braking will be therefore much higher than forces determined by the normalized value of C x .
The test results presented in this paper demonstrate the importance of information about the vehicle transporting the cargo and about the type and technical condition of the road surface along the freight route in the context of the safe transportation of the cargo. Compliance with recommendations presented in standard EN 12195-1:2010 is not appropriate, as demonstrated during the performed experiments. The failure to take into account the vehicle category, or the type and technical condition of the road surface, during the process of selection of the methodology and equipment for securing cargo may cause the cargo shifting and, consequently, may cause even traffic incidents.

Author Contributions

Conceptualization, A.Z., J.T.J. and D.K.; methodology, A.Z., J.T.J. and D.K.; software, A.Z.; validation, A.Z. and D.K.; formal analysis, A.Z.; investigation, A.Z., J.T.J. and D.K.; resources, A.Z.; data curation, A.Z.; writing—original draft preparation, A.Z.; writing—review and editing, A.Z., D.K. and J.T.J.; visualization, A.Z. and D.K.; supervision, D.K. and J.T.J. All authors have read and agreed to the published version of the manuscript.

Funding

The research was funded by the National Centre for Research and Development, grant number POIR.04.01.04-00-0004/19-00.

Institutional Review Board Statement

Not applicable.

Data Availability Statement

Not applicable.

Conflicts of Interest

The authors declare no conflict of interest.

References

  1. European Commission. Traffic Safety Basic Facts 2018. Available online: https://road-safety.transport.ec.europa.eu/system/files/2021-07/bfs20xx_cyclists.pdf (accessed on 21 March 2022).
  2. European Best Practice Guidelines on Cargo Securing for Road Transport. European Commission Directorate—General for Energy and Transport. 2002. Available online: https://s3.eu-north-1.amazonaws.com/pre2021.osh.lv/wp-content/uploads/2009/09/cargo_securing_guidelines_en1.pdf (accessed on 21 March 2022).
  3. Driver’s Handbook on Cargo Securement—A Guide to the North American Cargo Securement Standard. 2003. Available online: https://static1.squarespace.com/static/58530c911b631b89245744ab/t/629a6af48fdad44c90828ed7/1654287095354/Drivers+Handbook+on+Cargo+Securement.pdf (accessed on 21 March 2022).
  4. Vlkovský, M.; Veselík, P. Cargo Securing—Comparison of Different Quality Roads. Acta Univ. Agric. Silvic. Mendel. Brun. 2019, 67, 1015–1023. [Google Scholar] [CrossRef]
  5. EN 12195-1:2003; Load Restraint Assemblies on Road Vehicles—Safety—Part 1: Calculation of Lashing Forces. CEN: Bruxelles, Belgium, 2003.
  6. EN 12195-1:2010; Load Restraining on Road Vehicles—Safety—Part 1: Calculation of Securing Forces. CEN: Bruxelles, Belgium, 2010.
  7. IMO/ILO/UNECE Code of Practice for Packing of Cargo Transport Units (CTU Code) 2014. Available online: https://unece.org/fileadmin/DAM/trans/doc/2014/wp24/CTU_Code_January_2014.pdf (accessed on 28 March 2022).
  8. Directive 2014/47/EU of the European Parliament and of the Council of 3 April 2014 on the Technical Roadside Inspection of the Roadworthiness of Commercial Vehicles Circulating in the Union and Repealing Directive 2000/30/EC Text with EEA Relevance. Available online: https://eur-lex.europa.eu/legal-content/EN/TXT/PDF/?uri=CELEX:32014L0047&from=EN (accessed on 28 March 2022).
  9. Rozporządzenie Ministra Infrastruktury z Dnia 25 Stycznia 2018 r. w sprawie Sposobu Przewozu Ładunku. Available online: https://isap.sejm.gov.pl/isap.nsf/download.xsp/WDU20180000361/O/D20180361.pdf (accessed on 28 March 2022).
  10. Agreement Concerning the International Carriage of Dangerous Goods by Road, UN/ECE, Geneve. 2021. Available online: https://unece.org/transportdangerous-goods/adr-2021-files (accessed on 28 March 2022).
  11. Zong, C.; Zhang, H.; Huang, C. Research on the Influence of Cargo Securing Force with Typical Road Alignments and Vehicle Working Conditions. In Proceedings of the 4th International Conference on Transportation Information and Safety (ICTIS), Banff, AB, Canada, 8–10 August 2017; Institute of Electrical and Electronics Engineers: Banff, AB, Canada, 2017; pp. 27–32. [Google Scholar] [CrossRef]
  12. Neumann, V. Possibilities of Vehicle Movement Evaluation. In Proceedings of the 19th International Scientific Conference on Transport Means, Kaunas, Lithuania, 22–23 October 2015; pp. 177–180. [Google Scholar]
  13. Stokłosa, J.; Koszałka, G.; Gil, L. Analysis of forces In elements used for fastening loads on Road vehicles. Adv. Sci. Technol. 2012, 12, 94–100. [Google Scholar]
  14. Zamecnik, J.; Jagelcak, J.; Sokjer-Peterssen, S.; Hvojnik, T.; Lipka, M. Influence of a Lashing Strap Winding in Tensioning Ratchet on the Results of the Strength Tests and Cyclic Loading Tests According to the Standard EN 12195-2. Communications 2017, 19, 10–17. [Google Scholar] [CrossRef]
  15. Jagelčák, J. Equation of the Standard EN 12195-1 Stipulates Unreasonable Demands for Cargo Securing. Communications 2007, 9, 30–33. [Google Scholar] [CrossRef]
  16. Vlkovsky, M.; Binar, T.; Svarc, J.; Nemec, P.; Bucsuhazy, B. Impact of shocks on cargo securing during the road transport. IOP Conf. Ser. Mater. Sci. Eng. 2019, 603, 032045. [Google Scholar] [CrossRef]
  17. Vlkovský, M.; Neubauer, J.; Malíšek, J.; Michálek, J. Improvement of Road Safety through Appropriate Cargo Securing Using Outliers. Sustainability 2021, 13, 2688. [Google Scholar] [CrossRef]
  18. Vlkovsky, M.; Smerek, M.; Michalek, J. Cargo Securing During Transport Depending on the Type of the Road. IOP Conf. Series: Mater. Sci. Eng. 2017, 245, 042001. [Google Scholar] [CrossRef]
  19. Vlkovský, M.; Ivanuša, T.; Neumann, V.; Foltin, P.; Vlachová, H. Optimizating cargo security during transport using dataloggers. J. Transp. Secur. 2017, 10, 63–71. [Google Scholar] [CrossRef]
  20. Vlkovsky, M.; Pochobradska, K.; Foltin, P. The cargo securing based on european standards and its applicability in off-road transport conditions. In Proceedings of the 3rd International Conference on Traffic and Transport Engineering—Proceedings of Conference, Belgrade, Serbia, 24–25 November 2016; pp. 603–607, ISSN 978-86-916153-3-8. [Google Scholar]
  21. Vlkovsky, M.; Rak, L.; Taksás, B. Cargo Securing During Transportation—Using Extreme Values. In Proceedings of the International Conference Knowledge-Based Organization, Sibiu, Romania, 15–17 June 2017; Volume XXIII. [Google Scholar] [CrossRef]
  22. Gnap, J.; Jagelčák, J.; Marienka, P.; Frančák, M.; Kostrzewski, M. Application of MEMS sensors for evaluation of the dynamics for cargo securing on road vehicles. Sensors 2021, 21, 2881. [Google Scholar] [CrossRef] [PubMed]
  23. Vrabel, J.; Jagelcak, J.; Zamecnik, J.; Caban, J. Influence of Emergency Braking on Changes of the Axle Load of Vehicles Transporting Solid Bulk Substrates. Procedia Eng. 2017, 187, 89–99. [Google Scholar] [CrossRef]
  24. Skrucany, T.; Vrabel, J.; Kazimir, P. The influence of the cargo weight and its position on the braking characteristics of light commercial vehicles. Open Eng. 2020, 10, 154–165. [Google Scholar] [CrossRef]
  25. Skrucany, T.; Vrabel, J.; Kendra, M.; Kazimir, P. Impact of cargo distribution on the vehicle flatback on braking distance in road freight transport. In Proceedings of the 18th International Scientific Conference-Logi 2017, Ceske Budejovice, Czech Republic, 19 October 2017; Volume 134, p. 00054. [Google Scholar] [CrossRef]
  26. Li, W.L.; Cao, C.; Zhou, W.; Gao, L. Influences of initial braking velocity and passenger capacity on Mean Fully Developed Deceleration. Appl. Mech. Mater. 2013, 281, 201–205. [Google Scholar] [CrossRef]
  27. Daniel LA, Z.E.; Achimaş, G.; Zelea, I.T. Analysis of truck braking system in terms of construction and operation. Acta Tech. Napoc. Ser.—Aplied Math. Mech. Eng. 2016, 59, 209–218. [Google Scholar]
  28. Rievaj, V.; Vrábel, J.; Hudák, A. Tire inflation pressure influence on a vehicle stopping distances. Int. J. Traffic Transp. Eng. 2013, 2, 9–13. [Google Scholar] [CrossRef]
  29. Rievaj, V.; Mokričková, L.; Synák, F. Temperature of the brakes and the braking force. Transp. Commun. Sci. J. 2017, 5, 13–16. [Google Scholar] [CrossRef]
  30. García-León, R.A.; Afanador-García, N.; Gómez-Camperos, J.A. Mechanical and Dynamic Maps of Disc Brakes under Different Operating Conditions. Fluids 2021, 6, 363. [Google Scholar] [CrossRef]
  31. Jurecki, R.; Stanczyk, T. A Methodology for Evaluating Driving Styles in Various Road Conditions. Energies 2021, 14, 3570. [Google Scholar] [CrossRef]
  32. Szumska, E.; Jurecki, R. The Effect of Aggressive Driving on Vehicle Parameters. Energies 2020, 13, 6675. [Google Scholar] [CrossRef]
  33. Guo, J.; Wang, Y.; Yin, X.; Liu, P.; Hou, Z.; Zhao, D. Study on the Control Algorithm of Automatic Emergency Braking System (AEBS) for Commercial Vehicle Based on Identification of Driving Condition. Machines 2022, 10, 895. [Google Scholar] [CrossRef]
  34. Regulation (EU) 2018/858 Of The European Parliament And Of The Council of 30 May 2018 on the Approval and Market Surveillance of Motor Vehicles and Their Trailers, and of Systems, Components and Separate Technical Units Intended for Such Vehicles, Amending Regulations (EC) No 715/2007 and (EC) No 595/2009 and Repealing Directive 2007/46/EC. Available online: https://eur-lex.europa.eu/legal-content/EN/TXT/?uri=CELEX:32018R0858 (accessed on 21 March 2022).
  35. Correvit® S-350 Non-Contact Optical Sensors, Type CS350A.Kistler Patent No. DE 43 13 497 C2. Available online: https://www.kistler.com/files/document/000-807e.pdf (accessed on 14 March 2022).
  36. Kistler. Acceleration Modules SAA (1-axis), daa (2-axis), TAA (3-axis), Type KCD15760, KCD15951, KCD15911. Available online: https://www.kistler.com/files/document/000-913e.pdf?callee=frontend (accessed on 14 March 2022).
  37. Kistler. μEEP-12 Data Acquisition and Evaluation Typ CMEP1A. Available online: https://www.techtarget.com.br/site/wp-content/uploads/2016/09/CMEP12A_000-819e.pdf (accessed on 14 March 2022).
  38. Gajek, A.; Walczak, S. Analysis of the possibility of assessing the coefficient of adhesion between the wheel and the roadway during straight-line braking. Archiwum Motoryzacji 2006, 2, 81–92. [Google Scholar]
  39. Regulation No 13 of the Economic Commission for Europe of the United Nations (UN/ECE)—Uniform Provisions Concerning the Approval of Vehicles of Categories M, N and O with Regard to Braking [2016/194]. Available online: https://eur-lex.europa.eu/legal-content/GA/TXT/?uri=CELEX:42016X0218 (accessed on 20 January 2021).
  40. Inventure XL Meter Pro Gama User’s Manual. Available online: https://manualzz.com/doc/6694857/xl-meter-pro (accessed on 20 January 2021).
  41. Janczur, R.; Zawałeń, J. Braking parameters of trucks and buses in the reconstruction and analysis of road accidents. In Proceedings of the XVII Conference Problems of Reconstruction of Road Accidents, Zakopane, Poland, 20–21 September 2021; pp. 105–120. [Google Scholar]
  42. Jackowski, J.; Levulyte, L.; Wieczorek, M.; Żmuda, M. Research of influence of obstacles shape on the radial characteristics of the pneumatic wheel. Transp. Means—Proc. Int. Conf. 2018, 22, 1110–1116. [Google Scholar]
  43. Bonera, E.; Gadola, M.; Chindamo, D.; Morbioli, S.; Magri, P. On the Influence of Suspension Geometry on Steering Feedback. Appl. Sci. 2020, 10, 4297. [Google Scholar] [CrossRef]
  44. Acosta, M.; Kanarachos, S.; Blundell, M. Road Friction Virtual Sensing: A Review of Estimation Techniques with Emphasis on Low Excitation Approaches. Appl. Sci. 2017, 7, 1230. [Google Scholar] [CrossRef]
Disclaimer/Publisher’s Note: The statements, opinions and data contained in all publications are solely those of the individual author(s) and contributor(s) and not of MDPI and/or the editor(s). MDPI and/or the editor(s) disclaim responsibility for any injury to people or property resulting from any ideas, methods, instructions or products referred to in the content.

Article Metrics

Citations

Article Access Statistics

Multiple requests from the same IP address are counted as one view.