A Method for Precise Tracking Control of Pneumatic Artificial-Muscle-Driven Exoskeletal Robot
Abstract
:1. Introduction
2. Pneumatic-Muscle-Driven Upper Limb Exoskeletal Robot System
2.1. PAM Driver
2.1.1. PAM Output Force Model
2.1.2. Inverse Model of PAM Output Force
- Initialize the weighting factor: randomly assign factors in the network vki (0) and wjk (0)
- Output of the calculated sample data is given, employing the initialized values determined in step 1. The neural network will then give outputs for every neuron. The output of the hidden Layer is:
- 3.
- Then, errors are calculated reversely: According to the expected output and the actual output of all neurons from the given sample data, the errors of all neurons can be calculated in reverse with the result. The input error is:
- 4.
- The correction coefficient: According to the principle of the gradient drop of the error, the weighting factor, previously assigned in step 1, will be corrected layer by layer; the correction coefficient for the weighting factor is:
- 5.
- Loop condition and Termination: If the errors do not fulfill the expectation, then the calculation will enter a loop by jumping to step 2. If expectations are met, then the iteration will be terminated, and the final weighting factor and errors during training are recorded.
2.2. Flexible Upper Limb Exoskeletal Robot
3. The Tracking Control System of the Flexible Upper Limb Exoskeletal Robot during the Lifting Process
3.1. Handling of Variable Load by Upper Limb Exoskeleton
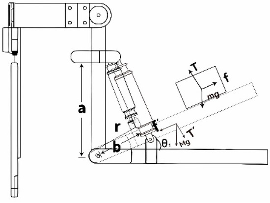
3.2. Kinematic and Dynamic Analysis of Upper Limb Exoskeleton during Lifting Process
3.3. Establishment of Control Law for Upper Limb Exoskeleton
3.4. Control System of Upper Limb Exoskeleton Handling Process
4. Results and Discussion
4.1. Model Accuracy Evaluation Method
4.2. Discussion of Intermediate Variables in the Process of Upper Limb Exoskeleton Transportation
4.3. Analysis of Trajectory Tracking Results
5. Conclusions
Author Contributions
Funding
Institutional Review Board Statement
Informed Consent Statement
Data Availability Statement
Conflicts of Interest
References
- Chen, L.; Zhang, C.; Song, X.; Zhang, T.; Liu, X.; Yang, Z. Construction and analysis of muscle functional network for exoskeleton robot. J. Biomed. Eng. 2019, 36, 565–572. [Google Scholar]
- Zheng, J.; Shi, P.; Yu, H. A virtual reality rehabilitation training system based on upper limb exoskeleton robot. In Proceedings of the 2018 10th International Conference on Intelligent Human-Machine Systems and Cybernetics (IHMSC), Hangzhou, China 25–26 August 2018; Volume 1, pp. 220–223. [Google Scholar]
- Li, N.; Yu, P.; Yang, T.; Zhao, L.; Liu, Z.; Xi, N.; Liu, L. Bio-inspired wearable soft upper-limb exoskeleton robot for stroke survivors. In Proceedings of the 2017 IEEE International Conference on Robotics and Biomimetics (ROBIO), Macau, China, 5–8 December 2017; pp. 2693–2698. [Google Scholar]
- Ren, J.-L.; Chien, Y.-H.; Chia, E.-Y.; Fu, L.-C.; Lai, J.-S. Deep learning based motion prediction for exoskeleton robot control in upper limb rehabilitation. In Proceedings of the 2019 International Conference on Robotics and Automation (ICRA), Montreal, QC, Canada, 20–24 May 2019; pp. 5076–5082. [Google Scholar]
- Li, Z.; Dai, Y.; Hu, J.; Wang, J.; Tang, P. Design and analysis of joint-assisted exoskeleton control system of upper limb in active spacesuit. In Proceedings of the 2020 39th Chinese Control Conference (CCC), Shengyang, China, 27–29 July 2020; pp. 3707–3712. [Google Scholar]
- Wu, Q.; Wu, H. Development, dynamic modeling, and multi-modal control of a therapeutic exoskeleton for upper limb rehabilitation training. Sensors 2018, 18, 3611. [Google Scholar] [CrossRef] [PubMed]
- Hall, S.J. Basic Biomechanics, 6th ed.; Johonson, C., Hash, D.B., Eds.; McGraw Hill: New York, NY, USA, 2011. [Google Scholar]
- Sylla, N.; Bonnet, V.; Colledani, F.; Fraisse, P. Ergonomic contribution of ABLE exoskeleton in automotive industry. Int. J. Ind. Ergon. 2014, 44, 475–481. [Google Scholar] [CrossRef]
- Iqbal, J.; Tsagarakis, N.G.; Caldwell, D.G. A human hand compatible optimized exoskeleton system. In Proceedings of the 2010 IEEE International Conference on Robotics and Biomimetics, Tianjin, China, 14–18 December 2010; pp. 685–690. [Google Scholar]
- Moubarak, S.; Pham, M.T.; Pajdla, T.; Redarce, T. Design and modeling of an upper extremity exoskeleton. In Proceedings of the World Congress on Medical Physics and Biomedical Engineering, Munich, Germany, 7–12 September 2009; Volume 25/9 Neuroengineering, Neural Systems, Rehabilitation and Prosthetics. Springer: Berlin/Heidelberg, Germany, 2009; pp. 476–479. [Google Scholar]
- Gopura, R.; Kiguchi, K.; Bandara, D.S.V. A brief review on upper extremity robotic exoskeleton systems. In Proceedings of the 2011 6th international Conference on Industrial and Information Systems, Kandy, Sri Lanka, 16–19 August 2011; pp. 346–351. [Google Scholar]
- Daerden, F.; Lefeber, D. Pneumatic artificial muscles: Actuators for robotics and automation. Eur. J. Mech. Environ. Eng. 2002, 47, 11–21. [Google Scholar]
- Xu, M.; Su, L.; Chen, S. Improved PI hysteresis model with one-sided dead-zone operator for soft joint actuator. Sens. Actuators A Phys. 2023, 349, 114072. [Google Scholar] [CrossRef]
- Abbasi, P.; Nekoui, M.A.; Zareinejad, M.; Abbasi, P.; Azhang, Z. Position and force control of a soft pneumatic actuator. Soft Robot. 2020, 7, 550–563. [Google Scholar] [CrossRef] [PubMed]
- Zhou, D.; Liu, Y.; Deng, J.; Chen, W.; Sun, J.; Fu, Y. Designing and Modeling of Tightly Wrapped Twisted Artificial Muscles with Large Stroke and Low Hysteresis. IEEE Trans. Ind. Electron. 2022, 69, 10374–10384. [Google Scholar] [CrossRef]
- Han, S.; Kim, T.; Kim, D.; Park, Y.-L.; Jo, S. Use of deep learning for characterization of microfluidic soft sensors. IEEE Robot. Autom. Lett. 2018, 3, 873–880. [Google Scholar] [CrossRef]
- Yu, H.; Choi, I.S.; Han, K.L.; Choi, J.Y.; Chung, G.; Suh, J. Development of a upper-limb exoskeleton robot for refractory construction. Control Eng. Pract. 2018, 72, 104–113. [Google Scholar] [CrossRef]
- Chen, C.-T.; Lien, W.-Y.; Chen, C.-T.; Wu, Y.-C. Implementation of an upper-limb exoskeleton robot driven by pneumatic muscle actuators for rehabilitation. Actuators 2020, 9, 106. [Google Scholar] [CrossRef]
- Proietti, T.; O’Neill, C.; Hohimer, C.J.; Nuckols, K.; Clarke, M.E.; Zhou, Y.M.; Lin, D.J.; Walsh, C.J. Sensing and control of a multi-joint soft wearable robot for upper-limb assistance and rehabilitation. IEEE Robot. Autom. Lett. 2021, 6, 2381–2388. [Google Scholar] [CrossRef]
- Chiou, S.-J.; Chu, H.-R.; Li, I.-H.; Lee, L.-W. A Novel Wearable Upper-Limb Rehabilitation Assistance Exoskeleton System Driven by Fluidic Muscle Actuators. Electronics 2022, 12, 196. [Google Scholar] [CrossRef]
- Chou, C.P.; Hannaford, B. Measurement and modeling of McKibben pneumatic artificial muscles. IEEE Trans. Robot. Autom. 1996, 12, 90–102. [Google Scholar] [CrossRef]
- Davis, S.; Caldwell, D.G. Braid effects on contractile range and friction modeling in pneumatic muscle actuators. Int. J. Robot. Res. 2006, 25, 359–369. [Google Scholar] [CrossRef]
- Luigi, F.; Frasca, M.; Buscarino, A. Optimal and Robust Control: Advanced Topics with MATLAB; CRC Press: Boca Raton, FL, USA, 2021. [Google Scholar]
















| Parameter | a (m) | b (m) | m (kg) | ZZ (kg·m2) |
|---|---|---|---|---|
| Value | 0.165 | 0.21 | 5 | 0.05 |
| MAX | MAE | RMSE | ITAE | |
|---|---|---|---|---|
| Angle | 0.0175 | 0.0038 | 0.0048 | 4.6426 |
| Angular velocity | 0.0031 | 0.0012 | 0.0013 | 1.4645 |
| Angular acceleration | 0.0049 | 0.0018 | 0.0021 | 2.2687 |
Disclaimer/Publisher’s Note: The statements, opinions and data contained in all publications are solely those of the individual author(s) and contributor(s) and not of MDPI and/or the editor(s). MDPI and/or the editor(s) disclaim responsibility for any injury to people or property resulting from any ideas, methods, instructions or products referred to in the content. |
© 2023 by the authors. Licensee MDPI, Basel, Switzerland. This article is an open access article distributed under the terms and conditions of the Creative Commons Attribution (CC BY) license (https://creativecommons.org/licenses/by/4.0/).
Share and Cite
Ma, G.; Jia, H.; Xiao, J.; Hao, L. A Method for Precise Tracking Control of Pneumatic Artificial-Muscle-Driven Exoskeletal Robot. Appl. Sci. 2023, 13, 12038. https://doi.org/10.3390/app132112038
Ma G, Jia H, Xiao J, Hao L. A Method for Precise Tracking Control of Pneumatic Artificial-Muscle-Driven Exoskeletal Robot. Applied Sciences. 2023; 13(21):12038. https://doi.org/10.3390/app132112038
Chicago/Turabian StyleMa, Gaoke, Hongyun Jia, Jichun Xiao, and Lina Hao. 2023. "A Method for Precise Tracking Control of Pneumatic Artificial-Muscle-Driven Exoskeletal Robot" Applied Sciences 13, no. 21: 12038. https://doi.org/10.3390/app132112038
APA StyleMa, G., Jia, H., Xiao, J., & Hao, L. (2023). A Method for Precise Tracking Control of Pneumatic Artificial-Muscle-Driven Exoskeletal Robot. Applied Sciences, 13(21), 12038. https://doi.org/10.3390/app132112038
