Tolerance Synthesis of Delta-like Parallel Robots Using a Nonlinear Optimisation Method
Abstract
:1. Introduction
2. Materials and Methods
2.1. Modelling the Delta Parallel Robot
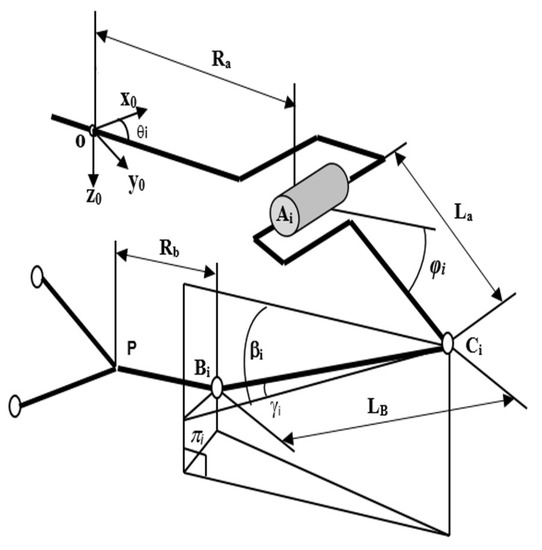
2.1.1. Geometric Description
2.1.2. Kinematic Equations
2.2. Modelling of Geometric Errors
2.3. Proposed Tolerance Synthesis Method
- Calculate the values of the active joints and passive joints for different configurations , by solving the inverse kinematic model Equation (3), leading to:
- Formulate the following optimisation problem to find the geometric tolerances of the robot:Subject to:where are the tolerance intervals of the ith linear parameter; are the tolerance intervals of the jth angular parameter; and , , , and are the minimum and maximum dimensional tolerances tolerated for and , respectively. This nonlinear optimisation problem can be solved using several methods, such as the ”interior-point” method, SQP (sequential quadratic programming), active set, GA (genetic algorithm), etc.
- The tolerance of the dimensional parameters is chosen after solving the optimisation problem (12) for different configurations of the robot. Figure 4 illustrates the preferred tolerance range of the different dimensional parameters.
3. Results
3.1. Tolerance Synthesis of the Delta Parallel Robot
3.2. Flow Diagram
4. Discussion
4.1. Verification of the Accuracy of the Proposed Method
- Case 1: The geometric tolerance of each parameter is equal to the upper limit of its tolerance interval (the green curve in Figure 7);
- Case 2: The geometric tolerance of each parameter is equal to the lower limit of its tolerance interval (the blue curve in Figure 7);
- Case 3: The geometric tolerance of each linear parameter is equal to the upper limit of its tolerance interval, while the geometric tolerance of each angular parameter is equal to the lower limit of its tolerance interval (the black curve in Figure 7);
- Case 4: The geometric tolerance of each linear parameter is equal to the lower limit of its tolerance interval, while the geometric tolerance of each angular parameter is equal to the upper limit of its tolerance interval (the red curve in Figure 7).
4.2. Effect of Geometric Tolerances on Robot Repeatability
4.3. Impact of the Proposed Method on the Robust Design of the Delta Robot
5. Conclusions
Author Contributions
Funding
Institutional Review Board Statement
Informed Consent Statement
Data Availability Statement
Acknowledgments
Conflicts of Interest
Appendix A
| Point: (mm) | Point: (mm) | |||||||||||
| Parameter | 1 | 2 | 3 | 4 | 5 | 6 | 1 | 2 | 3 | 4 | 5 | 6 |
| 0.2 | 0 | −0.2 | 0 | 0 | 0 | 0.2 | 0 | −0.2 | 0 | 0 | 0 | |
| 0 | 0.2 | 0 | −0.2 | 0 | 0 | 0 | 0.2 | 0 | −0.2 | 0 | 0 | |
| 250 | 250 | 250 | 250 | 250.2 | 249.8 | 500 | 500 | 500 | 500 | 500.2 | 499.8 | |
| 0.0095 | −0.00973 | 0.00997 | −0.01266 | 0.01388 | −0.01388 | 0.01218 | −0.01196 | 0.01199 | 0.01015 | −0.01007 | 0.00998 | |
| −0.00958 | 0.01151 | 0.01104 | −0.00979 | 0.00967 | −0.00972 | −0.01226 | 0.01202 | 0.01289 | −0.01196 | 0.01006 | −0.01000 | |
| −0.01389 | 0.01181 | 0.01173 | 0.01185 | 0.01169 | −0.01176 | −0.01256 | 0.01233 | −0.01375 | 0.01203 | 0.01194 | −0.01188 | |
| 0.00958 | −0.01035 | −0.01181 | 0.01050 | −0.00982 | 0.00985 | 0.01259 | −0.01234 | 0.01249 | 0.01231 | 0.01250 | −0.01247 | |
| −0.00958 | 0.00971 | 0.01183 | −0.00987 | 0.00966 | −0.00971 | 0.01243 | −0.01233 | −0.01174 | −0.01130 | 0.01002 | −0.00995 | |
| 0.00105 | −0.01013 | −0.00345 | 0.00409 | −0.00521 | 0.00476 | 0.00968 | −0.01034 | −0.00308 | 0.00304 | −0.00499 | 0.00400 | |
| 0.00104 | 0.00919 | 0.00792 | 0.00765 | −0.00808 | 0.00812 | 0.00786 | 0.00775 | 0.00820 | 0.00750 | −0.00798 | 0.00804 | |
| 0.00104 | 0.01026 | 0.00799 | 0.00745 | −0.00831 | 0.00838 | 0.00786 | 0.00760 | −0.00717 | 0.00715 | −0.00810 | 0.00821 | |
| 0.00104 | 0.00919 | 0.00792 | 0.00765 | −0.00808 | 0.00812 | 0.00787 | 0.00773 | 0.00822 | 0.00747 | −0.00797 | 0.00803 | |
| −0.00574 | 0.00291 | −0.01047 | 0.01241 | 0.00113 | −0.00113 | −0.00931 | 0.00920 | 0.00820 | 0.01087 | 0.00115 | −0.00113 | |
| 0.00104 | −0.00122 | 0.00318 | −0.00825 | −0.00622 | 0.00622 | 0.00517 | −0.00744 | −0.00728 | −0.00910 | −0.00547 | 0.00539 | |
| 0.00104 | −0.00244 | 0.00232 | −0.00330 | −0.00231 | 0.00222 | 0.00530 | −0.00437 | 0.00289 | −0.00291 | −0.00346 | 0.00301 | |
| 0.00104 | −0.00351 | 0.00721 | 0.00573 | −0.00175 | 0.00165 | 0.00768 | −0.00777 | 0.00750 | 0.00788 | −0.00158 | 0.00207 | |
| 0.00104 | −0.00187 | 0.00713 | 0.00448 | −0.00154 | 0.00148 | 0.00748 | −0.00801 | 0.00797 | 0.00719 | −0.00107 | 0.00156 | |
| 0.00104 | −0.00244 | 0.00232 | −0.00330 | −0.00231 | 0.00221 | 0.00531 | −0.00438 | 0.00290 | −0.00291 | −0.00346 | 0.00299 | |
| 0.00104 | −0.00351 | 0.00721 | 0.00573 | −0.00175 | 0.00165 | 0.00769 | −0.00779 | 0.00752 | 0.00786 | −0.00157 | 0.00206 | |
| 0.01300 | 0.00784 | 0.00786 | 0.00784 | 0.00783 | 0.00785 | 0.00788 | 0.00787 | 0.00788 | 0.00779 | 0.00784 | 0.00785 | |
| 0.01200 | −0.01202 | 0.01244 | −0.01203 | 0.01184 | −0.01193 | 0.01244 | −0.01232 | 0.01220 | −0.01177 | 0.01201 | −0.01196 | |
| −0.01036 | 0.01355 | 0.00999 | −0.01012 | −0.01093 | 0.01099 | −0.01219 | 0.01234 | 0.01235 | −0.01166 | 0.01212 | −0.01205 | |
| 0.00988 | 0.00958 | −0.00978 | 0.00952 | 0.01034 | −0.01039 | −0.01226 | 0.01208 | 0.01178 | −0.01023 | 0.01061 | −0.01052 | |
| 0.00497 | −0.00304 | 0.00192 | −0.00271 | −0.00951 | 0.00952 | 0.00207 | −0.00288 | 0.00166 | −0.00208 | −0.00806 | 0.00797 | |
| 0.01046 | 0.00781 | 0.00225 | 0.01000 | −0.00795 | 0.00797 | 0.00724 | 0.00812 | 0.00679 | 0.00843 | −0.00784 | 0.00785 | |
| 0.01146 | 0.00778 | 0.00163 | −0.00323 | −0.00806 | 0.00808 | 0.00658 | 0.00836 | 0.00573 | −0.00870 | −0.00782 | 0.00784 | |
| 0.01017 | 0.00781 | 0.00225 | 0.01000 | −0.00795 | 0.00797 | 0.00724 | 0.00812 | 0.00679 | 0.00845 | −0.00784 | 0.00785 | |
| 0.00236 | −0.01283 | −0.00606 | 0.00457 | 0.00195 | −0.00193 | 0.01005 | −0.01004 | −0.01039 | 0.01299 | 0.00143 | −0.00149 | |
| −0.00123 | 0.00337 | 0.00109 | −0.00118 | −0.00596 | 0.00595 | −0.00788 | 0.00552 | 0.00612 | −0.00758 | −0.00483 | 0.00488 | |
| −0.00194 | 0.00302 | −0.00208 | 0.00226 | −0.00320 | 0.00321 | −0.00208 | 0.00289 | −0.00166 | 0.00196 | −0.00510 | 0.00506 | |
| −0.00252 | 0.01156 | 0.00159 | −0.00340 | −0.00512 | 0.00505 | −0.00736 | 0.00754 | 0.00900 | −0.00970 | −0.00516 | 0.00510 | |
| −0.00180 | 0.01205 | 0.00124 | −0.00170 | −0.00452 | 0.00443 | −0.00824 | 0.00777 | 0.00806 | −0.01048 | −0.00340 | 0.00348 | |
| −0.00200 | 0.00303 | −0.00209 | 0.00226 | −0.00320 | 0.00321 | −0.00208 | 0.00288 | −0.00166 | 0.00194 | −0.00510 | 0.00505 | |
| −0.00244 | 0.01156 | 0.00159 | −0.00340 | −0.00512 | 0.00505 | −0.00736 | 0.00754 | 0.00900 | −0.00971 | −0.00516 | 0.00510 | |
| 0.00787 | 0.00783 | 0.00784 | 0.00784 | 0.00783 | 0.00785 | 0.00787 | 0.00788 | 0.00788 | 0.00791 | 0.00785 | 0.00785 | |
| −0.01211 | 0.01196 | 0.01193 | −0.01162 | 0.01169 | −0.01176 | −0.01244 | 0.01234 | 0.01297 | −0.01201 | 0.01194 | −0.01188 | |
| −0.01121 | 0.01050 | −0.01119 | 0.01019 | −0.00982 | 0.00985 | −0.01375 | 0.01239 | −0.01244 | 0.01209 | 0.01250 | −0.01248 | |
| 0.01037 | −0.00979 | 0.01045 | −0.00959 | 0.00966 | −0.00971 | −0.01192 | 0.01167 | −0.01153 | 0.01186 | 0.01003 | −0.00995 | |
| −0.00382 | 0.00347 | −0.00880 | 0.00743 | −0.00521 | 0.00476 | −0.00307 | 0.00261 | 0.00131 | −0.00198 | −0.00428 | 0.00354 | |
| 0.00948 | 0.00549 | 0.00870 | 0.00565 | −0.00808 | 0.00812 | 0.00819 | 0.00739 | 0.00580 | 0.00830 | −0.00797 | 0.00802 | |
| −0.00430 | 0.00384 | 0.00938 | 0.00388 | −0.00831 | 0.00838 | −0.00721 | 0.00690 | 0.00397 | 0.00873 | −0.00809 | 0.00819 | |
| 0.00945 | 0.00549 | 0.00870 | 0.00565 | −0.00808 | 0.00812 | 0.00819 | 0.00739 | 0.00580 | 0.00832 | −0.00797 | 0.00803 | |
| 0.00608 | −0.00782 | 0.00501 | −0.00836 | 0.00113 | −0.00113 | 0.01243 | −0.01231 | 0.01186 | −0.00863 | 0.00115 | −0.00113 | |
| −0.00149 | 0.00125 | −0.00160 | 0.00121 | −0.00622 | 0.00622 | −0.00827 | 0.00683 | −0.00837 | 0.00489 | −0.00547 | 0.00539 | |
| 0.00339 | −0.00304 | −0.00395 | 0.00446 | −0.00231 | 0.00222 | 0.00290 | −0.00251 | −0.00131 | 0.00197 | −0.00339 | 0.00301 | |
| −0.00467 | 0.00421 | −0.00517 | 0.00366 | −0.00175 | 0.00165 | −0.00884 | 0.00893 | −0.00620 | 0.00689 | −0.00156 | 0.00206 | |
| −0.00274 | 0.00204 | −0.00332 | 0.00189 | −0.00154 | 0.00148 | −0.00920 | 0.00910 | −0.00899 | 0.00726 | −0.00112 | 0.00156 | |
| 0.00339 | −0.00304 | −0.00395 | 0.00444 | −0.00231 | 0.00221 | 0.00290 | −0.00251 | −0.00131 | 0.00198 | −0.00339 | 0.00299 | |
| −0.00464 | 0.00421 | −0.00517 | 0.00366 | −0.00175 | 0.00165 | −0.00884 | 0.00893 | −0.00620 | 0.00690 | −0.00156 | 0.00206 | |
| .00785 | 0.00784 | 0.00786 | 0.00784 | 0.00783 | 0.00785 | 0.00788 | 0.00788 | 0.00787 | 0.00767 | 0.00784 | 0.00785 | |
| Point: (mm) | Point: (mm) | |||||||||||
| Parameter | 1 | 2 | 3 | 4 | 5 | 6 | 1 | 2 | 3 | 4 | 5 | 6 |
| 100.2 | 100 | −99.8 | 100 | 100 | 100 | 0.2 | 0 | −0.2 | 0 | 0 | 0 | |
| 0 | 0.2 | 0 | −0.2 | 0 | 0 | 0 | 100.2 | 100 | −99.8 | 100 | 100 | |
| 500 | 500 | 500 | 500 | 500.2 | 499.8 | 500 | 500 | 500 | 500 | 500.2 | 499.8 | |
| 0.00998 | −0.01034 | 0.01182 | −0.01211 | 0.01183 | −0.01183 | 0.01200 | −0.01106 | 0.01285 | −0.01316 | −0.01164 | 0.01164 | |
| −0.00998 | 0.01057 | −0.01183 | 0.01194 | 0.01089 | −0.01090 | −0.01217 | 0.01111 | −0.01269 | 0.01296 | −0.01294 | 0.01294 | |
| −0.01176 | 0.01138 | −0.01246 | 0.01228 | 0.01108 | −0.01107 | −0.01243 | 0.01161 | −0.01240 | 0.01239 | 0.01239 | −0.01239 | |
| 0.01067 | −0.01130 | 0.01229 | 0.01236 | 0.01108 | −0.01108 | 0.01228 | −0.01175 | −0.01259 | 0.01256 | 0.01240 | −0.01240 | |
| −0.00972 | −0.01146 | −0.01213 | 0.01190 | 0.01034 | −0.01034 | 0.01250 | −0.01234 | −0.01189 | 0.01181 | −0.01239 | 0.01239 | |
| 0.00385 | −0.00968 | −0.00258 | 0.00238 | −0.00875 | 0.00874 | 0.00929 | −0.00931 | −0.00267 | 0.00309 | −0.00971 | 0.00971 | |
| 0.00845 | 0.00782 | 0.00837 | 0.00708 | −0.00779 | 0.00779 | 0.00565 | −0.00572 | −0.00706 | 0.00678 | −0.00828 | 0.00828 | |
| 0.00898 | 0.00782 | −0.00680 | 0.00629 | −0.00778 | 0.00777 | 0.00695 | −0.00698 | −0.00694 | 0.00692 | −0.00820 | 0.00820 | |
| 0.00845 | 0.00782 | 0.00837 | 0.00708 | −0.00779 | 0.00778 | 0.00565 | −0.00572 | −0.00706 | 0.00678 | −0.00828 | 0.00828 | |
| −0.00111 | 0.00789 | 0.01210 | −0.00643 | 0.00424 | −0.00425 | −0.00632 | 0.00659 | 0.01011 | −0.00867 | 0.00795 | −0.00795 | |
| −0.00352 | −0.00502 | −0.00803 | 0.00352 | −0.00548 | 0.00548 | 0.00267 | −0.00269 | −0.00616 | 0.00485 | −0.00908 | 0.00908 | |
| 0.00251 | −0.00531 | 0.00249 | −0.00243 | −0.00630 | 0.00631 | 0.00534 | −0.00531 | 0.00262 | −0.00312 | −0.00568 | 0.00568 | |
| 0.00193 | −0.00754 | 0.00671 | 0.00778 | −0.00733 | 0.00733 | 0.00714 | −0.00715 | 0.00736 | 0.00808 | −0.00786 | 0.00786 | |
| 0.00139 | −0.00714 | 0.00608 | 0.00618 | −0.00661 | 0.00660 | 0.00542 | −0.00552 | −0.00790 | 0.00725 | −0.00820 | 0.00820 | |
| 0.00250 | −0.00532 | 0.00249 | −0.00243 | −0.00630 | 0.00629 | 0.00534 | −0.00531 | 0.00262 | −0.00312 | −0.00568 | 0.00568 | |
| 0.00193 | −0.00754 | 0.00671 | 0.00778 | −0.00733 | 0.00733 | 0.00714 | −0.00715 | 0.00736 | 0.00808 | −0.00786 | 0.00786 | |
| 0.00853 | 0.00828 | 0.00578 | −0.00550 | 0.00801 | −0.00811 | −0.00593 | 0.00605 | 0.00841 | −0.00764 | 0.00810 | −0.00810 | |
| 0.01200 | −0.01141 | 0.01253 | −0.01235 | −0.01088 | 0.01088 | 0.01229 | −0.01176 | 0.01244 | −0.01248 | −0.01237 | 0.01237 | |
| 0.01181 | 0.01127 | 0.01246 | −0.01234 | 0.01087 | −0.01087 | −0.01235 | 0.01167 | 0.01261 | −0.01260 | 0.01248 | −0.01248 | |
| −0.01183 | 0.01074 | 0.01244 | −0.01202 | 0.00986 | −0.00984 | −0.01158 | 0.01146 | 0.01213 | −0.01211 | 0.01191 | −0.01191 | |
| 0.00258 | −0.00291 | 0.00173 | −0.00206 | −0.01035 | 0.01034 | 0.00190 | −0.00272 | 0.00200 | −0.00281 | −0.01061 | 0.01060 | |
| 0.00706 | −0.00733 | −0.00816 | 0.00797 | 0.00705 | −0.00707 | 0.00684 | 0.00834 | 0.00733 | 0.00792 | 0.00736 | −0.00736 | |
| 0.00731 | 0.00826 | 0.00577 | 0.00906 | −0.00797 | 0.00797 | 0.00630 | 0.00849 | 0.00605 | 0.00888 | −0.00827 | 0.00827 | |
| 0.00706 | −0.00733 | −0.00816 | 0.00797 | 0.00705 | −0.00706 | 0.00684 | 0.00834 | 0.00733 | 0.00792 | 0.00736 | −0.00736 | |
| 0.01015 | −0.00997 | −0.00880 | 0.00809 | 0.00339 | −0.00339 | 0.00912 | −0.00894 | −0.00703 | 0.00699 | 0.00168 | −0.00167 | |
| −0.00510 | 0.00625 | 0.00406 | −0.00461 | −0.00352 | 0.00352 | −0.00532 | 0.00596 | 0.00439 | −0.00364 | −0.00381 | 0.00382 | |
| −0.00254 | 0.00287 | −0.00175 | 0.00208 | −0.00441 | 0.00441 | −0.00190 | 0.00272 | −0.00203 | 0.00292 | −0.00385 | 0.00385 | |
| −0.00739 | 0.00756 | 0.00864 | −0.00829 | −0.00675 | 0.00675 | −0.00707 | 0.00746 | 0.00814 | −0.00770 | −0.00632 | 0.00632 | |
| −0.00763 | 0.00786 | 0.00692 | −0.00706 | −0.00602 | 0.00603 | −0.00751 | 0.00762 | 0.00677 | −0.00636 | −0.00473 | 0.00473 | |
| −0.00254 | 0.00287 | −0.00175 | 0.00208 | −0.00441 | 0.00441 | −0.00190 | 0.00272 | −0.00203 | 0.00292 | −0.00385 | 0.00385 | |
| −0.00739 | 0.0075 | 0.00864 | −0.00829 | −0.00675 | 0.00675 | −0.00707 | 0.00746 | 0.00814 | −0.00770 | −0.00632 | 0.00632 | |
| −0.00910 | 0.00896 | 0.00515 | −0.00587 | −0.00630 | 0.00630 | −0.00487 | 0.00632 | 0.00985 | −0.00876 | −0.00496 | 0.00495 | |
| −0.01187 | 0.01126 | 0.01281 | −0.01252 | 0.01115 | −0.01114 | −0.01228 | 0.01191 | 0.01252 | −0.01250 | −0.01233 | 0.01233 | |
| −0.01186 | 0.01125 | −0.01255 | 0.01227 | 0.01113 | −0.01113 | −0.01223 | 0.01154 | 0.01246 | −0.01234 | 0.01239 | −0.01239 | |
| −0.01097 | 0.01016 | −0.01121 | 0.01115 | −0.01089 | 0.01088 | −0.01090 | 0.01125 | 0.01134 | −0.01113 | 0.01147 | −0.01147 | |
| −0.00359 | 0.00336 | 0.00143 | 0.00942 | −0.00983 | 0.00982 | −0.00285 | 0.00217 | 0.00177 | −0.00212 | −0.01031 | 0.01030 | |
| −0.00729 | 0.00729 | −0.00819 | 0.00718 | −0.00823 | 0.00822 | 0.00818 | 0.00733 | 0.00593 | −0.00573 | 0.00743 | −0.00743 | |
| −0.00745 | 0.00734 | −0.01011 | 0.00773 | −0.00815 | 0.00814 | 0.00847 | 0.00690 | 0.00737 | 0.00743 | −0.00806 | 0.00807 | |
| −0.00729 | 0.00729 | −0.00819 | 0.00718 | −0.00823 | 0.00822 | 0.00818 | 0.00733 | 0.00593 | −0.00573 | 0.00742 | −0.00743 | |
| 0.01205 | −0.01206 | 0.01266 | −0.01119 | 0.00718 | −0.00718 | 0.01098 | −0.01100 | 0.00793 | −0.00869 | 0.00113 | −0.00113 | |
| −0.00675 | 0.00659 | −0.00403 | 0.00464 | −0.00916 | 0.00917 | −0.00798 | 0.00869 | −0.00146 | 0.00116 | −0.00339 | 0.00339 | |
| 0.00283 | −0.00286 | −0.00150 | 0.00691 | −0.00523 | 0.00524 | 0.00284 | −0.00216 | −0.00173 | 0.00199 | −0.00449 | 0.00449 | |
| −0.00888 | 0.00863 | −0.00762 | 0.00795 | −0.00774 | 0.00774 | −0.00857 | 0.00880 | −0.00517 | 0.00494 | −0.00549 | 0.00548 | |
| −0.00927 | 0.00882 | −0.01048 | 0.00784 | −0.00808 | 0.00808 | −0.00839 | 0.00853 | −0.00383 | 0.00251 | −0.00406 | 0.00405 | |
| 0.00283 | −0.00286 | −0.00150 | 0.00691 | −0.00523 | 0.00521 | 0.00284 | −0.00216 | −0.00173 | 0.00199 | −0.00449 | 0.00448 | |
| −0.00888 | 0.00863 | −0.00762 | 0.00795 | −0.00774 | 0.00774 | −0.00857 | 0.00880 | −0.00517 | 0.00494 | −0.00549 | 0.00548 | |
| 0.01044 | −0.01006 | 0.01055 | −0.00859 | 0.00760 | −0.00760 | −0.00689 | 0.00616 | −0.00985 | 0.00872 | −0.00510 | 0.00508 | |
References
- Wittwer, J.W.; Chase, K.W.; Howell, L.L. The direct linearization method applied to position error in kinematic linkages. Mech. Mach. Theory 2004, 39, 681–693. [Google Scholar] [CrossRef]
- Kelaiaia, R.; Chemori, A.; Brahmia, A.; Kerboua, A.; Zaatri, A.; Company, O. Optimal dimensional design of parallel manipulators with an illustrative case study: A review. Mech. Mach. Theory 2023, 188, 105390. [Google Scholar] [CrossRef]
- Rout, B.; Mittal, R. A review on minimizing variability in product performance with the help of computational tools by controlling active and noise factor for robust design. In Proceedings of the National Conference on Current Applications of Computers in Design Engineering, Jodhpur, India, 3–4 March 2001; pp. 3–5. [Google Scholar]
- Wang, J.; Masory, O. On the accuracy of a Stewart platform. I. The effect of manufacturing tolerances. In Proceedings of the 1993 IEEE International Conference on Robotics and Automation, Atlanta, GA, USA, 2–6 May 1993; Volume 1, pp. 114–120. [Google Scholar] [CrossRef]
- Brahmia, A.; Kelaiaia, R.; Chemori, A.; Company, O. On Robust Mechanical Design of a PAR2 Delta-Like Parallel Kinematic Manipulator. J. Mech. Robot. 2021, 14, 011001. [Google Scholar] [CrossRef]
- Brahmia, A.; Kelaiaia, R.; Company, O.; Chemori, A. Kinematic sensitivity analysis of manipulators using a novel dimensionless index. Robot. Auton. Syst. 2022, 150, 104021. [Google Scholar] [CrossRef]
- Lian, B.; Sun, T.; Song, Y. Parameter sensitivity analysis of a 5-DoF parallel manipulator. Robot. Comput.-Integr. Manuf. 2017, 46, 1–14. [Google Scholar] [CrossRef]
- Zhu, J.; Ting, K.L. Performance Distribution Analysis and Robust Design. J. Mech. Des. 2000, 123, 11–17. [Google Scholar] [CrossRef]
- Caro, S.; Bennis, F.; Wenger, P. Tolerance Synthesis of Mechanisms: A Robust Design Approach. J. Mech. Des. 2005, 127, 86–94. [Google Scholar] [CrossRef]
- Caro, S.; Wenger, P.; Bennis, F.; Chablat, D. Sensitivity Analysis of the Orthoglide: A Three-DOF Translational Parallel Kinematic Machine. J. Mech. Des. 2005, 128, 392–402. [Google Scholar] [CrossRef]
- Kim, J.; Song, W.J.; Kang, B.S. Stochastic approach to kinematic reliability of open-loop mechanism with dimensional tolerance. Appl. Math. Model. 2010, 34, 1225–1237. [Google Scholar] [CrossRef]
- Rout, B.; Mittal, R. Tolerance design of robot parameters using Taguchi method. Mech. Syst. Signal Process. 2006, 20, 1832–1852. [Google Scholar] [CrossRef]
- Rao, S.; Bhatti, P. Probabilistic approach to manipulator kinematics and dynamics. Reliab. Eng. Syst. Saf. 2001, 72, 47–58. [Google Scholar] [CrossRef]
- Du, X.; Venigella, P.K.; Liu, D. Robust mechanism synthesis with random and interval variables. Mech. Mach. Theory 2009, 44, 1321–1337. [Google Scholar] [CrossRef]
- Bowling, A.P.; Renaud, J.E.; Newkirk, J.T.; Patel, N.M.; Agarwal, H. Reliability-Based Design Optimization of Robotic System Dynamic Performance. In Proceedings of the 2006 IEEE/RSJ International Conference on Intelligent Robots and Systems, Beijing, China, 9–13 October 2006; pp. 3611–3617. [Google Scholar] [CrossRef]
- Lara-Molina, F.A.; Dumur, D. Robust multi-objective optimization of parallel manipulators. Meccanica 2021, 56, 2843–2860. [Google Scholar] [CrossRef]
- Parkinson, D.B. The Application of a Robust Design Method to Tolerancing. J. Mech. Des. 2000, 122, 149–154. [Google Scholar] [CrossRef]
- Goldsztejn, A.; Caro, S.; Chabert, G. A New Methodology for Tolerance Synthesis of Parallel Manipulators. In Proceedings of the 14th IFToMM World Congress, Taipei, Taiwan, 25–30 October 2015; pp. 184–193. [Google Scholar] [CrossRef]
- Rout, B.; Mittal, R. Optimal manipulator parameter tolerance selection using evolutionary optimization technique. Eng. Appl. Artif. Intell. 2008, 21, 509–524. [Google Scholar] [CrossRef]
- Goldsztejn, A.; Caro, S.; Chabert, G. A three-step methodology for dimensional tolerance synthesis of parallel manipulators. Mech. Mach. Theory 2016, 105, 213–234. [Google Scholar] [CrossRef]
- Trung, T.T.; Guang, L.W.; Long, P.T. Tolerance Design of Robot Parameters Using Generalized Reduced Gradient Algorithm. Int. J. Mater. Mech. Manuf. 2017, 5, 96–105. [Google Scholar] [CrossRef]
- Laribi, M.; Romdhane, L.; Zeghloul, S. Analysis and dimensional synthesis of the DELTA robot for a prescribed workspace. Mech. Mach. Theory 2007, 42, 859–870. [Google Scholar] [CrossRef]
- Kelaiaia, R.; Company, O.; Zaatri, A. Multiobjective optimization of a linear Delta parallel robot. Mech. Mach. Theory 2012, 50, 159–178. [Google Scholar] [CrossRef]
- Rachedi, M.; Hemici, B.; Bouri, M. Design of an H8 controller for the Delta robot: Experimental results. Adv. Robot. 2015, 29, 1165–1181. [Google Scholar] [CrossRef]
- Boudjedir, C.E.; Boukhetala, D.; Bouri, M. Nonlinear PD plus sliding mode control with application to a parallel delta robot. J. Electr. Eng. 2018, 69, 329–336. [Google Scholar] [CrossRef]
- Clavel, R. DELTA, a fast robot with parallel geometry. In Proceedings of the 18th International Symposium on Industrial Robots, Lausanne, Switzerland, 26–28 April 1988; pp. 91–100. [Google Scholar]
- Khalil, W.; Dombre, E. Modélisation, Identification et Commande Des Robots, 2nd ed.; Hermès: Paris, France, 1999. [Google Scholar]
- Jeong, J.i.; Kang, D.; Cho, Y.M.; Kim, J. Kinematic Calibration for Redundantly Actuated Parallel Mechanisms. J. Mech. Des. 2004, 126, 307–318. [Google Scholar] [CrossRef]
- Craig, J.J. Introduction to Robotics: Mechanics & Control, 4th ed.; Addison-Wesley Pub. Co.: Reading, MA, USA, 1986. [Google Scholar]
- Shen, H.; Meng, Q.; Li, J.; Deng, J.; Wu, G. Kinematic sensitivity, parameter identification and calibration of a non-fully symmetric parallel Delta robot. Mech. Mach. Theory 2021, 161, 104311. [Google Scholar] [CrossRef]







| i | ||||||||
|---|---|---|---|---|---|---|---|---|
| 1 | 0 | 1 | 0 | 0 | 0 | |||
| 2 | 1 | 0 | 0 | 0 | d | |||
| 3 | 2 | 0 | 0 | 0 | 0 | 0 | ||
| 4 | 3 | 0 | 0 | 0 | 0 | 0 | ||
| 5 | 4 | 0 | 0 | 0 | 0 | |||
| 5 | 7 | 0 | 0 | 0 | 0 | |||
| 6 | 2 | 0 | 0 | 0 | 0 | 0 | ||
| 7 | 6 | 0 | 0 | 0 | 0 | 0 | ||
| E | 0 | 0 | 0 | 0 | 0 |
| i | ||||||||
|---|---|---|---|---|---|---|---|---|
| 1 | 0 | 1 | 0 | 0 | 0 | |||
| 2 | 1 | 0 | 0 | 0 | ||||
| 3 | 2 | 0 | 0 | 0 | 0 | 0 | ||
| 4 | 3 | 0 | 0 | 0 | 0 | 0 | ||
| 5 | 4 | 0 | 0 | 0 | 0 | |||
| 5 | 7 | 0 | 0 | 0 | 0 | |||
| 6 | 2 | 0 | 0 | 0 | 0 | 0 | ||
| 7 | 6 | 0 | 0 | 0 | 0 | 0 | ||
| E | 0 | 0 | 0 | 0 | 0 |
| Parameter | Tolerance | Tolerance | Parameter | Tolerance | Tolerance |
|---|---|---|---|---|---|
| min | max | min | max | ||
| −0.0097 | 0.0096 | −0.0012 | 0.0010 | ||
| −0.0096 | 0.0097 | −0.0023 | 0.0010 | ||
| −0.0111 | 0.0111 | −0.0016 | 0.0010 | ||
| −0.0098 | 0.0096 | −0.0011 | 0.0010 | ||
| −0.0096 | 0.0097 | −0.0023 | 0.0010 | ||
| −0.0109 | 0.0109 | −0.0016 | 0.0010 | ||
| −0.0101 | 0.0100 | −0.0015 | 0.0014 | ||
| −0.0098 | 0.0095 | −0.0012 | 0.0011 | ||
| −0.0111 | 0.0111 | −0.0017 | 0.0020 | ||
| −0.0098 | 0.0098 | −0.0025 | 0.0016 | ||
| −0.0096 | 0.0097 | −0.0017 | 0.0012 | ||
| −0.0026 | 0.0010 | −0.0017 | 0.0019 | ||
| −0.0057 | 0.0010 | −0.0024 | 0.0016 | ||
| −0.0068 | 0.0010 | −0.0011 | 0.0011 | ||
| −0.0057 | 0.0010 | −0.0015 | 0.0012 | ||
| −0.0021 | 0.0017 | −0.0013 | 0.0020 | ||
| −0.0071 | 0.0022 | −0.0016 | 0.0016 | ||
| −0.0032 | 0.0016 | −0.0011 | 0.0015 | ||
| −0.0070 | 0.0022 | −0.0013 | 0.0020 | ||
| −0.0020 | 0.0013 | −0.0016 | 0.0016 | ||
| −0.0057 | 0.0055 | −0.0055 | 0.0058 | ||
| −0.0043 | 0.0038 | −0.0049 | 0.0049 | ||
| −0.0057 | 0.0055 | −0.0051 | 0.0051 | ||
| −0.0011 | 0.0011 |
Disclaimer/Publisher’s Note: The statements, opinions and data contained in all publications are solely those of the individual author(s) and contributor(s) and not of MDPI and/or the editor(s). MDPI and/or the editor(s) disclaim responsibility for any injury to people or property resulting from any ideas, methods, instructions or products referred to in the content. |
© 2023 by the authors. Licensee MDPI, Basel, Switzerland. This article is an open access article distributed under the terms and conditions of the Creative Commons Attribution (CC BY) license (https://creativecommons.org/licenses/by/4.0/).
Share and Cite
Brahmia, A.; Kerboua, A.; Kelaiaia, R.; Latreche, A. Tolerance Synthesis of Delta-like Parallel Robots Using a Nonlinear Optimisation Method. Appl. Sci. 2023, 13, 10703. https://doi.org/10.3390/app131910703
Brahmia A, Kerboua A, Kelaiaia R, Latreche A. Tolerance Synthesis of Delta-like Parallel Robots Using a Nonlinear Optimisation Method. Applied Sciences. 2023; 13(19):10703. https://doi.org/10.3390/app131910703
Chicago/Turabian StyleBrahmia, Allaoua, Adlen Kerboua, Ridha Kelaiaia, and Ameur Latreche. 2023. "Tolerance Synthesis of Delta-like Parallel Robots Using a Nonlinear Optimisation Method" Applied Sciences 13, no. 19: 10703. https://doi.org/10.3390/app131910703
APA StyleBrahmia, A., Kerboua, A., Kelaiaia, R., & Latreche, A. (2023). Tolerance Synthesis of Delta-like Parallel Robots Using a Nonlinear Optimisation Method. Applied Sciences, 13(19), 10703. https://doi.org/10.3390/app131910703

