An Evolutionary Neural Network Approach for Slopes Stability Assessment
Abstract
1. Motivation and Background
2. Data Characterization
3. Methodology
3.1. Artificial Neural Networks
- A multilayer perceptron with only feedforward connections;
- One hidden layer containing H processing units;
- A grid search of to determine the optimal value of H;
- A logistic function applied to the neural function of the hidden nodes ;
- The BFGS technique [50] as an optimizer for the ANN.
3.2. Genetic Algorithms
- Population size: 100;
- Stop criteria: after 100 generations;
- Crossover probability: 0.7;
- Mutation probability: 0.2.
3.3. Model Evaluation
- Recall;
- Precision;
- .
3.4. Sensitivity Analysis
3.5. Modelling Procedure
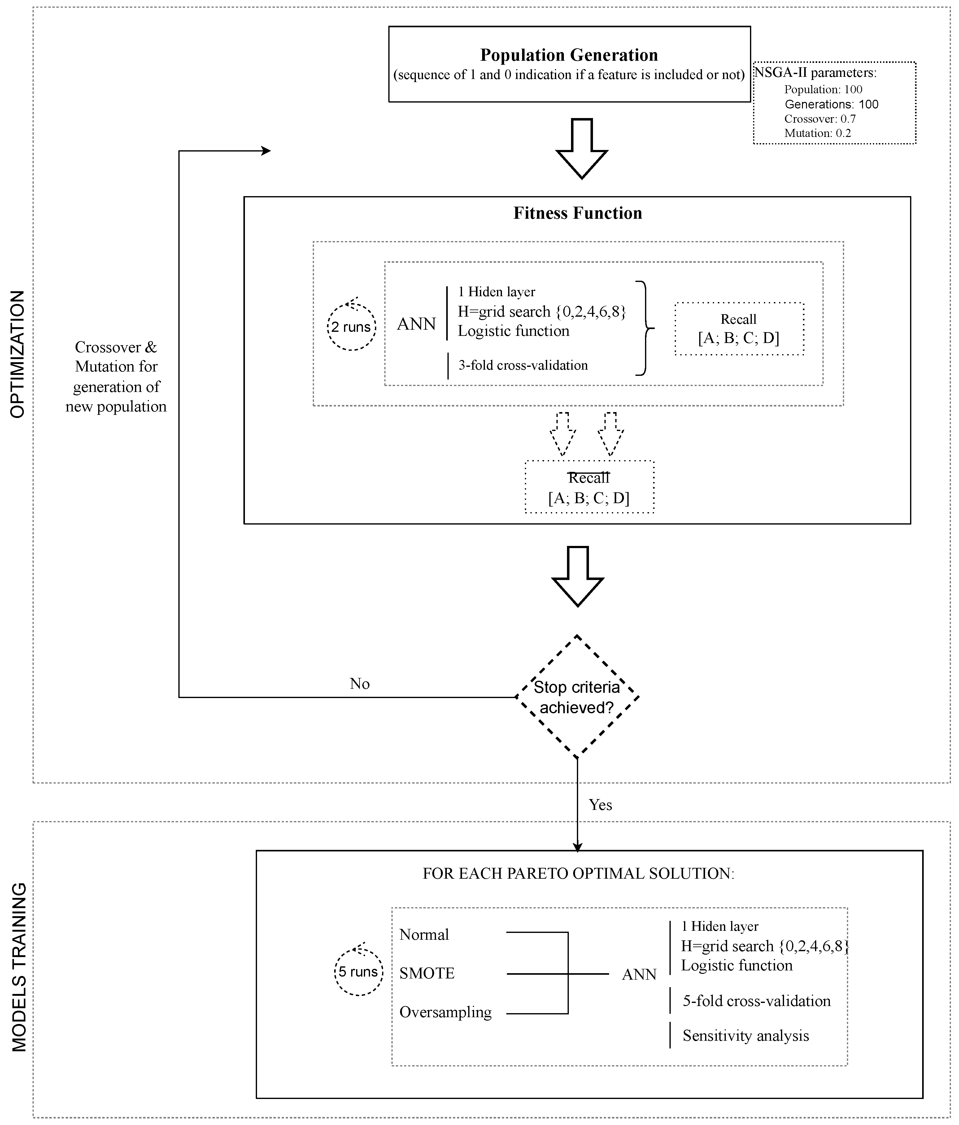
- Optimization: The objective of applying GA is to identify the optimal set of variables that minimizes the objective function. Consequently, our GA began by randomly defining an initial population in which each individual (a sequence of 1 and 0 indicating whether a feature was included or not) represented a potential solution (set of variables) to the problem. The objective function corresponded to the maximization of the recall metric for all four EHC classes (a multi-objective problem). The fitness function corresponded to an ANN algorithm-based predictive model. Two ANNs were fitted to the database using the methodology outlined in Section 3.1 (i.e., a feedforward network with one hidden layer, a logistic function for hidden nodes, and a grid search of for H definition using a 3-fold cross-validation schema as the validation procedure). Then, for each EHC class, a recall metric (the average of both ANNs) was calculated, which was then utilized by the GA to optimize the optimal set of attributes for EHC identification.
- ANN training: After optimization, five ANNs were fitted to the database for each Pareto optimal solution (set of optimal variables) using the methodology described in Section 3.1. Here, in addition to the standard approach (no resampling), ANNs were trained with a resampled database using the SMOTE and oversampling approaches. Notably, the various sampling methods were only applied to the training data, which were used to fit the data-driven models, and the test data (as provided by the 5-fold cross-validation procedure) were not altered. This means that ANNs were trained for each Pareto optimal solution. Each model was then subjected to a sensitivity analysis to determine the relative relevance of each attribute for EHC prediction.
4. Results and Discussion
4.1. Feature Selection
4.2. Model Performance
4.3. Model Interpretation
5. Final Remarks
Author Contributions
Funding
Institutional Review Board Statement
Informed Consent Statement
Data Availability Statement
Acknowledgments
Conflicts of Interest
References
- Pourkhosravani, A.; Kalantari, B. A Review of Current Methods for Slope Stability Evaluation. Electron. J. Geotech. Eng. 2011, 16, 1245–1254. [Google Scholar]
- Ullaha, S.; Khanb, M.U.; Rehmana, G. A Brief Review of the Slope Stability Analysis Methods. Geol. Behav. 2020, 4, 61–65. [Google Scholar]
- Suchomel, R.; Mašı, D. Comparison of different probabilistic methods for predicting stability of a slope in spatially variable soil. Comput. Geotech. 2010, 37, 132–140. [Google Scholar] [CrossRef]
- Sivakumar Babu, G.; Murthy, D. Reliability analysis of unsaturated soil slopes. J. Geotech. Geoenviron. Eng. 2005, 131, 1423–1428. [Google Scholar] [CrossRef]
- Husein Malkawi, A.I.; Hassan, W.F.; Abdulla, F.A. Uncertainty and reliability analysis applied to slope stability. Struct. Saf. 2000, 22, 161–187. [Google Scholar] [CrossRef]
- Gavin, K.; Xue, J. Use of a genetic algorithm to perform reliability analysis of unsaturated soil slopes. Geotechnique 2009, 59, 545–549. [Google Scholar] [CrossRef]
- Wang, H.; Sassa, K. Comparative evaluation of landslide susceptibility in Minamata area, Japan. Environ. Geol. 2005, 47, 956–966. [Google Scholar] [CrossRef]
- Cheng, M.Y.; Hoang, N.D. Slope Collapse Prediction Using Bayesian Framework with K-Nearest Neighbor Density Estimation: Case Study in Taiwan. J. Comput. Civ. Eng. 2016, 30, 04014116. [Google Scholar] [CrossRef]
- Ahangar-Asr, A.; Faramarzi, A.; Javadi, A.A. A new approach for prediction of the stability of soil and rock slopes. Eng. Comput. 2010, 27, 878–893. [Google Scholar] [CrossRef]
- Lu, P.; Rosenbaum, M. Artificial neural networks and grey systems for the prediction of slope stability. Nat. Hazards 2003, 30, 383–398. [Google Scholar] [CrossRef]
- Sakellariou, M.; Ferentinou, M. A study of slope stability prediction using neural networks. Geotech. Geol. Eng. 2005, 23, 419–445. [Google Scholar] [CrossRef]
- Cheng, M.Y.; Wu, Y.W.; Chen, K.L. Risk Preference Based Support Vector Machine Inference Model for Slope Collapse Prediction. Autom. Constr. 2012, 22, 175–181. [Google Scholar] [CrossRef]
- Yao, X.; Tham, L.; Dai, F. Landslide susceptibility mapping based on support vector machine: A case study on natural slopes of Hong Kong, China. Geomorphology 2008, 101, 572–582. [Google Scholar] [CrossRef]
- Kang, F.; Han, S.; Salgado, R.; Li, J. System probabilistic stability analysis of soil slopes using Gaussian process regression with Latin hypercube sampling. Comput. Geotech. 2015, 63, 13–25. [Google Scholar] [CrossRef]
- Kang, F.; Xu, Q.; Li, J. Slope reliability analysis using surrogate models via new support vector machines with swarm intelligence. Appl. Math. Model. 2016, 40, 6105–6120. [Google Scholar] [CrossRef]
- Kang, F.; Li, J. Artificial bee colony algorithm optimized support vector regression for system reliability analysis of slopes. J. Comput. Civ. Eng. 2016, 30, 04015040. [Google Scholar] [CrossRef]
- Kang, F.; Li, J.s.; Li, J.j. System reliability analysis of slopes using least squares support vector machines with particle swarm optimization. Neurocomputing 2016, 209, 46–56. [Google Scholar] [CrossRef]
- Kang, F.; Li, J.S.; Wang, Y.; Li, J. Extreme learning machine-based surrogate model for analyzing system reliability of soil slopes. Eur. J. Environ. Civ. Eng. 2017, 21, 1341–1362. [Google Scholar] [CrossRef]
- Das, S.K.; Biswal, R.K.; Sivakugan, N.; Das, B. Classification of slopes and prediction of factor of safety using differential evolution neural networks. Environ. Earth Sci. 2011, 64, 201–210. [Google Scholar] [CrossRef]
- Suman, S.; Khan, S.; Das, S.; Chand, S. Slope stability analysis using artificial intelligence techniques. Nat. Hazards 2016, 84, 727–748. [Google Scholar] [CrossRef]
- Koopialipoor, M.; Armaghani, D.J.; Hedayat, A.; Marto, A.; Gordan, B. Applying various hybrid intelligent systems to evaluate and predict slope stability under static and dynamic conditions. Soft Comput. 2019, 23, 5913–5929. [Google Scholar] [CrossRef]
- Naidu, S.; Sajinkumar, K.; Oommen, T.; Anuja, V.; Samuel, R.A.; Muraleedharan, C. Early warning system for shallow landslides using rainfall threshold and slope stability analysis. Geosci. Front. 2018, 9, 1871–1882. [Google Scholar] [CrossRef]
- Zhang, W.; Gu, X.; Hong, L.; Han, L.; Wang, L. Comprehensive review of machine learning in geotechnical reliability analysis: Algorithms, applications and further challenges. Appl. Soft Comput. 2023, 136, 110066. [Google Scholar] [CrossRef]
- Soranzo, E.; Guardiani, C.; Chen, Y.; Wang, Y.; Wu, W. Convolutional neural networks prediction of the factor of safety of random layered slopes by the strength reduction method. Acta Geotech. 2023, 18, 3391–3402. [Google Scholar] [CrossRef]
- Wang, L.; Wu, C.; Gu, X.; Liu, H.; Mei, G.; Zhang, W. Probabilistic stability analysis of earth dam slope under transient seepage using multivariate adaptive regression splines. Bull. Eng. Geol. Environ. 2020, 79, 2763–2775. [Google Scholar] [CrossRef]
- Fu, X.; Sheng, Q.; Zhang, Y.; Chen, J.; Zhang, S.; Zhang, Z. Computation of the safety factor for slope stability using discontinuous deformation analysis and the vector sum method. Comput. Geotech. 2017, 92, 68–76. [Google Scholar] [CrossRef]
- Liu, G.; Zhuang, X.; Cui, Z. Three-dimensional slope stability analysis using independent cover based numerical manifold and vector method. Eng. Geol. 2017, 225, 83–95. [Google Scholar] [CrossRef]
- Pinheiro, M.; Sanches, S.; Miranda, T.; Neves, A.; Tinoco, J.; Ferreira, A.; Gomes Correia, A. A new Empirical System for Rock Slope Stability Analysis in Exploitation Stage. Int. J. Rock Mech. Min. Sci. 2015, 76, 182–191. [Google Scholar] [CrossRef]
- Power, C.; Mian, J.; Spink, T.; Abbott, S.; Edwards, M. Development of an Evidence-based Geotechnical Asset Management Policy for Network Rail, Great Britain. Procedia Eng. 2016, 143, 726–733. [Google Scholar] [CrossRef]
- Tinoco, J.; Gomes Correia, A.; Cortez, P.; Toll, D. Data-Driven Model for Stability Condition Prediction of Soil Embankments Based on Visual Data Features. J. Comput. Civ. Eng. 2018, 32, 04018027. [Google Scholar] [CrossRef]
- Tinoco, J.; Gomes Correia, A.; Cortez, P.; Toll, D. Stability Condition Identification of Rock and Soil Cutting Slopes Based on Soft Computing. J. Comput. Civ. Eng. 2018, 32, 04017088. [Google Scholar] [CrossRef]
- Fan, Y.; Xu, K.; Wu, H.; Zheng, Y.; Tao, B. Spatiotemporal modeling for nonlinear distributed thermal processes based on KL decomposition, MLP and LSTM network. IEEE Access 2020, 8, 25111–25121. [Google Scholar] [CrossRef]
- Taormina, R.; Chau, K.W. ANN-based interval forecasting of streamflow discharges using the LUBE method and MOFIPS. Eng. Appl. Artif. Intell. 2015, 45, 429–440. [Google Scholar] [CrossRef]
- Faizollahzadeh Ardabili, S.; Najafi, B.; Shamshirband, S.; Minaei Bidgoli, B.; Deo, R.C.; Chau, K.w. Computational intelligence approach for modeling hydrogen production: A review. Eng. Appl. Comput. Fluid Mech. 2018, 12, 438–458. [Google Scholar] [CrossRef]
- Tahir, M.; Tubaishat, A.; Al-Obeidat, F.; Shah, B.; Halim, Z.; Waqas, M. A novel binary chaotic genetic algorithm for feature selection and its utility in affective computing and healthcare. Neural Comput. Appl. 2022, 34, 11453–11474. [Google Scholar] [CrossRef]
- Cortez, P. Modern Optimization with R, 2nd ed.; Springer: New York, NY, USA, 2021. [Google Scholar]
- Liao, S.; Chu, P.; Hsiao, P. Data mining techniques and applications. A decade review from 2000 to 2011. Expert Syst. Appl. 2012, 39, 11303–11311. [Google Scholar] [CrossRef]
- Garg, A.; Garg, A.; Tai, K.; Sreedeep, S. An integrated SRM-multi-gene genetic programming approach for prediction of factor of safety of 3-D soil nailed slopes. Eng. Appl. Artif. Intell. 2014, 30, 30–40. [Google Scholar] [CrossRef]
- Javadi, A.A.; Ahangar-Asr, A.; Johari, A.; Faramarzi, A.; Toll, D. Modelling stress–strain and volume change behaviour of unsaturated soils using an evolutionary based data mining technique, an incremental approach. Eng. Appl. Artif. Intell. 2012, 25, 926–933. [Google Scholar] [CrossRef]
- Tinoco, J.; Gomes Correia, A.; Cortez, P. A Novel Approach to Predicting Young’s Modulus of Jet Grouting Laboratory Formulations over Time using Data Mining Techniques. Eng. Geol. 2014, 169, 50–60. [Google Scholar] [CrossRef]
- Tinoco, J.; Gomes Correia, A.; Cortez, P. Support Vector Machines Applied to Uniaxial Compressive Strength Prediction of Jet Grouting Columns. Comput. Geotech. 2014, 55, 132–140. [Google Scholar] [CrossRef]
- Gomes Correia, A.; Cortez, P.; Tinoco, J.; Marques, R. Artificial Intelligence Applications in Transportation Geotechnics. Geotech. Geol. Eng. 2013, 31, 861–879. [Google Scholar] [CrossRef]
- Miranda, T.; Gomes Correia, A.; Santos, M.; Sousa, L.; Cortez, P. New Models for Strength and Deformability Parameter Calculation in Rock Masses Using Data-Mining Techniques. Int. J. Geomech. 2011, 11, 44–58. [Google Scholar] [CrossRef]
- Wang, H.; Xu, W.; Xu, R. Slope stability evaluation using back propagation neural networks. Eng. Geol. 2005, 80, 302–315. [Google Scholar] [CrossRef]
- Cheng, M.Y.; Roy, A.F.; Chen, K.L. Evolutionary risk preference inference model using fuzzy support vector machine for road slope collapse prediction. Expert Syst. Appl. 2012, 39, 1737–1746. [Google Scholar] [CrossRef]
- LeCun, Y.; Bengio, Y.; Hinton, G. Deep learning. Nature 2015, 521, 436. [Google Scholar] [CrossRef] [PubMed]
- Farabet, C.; Couprie, C.; Najman, L.; LeCun, Y. Learning Hierarchical Features for Scene Labeling. IEEE Trans. Pattern Anal. Mach. Intell. 2013, 35, 1915–1929. [Google Scholar] [CrossRef]
- Goodfellow, I.; Bengio, Y.; Courville, A. Deep Learning; MIT Press: New York, NY, USA, 2016. [Google Scholar]
- Kenig, S.; Ben-David, A.; Omer, M.; Sadeh, A. Control of Properties in Injection Molding by Neural Networks. Eng. Appl. Artif. Intell. 2001, 14, 819–823. [Google Scholar] [CrossRef]
- Venables, W.; Ripley, B. Modern Applied Statistics with S, 2nd ed.; Springer: Berlin/Heidelberg, Germany, 2003. [Google Scholar]
- Cortez, P. Data Mining with Neural Networks and Support Vector Machines using the R/rminer Tool. In Advances in Data Mining: Applications and Theoretical Aspects; Perner, P., Ed.; Springer: Berlin/Heidelberg, Germany, 2010; pp. 572–583. [Google Scholar]
- Chandrashekar, G.; Sahin, F. A survey on feature selection methods. Comput. Electr. Eng. 2014, 40, 16–28. [Google Scholar] [CrossRef]
- Golberg, D.E. Genetic algorithms in search, optimization, and machine learning. Addion Wesley 1989, 1989, 36. [Google Scholar]
- Sun, Y.; Babbs, C.; Delp, E. A comparison of feature selection methods for the detection of breast cancers in mammograms: Adaptive sequential floating search vs. genetic algorithm. In Proceedings of the 2005 IEEE Engineering in Medicine and Biology 27th Annual Conference, Shanghai, China, 17–18 January 2006; pp. 6532–6535. [Google Scholar]
- Alexandridis, A.; Patrinos, P.; Sarimveis, H.; Tsekouras, G. A two-stage evolutionary algorithm for variable selection in the development of RBF neural network models. Chemom. Intell. Lab. Syst. 2005, 75, 149–162. [Google Scholar] [CrossRef]
- Bonissone, P.P.; Subbu, R.; Lizzi, J. Multicriteria decision making (MCDM): A framework for research and applications. IEEE Comp. Int. Mag. 2009, 4, 48–61. [Google Scholar] [CrossRef]
- Chou, J.; Tseng, H. Establishing expert system for prediction based on the project-oriented data warehouse. Expert Syst. Appl. 2011, 38, 640–651. [Google Scholar] [CrossRef]
- R Team. R: A Language and Environment for Statistical Computing; R Foundation for Statistical Computing: Viena, Austria, 2009; Available online: http://www.r-project.org/ (accessed on 7 July 2023).
- Mersmann, O.; Trautmann, H.; Steuer, D.; Bischl, B.; Deb, K. Package “mco”: Multiple Criteria Optimization Algorithms and Related Functions. 2014. Available online: https://cran.r-project.org/package=mco (accessed on 7 July 2023).
- Ali, Y.A.; Awwad, E.M.; Al-Razgan, M.; Maarouf, A. Hyperparameter search for machine learning algorithms for optimizing the computational complexity. Processes 2023, 11, 349. [Google Scholar] [CrossRef]
- Anggoro, D.A.; Mukti, S.S. Performance Comparison of Grid Search and Random Search Methods for Hyperparameter Tuning in Extreme Gradient Boosting Algorithm to Predict Chronic Kidney Failure. Int. J. Intell. Eng. Syst. 2021, 14. [Google Scholar] [CrossRef]
- Alibrahim, H.; Ludwig, S.A. Hyperparameter optimization: Comparing genetic algorithm against grid search and bayesian optimization. In Proceedings of the 2021 IEEE Congress on Evolutionary Computation (CEC), Kraków, Poland, 28 June–1 July 2021; pp. 1551–1559. [Google Scholar]
- Witten, I.; Frank, E.; Hall, M.; Pal, C. Data Mining: Practical Machine Learning Tools and Techniques, 4th ed.; Morgan Kaufmann: New Your, NY, USA, 2017. [Google Scholar]
- Hastie, T.; Tibshirani, R.; Friedman, J. The Elements of Statistical Learning: Data Mining, Inference, and Prediction, 2nd ed.; Springer: New York, NY, USA, 2009. [Google Scholar]
- Holzinger, A.; Saranti, A.; Molnar, C.; Biecek, P.; Samek, W. Explainable AI methods-a brief overview. In xxAI—Beyond Explainable AI; Springer: Cham, Switzerland, 2022; pp. 13–38. [Google Scholar]
- Confalonieri, R.; Coba, L.; Wagner, B.; Besold, T.R. A historical perspective of explainable Artificial Intelligence. Wiley Interdiscip. Rev. Data Min. Knowl. Discov. 2021, 11, e1391. [Google Scholar] [CrossRef]
- Cortez, P.; Embrechts, M. Using Sensitivity Analysis and Visualization Techniques to Open Black Box Data Mining Models. Inf. Sci. 2013, 225, 1–17. [Google Scholar] [CrossRef]
- Brook, R.J.; Arnold, G.C. Applied Regression Analysis and Experimental Design; CRC Press: New York, NY, USA, 2018. [Google Scholar]
- Cortez, P.; Embrechts, M. Opening Black Box Data Mining Models Using Sensitivity Analysis. In Proceedings of the 2011 IEEE Symposium on Computational Intelligence and Data Mining, CIDM 2011, Paris, France, 11–15 April 2011; IEEE: Paris, France, 2011; pp. 341–348. [Google Scholar]
- Kaur, H.; Pannu, H.S.; Malhi, A.K. A systematic review on imbalanced data challenges in machine learning: Applications and solutions. ACM Comput. Surv. (CSUR) 2019, 52, 1–36. [Google Scholar] [CrossRef]
- Carrington, A.; Fieguth, P.; Qazi, H.; Holzinger, A.; Chen, H.; Mayr, F.; Manuel, D. A new concordant partial AUC and partial c statistic for imbalanced data in the evaluation of machine learning algorithms. BMC Med. Inform. Decis. Mak. 2020, 20, 4. [Google Scholar] [CrossRef]
- Pereira, P.J.; Pereira, A.; Cortez, P.; Pilastri, A. A Comparison of Machine Learning Methods for Extremely Unbalanced Industrial Quality Data. In Progress in Artificial Intelligence; Lecture Notes in Computer Science; Springer: Cham, Switzerland, 2021; Volume 12981. [Google Scholar]









Disclaimer/Publisher’s Note: The statements, opinions and data contained in all publications are solely those of the individual author(s) and contributor(s) and not of MDPI and/or the editor(s). MDPI and/or the editor(s) disclaim responsibility for any injury to people or property resulting from any ideas, methods, instructions or products referred to in the content. |
© 2023 by the authors. Licensee MDPI, Basel, Switzerland. This article is an open access article distributed under the terms and conditions of the Creative Commons Attribution (CC BY) license (https://creativecommons.org/licenses/by/4.0/).
Share and Cite
Tinoco, J.; Gomes Correia, A.; Cortez, P.; Toll, D. An Evolutionary Neural Network Approach for Slopes Stability Assessment. Appl. Sci. 2023, 13, 8084. https://doi.org/10.3390/app13148084
Tinoco J, Gomes Correia A, Cortez P, Toll D. An Evolutionary Neural Network Approach for Slopes Stability Assessment. Applied Sciences. 2023; 13(14):8084. https://doi.org/10.3390/app13148084
Chicago/Turabian StyleTinoco, Joaquim, António Gomes Correia, Paulo Cortez, and David Toll. 2023. "An Evolutionary Neural Network Approach for Slopes Stability Assessment" Applied Sciences 13, no. 14: 8084. https://doi.org/10.3390/app13148084
APA StyleTinoco, J., Gomes Correia, A., Cortez, P., & Toll, D. (2023). An Evolutionary Neural Network Approach for Slopes Stability Assessment. Applied Sciences, 13(14), 8084. https://doi.org/10.3390/app13148084

