Safety Workplace: The Prevention of Industrial Security Risk Factors
Abstract
1. Introduction
Related Works
2. Materials and Methods
3. Results
4. Discussion
5. Conclusions
Author Contributions
Funding
Institutional Review Board Statement
Informed Consent Statement
Data Availability Statement
Acknowledgments
Conflicts of Interest
References
- Wray, L. Credit and State Theories of Money. Available online: Books.google.com/books/about/Credit_and_State_Theories_of_Money.html?hl=es&id=qh1KLhjMqIoC (accessed on 14 July 2022).
- Arciniega-Rocha, R.P.; Rosero-Montalvo, P.D.; Erazo-Chamorro, V.C.; Arciniega-Rocha, V.M.; Ubidia-Vasconez, R.A.; Aguirre-Chagna, V.H.; Aulestia, R.R. Gasket Tester for Low-Pressure Pipelines: Design and Tests. In Proceedings of the 2019 IEEE 4th Ecuador Technical Chapters Meeting, ETCM 2019; Institute of Electrical and Electronics Engineers Inc., Guayaquil, Ecuador, 1 November 2019. [Google Scholar] [CrossRef]
- Martin, G.C. The Effects Of Cultural Diversity In The Workplace. J. Divers. Manag. 2014, 9, 89–92. [Google Scholar] [CrossRef]
- Abrams, H.K. A Short History of Occupational Health. J. Public Health Policy 2001, 22, 34–80. [Google Scholar] [CrossRef] [PubMed]
- Sirgy, M.J.; Lee, D.J. Work-Life Balance: An Integrative Review. Appl. Res. Qual. Life 2018, 13, 229–254. [Google Scholar] [CrossRef]
- Forastieri, V. Improving Health in the Workplace: ILO’s Framework for Action. 2001. Available online: https://www.ilo.org/wcmsp5/groups/public/---ed_protect/---protrav/---safework/documents/publication/wcms_329366.pdf (accessed on 1 August 2022).
- Burton, J. Healthy Workplace Framework and Model: Background and Supporting Literature and Practices. 2010. Available online: https://apps.who.int/iris/bitstream/handle/10665/113144/9789241500241_eng.pdf (accessed on 1 August 2022.).
- Safe and Healthy Workplaces Making Decent Work a Reality The ILO Report for World Day for Safety and Health at Work Geneva. 2007. Available online: https://docplayer.net/17373405-Safe-and-healthy-workplaces-making-decent-work-a-reality.html (accessed on 1 August 2022).
- Marras, W.S.; Lavender, S.A.; Leurgans, S.E.; Fathallah, F.A.; Ferguson, S.A.; Gary Allread, W.; Rajulu, S.L. Vern Putz-Anderson Biomechanical Risk Factors for Occupationally Related Low Back Disorders. Ergonomics 1995, 38, 2. [Google Scholar] [CrossRef]
- Faucett, J. Integrating ‘Psychosocial’ Factors into a Theoretical Model for Work-Related Musculoskeletal Disorders. Theor. Issues Ergon. Sci. 2005, 6, 531–550. [Google Scholar] [CrossRef]
- Clarke, S. The Effect of Challenge and Hindrance Stressors on Safety Behavior and Safety Outcomes: A Meta-Analysis. J. Occup. Health Psychol. 2012, 17, 387–397. [Google Scholar] [CrossRef]
- Morgeson, F.P.; Aguinis, H.; Ashford, S.J. Safety Climate in Organizations: New Challenges and Frontiers for Theory, Research and Practice. 2014. Available online: https://core.ac.uk/download/pdf/42412967.pdf (accessed on 1 August 2022).
- Ajslev, J.; Dastjerdi, E.L.; Dyreborg, J.; Kines, P.; Jeschke, K.C.; Sundstrup, E.; Jakobsen, M.D.; Fallentin, N.; Andersen, L.L. Safety Climate and Accidents at Work: Cross-Sectional Study among 15,000 Workers of the General Working Population. Saf. Sci. 2017, 91, 320–325. [Google Scholar] [CrossRef]
- Ostroff, C.; Kinicki, A.J.; Muhammad, R.S. Organizational Culture and Climate Integrated Model Of Culture And Climate Organizational Culture Climate Relationship Between Culture And Climate Moving Across Levels Of Analysis Emergence Of Shared Meaning And Perceptions Culture And Climate Change. 2013. Available online: https://goal-lab.psych.umn.edu/orgpsych/readings/15. Climate & Culture/Ostroff, Kinicki, & Muhammad (2012).pdf (accessed on 18 July 2022).
- Christian, M.S.; Bradley, J.C.; Wallace, J.C.; Burke, M.J. Workplace Safety: A Meta-Analysis of the Roles of Person and Situation Factors. J. Appl. Psychol. 2009, 94, 1103–1127. [Google Scholar] [CrossRef]
- Siraj, N.B.; Fayek, A.R. Risk Identification and Common Risks in Construction: Literature Review and Content Analysis. J. Constr. Eng. Manag. 2019, 145, 03119004. [Google Scholar] [CrossRef]
- Hou, Y.; Such, J.; Rashid, A. Understanding Security Requirements for Industrial Control System Supply Chains. In Proceedings of the 2019 IEEE/ACM 5th International Workshop on Software Engineering for Smart Cyber-Physical Systems, SEsCPS 2019, Montréal, QC, Canada, 28 May 2019; pp. 50–53. [Google Scholar] [CrossRef]
- Maletič, D.; Pačaiová, H.; Nagyová, A.; Maletič, M. The Link Between Asset Risk Management and Maintenance Performance: A Study of Industrial Manufacturing Companies. Qual. Innov. Prosper. 2020, 24, 50–69. [Google Scholar] [CrossRef]
- Hald, K.S. Social Influence and Safe Behavior in Manufacturing. Saf. Sci. 2018, 109, 50–69. [Google Scholar] [CrossRef]
- Li, K.X.; Yin, J.; Fan, L. Ship Safety Index. Transp. Res. Part A: Policy Pract. 2014, 66, 75–87. [Google Scholar] [CrossRef]
- Jensen, P.A.; van der Voordt, T.J.M. Healthy Workplaces: What We Know and What Else We Need to Know. J. Cor-Porate Real Estate 2020, 22, 95–112. [Google Scholar] [CrossRef]
- Fidler, D.P. The Globalization of Public Health: The First 100 Years of International Health Diplomacy. Bull. World Health Organ. 2001, 79, 842–849. [Google Scholar] [CrossRef] [PubMed]
- Liu, X.; Huang, G.; Huang, H.; Wang, S.; Xiao, Y.; Chen, W. Safety Climate, Safety Behavior, and Worker Injuries in the Chinese Manufacturing Industry. Saf. Sci. 2015, 78, 173–178. [Google Scholar] [CrossRef]
- Felderer, M.; Ramler, R. Integrating Risk-Based Testing in Industrial Test Processes. Softw. Qual. J. 2014, 22, 543–575. [Google Scholar] [CrossRef]
- Tupa, J.; Simota, J.; Steiner, F. Aspects of Risk Management Implementation for Industry 4.0. Procedia Manuf. 2017, 11, 1223–1230. [Google Scholar] [CrossRef]
- Li, W.; Cao, Q.; He, M.; Sun, Y. Industrial Non-Routine Operation Process Risk Assessment Using Job Safety Analysis (JSA) and a Revised Petri Net. Process Saf. Environ. Prot. 2018, 117, 533–538. [Google Scholar] [CrossRef]
- Beus, J.M.; McCord, M.A.; Zohar, D. Workplace safety: A review and research synthesis. Organ. Psychol. Rev. 2016, 6, 352–381. [Google Scholar] [CrossRef]
- Fox, M.A.; Spicer, K.; Chosewood, L.C.; Susi, P.; Johns, D.O.; Dotson, G.S. Implications of Applying Cumulative Risk Assessment to the Workplace. Environ. Int. 2018, 115, 230–238. [Google Scholar] [CrossRef]
- Kirby, J.; Hassall, M.; Xu, X.; Armstrong, J. The Future of Risk Identification in a Rapidly Changing Sociotechnical Work Environment; I IS 978-1-925627-33-6 Paper No. 169; Chemeca: Sydney, Australia, 2019. [Google Scholar]
- Joyce, S.; Modini, M.; Christensen, H.; Mykletun, A.; Bryant, R.; Mitchell, P.B.; Harvey, S.B. Workplace Interventions for Common Mental Disorders: A Systematic Meta-Review. Psychol. Med. 2016, 46, 683–697. [Google Scholar] [CrossRef] [PubMed]
- Andrea, H.; Beurskens, A.J.H.M.; Metsemakers, J.F.M.; Van Amelsvoort, L.G.P.M.; Van Den Brandt, P.A.; Van Schayck, C.P. Health Problems and Psychosocial Work Environment as Predictors of Long Term Sickness Absence in Employees Who Visited the Occupational Physician and/or General Practitioner in Relation to Work: A Prospective Study. Occup. Environ. Med. 2003, 60, 295–300. [Google Scholar] [CrossRef] [PubMed]
- Skamagki, G.; King, A.; Duncan, M.; Wåhlin, C. A Systematic Review on Workplace Interventions to Manage Chronic Musculoskeletal Conditions. Physiother. Res. Int. 2018, 23, e1738. [Google Scholar] [CrossRef]
- Kim, T.K. CORR® International-Asia-Pacific: How to Resolve Conflicts with Patients and Prevent Workplace Violence. Clin. Orthop. Relat. Res. 2020, 478, 228–230. [Google Scholar] [CrossRef] [PubMed]
- Silva-Junior, J.S.d.; Fischer, F.M. Long-Term Sickness Absence Due to Mental Disorders Is Associated with Individual Features and Psychosocial Work Conditions. PLoS ONE 2014, 9, e115885. [Google Scholar] [CrossRef] [PubMed]
- Bahn, S. Workplace Hazard Identification and Management: The Case of an Underground Mining Operation. Saf. Sci. 2013, 57, 129–137. [Google Scholar] [CrossRef]
- Jule, J.G. Workplace Safety: A Strategy for Enterprise Risk Management. Workplace Health Saf. 2020, 68, 360–365. [Google Scholar] [CrossRef]
- Targoutzidis, A.; Antonopoulou, L.; Targoutzidis ELINYAE, A.; Lila Antonopoulou, G. A Multidimensional Approach to Modelling for Workplace Risk Assessment. Int. J. Occup. Saf. Ergon. 2015, 15, 373–384. [Google Scholar] [CrossRef] [PubMed][Green Version]
- Sugawara, E.; Nikaido, H. Workplace Hazard Identification: What Do People Know and How Is It Done? Antimicrob. Agents Chemother. 2014, 58, 7250–7257. [Google Scholar] [CrossRef]
- Gul, M.; Ak, M.F. A Comparative Outline for Quantifying Risk Ratings in Occupational Health and Safety Risk Assessment. J. Clean. Prod. 2018, 196, 653–664. [Google Scholar] [CrossRef]
- Zeqiri, K.; Kortnik, J.; Mijalkovski, S. Determination Of The Risk At Workplace, Assessment and Its Rank Calculation, In Mining Activities. GeoSci. Eng. 2020, 66, 69–75. [Google Scholar] [CrossRef][Green Version]
- Rout, B.K.; Sikdar, B.K. Hazard Identification, Risk Assessment, and Control Measures as an Effective Tool of Occupational Health Assessment of Hazardous Process in an Iron Ore Pelletizing Industry. Indian J. Occup. Environ. Med. 2017, 21, 56. [Google Scholar] [CrossRef] [PubMed]
- Griffiths, C.; Bowen, J.; Hinze, A. Investigating Wearable Technology for Fatigue Identification in the Workplace. In Lecture Notes in Computer Science (including subseries Lecture Notes in Artificial Intelligence and Lecture Notes in Bioinformatics), Proceedings of 16th IFIP Conference on Human-Computer Interaction; Springer: Bombay, India, 2017; Volume 10514 LNCS, pp. 370–380. [Google Scholar] [CrossRef]
- Seilerová, M. The Consequences of Psychosocial Risks in The Workplace in Legal Context. Cent. Eur. J. Labour Law Pers. Manag. 2019, 2, 47–60. [Google Scholar] [CrossRef][Green Version]
- Crawford, J.O.; Berkovic, D.; Erwin, J.; Copsey, S.M.; Davis, A.; Giagloglou, E.; Yazdani, A.; Hartvigsen, J.; Graveling, R.; Woolf, A. Musculoskeletal Health in the Workplace. Best Pract. Res. Clin. Rheumatol. 2020, 34, 101558. [Google Scholar] [CrossRef]
- Chia, G.; Lim, S.M.; Sng, G.K.J.; Hwang, Y.F.J.; Chia, K.S. Need for a New Workplace Safety and Health (WSH) Strategy for the Fourth Industrial Revolution. Am. J. Ind. Med. 2019, 62, 275–281. [Google Scholar] [CrossRef]
- Dimakakou, E.; Johnston, H.J.; Streftaris, G.; Cherrie, J.W. Exposure to Environmental and Occupational Particulate Air Pollution as a Potential Contributor to Neurodegeneration and Diabetes: A Systematic Review of Epidemiological Research. Int. J. Environ. Res. Public Health 2018, 15, 1704. [Google Scholar] [CrossRef] [PubMed]
- Artificial Intelligence-Enabled Wearable Medical Devices, Clinical and Diagnostic Decision Support Systems, and Internet of Things-Based Healthcare Applications in COVID-19 Prevention, Screening, and Treatment. Am. J. Med. Res. 2021, 8, 9. [CrossRef]
- Ergonomic Assessment Checklist Date Activity Assessed Risk Ratting (Circle One) Organization Point of Contact High Medium Low Personnel Observed BLDG NO/Location ROOM/AREA Ergonomic Assessment Checklist Risk Factors Yes No. Available online: https://www.osha.gov/sites/default/files/2018-12/fy14_sh-26336-sh4_Ergonomic-Assessment-Checklist.pdf (accessed on 20 July 2022).
- Davis, K.G.; Davis, K.G.; Kotowski, S.E. Understanding the Ergonomic Risk for Musculoskeletal Disorders in the United States Agricultural Sector. Am. J. Ind. Med. 2007, 50, 501–511. [Google Scholar] [CrossRef]
- Canadian Centre for Occupational Health and Safety. In CCOHS: Hazards; Wiley-Blackwell: Hoboken, NJ, USA, 2021.
- Zhang, W.; Swangnetr, M.; Bloom, P. Advances in Physical Ergonomics and Human Factors: Part I. Adv. Phys. Ergon. Hum. Factors 2014, 416. Available online: https://books.google.hu/books?hl=en&lr=&id=9olYBAAAQBAJ&oi=fnd&pg=PA313&dq=info:U7F4Q-XlwmcJ:scholar.google.com&ots=42cdmGH8Ee&sig=uP-mq3Eda8XxU9FIa2hry-dI81Y&redir_esc=y#v=onepage&q&f=false (accessed on 11 October 2022).
- Hales, T.R.; Bernard, B.P. Epidemiology of Work-Related Musculoskeletal Disorders. Orthop. Clin. North Am. 1996, 27, 679–709. [Google Scholar] [CrossRef]
- Kilbom, Å.; Armstrong, T.; Buckle, P.; Fine, L.; Hagberg, M.; Haring-Sveeney, M.; Martin, B.; Punnett, L.; Silverstein, B.; Sjøgaard, G.; et al. Musculoskeletal Disorders: Work-Related Risk Factors and Prevention. Int. J. Occup. Environ. Health 2013, 2, 239–246. [Google Scholar] [CrossRef]
- Niu, S. Ergonomics and Occupational Safety and Health: An ILO Perspective. Appl. Ergon. 2010, 41, 744–753. [Google Scholar] [CrossRef] [PubMed]
- Punnett, L.; Wegman, D.H. Work-Related Musculoskeletal Disorders: The Epidemiologic Evidence and the Debate. J. Electromyogr. Kinesiol. 2004, 14, 13–23. [Google Scholar] [CrossRef] [PubMed]
- Work-Related Musculoskeletal Disorders (WMSDs)—Risk Factors: OSH Answers. Available online: https://www.ccohs.ca/oshanswers/ergonomics/risk.html (accessed on 23 January 2022).
- Waters, T.R.; Putz-Anderson, V.; Garg, A.; Fine, L.J. Revised NIOSH Equation for the Design and Evaluation of Manual Lifting Tasks. Ergonomics 1993, 36, 749–776. [Google Scholar] [CrossRef] [PubMed]
- CCOHS. Working in a Standing Position—Basic Information: OSH Answers; 2014. Available online: https://www.ccohs.ca/oshanswers/ergonomics/standing/sit_stand.html (accessed on 21 July 2022).
- Gašová, M.; Gašo, M.; Štefánik, A. Advanced Industrial Tools of Ergonomics Based on Industry 4.0 Concept. Procedia Eng. 2017, 192, 219–224. [Google Scholar] [CrossRef]
- Chaffin, D.B. Ergonomics Occupational Biomechanics-a Basis for Workplace Design to Prevent Musculoskeletal Injuries Occupational Biomechanics-a Basis for Workplace Design to Prevent Musculoskeletal Injuries. Ergonomics 1987, 30, 321–329. [Google Scholar] [CrossRef]
- Arciniega-Rocha, R.P.; Erazo-Chamorro, V.C. Non-Powered Hand Tool Size Selection Method. In Mérnöki Szimpózium a Bánkin Előadásai: Proceedings of the Engineering Symposium at Bánki (ESB2021); Horváth, R., Ed.; Óbudai Egyetem: Budapest, Hungary, 2022; Volume 1, pp. 37–43. Available online: https://bgk.uni-obuda.hu/esb/system/files/file_upload/esb2021.pdf (accessed on 21 July 2022)ISBN 978-963-449-270-2.
- Luttmann Preventing Musculoskeletal Disorders in the Workplace. World Health Organ. Rep. Geneva 2003, 1–38lu. Available online: https://apps.who.int/iris/bitstream/handle/10665/42651/924159053X.pdf (accessed on 14 July 2022).
- Širca, N.T.; Babnik, K.; Breznik, K. The Relationship between Human Resource Development System and Job Satisfaction; 2012. Available online: http://www.issbs.si/press/ISBN/978-961-6813-10-5/papers/ML12_212.pdf (accessed on 27 March 2022).
- Erazo-Chamorro, V.C.; Arciniega-Rocha, R.P.; Szabo, G. Healthy and Safe Workplace Definition: A Friendly Boundary for a Complex Issue. In Proceedings of the Mérnöki Szimpózium a Bánkin Előadásai: Proceedings of the Engineering Symposium at Bánki (ESB2021), Online, 18 November 2021; Horváth, R., Lukács, J., Stadler, R.G., Eds.; Óbudai Egyetem: Budapest, Hungary, 2022; pp. 51–56. [Google Scholar]
- Babos, T. The Five Central Pillars of European Security; NATO Public Diplomacy Division, Brussels Strategic and Defense Research Center: Budapest, Hungary, 2007. [Google Scholar]
- Szabó, G.; Németh, E. Development an Office Ergonomic Risk Checklist: Composite Office Ergonomic Risk Assessment (CERA Office). In Proceedings of the Advances in Intelligent Systems and Computing; Springer: Cham, Switzerland, 2019; Volume 819, pp. 590–597. [Google Scholar] [CrossRef]






| Risk Identification | Tittle | Author | Explanation Method |
|---|---|---|---|
| Cumulative risk | “Implications of applying cumulative risk assessment to the workplace” [28]. | Mary Fox, Kristen Spicer et al. | Cumulative risk assessment (CRA) applied in phases: (i) Hazard identification. (ii) dose-response assessment (iii) exposure assessment. (iv) risk characterization |
| “The Future of Risk Identification in a Rapidly Changing Sociotechnical Work Environment” [29]. | Joann Kirby et al. | A risk frame created using a mixed methodology of theoretical knowledge and a survey | |
| “Workplace interventions for common mental disorders: a systematic meta-review” [30]. | Joyce Sadhbh, Modini Matthew, Helen Christensen et al. | Evaluate the workplace interventions that may facilitate the prevention, treatment, or rehabilitation of a worker with a diagnosis of depression or anxiety. | |
| “Health problems and psychosocial work environment as predictors of long-term sickness absence in employees who visited the occupational physician and/or general practitioner in relation to work: a prospective study” [31]. | Helene Andrea, Anna Beurskens et al. | Determine the relationship between the psychosocial work environment, health problems and incident long-term sickness. | |
| “A systematic review on workplace interventions to manage chronic musculoskeletal conditions” [32]. | Glykeria Skamagki, Andrew King et al. | Determine whether there are effective actions inside the workplace that reduce chronic musculoskeletal disorders. | |
| “How We Prevent Prevention of Musculoskeletal Disorders in the Workplace” [33]. | Kim Tae. | Examine the knowledge about the prevention of work-related musculoskeletal pain and musculoskeletal disorders. | |
| “Long-Term Sickness Absence Due to Mental Disorders Is Associated with Individual Features and Psychosocial Work Conditions” [34] | João Silvestre da Silva-Junior. | Evaluating workers on sick leave for more than 15 days as a result of disabling psychiatric illnesses. | |
| Latent risk | “Workplace hazard identification and management: The case of an underground mining operation “ [35]. | Susanne Bahn. | Uses the findings from two workshops conducted with 77 employees applying research methodology. |
| “Workplace Safety: A Strategy for Enterprise Risk Management” [36]. | Janet Jule. | Use leadership to increase accountability and reduce injury risks, planning to improve workplace safety by preventing injuries such as overexertion and contact with objects. | |
| “A Multidimensional Approach to Modelling for Workplace Risk Assessment” [37]. | Antonis Targoutzidis et al. | Use tags for accident, human error and risk perception models. | |
| “Workplace hazard identification: What do people know and how is it done?” [38]. | Maciej Serda et al. | Based on two hazard identification and hazard management training workshops to teach workers | |
| “A comparative outline for quantifying risk ratings in occupational health and safety risk assessment” [39]. | Muhammet Gul. | PFAHP is used in weighting the risk parameters of 5 × 5 matrix method. | |
| “Determination of the risk at workplace, assessmentAnd its rank calculation, in mining activities” [40]. | Zeqiri, KemajlKortnik, JozeMijalkovski. | Evaluate the risk in the workplace caused by a particular agent through rank through empirical formulas. | |
| “Hazard Identification, Risk Assessment, and Control Measures as an Effective Tool of Occupational Health Assessment of Hazardous Process in an Iron Ore Pelletizing Industry” [41]. | B. Rout and B. Sikdar. | Identify all the possible hazards in workplaces of an iron ore pelletizing industry to make a health risk assessment. | |
| “Investigating Wearable Technology for Fatigue Identification in the Workplace” [42]. | Griffiths, ChristopherBowen, JudyHinze, Annika. | Compilation of psychological data collected from wearable systems to determine how the individual performs tasks in the workplace. | |
| “The Consequences Of Psychosocial Risks In The Workplace In Legal Context” [43]. | Seilerová Monika. | Determine the need for the legal regulation of mental workload and the increasing effects of its shortcomings. | |
| “Musculoskeletal health in the workplace” [44]. | Joanne Crawford. | Determine the changes produced by chronic MSK conditions from 2000 and how we can help people with these conditions to recover after suffering the condition. | |
| “Need for a new workplace safety and health (WSH) strategy for the fourth Industrial Revolution” [45]. | Gabriel Chia et al. | To promote a total Worker Health responsive approach in the face of rapid technological advancements | |
| “Exposure to Environmental and Occupational Particulate Air Pollution as a Potential Contributor to Neurodegeneration and Diabetes: A Systematic Review of Epidemiological Research” [46]. | Eirini Dimakakou et al. | Identify the link and mechanisms associated with particulate exposure and disease pathogenesis. | |
| “Artificial Intelligence-enabled Wearable Medical Devices, Clinical and Diagnostic Decision Support Systems, and Internet of Things-based Healthcare Applications in COVID-19 Prevention, Screening, and Treatment” [47]. | Barnes Robin, Zvarikova, Katarina. | Use machine learning algorithms to optimize diagnostic swiftness and precision to identify the most vulnerable individuals |
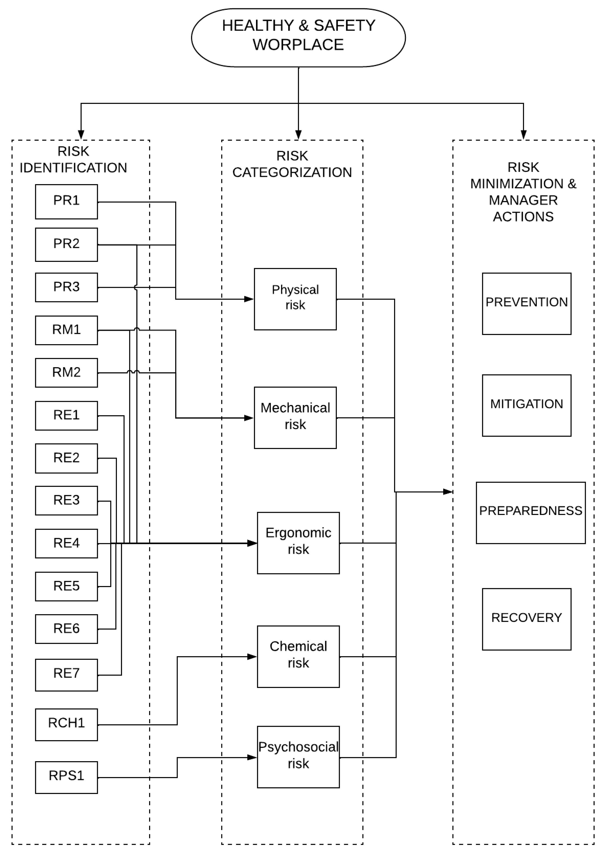
| LEADING RISK FACTORS RELATED TO MUSCULOSKELETAL DISORDERS | |||
|---|---|---|---|
| Classification/Code | Cause | Effect | Example |
| RP1 | Application of big efforts | Critical overloading | Carrying, pushing or pulling, lifting heavy objects |
| RP2 and RE1 | Moving weighty loads during long periods of time. | Degenerative diseases particularly in the lumbar spine | Manual materials manipulation |
| RM1 and RP3 | Repeated movements during handling of objects | Fatigue and Overload in specific muscles | Assembly work, check-out work, a long time typing |
| RE3 | Working in unergonomic posture | Overload of skeletal and muscular system | Working with the trunk, or hands or arms heavily bent or twisted |
| RE4 | Load by static muscular | Long-lasting muscular activity [keeping the static position] and possible overload in specific muscles | Working in a limited space |
| RE5 | Muscular inactivity | Decrease in functional capacity of tendons, muscles and bones | Long-term sitting work with short muscular demands |
| RM1 RE6 | Monotonous repetitive movement | Unspecific complaints in the extremities | Repeated activity the same muscles with pauses without relaxation |
| RM2 | Constant vibration | Dysfunction of nerves, reduced blood flow, degenerative disorders, and psychological disorders caused by stress | Manipulating a machine with annoying vibration or using vibrating hand tools. |
| RE7 | Physical environmental aspects: light, sounds, temperature, etc. | Damage to the sensory organs of the worker, diseases in the sensory nervous system, and psychological disorders caused by stress. | Work with improperly light, noisy environment, uncomfortable temperature, etc. |
| RCH1 | Exposure to chemicals products or factors in the workplace. | Burn, injury or permanent illness. | Direct contact with a specific chemical product can produce injury or illness. |
| RPS1 | Physical and social outcomes such as work-related stress, burnout or depression. | Stress, Depression. | Poor communication between manager and workers |
| Identified Risk | Number of Appearances | Cited Research |
|---|---|---|
| Mechanical risk | 7 | [30,31,32,34,37,39,40] |
| Physical risk | 13 | [27,28,31,32,34,35,36,38,40,41,43,45,46] |
| Chemical risk | 3 | [34,38,40] |
| Ergonomic risk | 18 | [27,28,29,30,31,32,33,35,36,38,39,40,41,42,43,44,45,46] |
| Psychosocial risk | 3 | [30,33,42] |
| INJURY/ILLNESS POSSIBLE CAUSES | ||||
|---|---|---|---|---|
| Injury or illness | Cuts, abrasions, amputations, and punctures on human body | Stress on muscles and ligaments. Numbness, or poor circulation in hands and arms. | Eye injuries | Broken bones and bruises |
| Probable cause | When hand tools are designed to cut or move metal and wood it can cut easily the body parts | Repetitive activity, in the same posture, using the same tool during the labor period. | Material waste flying as chips of wood or metal cause often momently or permanent blindness | Strokes or slips during the worker is holding a tool |
Publisher’s Note: MDPI stays neutral with regard to jurisdictional claims in published maps and institutional affiliations. |
© 2022 by the authors. Licensee MDPI, Basel, Switzerland. This article is an open access article distributed under the terms and conditions of the Creative Commons Attribution (CC BY) license (https://creativecommons.org/licenses/by/4.0/).
Share and Cite
Erazo-Chamorro, V.C.; Arciniega-Rocha, R.P.; Rudolf, N.; Tibor, B.; Gyula, S. Safety Workplace: The Prevention of Industrial Security Risk Factors. Appl. Sci. 2022, 12, 10726. https://doi.org/10.3390/app122110726
Erazo-Chamorro VC, Arciniega-Rocha RP, Rudolf N, Tibor B, Gyula S. Safety Workplace: The Prevention of Industrial Security Risk Factors. Applied Sciences. 2022; 12(21):10726. https://doi.org/10.3390/app122110726
Chicago/Turabian StyleErazo-Chamorro, Vanessa C., Ricardo P. Arciniega-Rocha, Nagy Rudolf, Babos Tibor, and Szabo Gyula. 2022. "Safety Workplace: The Prevention of Industrial Security Risk Factors" Applied Sciences 12, no. 21: 10726. https://doi.org/10.3390/app122110726
APA StyleErazo-Chamorro, V. C., Arciniega-Rocha, R. P., Rudolf, N., Tibor, B., & Gyula, S. (2022). Safety Workplace: The Prevention of Industrial Security Risk Factors. Applied Sciences, 12(21), 10726. https://doi.org/10.3390/app122110726

