Test Suite Prioritization Based on Optimization Approach Using Reinforcement Learning
Abstract
:1. Introduction
- A four-fold methodology of test suite prioritization based on reinforcement learning.
- Regression testing tool for android applications based on the real-time interaction of users and testers with the application.
- Automatic test suite prioritization based on Q-Agent.
- Five case study applications, including health care, intelligent vehicle assistance system (IVAS), real estate case study, mobile shop POS, and jobs portal.
- Fault seeding-based approach for the validation of the proposed RL model.
2. Related Work
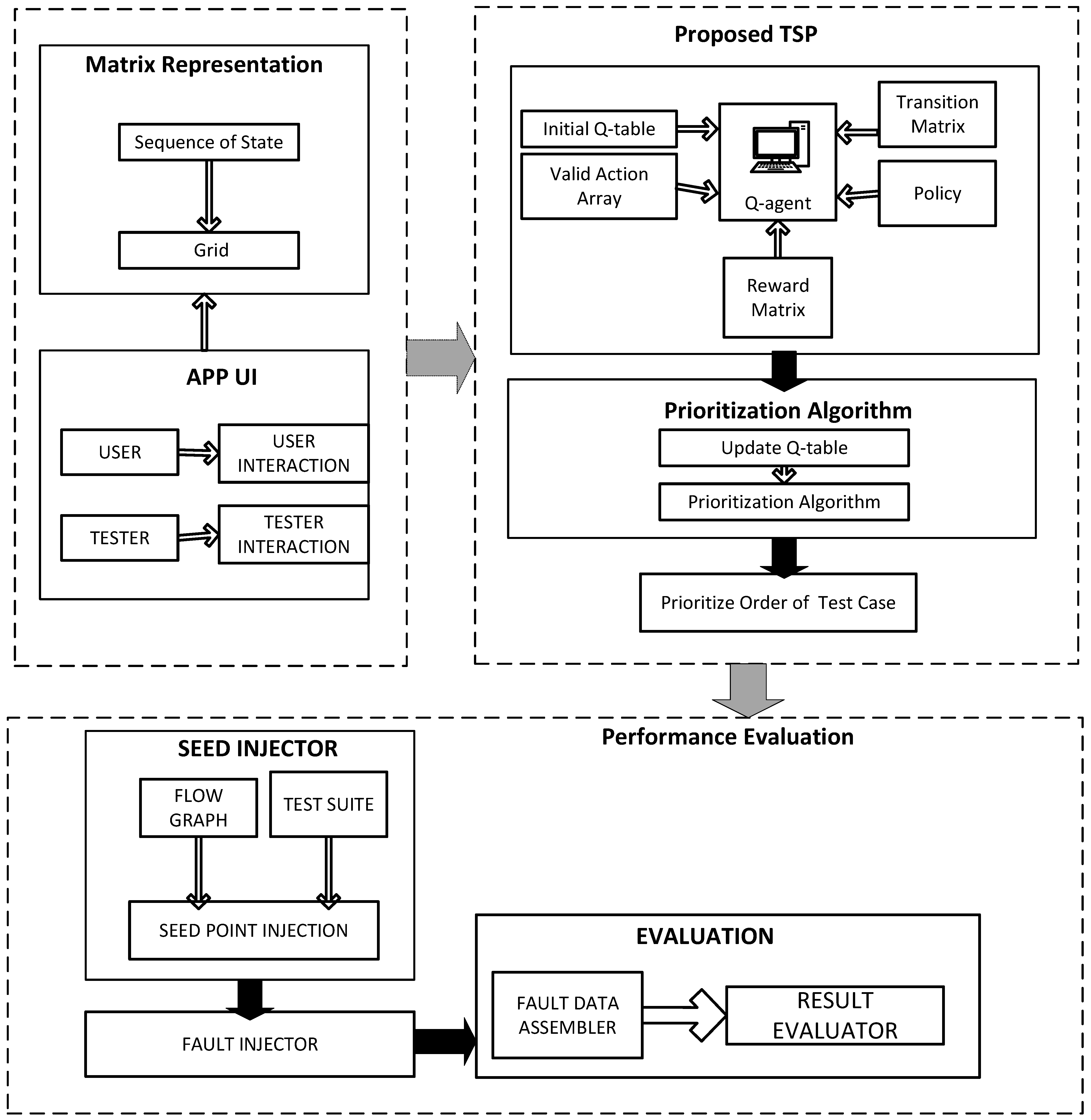
3. Materials and Methods
| Algorithm 1 The proposed learning algorithm for test suite selection. |
Input: Initial Q-Table, Valid Action Array, Reward Matrix, Transition Matrix, Policy, and testing environment matrix. Output: Updated Q-Table. function getvalidaction(current-state) action=random.choice(valid-actions[current-state]) IF action = (−1): getvalidaction(current-state); ENDIF RETURN action end function for all episode i in 1000 episodes: do start-state=0 current-state=start-state while current-state!=goalstate: do action=getvalidaction(current-state) next-state=transition-matrix[current-state][action] future-rewards=[] for all action-next in valid-actions[next-state]: do Add to future-rewards q-matrix[next-state][action-next]) q-state=reward[current-state][action]+gamma*max(future-rewards) q-matrix[current-state][action]=q-state current-state=next-state end for end while end for OUTPUT q-matrix |
| Algorithm 2 The Sequence extraction algorithm. |
Input: Updated Q-Table and testing environment matrix Output: Sequence of states with highest future reward while do for all c do start from state n, select action highest reward Perform action on the testing environment matrix and move to the next state update n variable to the next state n = Next State end for m = m + 1 end while Output: print A[m] |
| Algorithm 3 The proposed prioritization algorithm. |
Input: Highest future reward sequence and test suite T Output: prioritized order test-suit for all Ti ∈ L do S[similarity]=compute similarity index of Ti S[Length]=Length of Ti sort S by similarity DESC for all k ∈ S do if similarity S[k]==similarity of S[k + 1] swap item of S with maximum length first end for end for Output: Print hash table S |
4. Results and Discussion
4.1. TSP Example as Proof of Concept
- Valid actions are (Up = 0), (Down = 1), (Left = 2), (Right = 3) and (NA = 4).
- −1 represents invalid actions that the agent cannot perform and restricts the agent while programming the agent to avoid −1.
4.2. Performance Analysis
- Health care case study.
- Intelligent vehicle assistance system (IVAS).
- Real estate case study.
- Mobile shop POS app.
- Jobs portal case study.
4.3. Significance and Comparison
The Threats to the Validity
5. Conclusions
Author Contributions
Funding
Conflicts of Interest
References
- Abid, R.; Nadeem, A. A novel approach to multiple criteria based test case prioritization. In Proceedings of the 2017 13th International Conference on Emerging Technologies (ICET), Islamabad, Pakistan, 27–28 December 2017; IEEE: Piscataway, NJ, USA, 2017; pp. 1–6. [Google Scholar]
- Khatibsyarbini, M.; Isa, M.A.; Jawawi, D.N.; Tumeng, R. Test case prioritization approaches in regression testing: A systematic literature review. Inf. Softw. Technol. 2017, 93, 74–93. [Google Scholar] [CrossRef]
- Ammar, A.; Baharom, S.; Ghani, A.A.A.; Din, J. Enhanced Weighted Method for Test Case Prioritization in Regression Testing Using Unique Priority Value. In Proceedings of the 2016 International Conference on Information Science and Security (ICISS), Pattaya, Thailand, 19–22 December 2016; IEEE: Piscataway, NJ, USA, 2016; pp. 1–6. [Google Scholar]
- Konsaard, P.; Ramingwong, L. Using artificial bee colony for code coverage based test suite prioritization. In Proceedings of the 2015 2nd International Conference on Information Science and Security (ICISS), Seoul, Korea, 14–16 December 2015; IEEE: Piscataway, NJ, USA, 2015; pp. 1–4. [Google Scholar]
- Rosero, R.H.; Gómez, O.S.; Rodríguez, G. Regression Testing of Database Applications Under an Incremental Software Development Setting. IEEE Access 2017, 5, 18419–18428. [Google Scholar] [CrossRef]
- Hemmati, H.; Fang, Z.; Mantyla, M.V. Prioritizing manual test cases in traditional and rapid release environments. In Proceedings of the 2015 IEEE 8th International Conference on Software Testing, Verification and Validation (ICST), Graz, Austria, 13–17 April 2015; IEEE: Piscataway, NJ, USA, 2015; pp. 1–10. [Google Scholar]
- Knauss, E.; Staron, M.; Meding, W.; Söder, O.; Nilsson, A.; Castell, M. Supporting continuous integration by code-churn based test selection. In Proceedings of the Second International Workshop on Rapid Continuous Software Engineering, Florence, Italy, 23 May 2015; IEEE Press: Piscataway, NJ, USA, 2015; pp. 19–25. [Google Scholar]
- Nagar, R.; Kumar, A.; Singh, G.P.; Kumar, S. Test case selection and prioritization using cuckoos search algorithm. In Proceedings of the 2015 International Conference on Futuristic Trends on Computational Analysis and Knowledge Management (ABLAZE), Noida, India, 25–27 February 2015; IEEE: Piscataway, NJ, USA, 2015; pp. 283–288. [Google Scholar]
- Khan, S.U.R.; Lee, S.P.; Parizi, R.M.; Elahi, M. A code coverage-based test suite reduction and prioritization framework. In Proceedings of the 2014 Fourth World Congress on Information and Communication Technologies (WICT), Malacca, Malaysia, 8–11 December 2014; IEEE: Piscataway, NJ, USA, 2014; pp. 229–234. [Google Scholar]
- Saifan, A.A. Test Case Reduction Using Data Mining Classifier Techniques. JSW 2016, 11, 656–663. [Google Scholar] [CrossRef] [Green Version]
- Huang, R.; Zong, W.; Chen, J.; Towey, D.; Zhou, Y.; Chen, D. Prioritizing Interaction Test Suites Using Repeated Base Choice Coverage. In Proceedings of the 2016 IEEE 40th Annual Computer Software and Applications Conference (COMPSAC), Atlanta, GA, USA, 10–14 June 2016; IEEE: Piscataway, NJ, USA, 2016; pp. 174–184. [Google Scholar]
- Morozov, A.; Ding, K.; Chen, T.; Janschek, K. Test Suite Prioritization for Efficient Regression Testing of Model-Based Automotive Software. In Proceedings of the 2017 International Conference on Software Analysis, Testing and Evolution (SATE), Harbin, China, 3–4 November 2017; IEEE: Piscataway, NJ, USA, 2017; pp. 20–29. [Google Scholar]
- Muzammal, M. Test-Suite Prioritisation by Application Navigation Tree Mining. In Proceedings of the 2016 International Conference on Frontiers of Information Technology (FIT), Islamabad, Pakistan, 19–21 December 2016; IEEE: Piscataway, NJ, USA, 2016; pp. 205–210. [Google Scholar]
- Saha, R.K.; Zhang, L.; Khurshid, S.; Perry, D.E. An information retrieval approach for regression test prioritization based on program changes. In Proceedings of the 37th International Conference on Software Engineering, Florence, Italy, 16–24 May 2015; IEEE Press: Piscataway, NJ, USA, 2015; Volume 1, pp. 268–279. [Google Scholar]
- Spieker, H.; Gotlieb, A.; Marijan, D.; Mossige, M. Reinforcement learning for automatic test case prioritization and selection in continuous integration. In Proceedings of the 26th ACM SIGSOFT International Symposium on Software Testing and Analysis, Santa Barbara, CA, USA, 10–14 June 2017; ACM: New York, NY, USA, 2017; pp. 12–22. [Google Scholar]
- Iqbal, N.; Kim, D.H. Iot task management mechanism based on predictive optimization for efficient energy consumption in smart residential buildings. Energy Build. 2022, 257, 111762. [Google Scholar]
- Imran, M.; Zaman, U.; Imtiaz, J.; Fayaz, M.; Gwak, J. Comprehensive survey of iot, machine learning, and blockchain for health care applications: A topical assessment for pandemic preparedness, challenges, and solutions. Electronics 2021, 10, 2501. [Google Scholar] [CrossRef]
- Kim, D.H. Artificial intelligence-based Modeling Mechanisms for Material Analysis and Discovery. J. Intell. Pervasive Soft Comput. 2022, 1, 10–15. [Google Scholar]
- Qayyum, F.; Kim, D.H.; Bong, S.J.; Chi, S.Y.; Choi, Y.H. A Survey of Datasets, Preprocessing, Modeling Mechanisms, and Simulation Tools Based on AI for Material Analysis and Discovery. Materials 2022, 15, 1428. [Google Scholar]
- Jamil, F.; Kim, D. An ensemble of prediction and learning mechanism for improving accuracy of anomaly detection in network intrusion environments. Sustainability 2021, 13, 10057. [Google Scholar]
- Zaman, U.; Mehmood, F.; Iqbal, N.; Kim, J.; Ibrahim, M. Towards Secure and Intelligent Internet of Health Things: A Survey of Enabling Technologies and Applications. Electronics 2022, 11, 1893. [Google Scholar] [CrossRef]
- Lachmann, R.; Schulze, S.; Nieke, M.; Seidl, C.; Schaefer, I. System-Level Test Case Prioritization Using Machine Learning. In Proceedings of the 2016 15th IEEE International Conference on Machine Learning and Applications (ICMLA), Anaheim, CA, USA, 18–20 December 2016; IEEE: Piscataway, NJ, USA, 2016; pp. 361–368. [Google Scholar]
- De Oliveira Paiva, É.; Guelpeli, M.V.C. Improvement of Q-Learning Algorithm Convergence with Intelligent Tutoring Systems and Tabu Search. Int. J. Mod. Educ. Res. 2016, 3, 1–5. [Google Scholar]
- Hwang, K.S.; Lin, J.L.; Yeh, K.H. Learning to adjust and refine gait patterns for a biped robot. IEEE Trans. Syst. Man, Cybern. Syst. 2015, 45, 1481–1490. [Google Scholar] [CrossRef]
- Sun, C. Fundamental Q-learning Algorithm in Finding Optimal Policy. In Proceedings of the 2017 International Conference on Smart Grid and Electrical Automation (ICSGEA), Changsha, China, 27–28 May 2017; IEEE: Piscataway, NJ, USA, 2017; pp. 243–246. [Google Scholar]
- Chen, J.; Zhu, L.; Chen, T.Y.; Towey, D.; Kuo, F.C.; Huang, R.; Guo, Y. Test case prioritization for object-oriented software: An adaptive random sequence approach based on clustering. J. Syst. Softw. 2018, 135, 107–125. [Google Scholar] [CrossRef]
- Khan, T.A.; Muzammal, M.; Ijaz, A. On effectiveness of fault-seeding using interaction patterns. In Proceedings of the 2015 13th International Conference on Frontiers of Information Technology (FIT), Islamabad, Pakistan, 14–16 December 2015; IEEE: Piscataway, NJ, USA, 2015; pp. 119–124. [Google Scholar]
- Kooli, M.; Bosio, A.; Benoit, P.; Torres, L. Software testing and software fault injection. In Proceedings of the DTIS: Design and Technology of Integrated Systems in Nanoscale Era, Napoli, Italy, 21–23 April 2015. [Google Scholar]
- Voas, J.M.; Miller, K.W. Using fault injection to assess software engineering standards. In Proceedings of the Software Engineering Standards Symposium, 1995.(ISESS’95)’Experience and Practice’, Proceedings., Second IEEE International, Montreal, QC, Canada, 21–25 August 1995; IEEE: Washington, DC, USA, 1995; pp. 139–145. [Google Scholar]
- Yin, L.; Ri-huang, Y.; Jian-wei, B.; Chun-hui, Y. Research on a Software Fault Injection Model Based on Program Mutation. In Proceedings of the 2015 2nd International Conference on Information Science and Control Engineering (ICISCE), Shanghai, China, 24–26 April 2015; IEEE: Piscataway, NJ, USA, 2015; pp. 419–423. [Google Scholar]
- Elanthiraiyan, N.; Arumugam, C. Parallelized ACO algorithm for regression testing prioritization in hadoop framework. In Proceedings of the 2014 International Conference on Advanced Communication Control and Computing Technologies (ICACCCT), Ramanathapuram, India, 8–10 May 2014; IEEE: Piscataway, NJ, USA, 2014; pp. 1568–1571. [Google Scholar]
- Wong, W.E.; Horgan, J.R.; London, S.; Agrawal, H. A study of effective regression testing in practice. In Proceedings of the PROCEEDINGS The Eighth International Symposium On Software Reliability Engineering, Albuquerque, NM, USA, 2–5 November 1997; IEEE: Piscataway, NJ, USA, 1997; pp. 264–274. [Google Scholar]
- Malhotra, R.; Kaur, A.; Singh, Y. A regression test selection and prioritization technique. J. Inf. Process. Syst. 2010, 6, 235–252. [Google Scholar] [CrossRef] [Green Version]
- Upadhyay, A.K.; Misra, A. Prioritizing test suites using clustering approach in software testing. Int. J. Soft Comput. Eng. IJSCE 2012, 2, 222–226. [Google Scholar]
- SivaPrasad, M. An Efficient Regression Testing By Computing Coverage Data For Software Evolution. Int. J. Comput. Sci. Inform. 2012, 1, 7. [Google Scholar] [CrossRef]
- Li, Z.; Harman, M.; Hierons, R.M. Search algorithms for regression test case prioritization. IEEE Trans. Softw. Eng. 2007, 33, 225–237. [Google Scholar] [CrossRef] [Green Version]
- Zhongsheng, Q. Test case generation and optimization for user session-based web application testing. J. Comput. 2010, 5, 1655–1662. [Google Scholar]
- Nachiyappan, S.; Vimaladevi, A.; SelvaLakshmi, C. An evolutionary algorithm for regression test suite reduction. In Proceedings of the 2010 International Conference on Communication and Computational Intelligence (INCOCCI), Erode, India, 27–29 December 2010; IEEE: Piscataway, NJ, USA, 2010; pp. 503–508. [Google Scholar]
- Kaur, A.; Goyal, S. A genetic algorithm for fault based regression test case prioritization. Int. J. Comput. Appl. 2011, 32, 975–8887. [Google Scholar]
- De Souza, L.S.; Prudencio, R.B.; Barros, F.d.A. A hybrid binary multi-objective particle swarm optimization with local search for test case selection. In Proceedings of the 2014 Brazilian Conference on Intelligent Systems, Sao Paulo, Brazil, 18–22 October 2014; IEEE: Piscataway, NJ, USA, 2014; pp. 414–419. [Google Scholar]
- Xu, Z.; Gao, K.; Khoshgoftaar, T.M. Application of fuzzy expert system in test case selection for system regression test. In Proceedings of the IRI-2005 IEEE International Conference on Information Reuse and Integration, Las Vegas, NV, USA, 15–17 August 2005; IEEE: Piscataway, NJ, USA, 2005; pp. 120–125. [Google Scholar]
- Haider, A.A.; Rafiq, S.; Nadeem, A. Test suite optimization using fuzzy logic. In Proceedings of the 2012 International Conference on Emerging Technologies, Bucharest, Romania, 19–21 September 2012; IEEE: Piscataway, NJ, USA, 2012; pp. 1–6. [Google Scholar]





| S.No | Methodology | TSM | TSP | Test Suite Selection Criterion | Software Platform Developed | AI-Based Model | Optimization | Relative Demerits |
|---|---|---|---|---|---|---|---|---|
| 1 | Modification based approach [32] | yes | Yes | Correlation index based on FDE and CC | No | No | No | Both techniques can give good results |
| 2 | Identify the code lines affected by the modification [33] | No | Yes | Yes | No | No | Proposed TSP approach can identify errors and test suite is prioritize test suites. | |
| 3 | Analysis based on 9 mechanisms [34] | No | Yes | Fault detection percentage | yes | Yes | No | Optimization based TSP performs better. |
| 4 | Coverage data [35] | Yes | No | Analyzing dataflows and tracking executions | Yes | No | No | Regression tests are reduced, but no test suites are prioritized. |
| 5 | Integration of 5 algorithms [36] | No | Yes | CC | No | Yes | Yes | GA perform well, while greedy approaches are surprisingly effective |
| 6 | Methodology based on ReduceUSession and GA [37] | No | Yes | Finding traces from user session data and selection using GA | No | yes | Yes | Decrease execution time but no increase in fault detection rate. |
| 7 | CC and fitness function [38] | Yes | No | CC and runtime of test cases | No | yes | Yes | Proof of concepts on 3 projects, performance analysis shows an increase in the granularity of fitness function, leading to TSM. |
| 8 | Mean percentage of fault detection rate [39] | No | Yes | CC and Runtime | Yes | yes | Yes | Applied to 5 case studies, the fault detection rate was improved. |
| 9 | Partial CC [39] | path building and optimal path selection. | yes | Yes | Solve the triangle problem and reduces test suite. | |||
| 10 | Multi-objective optimization [40] | No | Yes | Requirement coverage and cost | No | yes | Yes | Minimize the cost and maximize the coverage |
| 11 | Fuzzy system [41] | No | Yes | selection based on defects and test coverage | Yes | Yes | No | Case studies based on the GSM test database and the proposed defects detection rate in a short time. |
| 12 | Optimization and fuzzy logic-based expert system [42] | Yes | No | Selection based on performance, throughput and CC. | No | Yes | Yes | The proposed expert system is best suited for multi-objective optimization based on test suite reduction. |
| Test Case No. | Sequence |
|---|---|
| 1 | S0, S1. |
| 2 | S0, S1, S5. |
| 3 | S0, S2, S6. |
| 4 | S0, S1, S4, S10. |
| 5 | S0, S1, S5, S10. |
| 6 | S0, S3, S8, S10. |
| Test Case No. | Sequence |
|---|---|
| 1 | S0, S1. |
| 2 | S0, S1, S5. |
| 3 | S0, S2, S7, S10. |
| 4 | S0, S3. |
| 5 | S0, S1, S4, S10. |
| 6 | S0, S3, S9, S10. |
| 7 | S0, S2, S7. |
| 8 | S0, S1, S5, S10. |
| 9 | S0, S3. |
| 10 | S0, S3, S8, S10. |
| S0 | S1 | S2 | S3 |
| S4 | S5 | S6 | S7 |
| S8 | S9 | S10 | Block |
| State/Actions | 0 | 1 | 2 | 3 | 4 |
|---|---|---|---|---|---|
| S0 | 0 | 74.6889 | 0 | 83.6889 | 65.9511 |
| S1 | 0 | 92.1111 | 67.9511 | 76.3111 | 72.6889 |
| S2 | 0 | 82.8889 | 74.6889 | 69.1111 | 65.3111 |
| S3 | 0 | 73.8889 | 67.3111 | 0 | 58.1111 |
| S4 | 67.9511 | 61.1111 | 0 | 92.1111 | 72.6889 |
| S5 | 83.6889 | 113.889 | 74.6889 | 82.8889 | 90.1111 |
| S6 | 76.3111 | 141.111 | 92.1111 | 73.8889 | 111.889 |
| S7 | 60.1111 | 0 | 0 | 91.1111 | 71.8889 |
| S8 | 74.6889 | 0 | 0 | 113.889 | 90.1111 |
| S9 | 92.1111 | 0 | 61.1111 | 141.111 | 111.889 |
| S10 | 82.8889 | 0 | 113.889 | 0 | 90.1111 |
| Test Case No. | Sequence | Similarity |
|---|---|---|
| 5 | S0, S1, S5, S10. | 1.0 |
| 4 | S0, S1, S4, S10. | 0.6 |
| 2 | S0, S1, S5. | 0.6 |
| 6 | S0, S3, S8, S10. | 0.4 |
| 1 | S0, S1. | 0.4 |
| 3 | S0, S2, S6. | 0.2 |
| App | Nos. of Test Cases | Nos. of App Users | Test Sequence’ Avg Length | User Sequence Avg Length |
|---|---|---|---|---|
| Health Care Case Study | 123 | 35 | 9 | 13 |
| IVAS Case Study | 155 | 40 | 11 | 15 |
| Real Estate Case Study | 131 | 30 | 11 | 14 |
| Mobile Shop POS Case Study | 87 | 40 | 9 | 15 |
| Jobs portal Case Study | 106 | 35 | 8 | 11 |
| Class of Errors | Percentage |
|---|---|
| Computational | 13 |
| Initialization | 12 |
| Interface | 23 |
| Data | 22 |
| Logic/Control | 30 |
Publisher’s Note: MDPI stays neutral with regard to jurisdictional claims in published maps and institutional affiliations. |
© 2022 by the authors. Licensee MDPI, Basel, Switzerland. This article is an open access article distributed under the terms and conditions of the Creative Commons Attribution (CC BY) license (https://creativecommons.org/licenses/by/4.0/).
Share and Cite
Waqar, M.; Imran; Zaman, M.A.; Muzammal, M.; Kim, J. Test Suite Prioritization Based on Optimization Approach Using Reinforcement Learning. Appl. Sci. 2022, 12, 6772. https://doi.org/10.3390/app12136772
Waqar M, Imran, Zaman MA, Muzammal M, Kim J. Test Suite Prioritization Based on Optimization Approach Using Reinforcement Learning. Applied Sciences. 2022; 12(13):6772. https://doi.org/10.3390/app12136772
Chicago/Turabian StyleWaqar, Muhammad, Imran, Muhammad Atif Zaman, Muhammad Muzammal, and Jungsuk Kim. 2022. "Test Suite Prioritization Based on Optimization Approach Using Reinforcement Learning" Applied Sciences 12, no. 13: 6772. https://doi.org/10.3390/app12136772
APA StyleWaqar, M., Imran, Zaman, M. A., Muzammal, M., & Kim, J. (2022). Test Suite Prioritization Based on Optimization Approach Using Reinforcement Learning. Applied Sciences, 12(13), 6772. https://doi.org/10.3390/app12136772

