The Usage of the Harmony Search Algorithm for the Optimal Design Problem of Reinforced Concrete Retaining Walls
Abstract
1. Introduction
- The most important parameters that can be effective for both safety and cost have been handled unprecedentedly by using a very wide parameter network for the design of RC-retaining walls.
- Both individual and dual effects of influencer design parameters are investigated.
- Results of the optimization analyses are compared by interpretations against the traditional pre-design method.
- Verification of the suggested solution method is conducted with a well-known geotechnical design software and the practicality of the usage of the HS algorithm is emphasized in terms of geotechnical engineering.
2. Stability Analysis Relating to the Design of RC-Retaining Walls
3. Harmony Search (HS)
3.1. Design Variables
3.2. Design Constraints
3.3. Objective Function
4. Design Examples of Cantilever RC-Retaining Walls
- Investigation of the effects of variables on costs (Case 1).
- Investigation of the effects of variables on dimensions of the wall (Case 2).
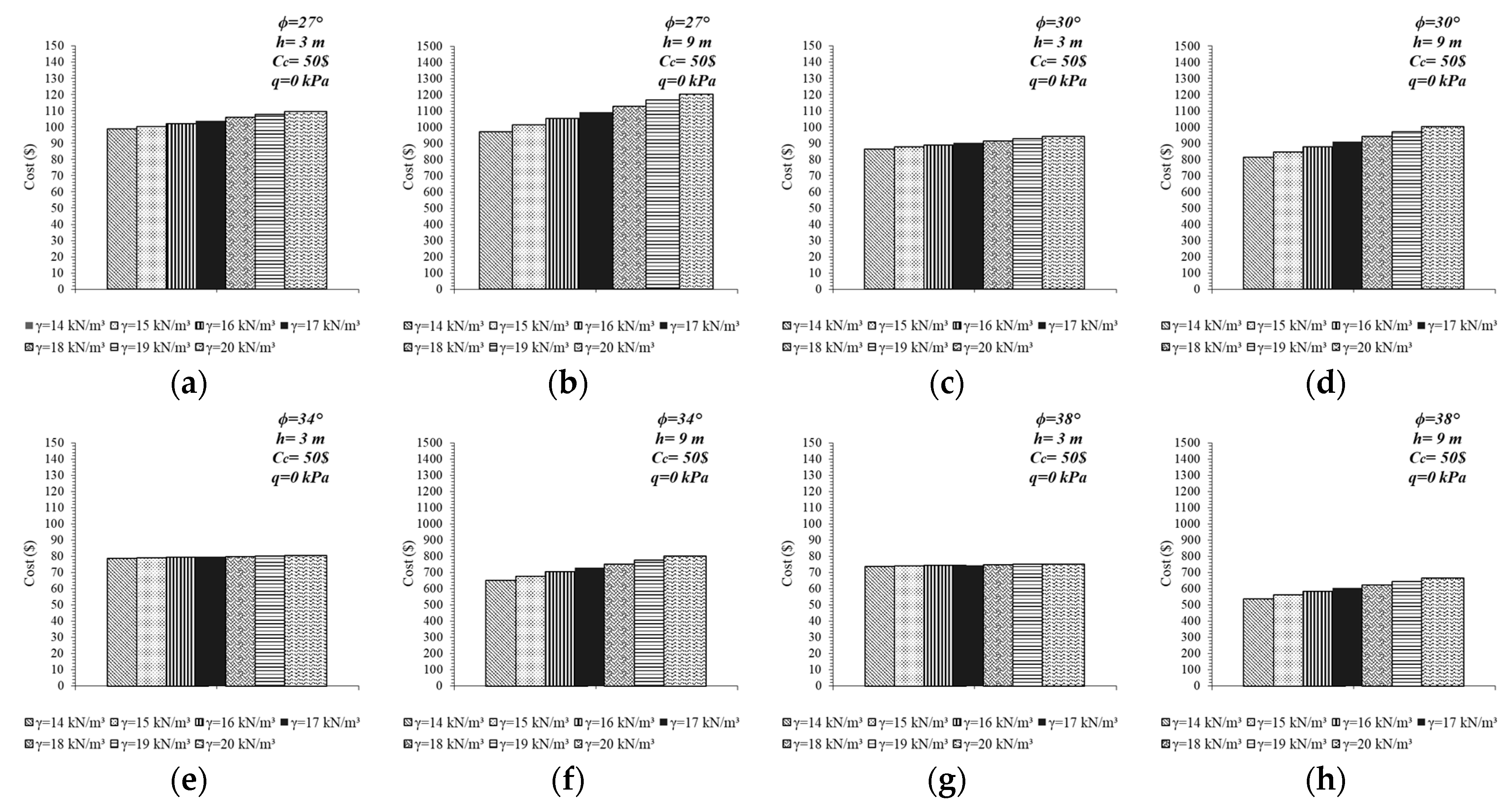
4.1. Numerical Cost Analysis of Cantilever Reinforced Concrete Retaining Walls (Case 1)
4.1.1. Investigation of the Influence of Excavation Depth Change (Case 1A)
4.1.2. Investigation of the Influence of Soil Property Change (Case 1B)
4.1.3. Investigation of the Influence of Surcharge Loading Condition Change (Case 1C)
4.1.4. Investigation of the Influence of Unit Cost of Concrete Change (Case 1D)
4.2. Numerical Dimension Analyses of Cantilever RC-Retaining Walls (Case 2)
4.2.1. Investigation of the Influence of Excavation Depth Change (Case 2A)
4.2.2. Investigation of the Influence of Soil Property Change (Case 2B)
4.2.3. Investigation of the Influence of Surcharge Loading Condition Change (Case 2C)
4.2.4. Investigation of the Influence of Concrete Cost Change (Case 2D)
4.3. Numerical Analysis with Geo5 Software
5. Conclusions
- For the fictionalized cases, the increase of soil strength properties leads to a decrease in the costs, and maybe after a limit value of friction angle, the necessity of constructing a wall system is disappeared.
- The increase of the surcharge load causes to increase in the total cost of retaining walls, but the degree of this increase remains low for shallow excavation depths.
- The increase of the surcharge load raises costs for selected unit weights, but with the rise of ultimate bearing pressure to a limit level the costs remain constant.
- The increase of foundation depth widens the foundation base width for all the selected cases due to the increase of unbalanced active forces. In such a case, the maximum costs are achieved for the biggest friction angles.
- The increase of concrete costs is cost-effective for the condition in which the soil is less strong. Besides this, the improvement of the soil properties tends to lessen the effect of concrete cost and straitens the effective rate on the total cost. The cost increase ratio due to the rise of the unit cost of concrete is reduced with the decrease of excavation depth.
- In some cases, the rise of concrete prices directs the design to straighten the section of the wall and enhance steel density to ensure stability.
- The comparison of HS optimization analysis results with the results of a geotechnical engineering software proves the applicability of the suggested design dimensions to the real projects. Besides, the geotechnical software necessitates defining all the different situations which can be occurred based on the change of soil type, the change of soil stratification or the change of solution method, etc., with different individual analyses. This situation is too time-consuming; therefore, the usage of the HS optimization method allows the designers to consider various situations at the same time and complete the design process in a way to get answers to all situations that may occur in mind.
- Using optimization techniques not only achieves saving time but also suffices to check all the influencer parameter effects on the design by using less workforce simultaneously. Compared to the pre-design method and geotechnical design software solutions, the optimization techniques enable an integrated loop considering both geotechnical stability and structural requirements simultaneously and ensure security and economy together.
Author Contributions
Funding
Institutional Review Board Statement
Data Availability Statement
Conflicts of Interest
References
- Coulomb, C.A. Essai sur une application des regles des maximis et minimis a quelques problemes de statique relatifs a l’artitecture. Mem. Acad. Royal Pres. Div. Sav. 1973, 7, 1776. [Google Scholar]
- Rankine, W.J.M. On the stability of loose earth. Proc. R. Soc. Lond. 1857, 147, 9–27. [Google Scholar] [CrossRef]
- Boussinesq, Sur la détermination de l’épaisseur minima que doit avoir un mur vertical d’une hauteur et d’une densité données, pour contenir un massif terreux sans cohésion, dont la surface supérieure est horizontale. Ann. Ponts Chaussées 1882, 3, 625.
- Terzaghi, K. General wedge theory of earth pressure. Trans. ASCE 1941, 106, 68–97. [Google Scholar]
- Jaky, J. The coefficient of earth pressure at rest. J. Soc. Hungarian Arch. Eng. Budapest Hungary 1944, 78, 355–358. [Google Scholar]
- Caquot, A.; Kerisel, J. Tables for Calculation of Passive Pressure, Active Pressure and Bearing Capacity of Foundations; Gauthier-Villars: Paris, France, 1948. [Google Scholar]
- Dubrova, G.A. Interaction of Soil and Structures; Izd. Rechnoy Transport: Moscow, Russia, 1963. [Google Scholar]
- Harr, M.E. Foundations of Theoretical Soil Mechanics; McGraw-Hill: New York, NY, USA, 1966. [Google Scholar]
- Das, B.M. Development in Geotechnical Engineering, Theoretical Foundation Engineering; Elsevier: Amsterdam, The Netherlands, 1987. [Google Scholar]
- Kerisel, J.; Absi, E. Active and Passive Earth Pressure Tables, 3rd ed.; AA. Balkema: Rotterdam, The Netherlands, 1990. [Google Scholar]
- Rhomberg, E.J.; Street, W.M. Optimal design of retaining walls. J. Struct. Div. 1987, 107, 992–1002. [Google Scholar]
- Saribas, A.; Erbatur, F. Optimization and sensitivity of retaining structures. J. Geotech. Eng. 1996, 122, 649–656. [Google Scholar] [CrossRef]
- Sasidhar, T.; Neeraja, D.; Samba, V. Murthy Sudhindra, Application of genetic algorithm technique for optimizing design of reinforced concrete retaining wall. Int. J. Civ. Eng. Technol. 2017, 8, 999–1007. [Google Scholar]
- Alshawi, F.A.N.; Mohammed, A.I.; Farid, B.J. Optimum design of tied-back retaining walls. Struct. Eng. 1988, 66, 97–105. [Google Scholar]
- Keskar, A.V.; Adidam, S.R. Minimum cost design of a cantilever retaining wall. Indian Concrete J. 1989, 63, 401–405. [Google Scholar]
- Dembicki, E.; Chi, T. System analysis in calculation of cantilever retaining walls. Int. J. Numer. Anal. Methods Geomech. 1989, 13, 599–610. [Google Scholar] [CrossRef]
- Pochtman, Y.M.; Zhmuro, O.V.; Landa, M.S. Design of an optimal retaining wall with anchorage. Soil Mech. Found. Eng. 1988, 25, 508–510. [Google Scholar] [CrossRef]
- Chau, K.W.; Albermani, F. Knowledge-based system on optimum design of liquid retaining structures with genetic algorithms. J. Struct. Eng. 2003, 129, 1312–1321. [Google Scholar] [CrossRef]
- Sivakumar Babu, G.L.; Basha, B.M. Optimum design of cantilever retaining walls using target reliability approach. Int. J. Geomech. 2008, 8, 240–252. [Google Scholar] [CrossRef]
- Azizi, F. Applied Analysis in Geotechnics, E & FN Spon; Taylor and Francis Group: New York, NY, USA, 2000. [Google Scholar]
- Mc Cormac, J.C.; Brown, R.H. Design of Reinforced Concrete; John Wiley & Sons: Hoboken, NJ, USA, 2015. [Google Scholar]
- Bowles, J.E. Analytical and Computer Methods in Foundation Engineering; McGraw-Hill Companies: New York, NY, USA, 1974. [Google Scholar]
- Bruner, R.F.; Coyle, H.M.; Bartoskewitz, R.E. Cantilever Retaining Wall Design; Research Report Diss.; Texas A&M University: College Station, TX, USA, 1983. [Google Scholar]
- BS 8100: Code of Practice for the Structural Use of Concrete in Buildings and Structures, Part 1: Code of Practice for Design and Construction, British Standard, UK. 1997. Available online: https://crcrecruits.files.wordpress.com/2014/04/bs8110-1-1997-structural-use-of-concrete-design-construction.pdf (accessed on 31 January 2021).
- Designers’ Guide to EN 1997-1 Eurocode 7: Geotechnical Design—General Rules; Thomas Telford Ltd.: London, UK, 2004.
- Goldberg, D.E. Genetic Algorithms in Search, Optimization and Machine Learning; Addison Wesley: Boston, MA, USA, 1989. [Google Scholar]
- Holland, J.H. Adaptation in Natural and Artificial Systems; University of Michigan Press: Ann Arbor, MI, USA, 1975. [Google Scholar]
- Kaveh, A.; Kalateh-Ahani, M.; Fahimi-Farzam, M. Constructability optimal design of reinforced concrete retaining walls using a multi-objective genetic algorithm. Struct. Eng. Mech. 2013, 47, 227–245. [Google Scholar] [CrossRef]
- Dorigo, M.; Maniezzo, V.; Colorni, A. The ant system: Optimization by a colony of cooperating agents. IEEE Trans. Syst. Man Cybernet B 1996, 26, 29–41. [Google Scholar] [CrossRef]
- Camp, C.V.; Akin, A. Design of Retaining Walls Using Big Bang-Big Crunch Optimization. J. Struct. Eng. ASCE 2012, 138, 438–448. [Google Scholar] [CrossRef]
- Kennedy, J.; Eberhart, R.C. Particle swarm optimization. In Proceedings of the IEEE International Conference on Neural Networks No. IV, Perth, Australia, 27 November–1 December 1995; pp. 1942–1948. [Google Scholar]
- Ahmadi-Nedushan, B.; Varaee, H. Optimal Design of Reinforced Concrete Retaining Walls using a Swarm Intelligence Technique. Proceedings of the First International Conference on Soft Computing Technology in Civil, Structural and Environmental Engineering; Civil-Comp Press: Stirlingshire, UK, 2009. Paper 26. Available online: https://www.ctresources.info/ccp/paper.html?id=5608 (accessed on 31 January 2021).
- Yang, X.S. Firefly Algorithms for Multimodal Optimization. In Stochastic algorithms: Foundations and Applications; Springer: Berlin/Heidelberg, Germany, 2009; pp. 169–178. [Google Scholar]
- Sheikholeslami, R.; Gholipour Khalili, B.; Zahrai, S.M. Optimum Cost Design of Reinforced Concrete Retaining Walls Using Hybrid Firefly Algorithm. Int. J. Eng. Technol. 2014, 6, 465–470. [Google Scholar] [CrossRef]
- Geem, Z.W.; Kim, J.H.; Loganathan, G.V. A new heuristic optimization algorithm: Harmony search. Simulation 2001, 76, 60–68. [Google Scholar] [CrossRef]
- Kaveh, A.; Abadi, A.S.M. Harmony search based algorithms for the optimum cost design of reinforced concrete cantilever retaining walls. Int. J. Civ. Eng. 2011, 9, 1–8. [Google Scholar]
- Yang, X.S. A New Metaheuristic Bat-Inspired Algorithm. In Nature Inspired Cooperative Strategies for Optimization (NISCO 2010), Studies in Computational Intelligence; Springer: Berlin/Heidelberg, Germany, 2010; pp. 65–74. [Google Scholar]
- Talatahari, S.; Sheikholeslami, R. Optimum design of gravity and reinforced retaining walls using enhanced charged system search algorithm. KSCE J. Civ. Eng. 2014, 18, 1464–1469. [Google Scholar] [CrossRef]
- Ceranic, B.; Fryer, C.; Baines, R.W. An application of simulated annealing to the optimum design of reinforced concrete retaining structures. Comput. Struct. 2001, 79, 1569–1581. [Google Scholar] [CrossRef]
- Yepes, V.; Alcala, J.; Perea, C.; Gonzalez-Vidosa, F. A parametric study of optimum earth-retaining walls by simulated annealing. Eng. Struct. 2008, 30, 821–830. [Google Scholar] [CrossRef]
- Pei, Y.; Xia, Y. Design of cantilever retaining walls using heuristic optimization algorithms. Procedia Earth Planet. Sci. 2012, 5, 32–36. [Google Scholar] [CrossRef]
- Aydogdu, I. Cost optimization of reinforced concrete cantilever retaining walls under seismic loading using a biogeography-based optimization algorithm with Levy flights. Eng. Optim. 2017, 49, 381–400. [Google Scholar] [CrossRef]
- Kayabekir, A.E.; Yücel, M.; Bekdaş, G.; Nigdeli, S.M. Comparative Study of Optimum Cost Design of Reinforced Concrete Retaining Wall via Metaheuristics. Chall. J. Concr. Res. Lett. 2020, 11, 75–81. [Google Scholar] [CrossRef]
- Kayabekir, A.E.; Akbay Arama, Z.; Bekdaş, G.; Dalyan, İ. L-shaped reinforced concrete retaining wall design: Cost and sizing optimization. Chall. J. Struct. Mech. 2020, 6, 140–149. [Google Scholar] [CrossRef]
- Mergos, P.E.; Mantoglou, F. Optimum design of reinforced concrete retaining wall with the flower pollination algorithm. Struct. Multidiscip. Optim. 2019, 61, 575–585. [Google Scholar] [CrossRef]
- Powrie, W. Limit equilibrium analysis of embedded retaining walls. Geotechnique 1996, 46, 709–723. [Google Scholar] [CrossRef]
- GEO5. User’s Manual; Fine Software Company: Praha, Czech Republic, 2021. [Google Scholar]
- Bowles, J.E. Foundation Analysis and Design; McGraw-Hill: New York, NY, USA, 1988. [Google Scholar]
- Geem, Z.W.; Lee, K.S.; Park, Y. Application of harmony search to vehicle routing. Am. J. Appl. Sci. 2005, 2, 1552–1557. [Google Scholar] [CrossRef][Green Version]
- Khajehzadeh, M.; Taha, M.R.; El-Shafie, A. Harmony search algorithm for probabilistic analysis of earth slope. Electron. J. Geotech. Eng. 2010, 15, 1647–1659. [Google Scholar]
- Ulusoy, S.; Kayabekir, A.E.; Bekdaş, G.; Niğdeli, S.M. Metaheuristic algorithms in optimum design of reinforced concrete beam by ınvestigating strength of concrete. Chall. J. Concr. Res. Lett. 2020, 11, 33–37. [Google Scholar] [CrossRef]
- Ulusoy, S.; Kayabekir, A.E.; Bekdaş, G.; Nigdeli, S.M. Optimum design of reinforced concrete multi-story multi-span frame structures under static loads. Int. J. Eng. Technol. 2018, 10, 403–407. [Google Scholar] [CrossRef][Green Version]
- Vasebi, A.; Fesanghary, M.; Bathaee, S.M.T. Combine heat and power economic dispatch by harmony search algorithm. Int. J. Electr. Power Energy Syst. 2007, 29, 713–719. [Google Scholar] [CrossRef]
- Degertekin, O. Optimum design of steel frames using harmony search algorithm. Struct. Multidiscip. Optim. 2008, 36, 393–401. [Google Scholar] [CrossRef]
- Tsakirakis, E.; Marinaki, M.; Marinakis, Y.; Matsatsinis, N. A similarity hybrid harmony search algorithm for the Team Orienteering problem. Appl. Soft Comput. 2019, 80, 776–796. [Google Scholar] [CrossRef]
- Gao, Z.; Suganthan, P.N.; Pan, Q.K.; Chua, T.J.; Cai, T.X.; Chong, C.S. Discreet harmony search algorithm for flexible job shop scheduling problem with multiple objectives. J. Intell. Manuf. 2016, 27, 363–374. [Google Scholar] [CrossRef]
- Chen, Y.; Prayogo, D.; Wu, Y.W.; Lukito, M.M. A Hybrid Harmony Search algorithm for discreet sizing optimization of truss structure. Autom. Construct. 2016, 69, 21–33. [Google Scholar] [CrossRef]
- Building Code Requirements for Structural Concrete and Commentary; ACI Committee: Farmington Hills, MI, USA, 2014.
- TS13655, “Specification for Masonry Units—Foamed Concrete Masonry Units”, Ankara, Tukey. 2015. Available online: http://www.puntofocal.gov.ar/notific_otros_miembros/ken860_t.pdf (accessed on 31 January 2021).
- EN 1996-1-1, Eurocode 6—Design of Masonry Structures, London, UK. 2005. Available online: https://www.phd.eng.br/wp-content/uploads/2015/02/en.1996.1.1.2005.pdf (accessed on 31 January 2021).
- American Association of State Highway and Transportation Officials (AASHTO). Standard Specifications for Highway Bridges, 17th ed.; AASHTO: Washington, DC, USA, 2002. [Google Scholar]
- Bond, A.J. Implementation and Evolution of Eurocode 7, Modern Geotechnical Design Codes of Practice; IOS Press: Amsterdam, The Netherlands, 2013; pp. 3–14. [Google Scholar]
- Bond, A.J.; Harris, A.J. Decoding Eurocode 7; Taylor & Francis: London, UK, 2008. [Google Scholar]
- Eurocode 7: Geotechnical Design. Part 1: General Rules; CEN: London, UK, 1995.
- Arama, Z.A.; Kayabekir, A.E.; Bekdaş, G.; Geem, Z.W. CO(2)and Cost Optimization of Reinforced Concrete Cantilever Soldier Piles: A Parametric Study with Harmony Search Algorithm. Sustainability 2020, 12, 5906. [Google Scholar] [CrossRef]
- Kayabekir, A.E.; Arama, Z.A.; Bekdas, G.; Dalyan, I. Effects of Soil Geotechnical Properties on the Prediction of Optimal Dimensions of Restricted Reinforced Concrete Retaining Walls. Hittite J. Sci. Eng. 2020, 7, 205–213. [Google Scholar] [CrossRef]
- Das, B.M. Principals of Geotechnical Engineering, 7th ed.; Cengage Learning: Boston, MA, USA, 2010. [Google Scholar]
- Terzaghi, K. Theoretical Soil Mechanics; John Wiley and Sons: New York, NY, USA, 1943. [Google Scholar]
- Meyerhof, G.G. The ultimate bearing capacity of foundations. Géotechnique 1951, 2, 301–332. [Google Scholar] [CrossRef]
- Hansen, J.B. A Revised and Extended Formula for Bearing Capacity; Danish Geotechnical Institute: Copenhagen, Denmark, 1970. [Google Scholar]
- Vesic, A.S. Bearing capacity of shallow foundations. In Foundation Engineering Handbook; Winterkorn, H.F., Fang, H.Y., Eds.; Van Nostrand Reinhold: New York, NY, USA, 1975; pp. 121–147. [Google Scholar]
- Sharma, A.; Ramkrishnan, R. Parametric Optimization and Multi-regression Analysis for Soil Nailing Using Numerical Approaches. Geotech. Geol. Eng. 2020, 38, 3505–3523. [Google Scholar] [CrossRef]
- Žagarinskas, M.; Daukšys, M.; Mockienė, J. Research on Installation Technologies of Retaining Walls with Ground Anchors. J. Sustain. Arch. Civ. Eng. 2020, 26, 53–64. [Google Scholar]
- Alexiou, A.; Zachos, D.; Alamanis, N.; Chouliaras, I.; Papageorgiou, G. Construction Cost Analysis of Retaining Walls. IJEAT 2020, 9, 1909–1914. [Google Scholar]
- Rameesha, K.; Kannanayakkal, A.; Chithira, P.U.; Shamsudheen, N.; Vibitha, P.K. Stability Analysis of Retaining Wall using GEO5 in Kuranchery. Int. J. Innov. Sci. Res. Technol. 2019, 4, 529–621. [Google Scholar]
- Kumar, K.H.; Krishna, B.R.; Prasad, T.S. Cantilever Retaining Wall using GEO5 Software-A REVIEW. In Proceeding of the National Conference on Emerging Trends in Civil Engineering, Andhra Pradesh, India, 26–27 June 2020; pp. 134–147. [Google Scholar]
- Neeraj, A.B.; Ali, N. Stability of Counterfort Retaining Wall using Crusher Dust as Backfill Material (By GEO5 Software). IRJET 2008, 7, 3183–3189. [Google Scholar]





























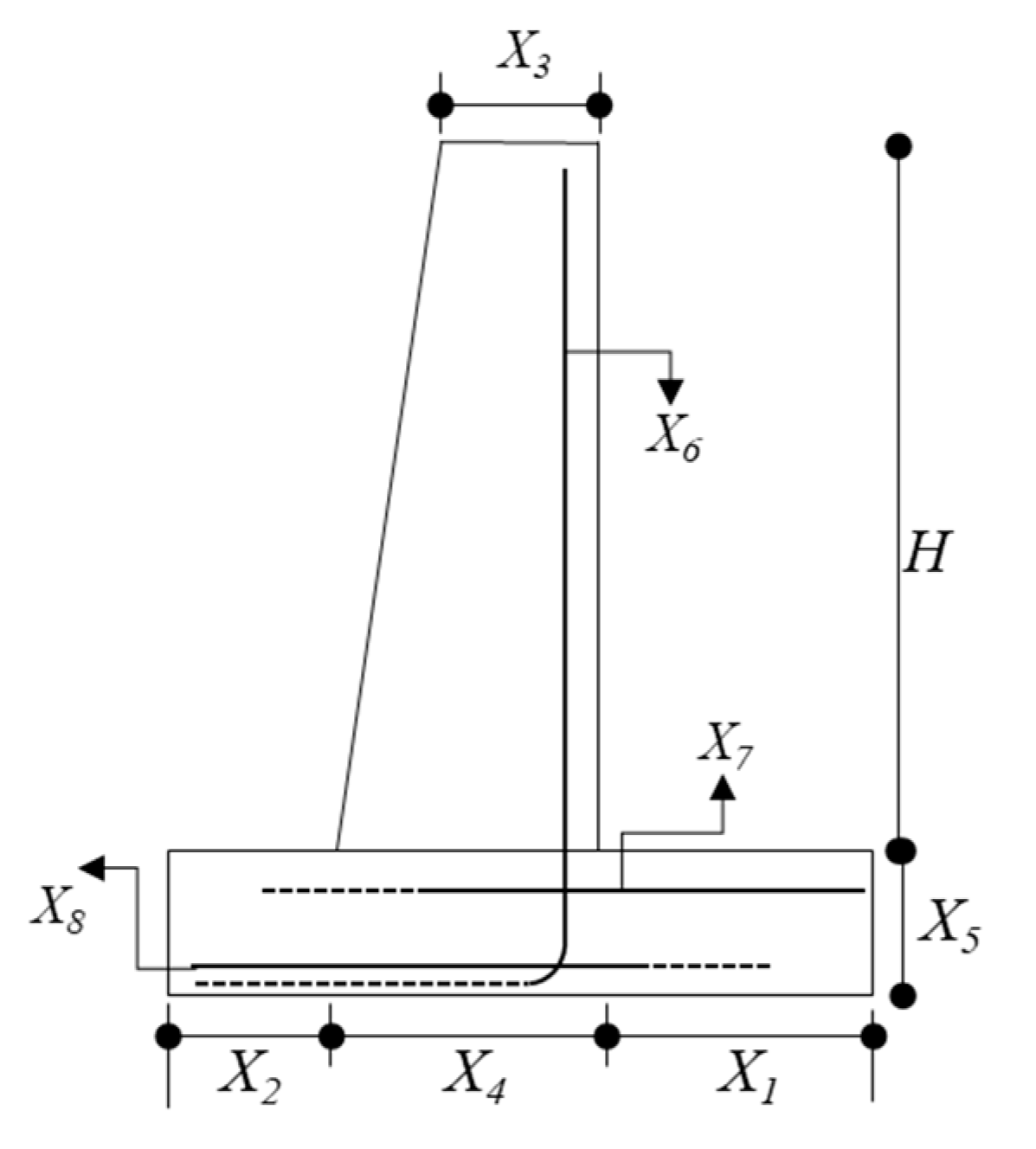
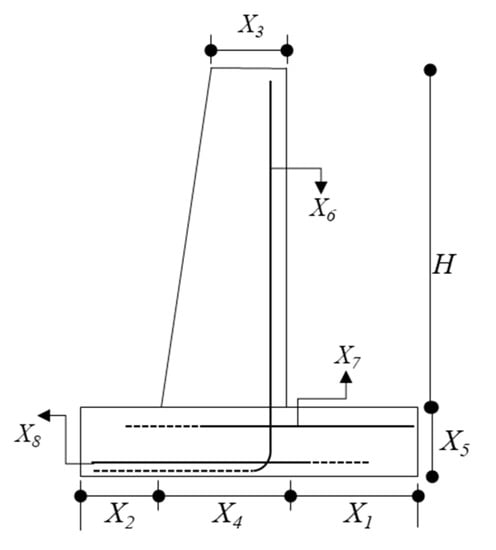
| Symbol | Parameter Description | |
|---|---|---|
| Variables about Cross-section dimension | X1 | The length of the wall heel (x1) |
| X2 | The length of the wall toe (x2) | |
| X3 | The thickness of the wall stem at the top (x3) | |
| X4 | The thickness of the wall stem at the bottom (x4) | |
| X5 | The thickness of the wall foundation (x5) | |
| Variables about reinforced concrete design | X6 | Area of reinforcing bars of the stem |
| X7 | Area of reinforcing bars of foundation heel | |
| X8 | Area of reinforcing bars of the toe |
| Description | Constraints |
|---|---|
| Safety condition for overturning stability | g1(X): FoSot,design ≥ FoSot |
| Safety condition for sliding | g2(X): FoSs,design ≥ FoSs |
| Safety condition for bearing capacity | g3(X): FoSbc,design ≥ FoSbc |
| Minimum bearing stress (qmin) | g4(X): qmin ≥ 0 |
| Flexural strength capacities of critical sections (Md) | g5–7(X): Md ≥ Mu |
| Shear strength capacities of critical sections (Vd) | g8–10(X): Vd ≥ Vu |
| Minimum reinforcement areas of critical sections (Asmin) | g11–13(X): As ≥ Asmin |
| Maximum reinforcement areas of critical sections (Asmax) | g14–16(X): As ≤ Asmax |
| Symbol | Definition | Value | Unit |
|---|---|---|---|
| H | The excavation depth | (3–12) | m |
| x3 | Range of thickness of the wall stem at the top | 0.2–3 | m |
| x4 | Range of thickness of the wall stem at the bottom | 0.2–3 | m |
| x5 | Range of the foundation base thickness | 0.2–10 | m |
| Μ | Concrete-soil friction | tan (2/3) ϕ | - |
| fy | Yield strength of the steel material | 420 | MPa |
| f’c | Compressive strength of the concrete material | 25 | MPa |
| cc | Concrete cover thickness | 30 | mm |
| Esteel | The elasticity modulus of steel material | 200 | GPa |
| γsteel | Unit weight of the steel material | 7.85 | t/m3 |
| γconcrete | Unit weight of the concrete material | 25 | kN/m3 |
| Cs | The unit cost of the steel material per ton | 700 | $ |
| FoSot | The safety factor value for overturning | 1.5 | - |
| FoSs | The safety factor value for sliding | 1.5 | - |
| FoSbc | The safety factor value for bearing capacity | 3.0 | - |
| The Results of the HS Algorithm | FoS Values Determined via Geo5 Analysis | ||||||||
|---|---|---|---|---|---|---|---|---|---|
| h (m) | x1 (m) | x2 (m) | x3 (m) | x4 (m) | x5 (m) | FoSs | FoSot | FoSbc | FoSos |
| 3 | 1.85 | 0.00 | 0.20 | 0.30 | 0.30 | 2.41 | 2.05 | 4.08 | 1.51 |
| 4 | 2.52 | 0.00 | 0.20 | 0.31 | 0.30 | 2.40 | 2.04 | 4.08 | 1.53 |
| 5 | 3.13 | 0.00 | 0.20 | 0.43 | 0.31 | 2.46 | 2.07 | 4.11 | 1.50 |
| 6 | 3.76 | 0.00 | 0.20 | 0.55 | 0.38 | 2.43 | 2.02 | 3.96 | 1.51 |
| 7 | 4.25 | 1.00 | 0.20 | 0.74 | 0.41 | 2.43 | 1.87 | 3.08 | 1.50 |
| 8 | 4.84 | 1.14 | 0.20 | 0.90 | 0.49 | 2.44 | 1.87 | 3.07 | 1.52 |
| 9 | 5.42 | 1.29 | 0.20 | 1.07 | 0.57 | 2.43 | 1.87 | 3.05 | 1.52 |
| 10 | 6.00 | 1.43 | 0.20 | 1.26 | 0.66 | 2.42 | 1.87 | 3.03 | 1.51 |
| 11 | 6.92 | 1.62 | 0.20 | 1.29 | 0.79 | 2.40 | 1.86 | 3.01 | 1.53 |
| 12 | 7.28 | 2.08 | 0.20 | 1.61 | 0.89 | 2.40 | 1.84 | 3.00 | 1.52 |
Publisher’s Note: MDPI stays neutral with regard to jurisdictional claims in published maps and institutional affiliations. |
© 2021 by the authors. Licensee MDPI, Basel, Switzerland. This article is an open access article distributed under the terms and conditions of the Creative Commons Attribution (CC BY) license (http://creativecommons.org/licenses/by/4.0/).
Share and Cite
Arama, Z.A.; Kayabekir, A.E.; Bekdaş, G.; Kim, S.; Geem, Z.W. The Usage of the Harmony Search Algorithm for the Optimal Design Problem of Reinforced Concrete Retaining Walls. Appl. Sci. 2021, 11, 1343. https://doi.org/10.3390/app11031343
Arama ZA, Kayabekir AE, Bekdaş G, Kim S, Geem ZW. The Usage of the Harmony Search Algorithm for the Optimal Design Problem of Reinforced Concrete Retaining Walls. Applied Sciences. 2021; 11(3):1343. https://doi.org/10.3390/app11031343
Chicago/Turabian StyleArama, Zülal Akbay, Aylin Ece Kayabekir, Gebrail Bekdaş, Sanghun Kim, and Zong Woo Geem. 2021. "The Usage of the Harmony Search Algorithm for the Optimal Design Problem of Reinforced Concrete Retaining Walls" Applied Sciences 11, no. 3: 1343. https://doi.org/10.3390/app11031343
APA StyleArama, Z. A., Kayabekir, A. E., Bekdaş, G., Kim, S., & Geem, Z. W. (2021). The Usage of the Harmony Search Algorithm for the Optimal Design Problem of Reinforced Concrete Retaining Walls. Applied Sciences, 11(3), 1343. https://doi.org/10.3390/app11031343

