Enhancement of Power System Transient Stability by Active and Reactive Power Control of Variable Speed Wind Generators
Abstract
1. Introduction
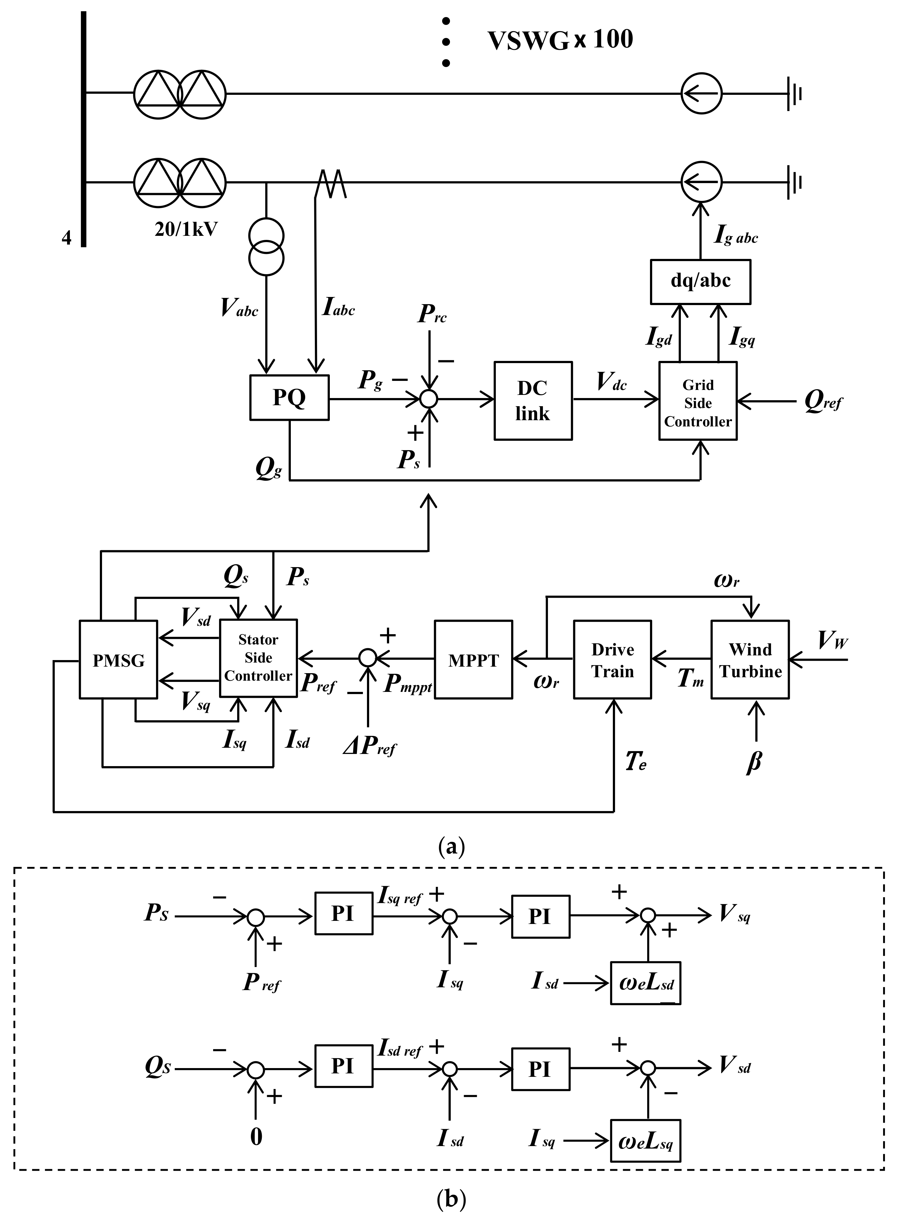
2. Scheme of Proposed Control Model
3. Simulation Model
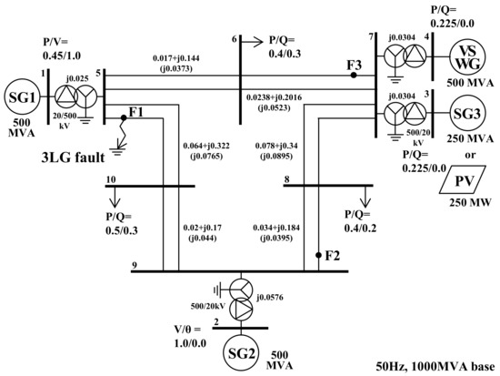
3.1. Power System Model and Simulation Conditions
- Case 1: Active power control of the VSWG;
- Case 2: Active and reactive power control of the VSWG;
- Case 3: Active and reactive power control of the VSWG and reactive power control of the PV system.
3.2. PV System Model
3.3. VSWG Model
4. Simulation Results
4.1. Transient Stability Analysis in the Case with SG3 Installed
4.2. Transient Stability Analysis in the Case with PV System Installed
5. Conclusions
- The transient stability can be enhanced by releasing the kinetic energy accumulated in the rotor of the VSWG. In this work, the kinetic energy injected to the grid is controlled according to the frequency measured in the local area.
- The transient stability can be further enhanced by combining the reactive power control of the VSWG. In this work, the reactive power injected to the grid was controlled according to the grid voltage. As the frequency fluctuations are restrained, the kinetic energy released to the grid can be reduced, and hence the deceleration of the rotor of the VSWG can be suppressed.
- The transient stability can be further enhanced by combining the reactive power control of the PV system with the VSWG control. In this work, the reactive power output of the PV system was also controlled based on the same control scheme as that of the VSWG.
Author Contributions
Funding
Conflicts of Interest
References
- Global Wind Energy Council, Global Wind Report 2019. 2020. Available online: https://gwec.net/ (accessed on 27 October 2020).
- Photovoltaic Power Systems Technology Collaboration Programme, 2020 Snapshot of Global PV Markets, Report IEA PVPS T1-37. 2020. Available online: https://iea-pvps.org/ (accessed on 27 October 2020).
- Xia, S.; Zhang, Q.; Hussain, S.T.; Hong, B.; Zou, W. Impacts of Integration of Wind Farms on Power System Transient Stability. Appl. Sci. 2018, 8, 1289. [Google Scholar] [CrossRef]
- Eftekharnejad, S.; Vittal, V.; Heydt, G.T.; Keel, B.; Loehr, J. Impact of Increased Penetration of Photovoltaic Generation on Power Systems. IEEE Trans. Power Syst. 2013, 28, 893–901. [Google Scholar] [CrossRef]
- Kumar, D.S.; Sharma, A.; Srinivasan, D.; Reindl, T. Impact Analysis of Large Power Networks with High Share of Renewables in Transient Conditions. IET Renew. Power Gener. 2020, 14, 1349–1358. [Google Scholar] [CrossRef]
- Yagami, M.; Ishikawa, S.; Ichinohe, Y.; Misawa, K.; Tamura, J. Power System Transient Stability Analysis in the Case of High-penetration Photovoltaics (part 2). In Proceedings of the 2015 IEEE PowerTech Conference, Eindhoven, The Netherlands, 29 June–2 July 2015. No. 457168. [Google Scholar]
- Hazari, M.R.; Mannan, M.A.; Muyeen, S.M.; Umemura, A.; Takahashi, R.; Tamura, J. Fuzzy Logic based Virtual Inertia Control of DFIG based Wind Generator for Stability Improvement of Hybrid Power System. IEEJ Trans. PE 2018, 138, 733–744. [Google Scholar] [CrossRef]
- Zhou, M.; Dong, Z.; Li, H.; Gan, C.; Li, G.; Liu, Y. Coordinated Control of DFIG Based Wind Farms and SGs for Improving Transient Stability. IEEE Access 2018, 6, 46844–46855. [Google Scholar] [CrossRef]
- Ullah, N.R.; Thiringer, T. Variable Speed Wind Turbines for Power System Stability Enhancement. IEEE Trans. Energy Convers. 2007, 22, 52–60. [Google Scholar] [CrossRef]
- Yousefian, R.; Bhattarai, R.; Kamalasadan, S. Transient Stability Enhancement of Power Grid with Integrated Wide Area Control of Wind Farms and Synchronous Generators. IEEE Trans. Power Syst. 2017, 32, 4818–4831. [Google Scholar] [CrossRef]
- Firouzi, M.; Gharehpetian, G.B.; Salami, Y. Active and Reactive Power Control of Wind Farm for Enhancement Transient Stability of Multi-machine Power System using UIPC. IET Renew. Power Gener. 2017, 11, 1246–1252. [Google Scholar] [CrossRef]
- Jozuka, T.; Iriguchi, T.; Komami, S. Value Comparison Between FRT and DVS Functions on Renewable Energy. Electr. Eng. Jpn. 2018, 205, 33–40. [Google Scholar] [CrossRef]
- Anderson, P.M.; Fouad, A.A. Power System Control and Stability, 2nd ed.; John Wiley & Sons, Inc.: Hoboken, NJ, USA, 2003; p. 38. [Google Scholar]
- The Institute of Electrical Engineers of Japan (IEEJ). Electrical Power System Standard Models; Technical Report No. 754; IEEJ: Tokyo, Japan, November 1999. [Google Scholar]
- Shirasaki, K.; Amano, H. Impacts of Dynamic Reactive Current Control with Renewable Energy Sources on Power System Stability in large disturbance. Proceedings of IEEJ Power and Energy Conference (online), 9–11 September 2020; p. 191. (In Japanese). [Google Scholar]
- Sano, K.; Okada, N.; Shirasaki, K.; Iwatsuki, H. Criterion for Continuous Oscillation of Reactive Power caused by the Frequency Feedback Method with Step Injection of Reactive Power. IEEJ Trans. PE 2018, 138, 659–670. (In Japanese) [Google Scholar] [CrossRef]
- Rosyadi, M.; Umemura, A.; Takahashi, R.; Tamura, J.; Park, M. Dynamic Analysis of Offshore Wind Farm with PM Wind Generators using Simplified Model. In Proceedings of the 2013 IEEE PowerTech Conference, Grenoble, France, 16–20 June 2013. No. A5240MR. [Google Scholar]
- Muyeen, S.M.; Tamura, J.; Murata, T. Stability Augmentation of a Grid-Connected Wind Farm; Springer: London, UK, 2009; p. 64. [Google Scholar]
- Rosyadi, M.; Umemura, A.; Takahashi, R.; Tamura, J.; Uchiyama, N.; Ide, K. Simplified Model of Variable SpeedWind Turbine Generator for Dynamic Simulation Analysis. IEEJ Trans. Power Energy 2015, 135, 538–549. [Google Scholar] [CrossRef]
- Yagami, M.; Murata, T.; Tamura, J. An Analysis of Optimal Reclosing for Enhancement of Transient Stability. Electr. Eng. Jpn. 2004, 147, 32–39. [Google Scholar] [CrossRef]
- IEEJ Power and Energy, Japanese Power System Models. Available online: http://denki.iee.jp/pes/?page_id=141 (accessed on 24 November 2020).



























| SG1 | SG2, 3 | SG1 | SG2, 3 | ||||
|---|---|---|---|---|---|---|---|
| Ra | (pu) | 0.003 | 0.004 | Xd” | (pu) | 0.171 | 0.134 |
| Xl | (pu) | 0.102 | 0.078 | Xq” | (pu) | 0.171 | 0.134 |
| Xd | (pu) | 1.651 | 1.22 | Tdo’ | (s) | 5.9 | 8.97 |
| Xq | (pu) | 1.59 | 1.16 | Tqo’ | (s) | 0.535 | 1.5 |
| Xd’ | (pu) | 0.232 | 0.174 | Tdo” | (s) | 0.033 | 0.033 |
| Xq’ | (pu) | 0.38 | 0.25 | Tqo” | (s) | 0.078 | 0.141 |
| H | (s) | 3.0 | 3.0 |
| VSWG | |||||
|---|---|---|---|---|---|
| Wind Turbine | PMSG | ||||
| R | (m) | 60 | Ps | (MW) | 5 |
| Vw | (m/s) | 8.8 | Vs | (kV) | 1 |
| ωr | (rad/s) | 1.2 | Rs | (Ω) | 0.004 |
| Cp opt | 0.48 | Lsd | (mH) | 1.528 | |
| λopt | 8.2 | Lsq | (mH) | 1.21 | |
| ρ | (kg/m3) | 1.225 | ψm | (Wb) | 11.255 |
| Jt | (kgm2) | 49.5 × 106 | Cdc | (μF) | 2500 |
| Vdc | (kV) | 1.75 | |||
| Rc | (Ω) | 0.45 | |||
| (s)* | |
| Case 1 | Case 2 |
| 1.31 | 0.32 |
| (s)* | ||
| Case 1 | Case 2 | Case 3 |
| 1.68 | 0.77 | 0.65 |
| (s)* | ||||||
| System Configuration | With SG3 Installed | With PV System Installed | ||||
| Fault Location | F1 | F2 | F3 | F1 | F2 | F3 |
| No control | 0.775 | 0.564 | 0.623 | 1.429 | 1.175 | 1.122 |
| Case 1 | 0.441 | 0.328 | 0.375 | 1.021 | 1.034 | 0.892 |
| Case 2 | 0.114 | 0.103 | 0.107 | 0.345 | 0.212 | 0.193 |
| Case 3 | - | - | - | 0.233 | 0.172 | 0.146 |
Publisher’s Note: MDPI stays neutral with regard to jurisdictional claims in published maps and institutional affiliations. |
© 2020 by the authors. Licensee MDPI, Basel, Switzerland. This article is an open access article distributed under the terms and conditions of the Creative Commons Attribution (CC BY) license (http://creativecommons.org/licenses/by/4.0/).
Share and Cite
Yagami, M.; Ichinohe, M.; Tamura, J. Enhancement of Power System Transient Stability by Active and Reactive Power Control of Variable Speed Wind Generators. Appl. Sci. 2020, 10, 8874. https://doi.org/10.3390/app10248874
Yagami M, Ichinohe M, Tamura J. Enhancement of Power System Transient Stability by Active and Reactive Power Control of Variable Speed Wind Generators. Applied Sciences. 2020; 10(24):8874. https://doi.org/10.3390/app10248874
Chicago/Turabian StyleYagami, Masaki, Masanori Ichinohe, and Junji Tamura. 2020. "Enhancement of Power System Transient Stability by Active and Reactive Power Control of Variable Speed Wind Generators" Applied Sciences 10, no. 24: 8874. https://doi.org/10.3390/app10248874
APA StyleYagami, M., Ichinohe, M., & Tamura, J. (2020). Enhancement of Power System Transient Stability by Active and Reactive Power Control of Variable Speed Wind Generators. Applied Sciences, 10(24), 8874. https://doi.org/10.3390/app10248874

