Featured Application
Movement prediction needs to identify and quantify the associated uncertainties: from the soil investigation to the semi-empirical model formulation. This paper succeeds in providing a procedure to assess those uncertainties. The procedure has been applied to a particular soil mechanical problem, where large scale tests were available, reaching a remarkable similarity.
Abstract
Probabilistic approaches to deal with uncertainty on soil mechanic predictions are on the rise. We developed a procedure to deal with uncertainty coming from soil conditions. It was applied to an analytical model to simulate the behavior of a soil improvement work based on rigid inclusion below a slab foundation. The model can predict the settlements of the slab. Even more, it was also able to provide a confidence level based on a probabilistic approach to the input’s variables. Outputs were compared to large-scale tests. The agreement is outstanding. We try to encourage the use of probabilistic models to solve complex geotechnical problems.
1. Introduction
Engineers are daily involved in predictions over the outputs of natural phenomena and their interaction with the behavior of structures [1]. A good prediction is a number that represents the best estimation for the expected outputs and a range that accounts for the uncertainty of the estimation. When natural phenomena become complex, predictions usually rely excessively on the engineer experience and common sense. A systematic approach to the uncertainties surrounding the predictions is many times missed.
Soil mechanics is one of those scientific fields where approaches to uncertainty rely massively on experience. This situation makes that uncertainty of the predictions falls behind the current developments more often used in other fields of structural design.
During the last decades, structural reliability methods have been developed. This is not least due to the fundamental works on probabilistic approach methods performed within the Joint Committee on Structural Safety (JCSS). The recent reinforcements in providing such a basis for design are condensed in the JCSS Probabilistic Model Code (PMC), which includes, among others, the basic reports on soil mechanic properties [2,3].
Statistical methods have been successfully applied to different geotechnical problems. It is worth noting the works on slope stability and underground excavation [4]. Indeed, today many slope stability programs include probabilistic approaches to the ultimate limit state.
In line with the ongoing joint efforts to explore alternatives to include uncertainties coming from the ground condition, we present a methodology affordable in practical applications to predict deformations.
In this paper, a probabilistic method to deal with the outputs of geotechnical site investigations is proposed. Then, they are used to feed an analytical model that predicts the settlement of a rigid inclusion below a slab foundation. Since inputs data are a statistical variable, the settlement prediction will be.
In this way, not only a settlement model for this specific problem is validated, but also a systematic method to deal with a soil investigation and the uncertainty involved.
2. Ground Profile Characterization Based on a Probabilistic Approach
Geotechnical site investigation on granular deposit is mainly based on in situ tests, such as Standard Penetration Test (SPT) and Cone Penetration Test (CPT). These in-situ tests have the advantage of testing the material before it is disturbed by sampling.
In many applications, a large soil investigation with many in-situ tests is available. In these cases, it is usual to find a large dispersion of the values, which is not a surprise if the ground profile is heterogeneous. However, even with a very homogeneous soil profile, the dispersion is usually larger than the one initially expected.
Part of this dispersion is due to the measurement equipment. Including within this concept everything related to the use of different machines, different personnel, variations in the calibration of the equipment over time, etc. It is named herein as measuring method uncertainty.
Another part can be explained by the random behavior of the material, which exits even if all the tests have been conducted on the same homogeneous material and at the same stress level. Causes for this spatial variability can be related to chemical reactions (dissolution and precipitation of minerals), physical conditions (wetting and drying processes), previously undergone stress states, etc. In this case, the test outputs can be understood as a sample of a statistical variable. If the sample is large enough, the statistical variable can be characterized by low uncertainty. It is named herein as statistical uncertainty.
These two sources of uncertainty are addressed in this section so that they can be statistically quantified.
2.1. Measuring Method Uncertainty
If the site investigation comprises more than one type of test, as per example CPT and SPT, the comparison of both can be used to correct the dispersion due to the method of measurement.
The concept used for this is that of the minimum statistical variance. It is well known that SPT and CPT tests measure different parameters, but also that there is a proportionality between them. This relationship can be obtained by comparing the outputs for the same soil condition, i.e., material type and stress level. But the aspect that is of interest at the moment is the dispersion presented by both. It could be said that the lowest dispersion of them is, at least, an upper limit of the dispersion of the statistic variable representing the soil strength. Thus, the test with higher dispersion can be corrected to a dispersion similar to the test with less dispersion. This correction is a way to eliminate uncertainty in the result introduced by the method of measurement.
The dispersion of several tests can be compared through the relative standard deviation (Equation (1)).
Following Figure 1 shows an example from a soil investigation carried out with SPT and CPT. It is noted that:
Figure 1.
Dispersion on Standard Penetration Test (SPT) and Cone Penetration Test (CPT) before any statistical correction.
- The dispersion—or relative standard deviation—of the SPT outputs is greater than that of the CPT test, at least in the first 16 m. Its value is between 0.4 to 0.7, while in the CPT test it is around 0.2.
- In the last four meters, the dispersion of both tests is similar. Its value is in the range of 0.4 to 0.7.
From the figure, it can be said that dispersion due to the SPT measurement method is at least the difference between the blue and the red line.
This observation makes it possible to look at the original values of the SPT test in a somewhat more critical way. It is noted that the dispersion of the soil strength should be below the parameter υ = 0.2. Therefore, all SPT outputs above or below the average (μ) plus/minus twice the standard deviation have a probability of occurring less than 5%, calculated as follows Equation (2).
Values that exceed this quantity can be removed from the sample and the average and deviation are recalculated.
The following Figure 2 represents the parameters calculated after correcting the SPT data, along with the previously obtained ones. It is noted that on this occasion the dispersion of the CPT and SPT tests are comparable.
Figure 2.
Dispersion with SPT corrected by method uncertainty.
Different authors and codes [5,6,7,8,9] indicate what the typically expected variation of a geotechnical parameter is. In this case, both SPT and CPT outputs can be understood as a parameter since they feed empirical formulation for design prediction. It can be observed that for the CPT and SPT test typical values are about 0.15.
Thus, in that particular case, the correction made in the SPT test thanks to the comparison with the CPT almost entirely allows reducing the uncertainty introduced by the measurement equipment. However, it does not provide information about the statistical uncertainty of the test.
2.2. Statistical Uncertainty
It has previously been mentioned that the soil strength itself can be considered a statistical variable. The size of the sample is related to the statistical uncertainty of this variable.
For each soil type and stress level, a set of values are available that are named NSPT,1 NSPT,N. However, the arithmetic mean of all these values does not necessarily have to match the average of the statistical parameter to be measured. There is a difference between the two that in literature is known as statistical uncertainty.
If the NSPT variable at a depth is assumed to follow a normal distribution and the relative standard deviation is assumed to take a value of υ = 0.15, this information could be used to correct the previously obtained arithmetic mean.
Augusti et al. [10,11] demonstrate that assuming that the NSPT is a statistic variable with a normal distribution, the distribution function of this same variable once the test has been performed n-times and values, NSPT,1…NSPT,N, have been obtained is also a normal distribution function.
where:
It is observed that, unsurprisingly, as the number of N experiments increases, the deviation is closer to that assumed for the statistical variable. For a sufficiently high number of tests, the arithmetic mean will match the wanted average.
One way of considering statistical uncertainty is to calculate the average taking into account how far away each individual outputs is from it. The method is as follows:
- From the initial outputs of N60, the arithmetic mean is obtained. It is named NSPT,1.
- The standard deviation could also be obtained from the initial outputs. However, since the relative standard deviation is already known, the following expression is proposed:
- Since each result, NSPT, i has provability defined by the function ϕμ1,σ1 (NSPT), this value can be used to weigh the average in the following waywhere C is a constant, calculated in such a way that
- The process can be repeated several times by setting a convergence criterion. However, it has been verified that for a sufficient number of results (N > 10) in the first iteration a value close to the final value is already reached.
- This procedure can start from all field data, without deleting those whose value exceeds twice the standard deviation, as it was done in the previous section. This is because these values have an exceptionally low weight in the second iteration, which is equivalent to overriding them.
So, this procedure can be used to account for both the statistical uncertainty and the uncertainty of the method.
In addition to this correction, a second physical-sense correction is entered into the SPT values. Vertical strength variations that can exist within the same stratum are gradual. Abrupt variations are likely introduced by the measurement method. Therefore, the measured value at one point must be influenced by the measured value at the upper and lower levels. Thus, the mean at a certain depth is corrected with the expression.
where Ni is the average value at depth i.
Applying these two corrections, a corrected average and deviation from the SPT test it is eventually obtained. Figure 3 shows the new parameter with those previously obtained. In this case, since the number of tests is large enough, the parameter takes a value close to 0.15, which was the assumed value at the beginning.
Figure 3.
Dispersion with SPT corrected by method and statistical uncertainty.
As an example, the following figure shows the final average and deviation obtained from a site investigation and it is compared to the initial N60 values. Finally, once the soil strength has been defined by a statistical variable, which characterized the soil profile, using the probabilistic Monte Carlo method [12,13], a large set of strength profiles can be generated. These synthetic profiles is used to feed the models to obtain the wanted predictions. A sample of these generated profiles is shown in Figure 4.
Figure 4.
NSPT representation: (a) Example of a statistical representation of the SPT-parameter corrected by method and statistical uncertainty; (b) Artificial SPT profile generated by probabilistic Monte Carlo Method.
3. Soil–Pile Analytical Model
Slab foundations are frequently used to support structures built on poor soil conditions. In order to widen their field of application, a soil improvement can precede the slab construction. Nowadays, this soil improvement can be done with rigid inclusion, which is cemented columns or piles that increase soil stiffness and bearing capacity.
The model described in this paper studies the interaction between the slab, the rigid inclusions, and the surrounding soil, regarding the benefices in increasing soil stiffness, and hence the settlement reduction.
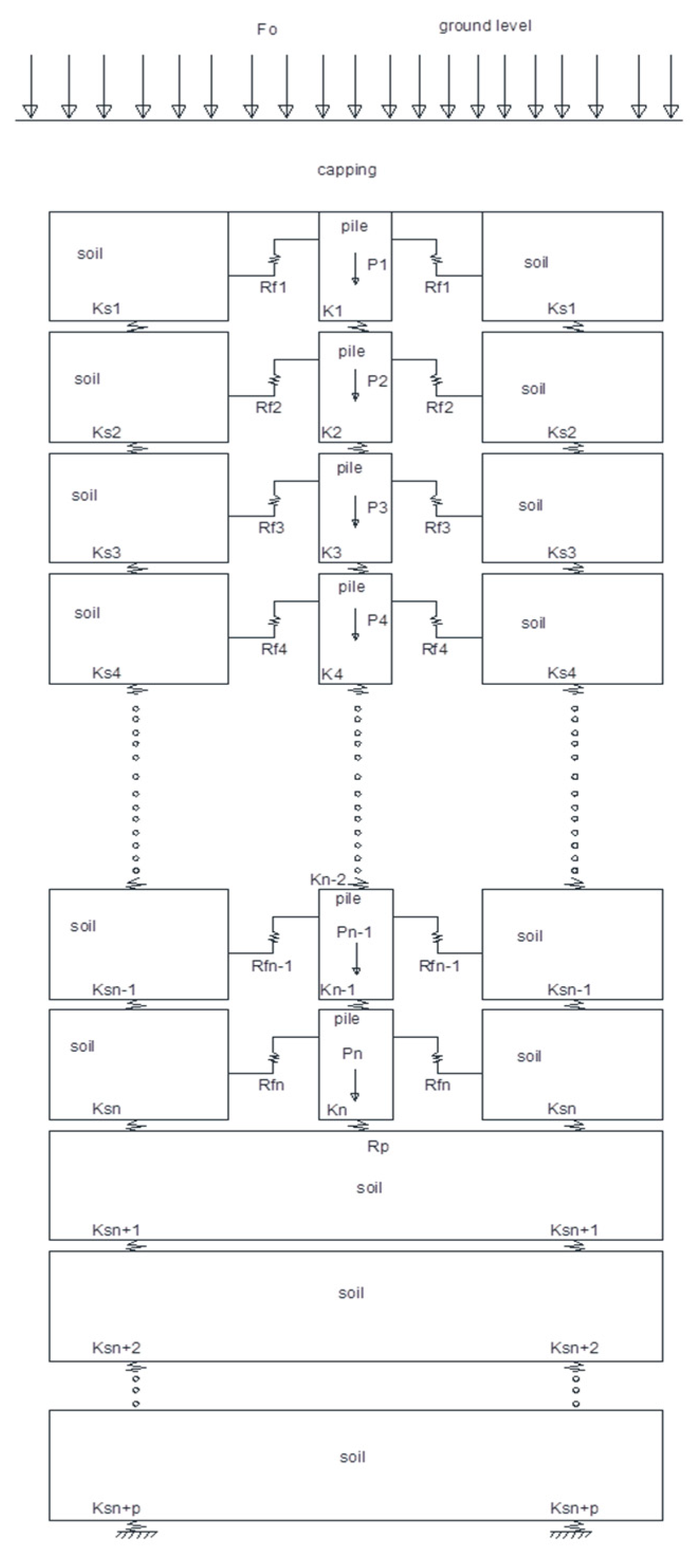
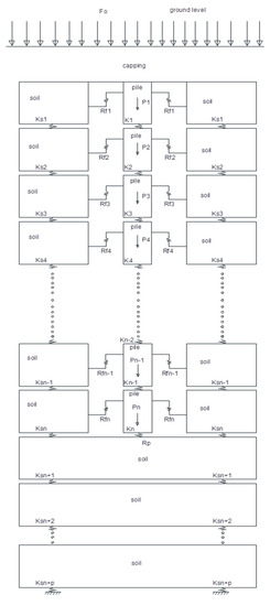
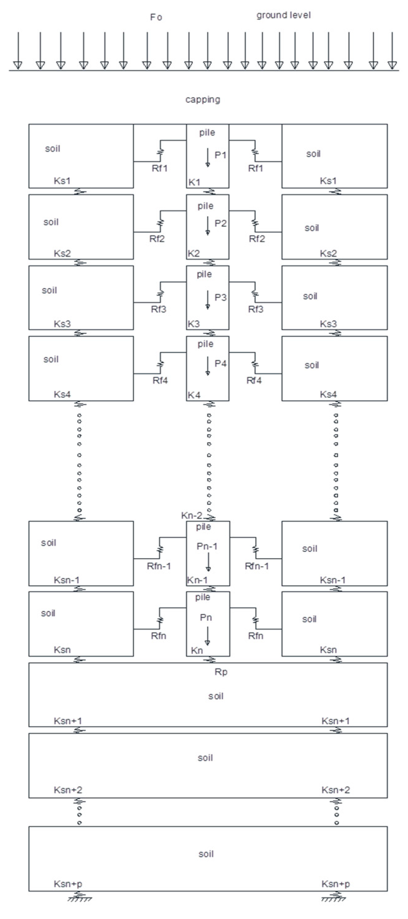
Soil–pile interaction can be simulated by a single cell model (Figure 5), which takes into account the differential settlement between the two material and the friction stresses generated between them [9]. The following model was used:
Figure 5.
Soil–pile analytical model.
- Concrete slab foundation load (Fo) is transmitted to the piles through the transfer layer or capping. This is made of a granular material less deformable and with a higher friction angle than the soil underneath. This layer tends to concentrate the distributed load on the piles.
- Soil and pile are connected by elastoplastic springs which limit the maximum friction load transmitted to pile up to a value equal to the maximum skin friction
- Soil column transmits vertically the load taking account of the soil vertical deformation modulus, considered as an elastic material.
- Pile elements are also connected by elastic springs.
- At the pile base, an elastoplastic spring is placed to simulate pile base resistance.
- Below pile base, soil still settles according to a one-dimensional deformation model
Site investigation allows doing prediction on soil deformability and pile–soil interaction. For granular soil, SPT index can be used to support that prediction, following the procedure below:
- SPT index is related to relative density. Gibb and Holtz give a well-known correlation between them, and the vertical effective pressure.
- Relative density is related to the ultimate skin friction and base resistance according to ISO 19901-4:2003 (API RP 2GEO) [14].
- The pile can be split into same-length slices. At each slice, ultimate skin friction is associated depending on its depth. The deepest slice has additionally a base resistance.
- For each pile slice, its curve t-z is calculated and for the deepest the base bearing capacity curve, according to the aforementioned code.
- Soil deformation modulus can be obtained also from the relative density and SPT index. It can be transformed into spring when area and slice thickness is known.
- That analytical model gives a load–settlement prediction curve, which later can be compared to, for example, a real-scale load test.
The following sections describe this procedure in more detail
3.1. Relative Density from SPT Index
Relative density (DR%) can be obtained from, SPT index according to the Gibb and Holtz formulation [15]. So:
where
σ′v is Vertical effective stress at the SPT test depth.
N60 is SPT-index corrected by hammer energy and depth.
where
NSPT is the SPT value corrected only by the groundwater table.
Er is the relative hammer energy.
Cr is a factor that accounts for the depth where the test is performed, according to the expression below:
- From borehole top to 3.0 m deep, it is 0.75.
- Below 3.0 m deep, z = 3.0 m Cr = (z − 3)/28 + 0.75 < 1.0.
3.2. Ultimate Skin Friction and Base Resistance
For piles in granular soil, skin friction f(z) is a function of relative density and effective pressure. It can be obtained by the expression:
where
p′0(z) Vertical effective pressure at z-depth plus the load transmitted to the soil through the capping layer.
β: friction factor whose value is a function of the relative density.
For auger piles, the F-value could be 1.0. For other piles, it is usually recommended to look for experience or specific tests. For ultimate bearing capacity (q) in granular soil. The following expression can be used.
where:
Nq: non-dimensional parameter.
p′o,tip: Effective vertical pressure at the base of the pile.
The following charts collect the relationship needed to develop this formulation based on the soil relative density (Figure 6).
Figure 6.
Pile bering capacity unitary resistances (a) Relationship between relative density and skin friction; (b) relationship between relative density and resistance.
3.3. Pile Model
Figure 5 shows the pile model used to solve the load–settlement relationship. It consists of split the pile into equal-length slices. The slices are united by an elastic spring (Ki). Each of them has a weight (Pi) and ultimate skin friction (Rfi). The deepest slice has additionally a base resistance (Rp).
3.4. Soil Stiffness
Deformation modulus is also related to the SPT index. The following relationship is used:
The vertical springs that control soil deformation of the slices both the ones that are at the pile level and below its tip are as following:
where the factor 0.75 stand for the elastic coefficient that makes null lateral deformation.
3.5. Load Distribution through Capping
The model has to support a uniformed distributed load (Fo) applied at the ground level. This load is shared by the pile and the soil top slice according to Figure 7 and formulation:
Figure 7.
Model for load distribution through the capping beam.
For any intermediate stage, the loads on the pile and the soil are interpolated from the previous extreme values. Besides the external load, the model also includes the weight of the capping layer, which is equally distributed between the pile and the soil following the previous equations.
3.6. System of Equations
Each pile slices undergo an absolute offset (ui), as a result of the application of the external load (Qpile) and capping layer weight (Wpile). ui is a positive downward movement [16]. At the same time, soil slices undergo a downward movement (wi) as a result of the load application (Qsoil) and associated capping weight (Wsoil) pile–soil interaction depends on the relative displacement between them (ui–wi). The following equation system solves the mathematical problem.
For the pile
- Ki is the pile stiffness that takes the value Ki = EA/L.
where:
- E: pile deformation modulus.
- A: pile cross-section area.
- L: slice length.
On the other hand, for the soil slices interacting with the pile:
Below the pile base
The solution of the previous system provides the seeking relationship between applied external pressure F0 and displacement at the top pile (u1). Since skin friction Rfi(ui) and base resistance Rp(un) are functions of displacement, the system is non-linear, and it has to be used as an iterative algorithm to reach the solution.
3.7. t-z and Q-z Curves
Rfi functions are obtained from the curves t-z defined in standard ISO 19901-4:2003 (API RP 2GEO). Base resistance also follows the recommendations of this standard. Figure 8 shows the used functions.
Figure 8.
Pile deformation parcial relaptionship (a): t-z curves. (b) Q-z. curves.
4. Verification with Finite Element Model
The previous model was verified with a finite element method (FEM) where the geometry and loads were reproduced. The following Figure 9 shows the 3D model geometry. It consists of a prismatic soil cell of soil, reinforced by nine rigid inclusions, and cover by a capping layer.
Figure 9.
General model views (a) Finite Element Method (FEM) for verification: full model view; (b) FEM for verification: pile distribution detail view.
Soil and pile settlement are compared between both models. For the piles, the central one of the FEM was chosen. For the soil, the vertical line passing through the middle point between two piles is compared to the results of the spring model. Figure 10 shows the calculated values from the two methods. It is observed that the results obtained by the two methodologies are in good agreement. Both calculation methods have been run for several geometries and load, getting similar outputs
Figure 10.
Pile and soil settlement comparison.
Besides deformation, both methodologies give also the mobilized skin friction along the pile shaft. Figure 11 shows the obtained results. Both are also in good agreement, even though the FEM shows greater dispersion at the pile’s extremes due to the geometric hardness of the edges.
Figure 11.
Pile and soil skin-friction comparison.
The performed verification is proof of the correct formulation of the analytical model but also allows for calibrating some of its variables.
The FEM shows how the uniform load applied on the surface is distributed between the pile and the surrounding soil. The following relationship is finally proposed:
where “∅”is the internal friction angle of the capping layer (Figure 12):
Figure 12.
Principal stress direction.
The transmitted load that reached the soil increases the effective vertical stress and so the skin friction on the pile. So that skin friction at the top of the pile is higher than expected on an isolated pile.
5. Settlement Prediction
The model presented before takes the soil inputs from the defined SPT variable. Since it is a statistical variable, two types of analysis are available. First, the best estimation will be obtained using the SPT average with depth. Then, the outputs of a probabilistic analysis using the SPT generated profiles will be presented.
5.1. Best Estimation Analysis
Figure 13 shows an example of the type of outputs wanted by this model. This is a relationship between the distributed load applied at the surface and settlement. In this particular case, a large-scale load test was available, so the model output was adjusted to match it. The models allow for some adjustment in the model constants. The more representative is the value Zpeak that is related to the initial load–deformation relationship of the t-z curves. For that particular case, a value of 1% was used.
Figure 13.
Model analytical outputs for the SPT average compared to a large-scale load test.
The load is applied in steps. For each one, the soil settlement around the pile and the pile settlement is shown in Figure 14.
Figure 14.
Model analytical outputs pile and soil settlements.
5.2. Probabilistic Analysis
The numerical model presented above can reasonably reproduce the observed settlement in the large-scale load tests. However, this section also shows the model’s capacity to provide a settlement as a statistic variable, so that the confidence interval can be obtained.
The following procedure is proposed:
- SPT strength profiles are generated which meet the expected average and standard deviation as it has been discussed in previous sections. In this way, statistical uncertainty due to the randomness of the soil profile is introduced.
- For each of these profiles, it is calculated the settlement for a given load. As a result, a settlement distribution function is obtained.
- Finally, the uncertainty of the model prediction is assessed on this distribution. If large-scale load tests are available, as in this case, comparison allows for the verification of the procedure.
The density distribution function is calculated by entering in the model the synthetic SPT profiles generated according to its distribution function.
The rest of the parameters remain constant to the values entered for the adjustment of the settlement made in the previous section. It is therefore a deterministic model that is fed by a statistic variable. The result is a statistic variable, which in this case is the settlement density function.
Figure 15 shows this settlement function, which is compared to the large-scale test available in this particular case.
Figure 15.
Settlement distribution functions.
6. Discussion
This paper develops a procedure to deal with uncertainty coming from soil conditions. It is applied to an analytical model to simulate the behavior of a soil improvement work based on rigid inclusion below a slab. The model can predict the settlements of the slab. Even more, it is also able to provide a confidence level based on a probabilistic approach to the input variables.
The paper tries to encourage the use of probabilistic models to solve complex geotechnical problems.
In this line, input values have to be defined as statistical variables. In-situ test outputs—SPT or CPT—are in many analytical models input value. So, a procedure to transform the in-situ results into a statistical variable has been proposed. The implementation of an analytical model to predict settlement and the agreement with the available large-scale test show that the procedure is a successful approach.
The paper highlights the importance of comparing several sets of in-situ tests. This gives confidence to the expected dispersion of them. In this case, a large number of SPT tests and CPT were available, but the statistical approach can be extended to a more modest geotechnical campaign, since often, geological strata have large extensions, and many works are developed on them. So, the statistical values of a site investigation are also applicable to other ones within the same area.
Site investigation outputs involve many uncertainties, but most of them can be addressed based on observations from the site campaign. So, not only the value of the in-situ test is worthy, but also all the circumstances around and the way it was carried out.
Numerical models based on finite element method (FEM) or similar are well extended nowadays in the geotechnical analysis. However, currently, they find difficulties dealing with statistical inputs. So, analytical models as the one develops in this paper are still needed to solve specific situations. They add the possibility to carry out a statistical analysis. FEM helps in understanding the relevant parameters of such analytical methods.
Many efforts are still needed to bring reliability analysis to practical soil mechanic problems. Probabilistic approaches are proving to be a useful tool for it. It is expected that more practical applications to assess its utility come in the near future. These new assessments will take advantage of modern developments in monitoring techniques, improvements in soil investigations, and computer facilities to deal with significant amounts of data.
Author Contributions
Contributions of the authors: conceptualization, methodology, and investigation, M.B.A., F.E.S.; software, M.B.A. review and supervision, E.S.P.; editing, supervision, and formal analysis, M.B.A. and F.E.S. All authors have read and agreed to the published version of the manuscript.
Funding
This research received no external funding.
Acknowledgments
The authors of the paper appreciate the support given in time and resources by Civil Engineering Department, Construction, Infrastructures and Transportation, Universidad Politécnica de Madrid (UPM), and Gotecnia e Ingeniería del Terreno (GEOINTEC) company.
Conflicts of Interest
The authors declare no conflict of interest.
References
- Escolano, F.; Bueno, M.; Sánchez, J.R. Interpretation of the pressuremeter test using numerical models based on deformation tensor equations. Bull. Eng. Geol. Environ. 2014, 73, 141–146. [Google Scholar] [CrossRef]
- Rackwitz, R.; Denver, H.; Calle, E. JCSS Probabilistic Model Code, Section 3.7: Soil Properties, 5th ed.; Joint Committee on Structural Safety: Zurich, Switzerland, 2002. [Google Scholar]
- Joint Committee on Structural Safety. JCSS Probabilistic Model Code, Section 3.7: Soil Properties; Joint Committee on Structural Safety: Zurich, Switzerland, 2006. [Google Scholar]
- Hoek, E.; Kaiser, P.K.; Bawden, W.F. Support of Underground Excavations in Hard Rock; Funding by Mining Research Directorate; Routledge: Abingdon, UK, 2000. [Google Scholar]
- ROM. Recomendaciones Geotécnicas Para Obras Marítimas y Portuarias ROM 0.5–05; Ministerio de Fomento: Madrid, Spain, 2005.
- Davis, D.; Faber, B.A.; Stedinger, J.R. USACE experience in implementing risk analysis for flood damage reduction projects. J. Contemp. Water Res. Educ. 2008, 140, 3–14. [Google Scholar] [CrossRef]
- Escolano, F.; Bueno, M.; Fernandez-Ordoñez, D. The Finite Elements Method (FEM) versus traditional Methods (TM), in the estimation of settlement and modulus of soil reaction for foundation slabs design on soils with natural or man-made cavities. Inf. Construcción 2015, 73. [Google Scholar] [CrossRef]
- Robertson, P.K.; Campanella, R.G. Interpretation of cone penetration tests. Part I: Sand. Can. Geotech. J. 1983, 20, 718–733. [Google Scholar] [CrossRef]
- Robertson, P.K.; Campanella, R.G.; Wightman, A. Spt-Cpt Correlations. J. Geotech. Eng. 1983, 109, 1449–1459. [Google Scholar] [CrossRef]
- Augusti, G.; Baratta, A.; Casciati, F. Probabilistic Methods in Structural Engineering; CRC Press: Boca Raton, FL, USA, 1984. [Google Scholar]
- Bueno, M.; Escolano, F.; Sanz, E. Model Uncertainty for Displacement Prediction for Laterally Loaded Piles on Granular Fill. Appl. Sci. 2020, 10, 613. [Google Scholar] [CrossRef]
- Montoya, C.A.H.; de Assis, P. Herramientas para Análisis por Confiabilidad en Geotecnia: La Teoría. Rev. Ing. Univ. Medellín 2007, 10, 69–78. [Google Scholar]
- Blanc, M.; Rault, G.; Thorel, L.; Almeida, M. Centrifuge investigation of load transfer mechanisms in a granular mattress above a rigid inclusions network. Geotext. Geomembr. 2013, 36, 92–105. [Google Scholar] [CrossRef]
- American Petroleum Institute. Geotechnical and Foundation Design Considerations, 2GEO; American Petroleum Institute: Washington, DC, USA, 2011. [Google Scholar]
- Gibb, H.J.; Holz, W.G. Researche on determining the Density of sand by Spoon Penetration testing. In Proceedings of the 4th Conference on SMFE, London, UK, 12–24 August 1957; pp. 35–39. [Google Scholar]
- Sousa Coutinho, A.G. Prediction of the horizontal load-displacement curves of pile groups based on the results of single pile tests. Can. Geotech. J. 2000, 37, 951–962. [Google Scholar] [CrossRef]
Publisher’s Note: MDPI stays neutral with regard to jurisdictional claims in published maps and institutional affiliations. |
© 2020 by the authors. Licensee MDPI, Basel, Switzerland. This article is an open access article distributed under the terms and conditions of the Creative Commons Attribution (CC BY) license (http://creativecommons.org/licenses/by/4.0/).














