Model Tests of Concrete-Filled Fiber Reinforced Polymer Tube Composite Pile Under Cyclic Lateral Loading
Abstract
1. Introduction
2. Experiment Overview
2.1. Design and Manufacture of Specimens
2.2. Test Soil Sample Preparation
2.3. Layout of Measurement Points
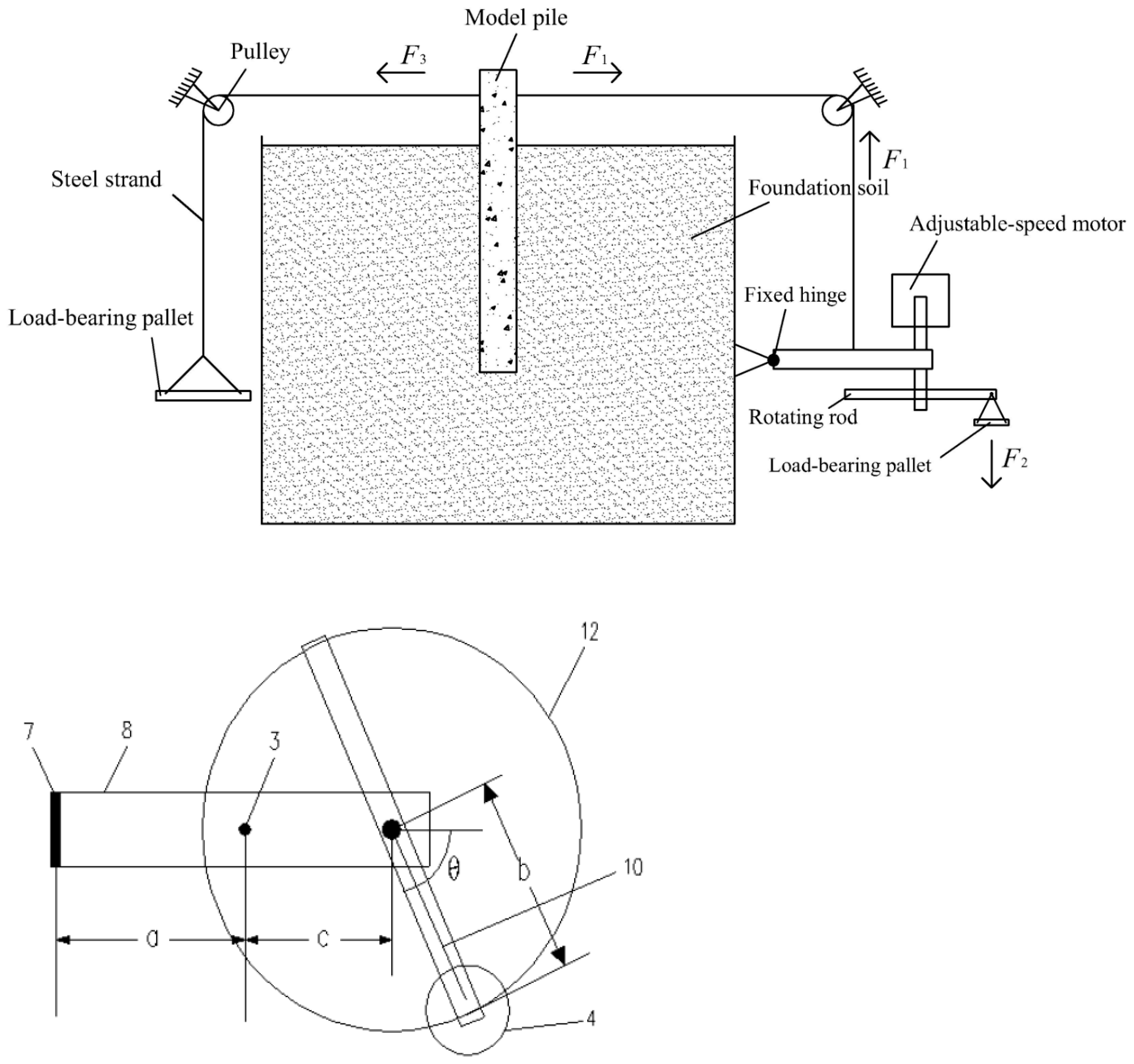
2.4. Loading Device and Method
3. Experimental Results and Analysis
3.1. The Impact of Cyclic Loading Cycles on Pile–Soil Interaction
3.2. The Impact of Cyclic Loading Frequency on Pile–Soil Interaction
3.3. The Impact of Different Loading Methods on Pile–Soil Interaction
3.4. The Impact of Different Embedment Depths on Pile–Soil Interaction
4. Conclusions
Author Contributions
Funding
Data Availability Statement
Conflicts of Interest
References
- Shu, J.; Gu, X.; Wang, T.; Li, X.; Zhu, M. Influence of the Internal Friction Resistance on the Vertical Compressive Bearing Capacity of Large-Diameter Steel Pipe Piles. Buildings 2024, 14, 3481. [Google Scholar] [CrossRef]
- Bai, X.; Zhang, Y.; Yan, N.; Liu, J.; Zhang, Y. Experimental investigation on bearing capacity of rock-socketed bored piles in silty clay stratum in beach areas. Appl. Ocean Res. 2025, 154, 104336. [Google Scholar] [CrossRef]
- Qin, W.; Dai, G.; Zhao, X.; Shu, G.; Gong, W. Experimental Investigation of CFFP-Soil Interaction in Sand under Cyclic Lateral Loading. Geotech. Test. J. 2019, 42, 1055–1074. [Google Scholar] [CrossRef]
- Li, X.; Dai, G.; Yin, Q.; Yang, X.; Gong, W. A continuum-based model for a laterally loaded steel pipe pile in layered soils in offshore wind farms. Arab. J. Geosci. 2021, 14, 1605. [Google Scholar] [CrossRef]
- Chen, J.; Shu, J.; Xi, S.; Gu, X.; Zhu, M.; Li, X. A New Method for Predicting Dynamic Pile Head Stiffness Considering Pile-Soil Relative Stiffness Under Long-Term Cyclic Loading Conditions. Buildings 2024, 14, 3483. [Google Scholar] [CrossRef]
- Gu, X.; Shu, J.; Wang, Y.; Wang, P.; Zhu, M. Study on Dynamic Response of Pile Foundation in Elastoplastic Soil Under Horizontal Loads. Buildings 2024, 14, 3951. [Google Scholar] [CrossRef]
- Long, J.H.; Vanneste, G. Effects of cyclic lateral loads on piles in sand. J. Geotech. Eng. 1994, 120, 225–244. [Google Scholar] [CrossRef]
- Lin, S.; Liao, J. Permanent strains of piles in sand due to cyclic lateral loads. J. Geotech. Geoenviron. Eng. 1999, 125, 798–802. [Google Scholar] [CrossRef]
- Poulos, H.G. Single pile response to cyclic lateral load. J. Geotech. Geoenviron. Eng. 1982, 108, 355–375. [Google Scholar] [CrossRef]
- Li, X.; Dai, G.; Zhu, M.; Wang, L.; Liu, H. A Simplified Method for Estimating the lnitial Stiffness of Monopile-Soil interaction Under Lateral Loads in Offshore Wind Turbine Systems. China Ocean Eng. 2023, 37, 165–174. [Google Scholar] [CrossRef]
- Li, X.; Dai, G.; Zhu, M.; Zhu, W.; Zhang, F. Investigation of the soil deformation around laterally loaded deep foundations with large diameters. Acta Geotech. 2023, 19, 2293–2314. [Google Scholar] [CrossRef]
- Li, X.; Zhu, M.; Dai, G.; Wang, L.; Liu, J. Interface Mechanical Behavior of Flexible Piles Under Lateral Loads in OWT Systems. China Ocean Eng. 2023, 37, 484–494. [Google Scholar] [CrossRef]
- Li, X.; Dai, G.; Zhang, F.; Gong, W. Energy-based analysis of laterally loaded caissons with large diameters under small-strain conditions. Int. J. Geomech. 2022, 22, 05022005. [Google Scholar] [CrossRef]
- Qin, W.; Ye, C.; Gao, J.; Dai, G.; Wang, D.; Dong, Y. Pore water pressure of clay soil around large-diameter open-ended thin-walled pile (LOTP) during impact penetration. Comput. Geotech. 2025, 180, 107065. [Google Scholar] [CrossRef]
- Wang, F.; Rong, B.; Zhang, G.; Zhang, J. Centrifugal model test of pile foundation for wind power unit under cyclic lateral loading. Rock Soil Mech. 2011, 32, 1926–1930. [Google Scholar]
- Zhu, B.; Yang, Y.; Yu, Z.; Guo, J.; Cheng, Y. Field tests on lateral monotonic and cyclic loadings of offshore elevated piles. Chin. J. Geotech. Eng. 2012, 34, 1028–1037. [Google Scholar]
- Guades, E.J.; Aravinthan, T.; Islam, M.M. An overview on the application of FRP composites in piling system. In Proceedings of the 2010 Southern Region Engineering Conference (SREC 2010), Toowoomba, Australia, 11–12 November 2010. [Google Scholar]
- Melchers, R.E.; Jeffrey, R.J. Long-Term corrosion of steel in marine environments: Field data and predictive models. Corros. Sci. 2019, 147, 1–15. [Google Scholar]
- Broomfield, J.P. Corrosion of Steel in Concrete: Understanding, Investigation and Repair; CRC Press: Boca Raton, FL, USA, 2023. [Google Scholar]
- Eaton, R.A.; Hale, M.D. Wood: Decay, Pests, and Protection; Chapman and Hall: London, UK, 1993. [Google Scholar]
- Karbhari, V.M.; Shroff, J. Durability of FRP composites in marine environments: A critical review. J. Compos. Constr. 2005, 9, 143–151. [Google Scholar]
- Busel, J. FRP Composites in Construction Applications: A Profile in Progress; SPI Composites Institute: New York, NY, USA, 1995. [Google Scholar]
- Fam, A.; Pando, M.; Filz, G.; Rizkalla, S. Precast piles for Route 40 bridge in Virginia using concrete filled FRP tubes. PCI J. 2003, 48, 32–45. [Google Scholar] [CrossRef]
- Ashford, S.A.; Jakrapiyanun, W. Drivability of glass FRP composite piling. J. Compos. Constr. 2001, 5, 58–60. [Google Scholar] [CrossRef]
- Pando, M.A.; Lesko, J.J.; Fam, A.; Tizkalla, S.H. Durability of concrete-filled tubular FRP piles. In Proceedings of the 3rd International Conference on Composites in Infrastructure, ICCI, San Francisco, CA, USA, 10–12 June 2002; Volume 2, pp. 10–12. [Google Scholar]
- Murugan, M.; Natarajan, C.; Muthukkumaran, K. Experimental investigation on GFRP strengthened RC piles under lateral loads. Int. J. Forensic Eng. 2014, 2, 15–28. [Google Scholar] [CrossRef]
- Abdulla, N.A. A state-of art-review of materials, methods, and applications of PVC-FRP-confined concrete. Constr. Build Mater. 2023, 363, 129719. [Google Scholar] [CrossRef]
- Jiang, C. Strength enhancement due to FRP confinement for coarse aggregate-free concretes. Eng. Struct. 2023, 277, 115370. [Google Scholar] [CrossRef]
- JGJ 55-2011; Specification for Mix Proportion Design of Ordinary Concrete. China Architecture & Building Press: Beijing, China, 2011.
- GB 175-2007; Common Portland Cement. Standard Press of China: Beijing, China, 2007.
- QB/T 2567-2002; Electric Soldering Irons. China Light Industry Press: Beijing, China, 2002.
- HG/T 3313-2000; Room Temperature Vulcanized Methyl Silicone Rubber. Ministry of Chemical Industry: Beijing, China, 2000.
- Chen, R.; Gu, M.; Kong, L.; Zhang, Z.; Chen, Y. Large-Scale model tests on high-rise platform pile groups under cyclic lateral loads. Chin. J. Geotech. Eng. 2012, 34, 1990–1996. [Google Scholar]
- Cuéllar, P. Pile Foundations for Offshore Wind Turbines: Numerical and Experimental Investigations on the Behaviour Under Short-Term and Long-Term Cyclic Loading. Doctoral Thesis, Technische Universität Berlin, Berlin, Germany, 2011. [Google Scholar]
- White, D.J.; Take, W.A.; Bolton, M.D. Soil deformation measurement using particle image velocimetry (PIV) and photogrammetry. Geotechnique 2003, 53, 619–631. [Google Scholar] [CrossRef]













| Specific Gravity of Soil Particles | Dry Density ρd /(g·cm−3) | Cohesion c /(kPa) | Angle of Internal Friction φ /(°) | |
|---|---|---|---|---|
| ρdmin | ρdmax | |||
| 2.68 | 1.39 | 1.69 | 8 | 32 |
| Test Pile Number | Pile Length L/m | Cycle Count | Cyclic Loading Period /s | Test Specification |
|---|---|---|---|---|
| 0 | 1.6 | Static Load | - | After applying a load and maintaining it for 4 min, a strain measurement is taken. Subsequently, the load is unloaded, and after a waiting period of 2 min, the residual strain is measured. |
| 1 | 1.6 | 50 | 2 | After every 10 cycles, a strain measurement is taken. |
| 2 | 6 | |||
| 3 | 13 | |||
| 4 | 1.6 | 200 | 2 | For the first 100 cycles of cyclic loading, a strain measurement is taken every 10 cycles. After this, the frequency of strain measurements is reduced to once every 20 cycles. |
| 5 | 6 | |||
| 6 | 13 | |||
| 7 | 1.6 | 700 | 2 | |
| 8 | 6 | |||
| 9 | 13 | |||
| 10 | 1.2 | 100 | 6 | Perform the same cyclic loading for 50 cycles |
| 11 | 700 | 6 | Ditto |
| Loading Mode | Static Load/kN | Number of Cyclic Loads | Loading Period /s | |
|---|---|---|---|---|
| 50 | 700 | |||
| Ultimate Bearing Capacity /kN | 1.04 | 1.49 | 1.34 | 2 s |
| 1.34 | 1.19 | 6 s | ||
| 1.19 | 1.09 | 13 s | ||
Disclaimer/Publisher’s Note: The statements, opinions and data contained in all publications are solely those of the individual author(s) and contributor(s) and not of MDPI and/or the editor(s). MDPI and/or the editor(s) disclaim responsibility for any injury to people or property resulting from any ideas, methods, instructions or products referred to in the content. |
© 2025 by the authors. Licensee MDPI, Basel, Switzerland. This article is an open access article distributed under the terms and conditions of the Creative Commons Attribution (CC BY) license (https://creativecommons.org/licenses/by/4.0/).
Share and Cite
Yang, C.; Dai, G.; Gong, W.; Wang, Y.; Zhu, M.; Huo, S. Model Tests of Concrete-Filled Fiber Reinforced Polymer Tube Composite Pile Under Cyclic Lateral Loading. Buildings 2025, 15, 563. https://doi.org/10.3390/buildings15040563
Yang C, Dai G, Gong W, Wang Y, Zhu M, Huo S. Model Tests of Concrete-Filled Fiber Reinforced Polymer Tube Composite Pile Under Cyclic Lateral Loading. Buildings. 2025; 15(4):563. https://doi.org/10.3390/buildings15040563
Chicago/Turabian StyleYang, Chao, Guoliang Dai, Weiming Gong, Yuxuan Wang, Mingxing Zhu, and Shaolei Huo. 2025. "Model Tests of Concrete-Filled Fiber Reinforced Polymer Tube Composite Pile Under Cyclic Lateral Loading" Buildings 15, no. 4: 563. https://doi.org/10.3390/buildings15040563
APA StyleYang, C., Dai, G., Gong, W., Wang, Y., Zhu, M., & Huo, S. (2025). Model Tests of Concrete-Filled Fiber Reinforced Polymer Tube Composite Pile Under Cyclic Lateral Loading. Buildings, 15(4), 563. https://doi.org/10.3390/buildings15040563

