Preliminary Study of Interactive Local Buckling for Aluminium Z-Section
Abstract
1. Introduction
2. Theoretical Remarks
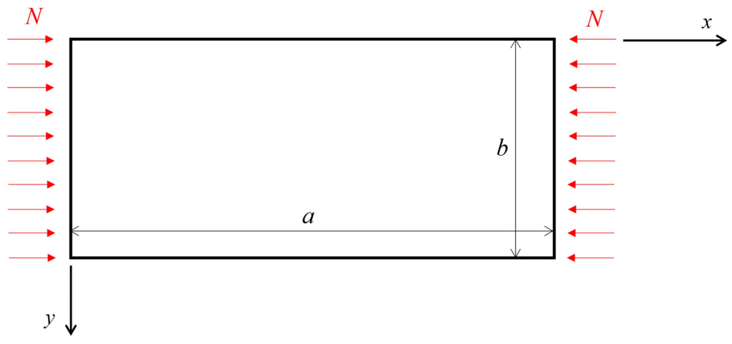
3. DTP Procedure for Z-Sections
3.1. Theoretical Derivation
3.2. Case Study
3.3. Numerical Analyses
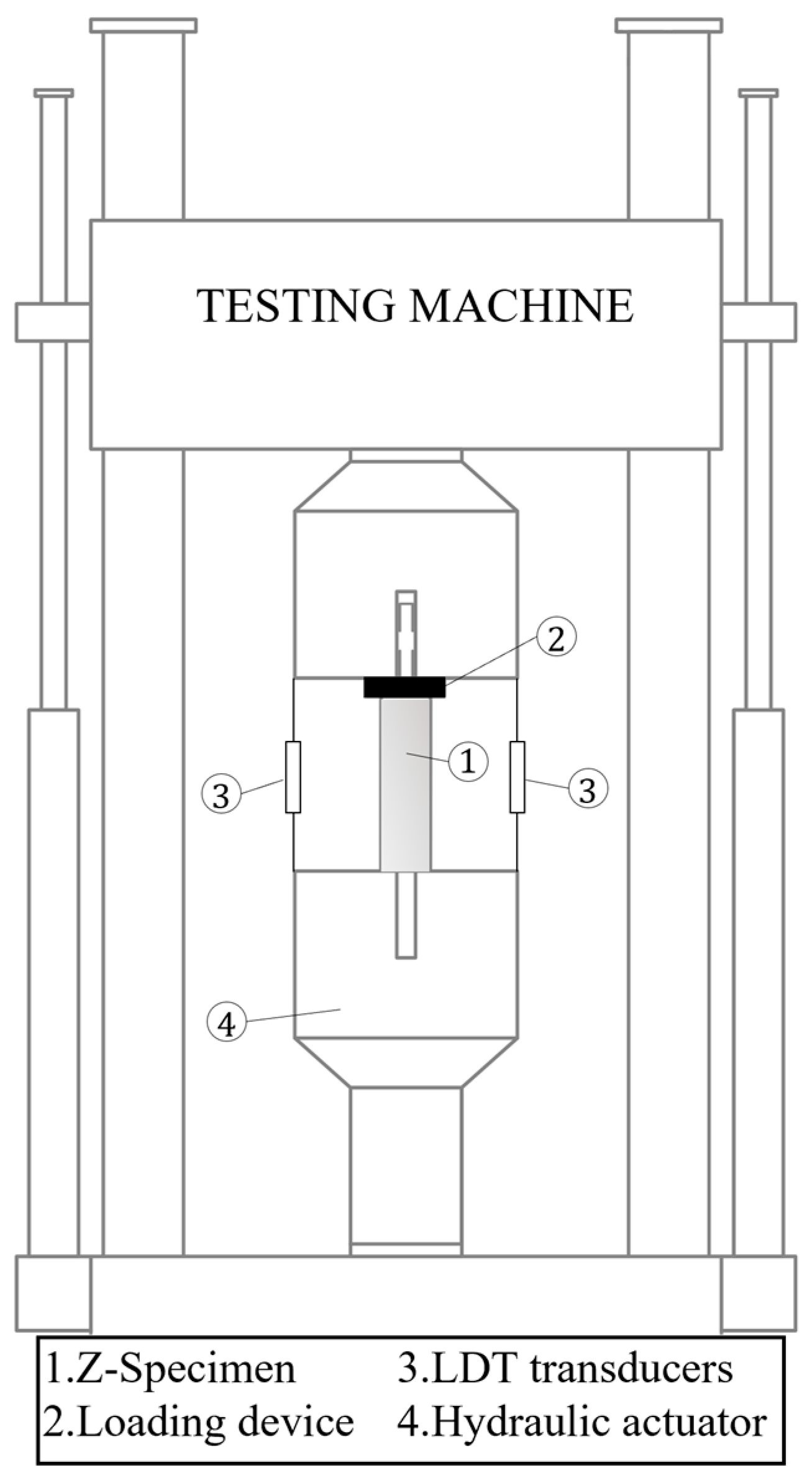
4. Comparison with Stub Column Tests
5. Conclusions
- The occurrence of buckling stress is strongly influenced by the width-to-thickness ratio . As expected, for a value of , the critical stress occurs in the elastic–plastic range.
- The critical value of the width-to-thickness ratio () at which the transition from elastic to plastic buckling occurs depends on the coefficient Specifically, as the R-O coefficient () increases, the corresponding value decreases.
- There is good accuracy in the prediction of ultimate resistance of the aluminium Z-section under uniform compression by means of the DTP procedure.
- The minimum and maximum values of the ratios are equal to 0.86 and 1.02, respectively.
- The mean value of the ratio is equal to 0.94, with a standard deviation of .
- The European provisions are applied. In particular, the mean value of the ratio is equal to 0.79, with a standard deviation of .
- The percentage errors were evaluated with respect to the experimental results for both the EC9 rules and the theoretical procedure. The results confirmed that EC9 provides more conservative values. In fact, in the first case, the mean value of the percentage error was equal to 20.59, while it was equal to 6.28 in the second case.
Author Contributions
Funding
Data Availability Statement
Conflicts of Interest
List of Symbols
| Cartesian axes | Bending and twisting moments per unit distance in the i-th plate |
| Normal force per unit distance in the middle surface of the plate along the x- and y-directions | Shearing force considering the twisting moment for the i-th plate |
| Displacement in the z-direction | Strain of the material |
| Young’s modulus, secant modulus and tangent modulus | Stress of the material |
| Thickness of the plate | Ramberg–Osgood coefficient |
| Function describing the Poisson coefficient in the elastic–plastic region | Mean value |
| Function describing the flexural rigidity of the plate in the elastic–plastic region | Standard deviation |
| Width of a single plate | Yield stress corresponding to 0.2% plastic strain of aluminium alloys |
| Total widths of a generic angle section | Ultimate stress of aluminium alloys |
| Widths of the centreline of a generic angle section | Critical stress in the elastic range |
| Length of the plate | Critical stress in the elastic–plastic range |
| Plastic coefficients modifying the differential equation of a single buckled plate | Critical buckling stress of the whole section |
| Number of half-waves in the -direction | Ultimate experimental load |
| Integration constants | Ultimate theoretical load |
| Vector of the integration constants | Trigonometric functions |
| Matrix of coefficients in the theoretical procedure | Hyperbolic functions |
| Factors of the plate of a section | Derivative operator |
Appendix A
Appendix B
| %ELASTIC-PLASTIC BUCKLING FOR UNIFORM COMPRESSION FOR Z SECTION clear all close all clc %% %MATERIAL E=xlsread('COMPARISON_Z.xlsx','Z SECTION','J5:J173')'; %Young's Modulus [MPa] n=xlsread(' COMPARISON _Z.xlsx','Z SECTION','M5:M173')'; %Ramberg-Osgood Exponent f02 =xlsread(' COMPARISON _Z.xlsx','Z SECTION','K5:K173')'; %Yield Stress [MPa] fu=320; %Ultimate Stress [MPa] ne=0.3; %Poisson's coefficient np=0.5; %Plastic Poisson's coefficient m=1;%number of buckling half-waves along the loading direction for plate 1 for i=1:length(E) s(i,:)=[0:fu];% Stress Matrix [MPa] e(i,:)=s(i,:)./E(i)+0.002*(s(i,:)./f02(i)).^n(i); %strain Matrix end %GEOMETRIC DATA %PLATE 1 a= xlsread('COMPARISON_Z.xlsx','Z SECTION','H5:H173')'; % plate length bf1=xlsread('COMPARISON_Z.xlsx','Z SECTION','D5:D173')'; %width flange plate b1= bf1; %width plate 1 t1= xlsread('COMPARISON_Z.xlsx','Z SECTION','F5:F173')'; %thickness plate 1 m1= m; %number of buckling half-waves along the loading direction for plate 1 %PLATE 2 bw=xlsread('COMPARISON_Z.xlsx','Z SECTION','E5:E173')'; %width web plate b2= bw./2; %width plate 2 t2=xlsread('COMPARISON_Z.xlsx','Z SECTION','G5:G173')'; %thickness plate 2 m2= m; %number of buckling half-waves along the loading direction for plate 2 %PLATE 3 bf3=xlsread(' COMPARISON_Z.xlsx','Z SECTION','D5:D173')'; %width web plate b3= bf3; %width plate 3 t3= xlsread(' COMPARISON_Z.xlsx','Z SECTION','F5:F173')'; %thickness plate 3 m3= m; %number of buckling half-waves along the loading direction for plate 3 %% for i=1:length(E) Es(i,:)=s(i,:)./e(i,:); %Secant Modulus Matrix end for i=2:length(s) Et(:,i)=(s(:,i)-s(:,i-1))./(e(:,i)-(e(:,i-1))); %Tangent Modulus Matrix end for i=1:length(E) ni(i,:)=np -(Es(i,:)./E(i))*(np-ne); %Poisson coefficient Matrix V(i,:)=1+(((1-2*ni(i,:)).^2)./(4*(1-(ni(i,:).^2))).*(1-(Et(i,:)./Es(i,:)))); C1(i,:)=1-(((2-ni(i,:)).^2)./(4*V(i,:).*(1-ni(i,:).^2))).*(1-Et(i,:)./Es(i,:)); %Plastic coefficient C1 C3(i,:)=1+(((2-ni(i,:)).*(1-2*ni(i,:)))./(4*V(i,:).*(1-ni(i,:).^2))).*(1-Et(i,:)./Es(i,:)); %Plastic coefficient C3 C5(i,:)=1-(((1-2*ni(i,:)).^2)./(4*V(i,:).*(1-ni(i,:).^2))).*(1-Et(i,:)./Es(i,:)); %Plastic coefficient C5 D1(i,:)=Es(i,:).*(t1(i)^3./(12.*(1-ni(i,:).^2))); %flexural rigidity of the plate 1 D2(i,:)=Es(i,:).*(t2(i)^3./(12.*(1-ni(i,:).^2))); %flexural rigidity of the plate 2 D3(i,:)=Es(i,:).*(t3(i)^3./(12.*(1-ni(i,:).^2))); %flexural rigidity of the plate 3 end %DEFINITION OF COEFFICIENTS ALPHA AND BETA FOR PLATE 1 for i=1:length(E) k1=(m1*pi)./a; %buckling factor for plate 1 Ncr1(i,:)=t1(i)*s(i,:); % compression load plate 1 A1(i,:)=sqrt((C3(i,:)*(k1(i)^2)+k1(i)*sqrt((C3(i,:)*k1(i)).^2-C5(i,:).*(C1(i,:)*(k1(i)^2)- Ncr1(i,:)./D1(i,:))))./C5(i,:));%Matrix of ALPHA 1 B1(i,:)=sqrt((-C3(i,:)*(k1(i)^2)+k1(i)*sqrt((C3(i,:)*k1(i)).^2-C5(i,:).*(C1(i,:)*(k1(i)^2)-Ncr1(i,:)./D1(i,:))))./C5(i,:));%Matrix of BETA 1 Fa1(i,:)=C5(i,:).*(A1(i,:).^2)-(ni(i,:)+C3(i,:)-1)*k1(i)^2; %PHI alpha factor for plate 1 Fb1(i,:)=C5(i,:).*(B1(i,:).^2)+(ni(i,:)+C3(i,:)-1)*k1(i)^2; %PHI beta factor for plate 1 Ga1(i,:)=C5(i,:).*(A1(i,:).^3)-A1(i,:).*(-ni(i,:)+C3(i,:)+1)*k1(i)^2; %GAMMA alpha factor for plate 1 Gb1(i,:)=C5(i,:).*(B1(i,:).^3)+B1(i,:).*(-ni(i,:)+C3(i,:)+1)*k1(i)^2;%GAMMA beta factor for plate 1 end; %DEFINITION OF COEFFICIENTS APLHA AND BETA FOR PLATE 2 for i=1:length(E) k2=(m2*pi)./a;%buckling factor for plate 2 Ncr2(i,:)=t2(i)*s(i,:); % compression load plate 2 A2(i,:)=sqrt((C3(i,:)*(k2(i)^2)+k2(i)*sqrt((C3(i,:)*k2(i)).^2-C5(i,:).*(C1(i,:)*(k2(i)^2)-Ncr2(i,:)./D2(i,:))))./C5(i,:));%Matrix of ALPHA 2 B2(i,:)=sqrt((-C3(i,:)*(k2(i)^2)+k2(i)*sqrt((C3(i,:)*k2(i)).^2-C5(i,:).*(C1(i,:)*(k2(i)^2)-Ncr2(i,:)./D2(i,:))))./C5(i,:));%Matrix of BETA 2 Fa2(i,:)=C5(i,:).*(A2(i,:).^2)-(ni(i,:)+C3(i,:)-1)*k2(i)^2; %PHI alpha factor for plate 2 Fb2(i,:)=C5(i,:).*(B2(i,:).^2)+(ni(i,:)+C3(i,:)-1)*k2(i)^2; %PHI beta factor for plate 2 Ga2(i,:)=C5(i,:).*(A2(i,:).^3)-A2(i,:).*(-ni(i,:)+C3(i,:)+1)*k2(i)^2; %GAMMA alpha factor for plate 2 Gb2(i,:)=C5(i,:).*(B2(i,:).^3)+B2(i,:).*(-ni(i,:)+C3(i,:)+1)*k2(i)^2;%GAMMA beta factor for plate 2 end %DEFINITION OF COEFFICIENTS APLHA AND BETA FOR PLATE 3 for i=1:length(E) k3=(m3*pi)./a; %buckling factor for plate 3 Ncr3(i,:)=t3(i)*s(i,:); % compression load plate 3 A3(i,:)=sqrt((C3(i,:)*(k3(i)^2)+k3(i)*sqrt((C3(i,:)*k3(i)).^2-C5(i,:).*(C1(i,:)*(k3(i)^2)-Ncr3(i,:)./D3(i,:))))./C5(i,:));%Matrix of ALPHA 3 B3(i,:)=sqrt((-C3(i,:)*(k3(i)^2)+k3(i)*sqrt((C3(i,:)*k3(i)).^2-C5(i,:).*(C1(i,:)*(k3(i)^2)-Ncr2(i,:)./D3(i,:))))./C5(i,:));%Matrix of BETA 3 Fa3(i,:)=C5(i,:).*(A3(i,:).^2)-(ni(i,:)+C3(i,:)-1)*k3(i)^2; %PHI alpha factor for plate 3 Fb3(i,:)=C5(i,:).*(B3(i,:).^2)+(ni(i,:)+C3(i,:)-1)*k3(i)^2; %PHI beta factor for plate 3 Ga3(i,:)=C5(i,:).*(A3(i,:).^3)-A3(i,:).*(-ni(i,:)+C3(i,:)+1)*k3(i)^2; %GAMMA alpha factor for plate 3 Gb3(i,:)=C5(i,:).*(B3(i,:).^3)+B3(i,:).*(-ni(i,:)+C3(i,:)+1)*k3(i)^2;%GAMMA beta factor for plate 3 end; % DETERMINANT OF MATRIX K k=0; for i=1:length(E); for j=1:length(e); k=k+1; K(:,:,k)=det([0,0,0,cosh(A2(i,j)*b2(i)),-sinh(A2(i,j)*b2(i)),cos(B2(i,j)*b2(i)),-sin(B2(i,j)*b2(i)),0,0,0;0,0,0,cosh(A2(i,j)*b2(i)),sinh(A2(i,j)*b2(i)),cos(B2(i,j)*b2(i)),sin(B2(i,j)*b2(i)),0,0,0;0,A1(i,j),B1(i,j),A2(i,j)*sinh(A2(i,j)*b2(i)),-A2(i,j)*cosh(A2(i,j)*b2(i)),-B2(i,j)*sin(B2(i,j)*b2(i)),-B2(i,j)*cos(B2(i,j)*b2(i)),0,0,0;0,0,0,A2(i,j)*sinh(A2(i,j)*b2(i)),A2(i,j)*cosh(A2(i,j)*b2(i)),-B2(i,j)*sin(B2(i,j)*b2(i)),B2(i,j)*cos(B2(i,j)*b2(i)),0,-A3(i,j),-B3(i,j);Fa1(i,j)+Fb1(i,j),0,0,-Fa2(i,j)*cosh(A2(i,j)*b2(i)),Fa1(i,j)*sinh(A2(i,j)*b2(i)),Fb2(i,j)*cos(B2(i,j)*b2(i)),-Fb2(i,j)*sin(B2(i,j)*b2(i)),0,0,0;Fa1(i,j)*cosh(A1(i,j)*b1(i))+Fb1(i,j)*cos(B1(i,j)*b1(i)),-Fa1(i,j)*sinh(A1(i,j)*b1(i)),Fb1(i,j)*sin(B1(i,j)*b1(i)),0,0,0,0,0,0,0;0,0,0,Fa2(i,j)*cosh(A2(i,j)*b2(i)),Fa2(i,j)*sinh(A2(i,j)*b2(i)),-Fb2(i,j)*cos(B2(i,j)*b2(i)),-Fb2(i,j)*sin(B2(i,j)*b2(i)),-(Fa3(i,j)+Fb3(i,j)),0,0;0,0,0,0,0,0,0,Fa3(i,j)*cosh(A3(i,j)*b3(i))+Fb3(i,j)*cos(B3(i,j)*b3(i)),Fa3(i,j)*sinh(A3(i,j)*b3(i)),-Fb3(i,j)*sin(B3(i,j)*b3(i));Gb1(i,j)*sin(B1(i,j)*b1(i))-Ga1(i,j)*sinh(A1(i,j)*b1(i)),Ga1(i,j)*cosh(A1(i,j)*b1(i)),-Gb1(i,j)*cos(B1(i,j)*b1(i)),0,0,0,0,0,0,0;0,0,0,0,0,0,0,Ga3(i,j)*sinh(A3(i,j)*b3(i))-Gb3(i,j)*sin(B3(i,j)*b3(i)),Ga3(i,j)*cosh(A3(i,j)*b3(i)),-Gb3(i,j)*cos(B3(i,j)*b3(i))]); end end DET_K=reshape(squeeze(K),[length(e),length(E)]); %MATRIX DERMINANT K %% for j=1:length(E); for i=2:length(e); if DET_K(i,j)>0; p_i(j)=i; break end end end for j=1:length(E); for i=p_i(j):length(e); if DET_K(i,j)<0; p_s(j)=i; break end end end for j=1:length(E); %COMPUTATION OF Scr Scr(j)=s(1,p_s(j)-1)-real(DET_K(p_s(j)-1,j))*((s(1,p_s(j)-1)-s(1,p_s(j)))/(real(DET_K(p_s(j)-1,j))-real(DET_K(p_s(j),j)))); %Critical stress vector [MPa] end %% |
References
- Mazzolani, F.M. 3D aluminium structures. Thin-Walled Struct. 2012, 61, 258–266. [Google Scholar] [CrossRef]
- Georgantzia, E.; Gkantou, M.; Kamaris, G.S. Aluminium alloys as structural material: A review of research. Eng. Struct. 2021, 227, 111372. [Google Scholar] [CrossRef]
- Sun, Y. The use of aluminium alloys in structures: Review and outlook. Struct. 2023, 57, 105209. [Google Scholar] [CrossRef]
- Brando, G.; De Matteis, G. Experimental and numerical analysis of a multistiffened pure aluminium shear panel. Thin-Walled Struct. 2011, 49, 1277–1287. [Google Scholar] [CrossRef]
- Brando, G.; De Matteis, G.; Mazzolani, F.M. Hysteretic behaviour of bracing-type pure aluminium shear panels by experimental tests. Earthq. Eng. Struct. Dyn. 2011, 40, 1143–1162. [Google Scholar]
- Lopez, A.; Puente, I.; Aizpurua, H. Experimental and analytical studies on the rotational stiffness of joints for single-layer structures. Eng. Struct. 2011, 33, 731–737. [Google Scholar] [CrossRef]
- Liu, Y.; Zhou, L.; Wang, C.L. Low-cycle fatigue testing of a novel aluminum alloy buckling-restrained brace. Key Eng. Mater. 2016, 710, 345–350. [Google Scholar] [CrossRef]
- De Matteis, G.; Brando, G.; Mazzolani, F.M. Pure Aluminium: An innovative material for structural applications in seismic engineering. Constr. Build. Mater. 2012, 26, 677–686. [Google Scholar] [CrossRef]
- Guo, X.; Wang, L.; Shen, Z.; Zou, J.; Liu, L. Constitutive model of structural aluminium alloy under cycling loading. Constr. Build. Mater. 2018, 180, 643–654. [Google Scholar] [CrossRef]
- Liu, K.; Mirza, F.A.; Chen, X.G. Effect of Overaging on the Cyclic Deformation Behavior of an AA6061 Aluminium Alloy. Metals 2018, 8, 528. [Google Scholar] [CrossRef]
- Pisapia, A.; Nastri, E.; Piluso, V.; Formisano, A.; Mazzolani, F.M. Experimental Campaign on Structural Aluminium Alloys under Monotonic and Cyclic Loading. Eng. Struct. 2023, 282, 115836. [Google Scholar] [CrossRef]
- prEN 1998-1-1; Eurocode 8—Design of Structures for Earthquake Resistance. Part 1: General Rules, Seismic Actions and Rules for Buildings. CEN/TC 250. European Committee for Standardization: Brussels, Belgium, 2021.
- EN1999-1-1; Eurocode 9: Design of Aluminium Structures—Part 1-1: General Structural Rules. European Committee for Standardization: Brussels, Belgium, 2023.
- GB 50429; Code for Design of Aluminium Structures. Ministry of Construction of the People’s Republic of China: Beijing, China, 2007.
- Aluminium Structures 1664 Part 1: Limit State Design; Australian/New Zealand Standard (AS/NZS): Sydney, Australia, 1997.
- Moen, L.A.; Hopperstad, O.S.; Langseth, M. Rotational capacity of aluminum beams under moment gradient. I: Experiments. J. Struct. Eng. 1999, 125, 910–920. [Google Scholar] [CrossRef]
- Mazzolani, F.M.; Piluso, V.; Rizzano, G. Local Buckling of Aluminium Alloy Angles under Uniform Compression. J. Struct. Eng. 2011, 137, 173–184. [Google Scholar] [CrossRef]
- Piluso, V.; Pisapia, A.; Rizzano, G. Local buckling of aluminium channels under uniform compression: Theoretical analysis and experimental tests. Thin-Walled Struct. 2022, 179, 109511. [Google Scholar] [CrossRef]
- Nastri, E.; Piluso, V.; Pisapia, A. Experimental tests on SHS aluminium beams under non-uniform bending. Eng. Struct. 2022, 267, 114649. [Google Scholar] [CrossRef]
- Montuori, R.; Nastri, E.; Piluso, V.; Pisapia, A. Ultimate behaviour of aluminium alloy I-beams: New experimental tests and European codification. Thin-Walled Struct. 2023, 191, 111038. [Google Scholar] [CrossRef]
- Su, M.N.; Young, B.; Gardner, L. Deformation-based design of aluminum alloy beams. Eng. Struct. 2014, 80, 339–349. [Google Scholar] [CrossRef]
- Su, M.N.; Young, B.; Gardner, L. Flexural response of aluminium alloy SHS and RHS with internal stiffeners. Eng. Struct. 2016, 121, 170–180. [Google Scholar] [CrossRef]
- Schafer, B.W. The Direct Strength Method of cold-formed steel member design. J. Constr. Steel Res. 2010, 66, 1232–1247. [Google Scholar]
- Zhu, J.H.; Young, B. Design of aluminium alloy flexural members using direct strength method. J. Struct. Eng. 2018, 135, 558–566. [Google Scholar] [CrossRef]
- Georgantzia, E.; Gkantou, M.; Kamaris, G.S. Numerical Modelling and Design of Aluminium Alloy Angles under Uniform Compression. CivilEng 2021, 2, 632–651. [Google Scholar] [CrossRef]
- Kim, Y.; Peköz, T. Numerical Slenderness Approach for design of complex aluminium extrusion subjected to flexural loading. Thin-Walled Struct. 2018, 127, 62–75. [Google Scholar] [CrossRef]
- De Matteis, G.; Moen, L.A.; Langseth, M.; Landolfo, R.; Hopperstad, O.S.; Mazzolani, F.M. Cross-sectional classification for aluminium beams: A parametric study. J. Struct. Eng. 2001, 127, 271–279. [Google Scholar] [CrossRef]
- De Matteis, G.; Landolfo, R.; Manganiello, M.; Mazzolani, F.M. Inelastic behaviour of I-shaped aluminium beams: Numerical analysis and cross-sectional classification. Comp. Struct. 2004, 82, 2157–2171. [Google Scholar] [CrossRef]
- Piluso, V.; Pisapia, A.; Nastri, E.; Montuori, R. Ultimate resistance and rotation capacity of low yielding high hardening aluminium alloy beams under non-uniform bending. Thin-Walled Struct. 2019, 135, 123–136. [Google Scholar] [CrossRef]
- Pisapia, A.; Piluso, V.; Nastri, E.; Montuori, R. Ultimate behaviour of high yielding low hardening aluminium alloys I-beams. Thin-Walled Struct. 2020, 146, 106463. [Google Scholar]
- Montuori, R.; Nastri, E.; Piluso, V.; Pisapia, A. The Influence of the Material Properties on the Ultimate Behaviour of Aluminium H-shaped Beams. Open Constr. Build. Technol. J. 2021, 15, 176–188. [Google Scholar] [CrossRef]
- Nastri, E.; Piluso, V.; Pisapia, A. Numerical application of effective thickness approach to box aluminium sections. J. Compos. Sci. 2021, 5, 291. [Google Scholar] [CrossRef]
- Prokic, A.; Mandic, R.; Vojnic-Purcar, M. Influence of bimoment on the torsional and flexural–torsional elastic stability of thin-walled beams. Thin-Walled Struct. 2015, 89, 25–30. [Google Scholar] [CrossRef]
- Jones, R.M. Deformation Theory of Plasticity; Bull Ridge Publishing: Blacksburg, VA, USA, 2009. [Google Scholar]
- Becque, J. Inelastic plate buckling. J. Eng. Mech. 2010, 136, 1123–1130. [Google Scholar] [CrossRef]
- Shamass, R.; Alfano, G.; Guarracino, F. On the elastoplastic buckling analysis of cylinders under non-proportional loading via the differential quadrature method. Int. J. Struct. Stab. Dyn. 2017, 17, 1750072. [Google Scholar] [CrossRef]
- Piluso, V.; Pisapia, A. Interactive Plastic Local Buckling of Box-shaped Aluminium Members under Uniform Compression. Thin-Walled Struct. 2021, 164, 107828. [Google Scholar] [CrossRef]
- Piluso, V.; Pisapia, A. Interactive Local Instability of Aluminium Angles. Thin-Walled Struct. 2024, 112159. [Google Scholar] [CrossRef]
- Piluso, V.; Pisapia, A. Theoretical procedure to predict the local buckling resistance of aluminium members in elastic-plastic range. In Proceedings of the 8th European Congress on Computational Methods in Applied Sciences and Engineering, ECCOMAS Congress, Oslo, Norway, 5–9 June 2022. [Google Scholar]
- Gerard, G.; Wildhorn, S. A Study of Poisson’s Ratio in the Yield Region; NACA Tech. Note: Washington, DC, USA, 1952; no. 2561. [Google Scholar]
- Timoshenko, S.P.; Gere, J.M. Theory of Elastic Stability; McGraw-Hill: New York, NY, USA, 1988. [Google Scholar]
- Stowell, E.Z. A Unified Theory of Plastic Buckling of Columns and Plates; NACA Tech. Note: Washington, DC, USA, 1948; no. 1556. [Google Scholar]
- Microsoft Corporation, Microsoft Excel. 2018.
- Heimerl, G.J.; Roy, J.A. Column and Plate Compressive Strengths of Aircraft Structural Materials Extruded 75S-T Aluminium Alloy; NACA Tech. Note: Washington, DC, USA, 1945; no. L5F08a. [Google Scholar]
- Heimerl, G.J.; Fay, D.P. Column and Plate Compressive Strengths of Aircraft Structural Materials Extruded R303-T Aluminium Alloy; NACA Tech. Note: Washington, DC, USA, 1945; no. L5H04. [Google Scholar]
- Heimerl, G.J.; Niles, D.E. Column and Plate Compressive Strengths of Aircraft Structural Materials Extruded 14S-T Aluminium Alloy; NACA Tech. Note: Washington, DC, USA, 1946; no. L6C19. [Google Scholar]
- MATLAB, Version: 9.13.0 (R2022b); The MathWorks Inc.: Natick, MA, USA, 2022.









[mm] | [mm] | [mm] | [mm] |
|---|---|---|---|
| 100.00 | 50.00 | 12.00 | 300.00 |
[MPa] | [MPa] | [MPa] | [-] |
| 70,000 | 260 | 310 | 25 |
[-] | [MPa] | [MPa] |
|---|---|---|
| 0.41 | 30016.35 | 2130.08 |
[-] | [-] | [-] |
| 0.30 | 1.08 | 0.99 |
[mm−1] | [Nmm] | [mm−1] | [mm−1] | |
|---|---|---|---|---|
| 1 | 0.021 | 5,217,675.285 | 0.034 | 0.014 |
| 2 | 0.021 | 5,217,675.285 | 0.034 | 0.014 |
| 3 | 0.021 | 5,217,675.285 | 0.034 | 0.014 |
| 0.00 | 0.00 | 0.00 | 2.80 | −2.61 | 7.72 × 10−1 | −6.35 × 10−1 | 0.00 | 0.00 | 0.00 |
| 0.00 | 0.00 | 0.00 | 2.80 | 2.61 | 7.72 × 10−1 | 6.35 × 10−1 | 0.00 | 0.00 | 0.00 |
| 0.00 | 3.38 × 10−2 | 1.38 × 10−2 | 8.83 × 10−2 | −9.46 × 10−2 | −8.75 × 10−3 | −1.06 × 10−2 | 0.00 | 0.00 | 0.00 |
| 0.00 | 0.00 | 0.00 | −8.83 × 10−2 | −9.46 × 10−2 | 8.75 × 10−3 | −1.06 × 10−2 | 0.00 | 3.38 × 10−2 | 1.38 × 10−2 |
| 6.94 × 103 | 0.00 | 0.00 | −1.67 × 10−4 | 1.56 × 104 | 7.64 × 102 | −6.28 × 102 | 0.00 | 0.00 | 0.00 |
| 0.00 | 0.00 | 0.00 | −1.67 × 10−4 | −1.56 × 104 | 7.64 × 102 | 6.28 × 102 | 6.94 × 103 | 0.00 | 0.00 |
| 1.35 × 10−2 | −1.34 × 10−2 | 3.95 × 10−24 | 0.00 | 0.00 | 0.00 | 0.00 | 0.00 | 0.00 | 0.00 |
| 0.00 | 0.00 | 0.00 | 0.00 | 0.00 | 0.00 | 0.00 | 1.35 × 10−2 | 1.34 × 10−2 | −3.95 × 10−4 |
| −1.87 × 10−4 | 2.00 × 10−4 | −2.43 × 10−6 | 0.00 | 0.00 | 0.00 | 0.00 | 0.00 | 0.00 | 0.00 |
| 0.00 | 0.00 | 0.00 | 0.00 | 0.00 | 0.00 | 0.00 | 1.87 × 10−4 | 2.00 × 10−4 | −2.43 × 10−6 |
[MPa] | [MPa] | [-] | |
|---|---|---|---|
| 5754-H111 | 80 | 180 | 6 |
| 6063-T6 | 160 | 195 | 16 |
| 6061-T6 | 240 | 290 | 23 |
| 6082-T6 | 260 | 310 | 25 |
| 7020-T6 | 290 | 350 | 23 |
[mm] | [mm] | [mm] | [mm] | [mm] | [MPa] | [MPa] | [-] | ||
|---|---|---|---|---|---|---|---|---|---|
| 1a | G.J. Heimerl and A. Roy [44] | 30.23 | 47.75 | 3.18 | 3.05 | 155.70 | 72395 | 540 | 24 |
| 1b | 29.97 | 47.50 | 3.18 | 3.05 | 154.94 | 72395 | 540 | 24 | |
| 1c | 30.23 | 47.60 | 3.23 | 3.05 | 155.19 | 72395 | 540 | 24 | |
| 2a | 32.77 | 47.60 | 3.23 | 3.05 | 178.05 | 72395 | 540 | 24 | |
| 2b | 32.51 | 47.50 | 3.18 | 3.05 | 177.55 | 72395 | 540 | 24 | |
| 2c | 32.77 | 47.60 | 3.23 | 3.05 | 177.04 | 72395 | 540 | 24 | |
| 1a | G.J. Heimerl and D. Fay [45] | 28.52 | 47.55 | 3.07 | 3.12 | 154.94 | 72395 | 495 | 25 |
| 1b | 28.27 | 47.80 | 3.07 | 3.12 | 154.94 | 72395 | 495 | 25 | |
| 1c | 28.27 | 47.60 | 3.10 | 3.12 | 154.43 | 72395 | 495 | 25 | |
| 2a | 30.56 | 48.11 | 3.10 | 3.12 | 165.10 | 72395 | 495 | 25 | |
| 2b | 30.56 | 47.19 | 3.02 | 3.12 | 165.10 | 72395 | 495 | 25 | |
| 2c | 30.56 | 47.85 | 3.10 | 3.12 | 162.56 | 72395 | 495 | 25 | |
| 3a | 32.59 | 48.01 | 3.05 | 3.12 | 176.78 | 72395 | 495 | 25 | |
| 3b | 32.49 | 47.80 | 3.07 | 3.02 | 175.26 | 72395 | 495 | 25 | |
| 3c | 32.84 | 47.80 | 3.07 | 3.12 | 175.26 | 72395 | 495 | 25 | |
| 1a | G.J. Heimerl and D. Niles [46] | 28.09 | 47.40 | 3.25 | 3.20 | 101.60 | 72395 | 370 | 30 |
| 1b | 28.37 | 47.45 | 3.28 | 3.23 | 101.60 | 72395 | 370 | 30 | |
| 1c | 27.97 | 47.45 | 3.28 | 3.07 | 101.60 | 72395 | 370 | 30 | |
| 2a | 30.38 | 47.40 | 3.25 | 3.20 | 114.30 | 72395 | 370 | 30 | |
| 2b | 30.02 | 47.55 | 3.33 | 3.10 | 114.30 | 72395 | 370 | 30 | |
| 2c | 30.10 | 47.65 | 3.25 | 3.18 | 114.30 | 72395 | 370 | 30 | |
| 6b | 32.00 | 62.69 | 3.15 | 3.05 | 256.54 | 72395 | 370 | 30 | |
| 10a | 32.00 | 75.69 | 3.05 | 3.05 | 315.98 | 72395 | 370 | 30 |
[kN] | [kN] | [%] | [kN] | [%] | ||||
|---|---|---|---|---|---|---|---|---|
| 1a | G.J. Heimerl and A. Roy [44] | 161.65 | 136.68 | 0.85 | 15.45 | 164.38 | 1.02 | 1.68 |
| 1b | 162.40 | 136.15 | 0.84 | 16.16 | 163.71 | 1.01 | 0.81 | |
| 1c | 165.03 | 138.14 | 0.84 | 16.30 | 166.73 | 1.01 | 1.03 | |
| 2a | 168.36 | 139.17 | 0.83 | 17.34 | 168.97 | 1.00 | 0.36 | |
| 2b | 164.75 | 137.15 | 0.83 | 16.75 | 165.63 | 1.01 | 0.54 | |
| 2c | 167.67 | 139.17 | 0.83 | 16.99 | 169.01 | 1.01 | 0.80 | |
| 1a | G.J. Heimerl and D. Fay [45] | 155.66 | 124.77 | 0.80 | 19.85 | 147.41 | 0.95 | 5.30 |
| 1b | 155.06 | 125.04 | 0.81 | 19.36 | 147.43 | 0.95 | 4.92 | |
| 1c | 154.34 | 125.49 | 0.81 | 18.69 | 148.20 | 0.96 | 3.97 | |
| 2a | 159.23 | 127.25 | 0.80 | 20.08 | 151.62 | 0.95 | 4.78 | |
| 2b | 156.16 | 123.48 | 0.79 | 20.93 | 146.62 | 0.94 | 6.11 | |
| 2c | 159.06 | 126.86 | 0.80 | 20.24 | 151.31 | 0.95 | 4.87 | |
| 3a | 158.62 | 126.21 | 0.80 | 20.43 | 150.16 | 0.95 | 5.33 | |
| 3b | 159.39 | 124.36 | 0.78 | 21.98 | 149.55 | 0.94 | 6.17 | |
| 3c | 162.53 | 126.78 | 0.78 | 21.99 | 151.55 | 0.93 | 6.75 | |
| 1a | G.J. Heimerl and D. Niles [46] | 135.98 | 103.07 | 0.76 | 24.20 | 118.01 | 0.87 | 13.21 |
| 1b | 138.28 | 104.35 | 0.75 | 24.54 | 119.60 | 0.86 | 13.51 | |
| 1c | 131.21 | 101.56 | 0.77 | 22.60 | 116.47 | 0.89 | 11.24 | |
| 2a | 140.84 | 104.29 | 0.74 | 25.95 | 122.15 | 0.87 | 13.27 | |
| 2b | 136.65 | 104.56 | 0.77 | 23.48 | 122.21 | 0.89 | 10.57 | |
| 2c | 137.04 | 104.03 | 0.76 | 24.09 | 121.59 | 0.89 | 11.27 | |
| 6b | 146.77 | 116.19 | 0.79 | 20.84 | 135.02 | 0.92 | 8.01 | |
| 10a | 158.07 | 118.15 | 0.75 | 25.26 | 142.33 | 0.90 | 9.96 | |
| Mean [] | 0.79 | 20.59 | 0.94 | 6.28 | ||||
| St. Dev. [] | 0.03 | 3.14 | 0.05 | 4.39 |
Disclaimer/Publisher’s Note: The statements, opinions and data contained in all publications are solely those of the individual author(s) and contributor(s) and not of MDPI and/or the editor(s). MDPI and/or the editor(s) disclaim responsibility for any injury to people or property resulting from any ideas, methods, instructions or products referred to in the content. |
© 2024 by the authors. Licensee MDPI, Basel, Switzerland. This article is an open access article distributed under the terms and conditions of the Creative Commons Attribution (CC BY) license (https://creativecommons.org/licenses/by/4.0/).
Share and Cite
Piluso, V.; Pisapia, A. Preliminary Study of Interactive Local Buckling for Aluminium Z-Section. Buildings 2024, 14, 1959. https://doi.org/10.3390/buildings14071959
Piluso V, Pisapia A. Preliminary Study of Interactive Local Buckling for Aluminium Z-Section. Buildings. 2024; 14(7):1959. https://doi.org/10.3390/buildings14071959
Chicago/Turabian StylePiluso, Vincenzo, and Alessandro Pisapia. 2024. "Preliminary Study of Interactive Local Buckling for Aluminium Z-Section" Buildings 14, no. 7: 1959. https://doi.org/10.3390/buildings14071959
APA StylePiluso, V., & Pisapia, A. (2024). Preliminary Study of Interactive Local Buckling for Aluminium Z-Section. Buildings, 14(7), 1959. https://doi.org/10.3390/buildings14071959

