Development of a Systematic Approach for the Assessment of Adhesive Tape Suitability to Ensure Airtightness
Abstract
1. Introduction
2. Materials and Methods
2.1. Type of Adhesive Tape
2.2. Contact Angle Measurement
2.3. Air Permeability Test
2.4. Adhesion Test
2.5. Experimental Design
- Seven hours of heating at +5 °C temperature, with a relative humidity (RH) of 96–100%;
- Five hours of cooling at −10 °C (with an additional 0.5 h for cooling deactivation for rearrangement);
- Heating at different temperatures and humidity levels. 18 h +31 °C (RH = 45–50%), 10 h +39 °C (RH = 25–30%), 7.5 h +49 °C (RH = 15–20%).
3. Results and Discussion
- Residential buildings (1 to 2 apartments)—117 units, average area 160 m2;
- multi-residential buildings—27 units, average area 2.340 m2;
- public-purpose buildings—32 units, average area 3.070 m2;
- industrial, storage and manufacturing buildings—12 units, with an average area of 4320 m2.
4. Conclusions
Author Contributions
Funding
Data Availability Statement
Conflicts of Interest
References
- Salame, T.N.; Sanz, R.; Pascual, S. Airtight duct systems [a simple way of improving a building’s energy efficiency without increased investment]. In Proceedings of the 36th AIVC Conference “Effective Ventilation in High Performance Buildings”, Madrid, Spain, 23–24 September 2015. [Google Scholar]
- El-Darwish, I.; Gomaa, M. Retrofitting strategy for building envelopes to achieve energy efficiency. Alex. Eng. J. 2017, 56, 579–589. [Google Scholar] [CrossRef]
- Van Den Bosschea, N.; Huyghea, W.; Moens, J.; Janssens, A.; Depaepe, M. Airtightness of the window–wall interface in cavity brick walls. Energy Build. 2012, 45, 32–42. [Google Scholar] [CrossRef]
- Novák, J. Assessment of durability of airtightness by means of repeated testing of 4 passive houses. In Proceedings of the 39th AIVC Conference “Smart Ventilation for Buildings”, Antibes Juan-Les-Pins, France, 18–19 September 2018. [Google Scholar]
- Prignon, M.; Van Moeseke, G. Factors influencing airtightness and airtightness predictive models: A literature review. Energy Build. 2017, 146, 87–97. [Google Scholar] [CrossRef]
- Alev, Ü.; Uus, A.; Kalamees, T. Airtightness improvement solutions for log wall joints. Energy Procedia 2017, 132, 861–866. [Google Scholar] [CrossRef]
- Van Linden, S.; Van Den Bossche, N. Airtightness of sealed building joints: Comparison of performance before and after artificial ageing. Build. Environ. 2020, 180, 107010. [Google Scholar] [CrossRef]
- Johnsen, I.-H.; Andenæs, E.; Gullbrekken, L.; Kvande, T. Vapour resistance of wind barrier tape: Laboratory measurements and hygrothermal performance implications. J. Build. Phys. 2022, 46, 77–94. [Google Scholar] [CrossRef]
- Gullbrekken, L.; Bunkholt, N.S.; Geving, S.; Rüther, P. Air leakage paths in buildings: Typical locations and implications for the air change rate. E3S Web Conf. 2020, 172, 05010. [Google Scholar] [CrossRef]
- Kalamees, T.; Alev, Ü.; Pärnalaas, M. Air leakage levels in timber frame building envelope joints. Build. Environ. 2017, 116, 121–129. [Google Scholar] [CrossRef]
- Li, H.-X.; Zhang, R.; Feng, G.-H.; Huang, K.-L.; Cao, C.-H. The Test and Analysis of Air Tightness for Zero Energy Building in Cold Region. Procedia Eng. 2016, 146, 239–243. [Google Scholar]
- Carrié, F.R.; Jobert, R.; Leprince, V. Contributed Report 14. Methods and techniques for airtight buildings. Int. Energy Agency 2012, 1–36. [Google Scholar]
- Šadauskienė, J.; Šeduikytė, L.; Paukštys, V.; Banionis, K.; Gailius, A. The role of air tightness in assessment of building energy performance: Case study of Lithuania. Energy Sustain. Dev. 2016, 32, 31–39. [Google Scholar] [CrossRef]
- Ji, Y.; Duanmu, L. Air-tightness test and air infiltration estimation of anultra-low energy building. Sci. Technol. Built Environ. 2017, 23, 441–448. [Google Scholar] [CrossRef]
- Kukk, V.; Bella, A.; Kers, J.; Kalamees, T. Airtightness of cross-laminated timber envelopes: Influence of moisture content, indoor humidity, orientation, and assembly. J. Build. Eng. 2021, 44, 102610. [Google Scholar] [CrossRef]
- Herms, J.-L. Achieving airtightness and weather protection of CLT buildings. E3S Web Conf. 2020, 172, 10011. [Google Scholar] [CrossRef]
- Linden, S.; Maroy, K.; Steeman, M.; Bossche, N.V. Tape as a means to ensure air- and watertightness of building joints: Experimental assessment. In Proceedings of the 14th International Conference on Durability of Building Materials and Components, Ghent, Belgium, 29–31 May 2017. [Google Scholar]
- Bracke, W.; Van Den Bossche, N.; Janssens, A. Airtightness of building penetrations: Air sealing solutions, durability effects and measurement uncertainty. In Proceedings of the 35th AIVC Conference ‘Ventilation and Airtightness in Transforming the Building Stock to High Performance’, Poznań, Poland, 24−25 September 2014. [Google Scholar]
- Bliūdžius, R.; Dobilaitė, V.; Jucienė, M. Investigation of the suitability of adhesive tapes for sealing building structures of various surfaces. J. Adhes. Sci. 2024, 38, 839–860. [Google Scholar] [CrossRef]
- Antosik, A.K.; Mozelweska, K.; Gziut, K. Comparison of Aging Simulation to Real Aging of Silicone Self-adhesives Tapes. Silicon 2024, 16, 99–104. [Google Scholar] [CrossRef]
- Adrian, K.A.; Grajczyk, A.; Półka, M.; Zdanowicz, M.; Halpin, J.; Bartkowiak, M. Influence of talc on the properties of silicone pressure-sensitive adhesives. Materials 2024, 17, 708. [Google Scholar] [CrossRef] [PubMed]
- William, P.; Jacobs, V.; Daniel Dolan, J.; Dillard, D.A.; Ohanehi, D.C. An evaluation of acrylic pressure sensitive adhesive tapes for bonding wood in building construction applications. J. Adhes. Sci. Technol. 2012, 26, 1349–1381. [Google Scholar]
- Jucienė, M.; Dobilaitė, V. Impact of climatic effects and various surfaces on the tack of adhesive tapes for building & construction. J. Build. Eng. 2021, 42, 102825. [Google Scholar]
- Dobilaitė, V.; Jucienė, M.; Banionis, K.; Kumžienė, J.; Paukštys, V.; Stonkuvienė, A.; Miškinis, K. Effect of Artificial Aging of Peel Adhesion of Self-Adhesive Tapes on Different Construction Surfaces. Appl. Sci. 2023, 13, 8947. [Google Scholar] [CrossRef]
- Serrat, C.; Casas, J.R.; Gibert, V. Current Topics and Trends on Durability of Building Materials and Components. In Proceedings of the XV Edition of the International Conference on Durability of Building Materials and Components (DBMC 2020), Barcelona, Spain, 20–23 October 2020. [Google Scholar]
- Sletnes, M.; Frank, S. Performance and Durability of Adhesive Tapes for Building Applications. In From Product Documentation to Scientific Knowledge (and Back Again). In Proceedings of the Current Topics and Trends on Durability of Building Materials and Components: XV International Conference on Durability of Building Materials and Components (DBMC) 2020, Barcelona, Spain, 20–23 October 2020. [Google Scholar]
- Fufa, S.M.; Labonnote, N.; Frank, S.; Rüther, P.; Jelle, B.P. Durability evaluation of adhesive tapes for building applications. Constr. Build. Mater. 2018, 161, 528–538. [Google Scholar] [CrossRef]
- Langmans, J.; Desta, T.Z.; Alderweireldt, L.; Roels, S. Durability of self-adhesive tapes for exterior air barrier applications: A laboratory investigation. Int. J. Vent. 2017, 16, 30–41. [Google Scholar] [CrossRef]
- Ylmén, P.; Hansén, M.; Romild, J. Durability of air tightness solutions for buildings: Ventilation and airtightness in transforming the building stock to high performance. In Proceedings of the 35th AIVC Conference, 4th TightVent Conference, 2nd Venticool Conference, Poznań, Poland, 24–25 September 2014. [Google Scholar]
- Latthe, S.S.; Terashima, C.; Nakata, K.; Fujishima, A. Superhydrophobic surfaces developed by mimicking hierarchical surface morphology of lotus leaf. Molecules 2014, 19, 4256–4283. [Google Scholar] [CrossRef] [PubMed]
- Drelich, J.; Chibowski, E.; Meng, D.D.; Terpilowski, K. Hydrophilic and superhydrophilic surfaces and materials. Soft Matter 2011, 7, 9804–9828. [Google Scholar] [CrossRef]
- Law, K.-Y. Definitions for Hydrophilicity, Hydrophobicity, and Superhydrophobicity: Getting the Basics Right. J. Phys. Chem. Lett. 2014, 5, 686–688. [Google Scholar] [CrossRef]
- Yamaguchi, Y.; Kusudo, H.; Surblys, D.; Omori, T.; Kikugawa, G. Interpretation of Young’s equation for a liquid droplet on a flat and smooth solid surface: Mechanical and thermodynamic routes with a simple Lennard-Jones liquid. J. Chem. Phys. 2019, 150, 044701. [Google Scholar] [CrossRef] [PubMed]
- Bonn, D.; Eggers, J.; Indekeu, J.; Meunier, J.; Rolley, E. Wetting and spreading. Rev. Mod. Phys. 2009, 81, 739–805. [Google Scholar] [CrossRef]
- Gao, L.; McCarthy, T.J. Wetting 101°. Langmuir 2009, 25, 14105–14115. [Google Scholar] [CrossRef]
- ISO 9053-1:2018; Acoustics—Determination of Airflow Resistance—Part 1: Static Airflow Method. International Organization for Standardization: Geneva, Switzerland, 2018.
- ISO 29862:2018; Self Adhesive Tapes—Determination of Peel Adhesion Properties. International Organization for Standardization: Geneva, Switzerland, 2018.
- Norvaišienė, R.; Burlingis, A.; Stankevičius, V. Impact of Acidic Precipitation to Ageing of Painted Facades’ Rendering: Monograph; Technologija: Kaunas, Lithuania, 2006. (In Lithuania) [Google Scholar]
- Czech, Z.; Milker, R. Development trends in pressure-sensitive adhesive systems. Mater. Sci. 2005, 23, 1015–1022. [Google Scholar]
- Mapari, S.; Mestry, S.; Mhaske, S.T. Developments in pressure-sensitive adhesives: A review. Polym. Bull. 2021, 78, 4075–4108. [Google Scholar] [CrossRef]
- Takahashi, K.; Shimizu, M.; Inaba, K.; Kishimoto, K.; Inao, Y.; Sugizaki, T. Tack performance of pressure-sensitive adhesive tapes under tensile loading. Int. J. Adhes. Adhes. 2013, 45, 90–97. [Google Scholar] [CrossRef]


—floor/wall,
—wall/roof,
—window opening,
—door opening,
—gate opening,
—wall/floor.
—floor/wall,
—wall/roof,
—window opening,
—door opening,
—gate opening,
—wall/floor.

) and aged (
) systems: (a) plywood, (b) OSB, (c) gypsum plasterboard, (d) cement-bonded particle board, (e) plastered cement-bonded particle board, (f) plastic board.
) and aged (
) systems: (a) plywood, (b) OSB, (c) gypsum plasterboard, (d) cement-bonded particle board, (e) plastered cement-bonded particle board, (f) plastic board.

plywood,
OSB,
gypsum plasterboard,
cement-bonded particle board,
plastered cement-bonded particle board,
plastic.
plywood,
OSB,
gypsum plasterboard,
cement-bonded particle board,
plastered cement-bonded particle board,
plastic.
| Code | Backing | Adhesive | Thickness µm | Application Area |
|---|---|---|---|---|
| NWac_73 | non-woven | acrylic | 730 | Covering window and door joints from the outside. |
| FRMac_39 | film with reinforcement mesh | acrylic | 390 | For permanent wind-tight bonding of component layers outdoors. |
| NWac_84 | non-woven | acrylic | 840 | Covering window and door joints from the inside. |
| PAac_38 | paper | acrylic | 380 | Continuous protective barrier against air and water infiltration. |
| PAac_45 | paper | acrylic | 450 | For sealing overlaps and damage repair for underlays and air/vapour control layers. |
| NWac_78 | non-woven | acrylic | 780 | Interconnecting facade films, repairing film damage. |
| MPAac_37 | metallic paper | acrylic | 370 | Interconnecting metallised films, repairing film damage. |
| NWac_57 | non-woven | acrylic | 570 | Sealing windows, doors and any penetrations in the external structure of the building. Can be used to adhere vapour barrier membranes to the wall structure. |
| FRMac_37 | film with reinforcement mesh | acrylic | 370 | Sealing joints between vapour barrier membranes and skylights, pipes and roof structures. |
| NWac_56 | non-woven | acrylic | 560 | Sealing joints between vapour barrier membranes, windows, doors, wooden sills, and concrete floors. |
| NWRMac_63 | non-woven with reinforcement mesh | acrylic | 630 | Sealing of window and door joints from the outside. |
| FRMac_38 | film with reinforcement mesh | acrylic | 380 | Sealing of seams in the installation of windproof sheets. |
| FRMac_36 | film with reinforcement mesh | acrylic | 360 | External wind and hydro insulation using the installation of metal sheet joints and connections from other adjacent parts of the building with the installation of windproof sheet joints. |
| Surface | Plywood | OSB | Gypsum Plasterboard | Cement-Bonded Particle Board | Plastered Cement-Bonded Particle Board | Plastic Board | |
|---|---|---|---|---|---|---|---|
| Characteristics | |||||||
| Water contact angle with the surface, ° | 76 | 108 | 78 | 91 | 66 | 63 | |
| Thickness, mm | 8.0 * | 15.0 * | 12.5 * | 8.0 * | 10–12 | 6.0 * | |
| Density, kg/m3 | 600 * | 620 * | 680 * | 1350 * | 1800 | 1390 * | |
| Plywood | OSB | Gypsum Plasterboard | |||
|---|---|---|---|---|---|
| Before Ageing | After Ageing | Before Ageing | After Ageing | Before Ageing | After Ageing |
![]() | ![]() | ![]() | ![]() | ![]() | ![]() |
| Aged Samples after Tape Removed | Aged Samples after Tape Removed | Aged Samples after Tape Removed | |||
![]() | ![]() | ![]() | |||
| Cement-Bonded Particle Board | Plastered Cement-Bonded Particle Board | Plastic | |||
| Before Ageing | After Ageing | Before Ageing | After Ageing | Before Ageing | After Ageing |
![]() | ![]() | ![]() | ![]() | ![]() | ![]() |
| Aged Samples after Tape Removed | Aged Samples after Tape Removed | Aged Samples after Tape Removed | |||
![]() | ![]() | ![]() | |||
| Surface | Plywood | OSB | Gypsum Plasterboard | Cement-Bonded Particle Board | Plastered Cement-Bonded Particle Board | Plastic Board | |
|---|---|---|---|---|---|---|---|
| Tape | |||||||
| NWac_73 | |||||||
| FRMac_39 | |||||||
| NWac_84 | |||||||
| PAac_38 | |||||||
| PAac_45 | |||||||
| NWac_78 | |||||||
| MPAac_37 | |||||||
| NWac_57 | |||||||
| FRMac_37 | |||||||
| NWac_56 | |||||||
| NWRMac_63 | |||||||
| FRMac_38 | |||||||
| FRMac_36 | |||||||
| Poor surface adhesion and increased air permeability after ageing; | |||||||
| Adhesion of the tape to the surface, reasonably good after ageing, but air permeability increased; | |||||||
| Reasonably good airtightness after ageing but not good enough adhesion to the surface; | |||||||
| Good adhesion to the surface after ageing and reasonably good breathability. | |||||||
| The Tightness of Wall and Roof Construction Junctions | |
![]() 1. A layer ensuring the tightness of the wall construction; 2. A layer ensuring the tightness of the junction of wall and roof constructions; 3. A layer ensuring the tightness of the roof construction. | The tightness of the roof construction is ensured by covering the inside surface with a single layer of vapour barrier film. The edges of the film must overlap according to the manufacturer’s requirements; overlapped seams are sealed with adhesive sealing tape. In the connection with the wall, the edge of the roof vapour insulation film must be placed on the wall vapour insulation film, and the seam must be sealed with adhesive tape. Heat-insulating panels covered with aluminium foil can also be used to ensure the tightness of the roof structure. The joints can be glued with adhesive aluminium foil tape; there is no need to install complex film systems. For these constructions, considering the potential surfaces to be used, the most suitable adhesive tape in all cases is the tested tape FRMac_37 (after ageing on gypsum plasterboard, cement-bonded particle board, plywood and OSB boards, the air conductivity did not exceed 0.005 m3/h in all cases, and also after ageing, this tape showed good adhesion to the specified surfaces). Additionally, adhesive tapes NWac_57, FRMac_36, and FRMac_38 are suitable for use in this construction, whereas, on the surfaces used in this construction, sufficiently low air permeability and sufficient adhesion of the tapes to the surface were determined after ageing. The use of other tested tapes in this construction is not recommended. |
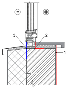
| The Tightness of Wall and Windows or Doors Construction Junctions | |
![]() 1. A layer ensuring the tightness of the wall construction; 2. A layer ensuring the tightness of the junction of wall and window or doors from the inside; 3. A layer ensuring the tightness of the junction of wall and window or doors from the outside. | Windows or doors, like other elements crossing the main constructions, must be installed and additionally sealed with sealing materials from the inside and the outside. Sealing works can be performed using sealing foam, tapes or mastics. All investigated surfaces are available in this design. Based on the results presented in Table 4, FRMac_37 was found to be the most suitable for this design, and reasonably good post-aging results were obtained. When evaluating construction surfaces, the following tapes used in the studies can be used: NWac_73, NWac_84, MPAac_37, NWac_57, FRMac_36, and FRMac_38. |
| The Tightness of Wall and Floor Construction Junctions | |
![]() 1. A layer ensuring the tightness of the wall construction; 2. A layer ensuring the tightness of the junction of wall and floor construction; 3. A layer ensuring the tightness of the floor structure (around the entire perimeter of the floor). | The tightness of the floor and wall constructions is ensured by installing the tight layer on wall and floor constructions and connecting these constructions with airtight materials such as tapes or mastics. The tightness of the masonry walls is ensured by installing a single layer of interior decoration (such as plaster). The finishing layer must reach the level of floor and ceiling or roof insulation. The tightness of timber frame constructions is ensured by installing a vapour insulation layer on the inside surfaces, which must be connected to the membranes of other constructions or sealed at the edges with tape. The main sealing works of the floor structure are performed around the perimeter of the floor, sealing the joint between the floor and the wall. Works are performed using mastics and tapes. Regardless of the materials used for the building construction, the air tightness layer must be installed according to the recommendations of the manufacturer. The analysis of the research results has shown that in this construction, given suitable construction surfaces, which in this case can be plywood, OSB, gypsum plasterboard, or cement-bonded particle boards, it is always most appropriate to use the FRMac_37 tape, because the air permeability after ageing did not exceed 0.005 m3/h, and after ageing it showed a sufficiently strong adhesion to the surfaces. Other suitable tapes for this construction include PAac_38, MPAac_37, NWac_57, FRMac_36, and FRMac_38. Results for other tested tapes on the surfaces of this construction were not as favourable as those of the recommended tapes as they would not ensure the necessary long-term seal. |
Disclaimer/Publisher’s Note: The statements, opinions and data contained in all publications are solely those of the individual author(s) and contributor(s) and not of MDPI and/or the editor(s). MDPI and/or the editor(s) disclaim responsibility for any injury to people or property resulting from any ideas, methods, instructions or products referred to in the content. |
© 2024 by the authors. Licensee MDPI, Basel, Switzerland. This article is an open access article distributed under the terms and conditions of the Creative Commons Attribution (CC BY) license (https://creativecommons.org/licenses/by/4.0/).
Share and Cite
Jucienė, M.; Dobilaitė, V.; Kumžienė, J.; Banionis, K.; Paukštys, V.; Stonkuvienė, A. Development of a Systematic Approach for the Assessment of Adhesive Tape Suitability to Ensure Airtightness. Buildings 2024, 14, 1346. https://doi.org/10.3390/buildings14051346
Jucienė M, Dobilaitė V, Kumžienė J, Banionis K, Paukštys V, Stonkuvienė A. Development of a Systematic Approach for the Assessment of Adhesive Tape Suitability to Ensure Airtightness. Buildings. 2024; 14(5):1346. https://doi.org/10.3390/buildings14051346
Chicago/Turabian StyleJucienė, Milda, Vaida Dobilaitė, Jurga Kumžienė, Karolis Banionis, Valdas Paukštys, and Aurelija Stonkuvienė. 2024. "Development of a Systematic Approach for the Assessment of Adhesive Tape Suitability to Ensure Airtightness" Buildings 14, no. 5: 1346. https://doi.org/10.3390/buildings14051346
APA StyleJucienė, M., Dobilaitė, V., Kumžienė, J., Banionis, K., Paukštys, V., & Stonkuvienė, A. (2024). Development of a Systematic Approach for the Assessment of Adhesive Tape Suitability to Ensure Airtightness. Buildings, 14(5), 1346. https://doi.org/10.3390/buildings14051346






















