Next Article in Journal
Urban Management for Building-Sector Decarbonization: Focusing on the Role of Low-Carbon Policies
Previous Article in Journal
Multi-Scale Network Analysis of Community-Based Senior Centers: Exploring the Intersection of Spatial Embeddedness and Accessibility in Nanjing, China
 
 
Font Type:
Arial Georgia Verdana
Font Size:
Aa Aa Aa
Line Spacing:
Column Width:
Background:
Article

Research on Deflection Risk Assessment for Steel Box Girder Bridges Based on GA-BP Neural Network

College of Civil Engineering and Transportation, Northeast Forestry University, Harbin 150040, China
*
Author to whom correspondence should be addressed.
Buildings 2024, 14(12), 3923; https://doi.org/10.3390/buildings14123923
Submission received: 7 November 2024 / Revised: 4 December 2024 / Accepted: 5 December 2024 / Published: 9 December 2024
(This article belongs to the Section Building Structures)

Abstract

Steel box girder bridges constitute a pivotal structural component in modern bridge engineering, confronting intricate mechanical environments and dynamic conditions during construction, with a particularly notable risk of deflection. Risk assessments predominantly rely on traditional mechanical analyses and empirical judgments, which need help to fully capture the dynamic construction changes and latent risks. This study introduces an innovative risk assessment methodology grounded in finite element analysis (FEA) and optimized by a genetic algorithm-enhanced back propagation neural network (GA-BP) to address these limitations. This approach entails constructing an FEA model to precisely simulate and predict the mechanical behavior during the construction phase, with field data validation ensuring the model’s accuracy. The GA-BP assessment model is established by further incorporating the genetic algorithm to optimize the BP neural network, enabling comprehensive, systematic, and efficient risk assessment. Through practical application case studies, this methodology demonstrates the ability to accurately identify the critical risk factors influencing deflection during the construction phase of steel box girder bridges, providing a scientific basis for construction control. This research holds significant theoretical value and practical significance, and it offers a scientific foundation for risk management, construction optimization, and safety assurance in future bridge engineering projects, thereby enhancing the overall quality and safety of bridges.

1. Introduction

In globalization and urbanization, bridges, as crucial transportation facilities connecting cities, have consistently garnered significant attention regarding their construction quality and long-term performance. Particularly in China, recent years have witnessed massive infrastructure construction, driving rapid advancements in bridge engineering technology. However, the deflection phenomenon occurring during the construction phase of steel box girder bridges impacts the regular use of bridges and poses potential threats to public safety [1]. Such incidents underscore the urgency and importance of assessing deflection risks during the construction phase of steel box girder bridges. Simultaneously, the stringent government regulation of infrastructure safety and the public’s heightened concern for structural safety [2] provide vital policy and social contexts for this research. Against the backdrop of the digital economy and sustainable development, utilizing advanced technologies and methodologies for risk assessment [3] to reduce unnecessary material usage, repeated construction, and lower carbon emission intensity represents a significant trend in current research [4].
Numerous scholars globally have conducted in-depth research on the issue of deflection risks during the construction phase of steel box girder bridges. These studies encompass theoretical analysis, experimental validation, numerical simulations, and other aspects, aiming to enhance the accuracy and efficiency of risk assessment. For instance, Pan et al. [5] employed the ABAQUS finite element software 6.1 to conduct a detailed stress analysis of steel box girder bridges during the construction phase, successfully predicting the occurrence areas of deflection, demonstrating the powerful capabilities of the finite element method in simulating complex structural behaviors. Cho et al. [6], using ANSYS software 14.0, established a refined model of steel box girder bridges, evaluated deflection risks through simulation analysis of the construction phase, and proposed corresponding preventive measures.
In the context of the rise of the digital economy and the popularization of sustainable development, the combination of the genetic algorithm GA and BP provides a new idea for risk assessment of complex structures. BP is a multi-layer feed-forward neural network that adjusts the weights and biases to minimize the prediction error. GA simulates the process of biological evolution and searches for the optimal solution through selection, crossover, mutation, and other operations. GA-BP can be used for bridge safety assessment and health monitoring, dealing with multi-objective and multi-constraints, predicting structural state, and improving design efficiency and quality. Morab et al. [7] applied genetic algorithms to the construction optimization of steel box girder bridges, effectively reducing deflection risks by optimizing construction sequences and material usage. Li [8] utilized BP neural networks to predict deflection in steel box girder bridges, establishing a mapping relationship between deflection risks and construction parameters.
Of particular note, Wang et al. [9] were the first to integrate finite element analysis with the MEC-BP algorithm for deflection risk assessment during the construction phase of steel box girder bridges. They provided training data through finite element simulations and optimized the risk assessment model using the GA-BP algorithm, achieving remarkable results. This research provides a valuable reference for combining finite element analysis with the GA-BP algorithm in deflection risk assessment during the construction phase of steel box girder bridges.
Mustafa [10] employed Support Vector Machines (SVMs) for categorical prediction of deflection risks in reinforced concrete box girder bridges. This demonstrates SVMs’ risk assessment superiority compared to other machine learning algorithms. García-Segura [11] adopted a multi-objective design based on artificial neural networks to optimize the construction process of box girder bridges, considering multiple objectives such as construction cost, safety, and corrosion initiation time. Despite using different algorithms and technologies, both studies reflect the significant role of neural networks or related machine learning technologies in risk assessment and construction optimization in bridge engineering.
Apart from the research above, other scholars have conducted beneficial explorations in deflection risk assessment during the construction phase of steel box girder bridges. Lee [12] utilized Bayesian Networks for probabilistic reasoning on deflection risks during the construction phase of steel box girder bridges. By constructing dependency relationships among risk factors, they achieved a dynamic assessment of deflection risks, providing a more flexible and dynamic approach to risk assessment. Liu [1,13] conducted a sensitivity analysis on deflection risks during the construction phase of steel box girder bridges. By altering construction parameters and material properties, they assessed the influence of various factors on deflection risks, providing crucial insights for risk control and optimization. Finally, Khan et al. [14] designed a sophisticated real-time monitoring system for collecting comprehensive data on stress, deformation, and other parameters during the entire construction process of box girder bridges. The authors evaluated deflection risks using advanced data analysis methodologies, thereby illustrating the promising potential of real-time monitoring technology in assessing risks during bridge construction.
This research falls within the interdisciplinary field of civil engineering and computer science, focusing on risk assessment in structural engineering. By integrating field monitoring, the finite element method, sensitivity analysis, artificial neural networks, and other methods, this study delves into the impacts of structural parameters, environmental parameters, foundation settlement, and other factors on the deflection of steel box girder bridges. Firstly, a finite element model is established and validated to simulate and accurately predict mechanical behaviors during construction. Secondly, sensitivity analysis is conducted to identify sources of deflection risks, yielding key risk factors. Finally, a neural network model is established and trained to alleviate the computational burden of finite element analysis and improve risk assessment efficiency. Hopefully, this research can provide a more scientific, accurate, and efficient technical solution for construction monitoring and risk assessment of steel box girder bridges, offering robust support for improving construction quality and safety and ensuring long-term stable operation of bridges.

2. Field Monitoring and Finite Element Modeling

2.1. Project Overview

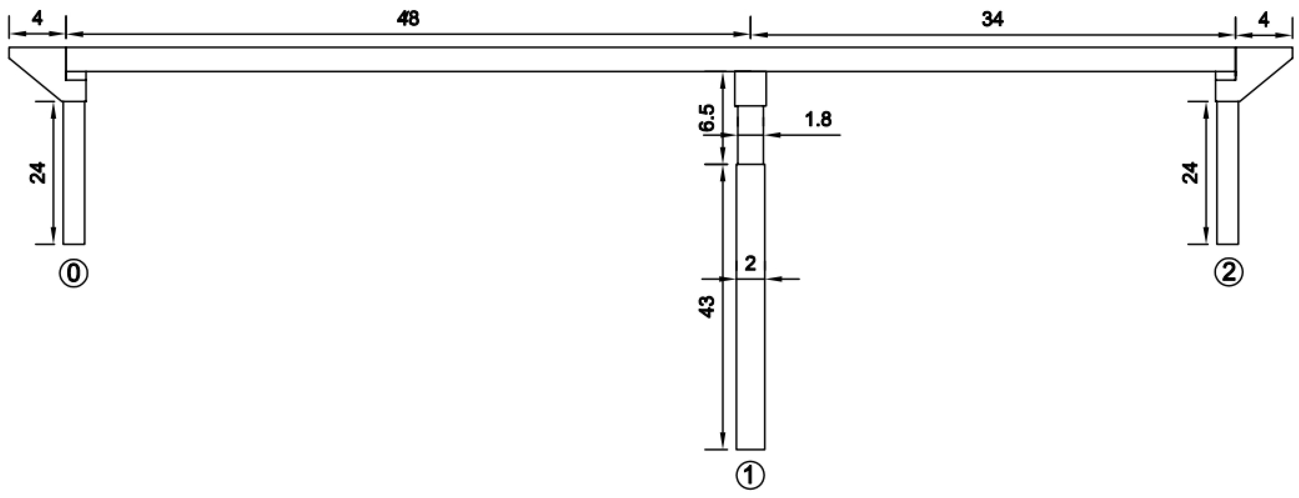
The Fuxing Interchange Bridge represents a critical Tieli-Horqin Right Middle Banner Expressway project. Among its components, the B ramp bridge starts at K1 + 130.81 and ends at K1 + 220.85, spanning a total length of 90.04 m. The structural form of this bridge is a continuous steel box girder bridge with a span of (48 + 34) meters. The overall width of the bridge is 10.5 m, comprising a 0.75 m beam-column guardrail on the outer side, a 9.0 m carriageway, and another 0.75 m beam-column guardrail on the outer side. The heights of Bridge Piers No. 0 and No. 2 are 24 m, while the height of Bridge Pier No. 1 is 49.5 m. The general elevation arrangement of the ramp B bridge is shown in Figure 1 and Figure 2. No. 0 and No. 2 are abutments, and No. 1 is pier.
Fuxing Interchange Bridge was chosen as a case study because it is representative, technically complex, and practically significant, and it can provide valuable experience for similar projects. Fuxing Interchange Bridge also faces the problem of deflection risk during the construction process. It was investigated to ensure the bridge’s construction quality and safety. It also provides valuable experience and a reference for constructing other highway interchange ramp bridges.

2.2. Program and Point Placement

To collect the field-measured deflection data of the curved steel box girder of the B ramp bridge, a bridge vibration displacement measurement technique based on acceleration integration is adopted. The bridge vibration displacement is obtained through the secondary integration of the measured acceleration data [15]. The measurement point is at the bridge deck in the middle of the first span, as shown in Figure 3.
A FLUKE handheld, non-contact infrared thermometer was utilized to collect on-site temperature data for the curved steel box girder of the B ramp bridge. This thermometer has a measurement range of 0 °C to 275 °C, with an accuracy of ±2% within the range of 0 °C to 100 °C, and a measurement response time of less than 500 ms with ±2% accuracy, which means that the error in the measurement results will not exceed 2% of the actual temperature. This high accuracy ensures that the temperature data captured is closer to the actual value, thus improving the accuracy of the data. The response time is less than 500 ms. It can quickly capture temperature changes. In bridge field measurements, temperature changes can be very rapid, so a fast-response thermometer ensures that temperature data are captured promptly to avoid data lag. Using this instrument, the continuous testing time for the temperature of one cross-section is approximately one minute. Due to the relatively slow change in the vertical temperature gradient with time, the measurements of the temperature of a section can be considered to be synchronized by considering the slow-varying characteristics of temperature and thermal displacement [16].
The longitudinal temperature measurement location was selected at the mid-span cross-bulkhead of the 34 m side span at the eastern end of Figure 1, where the bridge deck is not shaded from solar radiation at any time. Along the vertical direction of this cross-bulkhead section, two temperature measurement points were arranged, one on the top plate and one on the bottom plate. Specifically, the first measurement point, A1, is located on the top plate, and the second, A2, is on the bottom, as shown in Figure 4.

2.3. Finite Element Modeling

  • Definition of materials
In the context of material simulation, the steel component utilized is Q355qE, exhibiting the following material properties: a Poisson’s ratio of 0.3, a density of 7.85 × 103 kg/m3, and an elastic modulus of 2.1 × 105 MPa.
2.
Definition of section
The cross-section of the steel box girder is extracted from the construction drawings provided in the design documents, and the required section properties are input into MIDAS. It enables the extraction of the beam segment cross-section through the functionality of the numerical section.
The bridge section employs a single-box, double-cell steel box girder with the following layout: 2.0 m cantilever + 3.25 m box cell + 3.25 m box cell + 2.0 m cantilever = 10.5 m. The bridge features a constant-height beam, where the beam height at the structural centerline is the nominal beam height, measuring 1.9 m. The roadway centerline is 1.75 m to the right of the structural centerline. The top and bottom plates of the steel box girder are 20 to 24 mm and 24 to 28 mm thick, respectively, while the longitudinal web plates are 16 mm thick. T-shaped stiffeners are incorporated within the box. The bridge deck features a 4% one-way cross slope, with the bottom plate maintained horizontally and the slope of the top plate adjusted through variations in web plate heights. The standard cross-section of a steel box girder is shown in Figure 5.
3.
Selection of modules
For continuous steel box girder bridges, employing plate elements that account for transverse shear deformation provides a relatively precise analysis of the magnitude and distribution of stresses within the steel box girder. This approach allows for the identification of the regions and magnitudes of maximum principal stress and shear stress in thin-walled box girders under loading [17]. Plate elements are four-node elastic shell elements, with each node possessing six degrees of freedom for deformation, namely, rotational displacements in three directions and linear displacements in three directions. They can withstand both in-plane and out-of-plane loads, while also accounting for stress stiffening effects and large deformation effects [18]. Spatial plate elements can bear various types of forces, including tension, compression, shear, and torsion. Primarily consisting of four-point thick plate elements, they are primarily used to simulate the box body of steel box girders [19]. Elastic connection elements, considered as rigid arms, reflect the stiffness constraints of the connections, and their stiffness can influence the overall stiffness of the structure, simulating the connections of bridge bearings. In Midas, plate elements are utilized to simulate the steel structural main girder of the bridge, with the modeling principle being consistent with finite element theory [20].
Elastic connection units are crucial in modeling steel box girder bridges. They can simulate the actual behavior of bridge-bearing connections by transferring loads and internal forces, considering additional moments, and reflecting the stiffness constraints of the connection, thus affecting the overall stiffness of the structure. The stiffness of the connection unit is usually based on the stiffness characteristics of the actual bridge bearing. The stiffness value is determined by testing or consulting relevant data, and the corresponding stiffness parameters are entered into the finite element software. Afterward, the accuracy of the stiffness parameters is verified and adjusted by comparing the simulation results with the actual situation. This method is suitable for simulating the connections in steel box girder bridges because it can adapt to the complex force state of the bridge during stress. With the accurately calibrated stiffness, the simulation results can be closer to the actual situation and improve the accuracy of the simulation.
In this study, a forward model for the construction stages of the B ramp bridge of the Fuxing Interchange was established using the finite element software Midas Civil 2023, following the actual construction procedures. By referencing the specifications adopted for the design of this bridge, the primary design parameters were obtained and are presented in Table 1. The finite element model, as depicted in Figure 6, employs nodes to represent the abutments and piers.

2.4. Sensitivity Analysis of Parameters

The identification and analysis of the sensitivity of various parameters hold paramount significance on the foundation of finite element analysis. By recognizing the more influential sensitivity parameters and grasping the key indicators that affect the primary control items of bridges, precise analysis of specific sensitive parameters and determination of allowable value ranges [21] can provide substantial construction reliability for the construction control of continuous steel box girder bridges.

2.4.1. Selection of Parameters

Sensitivity analysis primarily studies the sensitivity under changing model parameters and system conditions, quantifying the interrelation between bridge alignment and parametric variations. Regarding alignment control for multi-span continuous steel box girder bridges, parameter sensitivity analysis aims to analyze the sensitivity of various structural parameters to the girder alignment, determining the critical control parameters that influence the girder alignment. This provides a scientific and objective technical basis for precise control during the construction phase.
The uncertainty of plate thickness for steel box girder in the manufacturing process, including the inhomogeneity of the material itself, the precision and performance of the processing equipment, and the influence of human factors, will inevitably cause specific differences between the weight and stiffness of the actual girder segments and the design parameters. A sensitivity analysis of the parameters of the box girder self-weight is necessary. This analysis process involves precise measurement of the weight and stiffness of individual beam segments and considers the interactions and effects of these parameters within the overall structure [13].
Another crucial aspect of sensitivity analysis is its role in understanding the impact of temperature changes on bridge stability. Steel, as a building material highly sensitive to temperature changes, exhibits increased complexity in its internal structure when applied in the multiple statically indeterminate structural system of continuous beam bridges. Due to the structural characteristics of continuous beam bridges and the sensitivity of steel to temperature changes, temperature fluctuations significantly impact the geometric alignment and overall stability of the bridge. Therefore, conducting an in-depth sensitivity analysis of temperature changes is particularly crucial, as it is a necessary step to ensure the safe and stable operation of the bridge under various climatic conditions.
Our sensitivity analysis is comprehensive, considering the distinct temperature variation characteristics throughout the four seasons in the Wuchang area, as well as the actual temperature fluctuations within a single day. We have specifically considered multiple extreme scenarios in our sensitivity analysis. These include extreme climatic conditions of an overall temperature increase by 30 °C and a decrease by 30 °C, as well as common but critical temperature difference scenarios of 30 °C and 5 °C between the top and bottom plates. This analysis range aims to comprehensively assess the potential impact of temperature changes on the girder alignment, thereby ensuring the stability and safety of the bridge structure under various temperature conditions.
The sensitivity parameters are shown in Table 2. Sensitivity analysis of the parameters above can be conducted using Midas Civil by incorporating variations in these parameters as construction conditions into the Midas Civil model for individual assessment. Subsequently, the degree of sensitivity for each parameter can be derived by comparing the results with the geometric alignment data obtained under the original structural load effects. Through the sensitivity analysis, we can more accurately understand the specific effects of the changes in the self-weight parameters of the box girder on the structure’s performance to provide valuable references for design and construction. This is vital to ensure the structure’s stability, safety, and long-term durability.

2.4.2. Sensitivity Analysis

The color’s darkness or the contours’ sparseness reflects the magnitude of the displacements in different bridge parts in a displacement contour map. Usually, darker-colored contours indicate larger displacements, while lighter-colored contours indicate small displacements. The areas where the bridge deflects can be clearly identified by observing the displacement contour maps. By reading the values on the displacement contour map or referring to the legend, the amount of displacement in each part of the bridge can be accurately determined.
As illustrated in Figure 7 and Figure 8, this study analyzes the deflection variations in various segments of the steel box girder when the self-weight is altered by ±5%. Figure 8 shows that the most significant change in the main girder’s deflection occurs at X = 20 m. Specifically, an increase in self-weight by 5% results in a 1.55 mm augmentation in the deflection of the main girder, whereas a reduction in self-weight by 5% leads to a corresponding 1.55 mm decline in deflection.
As illustrated in Figure 9 and Figure 10, because the effect of temperature difference on deflection is positively correlated, this study only analyzes the changes in deflection of each girder section of the steel box girder under the extreme cases of a 30 °C temperature increase, a 30 °C temperature decrease, a 30 °C temperature differential between the top and bottom plates, and a 5 °C temperature differential between the same. A 30 °C increase or decrease in system temperature has a negligible impact on the deflection of the main girder. Conversely, temperature differentials between the top and bottom plates augment the deflection of the steel box girder, specifically by 9.9 mm and 10.3 mm in the first and second spans, respectively, when the differential reaches 30 °C. When the temperature differential is 5 °C, the deflection increases by 1.6 mm and 1.7 mm in the first and second spans, respectively.
Figure 11 analyzes the variation in deflection across various segments of the steel box girder, specifically when settlements of 5 mm each occur at Pier 0# and Pier 1#. The analysis shows that the influence of bearing settlement on the deformation of the main girder is minimal. The maximum impact on the deflection of the steel box girder, attributable to a 5 mm settlement at both Pier 0# and Pier 1#, is no more significant than 0.5 mm.
From the comprehensive analysis presented above, it can be inferred that even when a certain degree of settlement occurs in the support, its influence on the deflection of the steel box girder remains relatively constrained. The robust resistance to deformation exhibited by the steel box girder, a structure characterized by its high strength and stiffness, can be explained. Consequently, minor variations in settlement do not significantly alter its deflection. Notably, the deflection response of the main girder is more sensitive to the structural self-weight and temperature differences between the top and bottom plates, as opposed to the settlement of the foundation. A comprehensive sensitivity analysis has compiled a definitive list of risk factors contributing to downward deflection during construction, as presented in Table 3.

3. Neural Network Modeling

3.1. BP Neural Network Algorithm Based on Genetic Algorithm

The BP neural network model is a multi-layer feedforward network trained using the BP algorithm. According to the Universal Approximation Theorem proposed by Robert Hecht-Nielsen, a three-layer BP neural network can adequately approximate arbitrarily complex nonlinear relationships, demonstrating high self-learning and adaptive capabilities [22]. An artificial neural network (ANN) is a biomimetic mathematical model that possesses learning abilities akin to the human brain and the capacity to judge based on learned information, enabling the processing of data and information [23]. The BP neural network is one of the most widely applied neural network models, characterized by forward signal transmission and error backpropagation. It employs the steepest descent method and utilizes genetic algorithms to iteratively adjust the network weights according to the training objective function, thereby identifying the optimal initial network weights. Through backpropagation, the network weights are continuously adjusted to minimize the sum of squared errors. Initially, the safety assessment indicators of bridges are classified, and characteristic indicators are extracted as input information fed into a three-layer network comprising an input layer, a hidden layer (or layers, depending on user requirements, with more than one hidden layer constituting a deep learning architecture), and an output layer for training. Once trained, the network becomes a stable pattern evaluator capable of outputting assessment results [24,25].
The BP neural network can be regarded as a nonlinear function, with the network input and output values serving as this function’s independent and dependent variables, respectively. When the number of nodes in the input layer is n, and the number of nodes in the output layer is 1, the BP neural network expresses a functional mapping relationship from n independent variables to one dependent variable. The classic BP neural network consists of three parts: an input layer, a hidden layer (or layers, depending on user requirements), and an output layer. The specific structure used in this study is illustrated in Figure 12.
In selecting a method for under-deflection risk prediction of highway interchanges, the traditional BP neural network is used for prediction rather than popular methods such as ASAPSO-CNN, DCNN, or CNN-BiGRU. First, the BP neural network, as a classical and widely used neural network model, possesses robust nonlinear mapping ability and good generalization performance. It efficiently learns and models the input–output relationship of complex systems, which is crucial for predicting the under-deflection risk of interchanges. In contrast, despite its effectiveness in steel bridge damage identification [26], the design intention and advantages of ASAPSO-CNN are more focused on domain-specific damage identification. It may only partially apply to the generalized prediction scenarios of the under-deflection risk of interchange bridges. Furthermore, DCNN has significant applications in recovering missing measurement data in structural health monitoring [27]. However, in predicting the under-deflection risk of interchanges, we are more concerned with utilizing the existing data to predict future risk scenarios rather than recovering the missing data. Consequently, although DCNN is excellent in addressing missing data, it may not be the best choice for predicting under-deflection risk. Moreover, CNN-BiGRU combines the advantages of CNN and BiGRU to handle time-series data efficiently and has achieved significant results in reconstructing the accelerated response of structures subjected to extrusion at ambient temperature [28]. However, predicting the under-deflection risk of interchange bridges requires processing time series data and considering the combined effects of multiple factors (e.g., bridge structure, material properties, traffic loads). Hence, although CNN-BiGRU performs well in handling time-series data, it may not comprehensively capture and predict all the influencing factors of under-deflection risk. In contrast, although popular methods perform well in some areas, they may not fully apply to the prediction scenarios of under-deflection risk of interchanges.

3.2. Principles of Genetic Algorithms

GA is a heuristic optimization algorithm that can conduct a comprehensive global search across the entire search space, thereby circumventing the trap of local optimal solutions. Structural damage identification problems frequently exhibit complex search landscapes and nonlinear behaviors, characteristics that GA can efficiently address. GA is robust to initial population and parameter settings, has strong adaptability and stability, and can sustain optimal performance across diverse environments and conditions [29]. GA does not depend on the gradient information of the objective function and can optimize noncontinuous, non-differentiable, or high-dimensional objective functions. When subjected to temperature variations, the dynamic parameters of the structure will alter, and GA can accommodate these changes through dynamic adjustments to the population’s iterative update process. Consequently, GA is selected for parameter optimization due to its advantages above.
GA-BP is to use a genetic algorithm to optimize the initial weights and thresholds of BP neural networks so that the optimized BP neural networks can better predict the function output. The process of GA optimization of the BP neural network can be divided into the following steps:
1. Population initialization. The individual coding method is real number coding. Each individual is one real number string, which consists of 4 parts: input layer and hidden layer connection weights, hidden layer threshold, hidden layer and output layer connection weights, and output layer threshold. Individuals contain all the weights and thresholds of the neural network, thus constituting a neural network with a defined structure, weights, and thresholds.
2. Determine the fitness function. The initial weights and thresholds of the BP neural network are obtained according to the individual, and the BP neural network is trained with the sample data and the sum of the absolute values of the errors between the predicted outputs and the actual values, e, is taken as the individual fitness F. The BP neural network is trained with the sample data.
F = k ( i = 1 n | y i o i | )
where n is the number of network output nodes; yi is the desired output of the ith node of the BP neural network; oi is the predicted output of the ith node; and k is the constant factor.
  • Selection operations. Genetic algorithm selection operation has roulette method, tournament method, and so on. In this paper, we choose the roulette method, i.e., the selection strategy based on the proportion of fitness, and the selection probability of each individual is P i .
    P i = f i i = 1 n f i
    f i = k / F i
    where Fi is the fitness value of individual i. Since larger fitness is better, the inverse of the fitness value is taken before individual selection; n is the number of individuals in the population.
  • Crossover operation. Since the individuals are coded in real numbers, the crossover operation method is used in real number crossover, and the crossover operation for the first chromosome, and the first chromosome, in place, is shown in Equation (4).
    { A k j = A k j ( 1 b ) + A l j b A l j = A l j ( 1 b ) + A k j b
  • Mutation operation. The first gene of the first individual is selected for mutation, and the mutation operation is described in Equations (5) and (6).
    A i j = { A i j + ( A i j A max ) × f ( g ) r > 0.5 A i j + ( A min A i j ) × f ( g ) r 0.5
    f ( g ) = r 2 ( 1 - g / G m a x ) 2
    where Amax and Amin are the upper and lower bounds of gene Aij, r2 is a random number, g is the number of current iterations, Gmax is the maximum number of evolutions, and r is the random number between [0, 1].
  • Calculate the fitness value F.
  • Determine whether the iteration of the algorithm is finished or not, if the fitness value is not satisfied, return to (3) and repeat.
The GA-BP is a process that encompasses three primary stages: determination of the BP neural network structure, optimization via genetic algorithms, and BP neural network prediction [30]. Initially, the structure of the BP neural network is established based on the data samples, with the weights and thresholds of the network being initialized. Subsequently, the genetic algorithm encodes all individuals within the population, where the fitness value of each individual is computed using a fitness function. Ultimately, the optimal individual with the highest fitness value is obtained through genetic operators, representing the optimal initial weights and thresholds for the network. Finally, utilizing these optimal weights and thresholds, the network undergoes training to produce prediction results. The algorithmic workflow [31] is illustrated in Figure 13.

3.3. Training and Test Samples

Given the thousands of computational costs in subsequent risk analyses, this paper establishes a finite element surrogate model based on the GA-BP algorithm to simplify calculations. To train the risk assessment model for the bridge neural network established above, MATLAB R2023a’s Neural Network Toolbox is selected [32]. The key risk factors during the construction phase of the B ramp of the Fuxing Interchange Bridge (structural self-weight and temperature difference between the top and bottom plates) and the vertical displacement of the main girder calculated using Midas Civil 2023 are used as training data. As demonstrated in Chapter 2, the mid-span deflection in the first span is the most severe. Thus, the deflection results of the first span are selected as the output of the neural network’s deflection results. The confidence interval for structural self-weight is [0.95, 1.05], with a step size of 0.01, resulting in 11 gradient values; the confidence interval for temperature difference is [5,30], with a step size of 1, yielding 26 gradient values. A total of 286 combinations are generated by freely combining these two risk factors, which are then substituted into the finite element model to calculate the corresponding deflections, resulting in 286 deflection data points. The modified combinations are inputs, and the corresponding deflection values are used as outputs to train the artificial neural network. Ninety percent of the data samples are selected as the training set for the neural network, while the remaining ten percent are used as the test set.
In the context of neural network training, utilizing 90% of the dataset ensures that the model is exposed to a vast amount of information, thereby facilitating the discovery of underlying patterns and relationships within the data. The remaining 10%, designated as the test set, provides an adequate and manageable sample size for validating model performance while mitigating the risks of overfitting or underfitting. However, in scenarios where the dataset is relatively small, adopting a split ratio such as 80–20% or even lower could potentially compromise the training process, as the reduced training set may not be sufficient for the model to learn from the data thoroughly, adversely affecting its performance. Furthermore, in cases of uneven data distribution, such splits may inadvertently introduce discrepancies between the training and test sets, ultimately impacting the accuracy of model evaluation.
Prior to utilizing the input–output data for neural network training, normalization of the data is often performed to prevent the magnitude of parameters from influencing the final learning outcome of the network. The normalization formula is as follows:
x i = x i x min x max x min
where x i is the any value in the training data for a risk factor; x max is the maximum value in training data for a risk factor; x min is the minimum value in the training data for a risk factor; x i is the input values in the training data for a particular risk factor.

3.4. Constructing a GA-BP Neural Network Model

The GA-BP model established in this study comprises an input layer with two nodes corresponding to the structural self-weight and the temperature difference between the top and bottom decks and an output layer with one node representing the vertical displacement of the main girder. The hidden layer, serving as the core component of the neural network, is responsible for processing the input data and extracting its features, thereby playing a pivotal role in the learning and modeling processes of the neural network. However, there is currently a lack of reliable research to determine the number of neurons in the hidden layer accurately. A neural network with too few neurons in the hidden layer may lack predictive capability, whereas an excessive number of neurons may lead to an increase in training time. In theory, increasing the number of hidden layers can improve the fitting ability of a neural network, which may improve the prediction accuracy. This is especially true when the problem involves multiple interacting variables. However, increasing the number of hidden layers also poses a risk of overfitting. Overfitting is when a model performs well on training data but poorly on unseen test data.
m = n + l + a , a [ 0 , 10 ]
where m is the number of hidden layer neurons; n is the number of output layer neurons; l is the number of input layer neurons; a is the constant from 1 to 10.
In this study, the fitness function in the genetic algorithm is selected as the error function in the BP algorithm to optimize the initial weights and thresholds of the BP neural network using the genetic algorithm.
M S E = 1 N [ j = 1 N ( y ^ j y j ) 2 ]
where N is the number of training samples; y ^ j is the neural network prediction data for the jth sample; y j is the output data for the jth sample.
This study integrates empirical formulas with neural network training experiments, determining an optimal number of hidden layer neurons as 8. Consequently, the structure of the BP neural network is established as a 2-8-1 configuration, comprising an input layer with two input features, eight hidden layers, and one output layer. BP neural networks have three training functions: the Levenberg–Marquardt function, the Bayesian regularization function, and the scaled conjugate gradient function. The Levenberg–Marquardt function was selected in this research due to its fast training speed and ability to rapidly iterate the training process until satisfactory error results are obtained.
It also explores measures to reduce data complexity to improve accuracy. Before neural network training, the interference of redundant features on model performance is reduced by characterizing the dataset and selecting features that significantly impact the target variable for training. This approach not only reduces the complexity of the data but also improves the generalization ability of the model [33,34]. In the data preprocessing stage, we standardized the dataset by unifying the feature values of different magnitudes to the same magnitude, thus eliminating the impact of magnitude differences between features on model training.

4. Results

4.1. Finite Element Model Validation

Extensive literature research and experimental validation were conducted to ensure that the selected boundary condition assumptions have a realistic basis in physics and engineering practice. In addition, the realism of the boundary condition assumptions was quantitatively assessed by comparing the experimental data with the model predictions to ensure that the model can accurately reflect the actual situation within a reasonable range.
Beginning on 1 October 2024, Wuchang experienced consecutive sunny days with intense solar radiation. The experimental day was clear, with a south wind force of 1–2 and a forecasted temperature range of 2 °C to 13 °C. The sunrise, solar noon, and sunset times on that day were 6:29, 12:27, and 17:31, respectively. Due to the bridge’s axis being oriented close to the northeast-southwest direction, the downstream side of the steel box girder was exposed to solar radiation in the morning. In contrast, the upstream side was exposed in the afternoon. Based on the characteristics of temperature variations due to solar insolation on the bridge, measurements were taken every 30 min from 14:00 to 16:00, with measurement intervals of one hour before and after this period and intervals of two hours between 20:00 and 09:00 the next day.
Figure 14 presents the temperature variations of the ambient air, measurement point A1 on the top deck of the tested cross-section, and measurement point A2 on the bottom deck. The temperatures at these three points exhibit a similar trend. Regarding ambient temperature, it rose after 07:00, peaking at 14 °C between 14:00 and 15:00, and then declining. Similarly, the temperatures at measurement points A1 and A2 began to rise after 07:00. The top deck temperature rose rapidly, reaching a maximum of 32.1 °C at 15:30, and then declined more quickly after 16:00. The bottom deck temperature was slightly higher than the ambient temperature, with its maximum values lagging significantly behind the ambient temperature peaks. As illustrated in Figure 14, the temperature of the top deck of the box girder was significantly higher than that of the bottom deck, resulting in a significant temperature difference between them between 14:00 and 18:00. This is attributed to the fully enclosed steel structure of the steel box stiffened girder. When the deck temperature exceeds the bottom slab temperature, hot air accumulates at the top, leading to complex natural convection within the steel box girder, thus sustaining a significant temperature difference between the top and bottom decks for an extended period. It is evident that from 00:00 onwards, the temperature of the entire cross-section gradually decreased. This is due to the absence or weakness of solar radiation, combined with the box’s higher temperature than the surrounding atmosphere. Through convection and inverse radiation, the box in contact with the atmosphere dispersed heat, resulting in relatively lower temperatures on both the bottom and top of the girder. Heat conduction further reduced the temperatures at other locations within the box girder. Additionally, the steel box girder’s overall temperature was relatively low at 06:00, with the lowest temperature occurring at the top of the girder. The temperature difference between the top and bottom decks ranged from 1 °C to 13 °C.
The combination of 1.0 times self-weight and 5–13 °C data was selected. The central beam deflection obtained from numerical simulation was compared with the measured central beam deflection in the field, and the results are shown in Figure 15. The nine numerically simulated deflection values within the temperature range of 5 °C to 13 °C for the ramp bridge closely match the field-measured deflection values. When the temperature difference between the top and bottom decks increases, the numerically simulated deflection values also increase significantly, highlighting the significance of predicting the deflection of the incomplete main girder sections in assessing structural safety. A notable increase in deflection indicates that the structure may exceed its design or acceptable limits, posing potential safety hazards. Potential structural issues can be identified promptly by anticipating possible future deflection scenarios, allowing for the implementation of necessary measures to ensure structural integrity. Therefore, predicting the deflection of the incomplete main girder sections is imperative to aid in evaluating structural safety.

4.2. Prediction and Reliability Validation of GA-BP Neural Network Models

In this study, neural network models were trained using the BP and GA-BP algorithms, and the results are presented in Figure 16 and Figure 17. The iteration count was set to 300, the network training error precision k to 1 × 10−6, the neural network’s learning rate to 0.01, and for the genetic algorithm, the population size N to 5, the maximum number of generations Gmax to 50, the crossover probability to 0.65, and the mutation probability to 0.05.
Figure 16a illustrates that the fitness function curve in the genetic algorithm declines rapidly, with the fitness value essentially converging after 40 iterations. Figure 16b demonstrates that the LOSS function of the GA-BP neural network decreases more swiftly than that of the BP neural network. The mean squared error of the GA-BP neural network is smaller than that of the BP neural network at the maximum iteration count.
Figure 17 reveals that, on test samples, the prediction results for the vertical displacement of the main girder using the GA-BP neural network model exhibit a smaller fluctuation range and are more stable than those using the BP neural network model. The BP neural network’s predictions are relatively more dispersed than actual values. These findings indicate that the GA-BP neural network prediction model effectively enhances the convergence speed and accuracy of the BP neural network model.
To further validate the reliability of the trained GA-BP neural network, this study randomly selected ten sets of combined parameters from the confidence intervals of structural self-weight and temperature difference between the top and bottom plates. These parameters were then input into the GA-BP neural network model, the BP neural network model, and the finite element model. A comparative analysis was conducted between the prediction results of the GA-BP neural network model and the calculation results of the finite element model, as illustrated in Figure 17. The predictive capability of the GA-BP(BP) neural network model was evaluated using the relative error metric.
δ = | y ^ y | / y × 100 %
where δ is the relative error; y ^ is the GA-BP(BP) predicted values; y is the finite element model calculated values.
Figure 18 shows that during the construction phase of the mid-span of the first span of the ramp bridge, the average relative error in structural responses predicted using the GA-BP neural network is relatively small. Specifically, the average relative error for the vertical displacement of the main girder is 2.50%. Notably, the finite element calculation values of the structural responses themselves are also relatively modest. Therefore, the impact of these relative errors on the results is quite limited. The analysis above indicates that the GA-BP neural network model exhibits superior predictive capabilities to the BP neural network model, suggesting its potential to replace finite element models in predicting structural responses.

5. Discussion

This study discusses the deflection risk of steel box girder bridges under the influence of temperature difference between the top and bottom slabs and the self-weight of the structure and quantitatively analyzes and predicts the degree of deflection. It was found that the GA-BP neural network model prediction can simulate the nonlinear relationship between structural response and risk factors well. These findings help to provide a scientific basis for risk management, construction optimization, and safety assurance of future bridge projects, as well as to improve the overall quality and safety of bridges.
The GA-BP method improves the sustainability of bridge construction by minimizing waste, reducing carbon emissions, and optimizing resource use. It achieves the goal of sustainable development by preventing unnecessary material use and duplication of construction. GA-BP incorporates finite element analysis for greater accuracy and adaptability than traditional methods and has potential in other engineering fields. The limitation of this study is the focus on ±5% variation in self-weight during construction, which, while representing common load fluctuations, may require a more extensive range (e.g., ±10% or more) for specialized or complex bridges to assess performance under extreme conditions. Due to limited training data, the GA-BP model may be limited in its generalization ability, which may reduce prediction accuracy. The model may also exhibit instability with new data. Improvements that can be made in future research include increasing the range values of the influencing factors, expanding the dataset, augmenting the data, tuning the model, and introducing new algorithms. Real-time monitoring, exploring additional risk factors, and applying it to large projects and life cycle assessments.

6. Conclusions

Assessing structural safety risks during bridge construction is a pivotal concern within bridge engineering. This study, exemplified by the Fuxing Interchange Bridge, employs methodologies such as FEM, regression analysis, GA, and artificial neural networks to quantitatively evaluate the risk of steel box girder deflection during construction through sensitivity analysis of risk factors. Furthermore, BP and GA-BP neural network models are established to predict the degree of steel box girder deflection influenced by various factors. Overall, the GA-BP neural network model exhibits more stable predictions and minor relative errors than the BP neural network model, effectively simulating the nonlinear relationship between structural responses and risk factors. Specific conclusions are drawn as follows:
(1). The temperature difference between the top and bottom plates is the primary factor influencing steel box girder deflection. A maximum increase in deflection of 10.3 mm occurs when this temperature difference reaches 30 °C. In comparison, a 1.55 mm increase in deflection is observed when the structural self-weight is 1.05 times its average value. The maximum deflection of the main girder exhibits the highest sensitivity to structural temperature, followed by structural self-weight and bearing settlement. Consequently, temperature differences between the top and bottom plates and structural self-weight are selected as key risk factors affecting structural safety during the construction of the interchange bridge.
(2). By measuring the deflection changes after temperature variations in the weather, measurement points A1 on the top plate and A2 on the bottom plate of the tested cross-section, and comparing them with numerically simulated deflection values, a substantial consistency is observed, validating the accuracy of the finite element model. As the temperature difference between the top and bottom plates increases, the numerically simulated deflection values also increase significantly, indicating that predicting the deflection of the unfinished girder sections can aid in assessing structural safety.
(3). To identify risk sources impacting structural responses, a finite element model is utilized to compute a certain number of structural responses. The risk factors and corresponding structural responses are then output as training samples to train both BP and GA neural network models separately. The GA-BP neural network model yields more stable predictions and minor relative errors than the BP neural network model, effectively simulating the nonlinear relationship between structural responses and risk factors.
(4). The findings of this study offer valuable insights into the construction control of steel box girder bridges. Potential structural issues can be promptly identified by predicting potential deflection scenarios, and necessary measures can be taken to ensure structural safety. However, due to time and resource constraints, this study did not comprehensively cover all possible construction risk factors, potentially limiting the assessment results in specific scenarios. Therefore, future research should further refine the assessment model, enhance the objectivity and accuracy of parameters, and consider various construction risk factors as comprehensively as possible to provide more precise and comprehensive structural safety risk assessment methodologies.

Author Contributions

Methodology, Y.J.; software, Y.J. and B.Y.; validation, Y.J., B.Y. and W.X.; formal analysis, B.Y.; investigation, Y.J. and B.Y.; resources, Y.J. and W.X.; data curation, B.Y.; writing—original draft preparation, B.Y.; writing—review and editing, Y.J. and W.X.; supervision, Y.J. and W.X.; project administration, Y.J. and W.X.; funding acquisition, Y.J. and W.X. All authors have read and agreed to the published version of the manuscript.

Funding

The research was supported by the Fundamental Research Funds for the Central Universities (2572023CT17-05) and the Department of Transportation of Heilongjiang Province (HJK2023B008-2).

Data Availability Statement

The original contributions presented in this study are included in the article; further inquiries can be directed to the corresponding author.

Conflicts of Interest

The authors declare no conflicts of interest.

References

  1. Bao, Q.; Cheng, Q.; Qu, Q.; Liu, T.; Zhang, X. Research on informatization construction monitoring technology of long-span continuous beam bridge with extra-long continuous units based on BIM. In Proceedings of the International Conference on Electronic Information Engineering, Big Data, and Computer Technology (EIBDCT 2022), Xishuangbanna, China, 20–22 January 2022; SPIE: Bellingham, WA, USA, 2022; pp. 655–660. [Google Scholar]
  2. Banthia, N.; Soleimani-Dashtaki, S.; Mindess, S. Smart & Sustainable Infrastructure: Building a Greener Tomorrow. In Proceedings of the 1st Interdisciplinary Symposium on Smart & Sustainable Infrastructure, Vancouver, BC, Canada, 4–8 September 2023; Springer Nature: Cham, Switzerland, 2024; Volume 48. [Google Scholar]
  3. Ozsarac, V.; Monteiro, R.; Calvi, G.M. Probabilistic seismic assessment of reinforced concrete bridges using simulated records. Struct. Infrastruct. Eng. 2023, 19, 554–574. [Google Scholar] [CrossRef]
  4. Liu, Y.; Pang, B.; Wang, Y.; Shi, C.; Zhang, B.; Guo, X.; Zhou, S.; Wang, J. Life-cycle maintenance strategy of bridges considering reliability, environment, cost and failure probability CO2 emission reduction: A bridge study with climate scenarios. J. Clean. Prod. 2022, 379, 134740. [Google Scholar] [CrossRef]
  5. Pan, J.; Wang, X.; Huang, K.; Wang, W. Symmetrically Construction Monitoring Analysis and Completed State Evaluation of a Tied Steel Box Arch Bridge Based on Finite Element Method. Symmetry 2023, 15, 932. [Google Scholar] [CrossRef]
  6. Cho, T.; Kim, T.S. Probabilistic risk assessment for the construction phases of a bridge construction based on finite element analysis. Finite Elem. Anal. Des. 2008, 44, 383–400. [Google Scholar] [CrossRef]
  7. Morab, A.N.; Fernandes, R. Optimization of box girder bridge using genetic algorithm method. IOSR J. Mech. Civ. Eng. 2018, 15, 24–29. [Google Scholar]
  8. Li, S.; Wang, W.; Lu, B.; Du, X.; Dong, M.; Zhang, T.; Bai, Z. Long-term structural health monitoring for bridge based on back propagation neural network and long and short-term memory. Struct. Health Monit.-Int. J. 2023, 22, 2325–2345. [Google Scholar] [CrossRef]
  9. Wang, X.; Miao, C.; Wang, X. Prediction analysis of deflection in the construction of composite box-girder bridge with corrugated steel webs based on MEC-BP neural networks. Structures 2021, 32, 691–700. [Google Scholar] [CrossRef]
  10. Mustafa, R.; Ahmad, M.T.; Kumar, A.; Kumar, S.; Sah, N.K.; Kumar, A. Prediction of central deflection and slenderness limit for lateral stability of simply supported concrete beam using machine learning techniques. Asian J. Civ. Eng. 2024, 25, 5443–5466. [Google Scholar] [CrossRef]
  11. García-Segura, T.; Yepes, V.; Frangopol, D.M.J.S.; Optimization, M. Multi-objective design of post-tensioned concrete road bridges using artificial neural networks. Struct. Multidiscip. Optim. 2017, 56, 139–150. [Google Scholar] [CrossRef]
  12. Lee, J.; Lee, K.-C.; Sim, S.-H.; Lee, J.; Lee, Y.-J. Bayesian prediction of pre-stressed concrete bridge deflection using finite element analysis. Sensors 2019, 19, 4956. [Google Scholar] [CrossRef]
  13. Liu, D.; Dong, X.; Gao, K.; Han, Q.; Liu, S. Research of construction monitoring technology of large-span variable cross-section prestressed concrete continuous box-girder bridge. Acad. J. Archit. Geotech. Eng. 2022, 4, 31–36. [Google Scholar]
  14. Khan, S.M.; Atamturktur, S.; Chowdhury, M.; Rahman, M. Integration of structural health monitoring and intelligent transportation systems for bridge condition assessment: Current status and future direction. IEEE Trans. Intell. Transp. Syst. 2016, 17, 2107–2122. [Google Scholar] [CrossRef]
  15. Huang, H.; Guang, C.; Sheng, Z. Variable capacitance accelerometer-based experimental platform design for bridge deflection monitoring. Exp. Technol. Manag. 2023, 40, 86–91. [Google Scholar]
  16. Zheng, Q.; Zhou, G.; Liu, D. Method of modeling temperature-displacement correlation for long-span arch bridges based on long short-term memory neural networks. Eng. Mech. 2021, 38, 68–79. [Google Scholar]
  17. Xiao, H.; Luo, L.; Shi, J.; Jiang, H.; Wu, Z. Stressing state analysis of multi-span continuous steel-concrete composite box girder. Eng. Struct. 2021, 246, 113070. [Google Scholar] [CrossRef]
  18. Song, C.; Zhang, G.; Lu, Z.; Li, X.; Zhao, X. Fire resistance tests on polypropylene-fiber-reinforced prestressed concrete box bridge girders. Eng. Struct. 2023, 282, 115800. [Google Scholar] [CrossRef]
  19. Li, C.; Long, J.; Liu, Y.; Li, Q.; Liu, W.; Feng, P.; Li, B.; Xian, J. Mechanism analysis and partition characteristics of a recent highway landslide in Southwest China based on a 3D multi-point deformation monitoring system. Landslides 2021, 18, 2895–2906. [Google Scholar] [CrossRef]
  20. Grigorjeva, T.; Paeglitis, A.P. The simplified analysis of the asymmetric single-pylon suspension bridge with rigid cables. Eng. Struct. Technol. 2020, 12, 61–66. [Google Scholar] [CrossRef]
  21. Ma, Y.; Chen, H.; Han, Q. Sensitivity Analysis of Factors Affecting down Deflection of Long-span Continuous Rigid Frame Bridge. IOP Conf. Ser. Earth Environ. Sci. 2021, 781, 022048. [Google Scholar] [CrossRef]
  22. Al-Bukhaiti, K.; Liu, Y.; Zhao, S.; Han, D. Based on BP Neural Network: Prediction of Interface Bond Strength between CFRP Layers and Reinforced Concrete. Pract. Period. Struct. Des. Constr. 2024, 29, 04023067. [Google Scholar] [CrossRef]
  23. Zhang, C.; Guo, Y.; Li, M. Review of Development and Application of Artificial Neural Network Models. J. Com. Eng. App. 2021, 57, 57–69. [Google Scholar]
  24. Chen, G.; He, Z.W.; Yang, B.; Yang, Y. Application of genetic BP Neural Network on risk assessment of debris flow. J. Com. Eng. App. 2010, 46, 228–231. [Google Scholar]
  25. Zhou, K.; Kang, Y.H. Neural Network Model and MATLAB Simulation Program Design; Tsinghua University Press: Beijing, China, 2005. [Google Scholar]
  26. Huang, M.; Zhang, J.; Li, J. Damage identification of steel bridge based on data augmentation and adaptive optimization neural network. Struct. Health Monit. 2024. [Google Scholar] [CrossRef]
  27. Zhang, J.; Huang, M.; Wan, N. Missing measurement data recovery methods in structural health monitoring: The state, challenges and case study. Measurement 2024, 231. [Google Scholar] [CrossRef]
  28. Huang, M.; Wan, N.; Zhu, H. Reconstruction of structural acceleration response based on CNN-BiGRU with squeeze-and-excitation under environmental temperature effects. J. Civ. Struct. Health Monit. 2024, 1–19. [Google Scholar] [CrossRef]
  29. Wang, Y.; Zhu, Z.; Sha, A. Low cycle fatigue life prediction of titanium alloy using genetic algorithm-optimized BP artificial neural network. Int. J. Fatigue 2023, 172, 107609. [Google Scholar] [CrossRef]
  30. Xi, L.; Wang, R.D. Optimization algorithm of neural network structure based on adaptive genetic algorithm. Open Phys. 2021, 26, 39–44. [Google Scholar]
  31. Liu, J.; Ashraf, M.A. Face recognition method based on GA-BP neural network algorithm. Open Phys. 2018, 16, 1056–1065. [Google Scholar] [CrossRef]
  32. Rumelhart, D.E.; Hinton, G.E.; Williams, R.J. Learning representations by back-propagating errors. Nature 1986, 323, 533–536. [Google Scholar] [CrossRef]
  33. Bolon-Canedo, V.; Remeseiro, B. Feature selection in image analysis: A survey. Artif. Intell. Rev. 2020, 53, 2905–2931. [Google Scholar] [CrossRef]
  34. Kabir, H.; Garg, N. Machine learning enabled orthogonal camera goniometry for accurate and robust contact angle measurements. Sci. Rep. 2023, 13, 1497. [Google Scholar] [CrossRef] [PubMed]
Figure 1. Schematic diagram of bridge layout (m).
Figure 1. Schematic diagram of bridge layout (m).
Buildings 14 03923 g001
Figure 2. Photorealistic image of bridge.
Figure 2. Photorealistic image of bridge.
Buildings 14 03923 g002
Figure 3. Deflection test. (a) Installation of magneto-electric speed sensors; (b) dynamic signal acquisition box.
Figure 3. Deflection test. (a) Installation of magneto-electric speed sensors; (b) dynamic signal acquisition box.
Buildings 14 03923 g003
Figure 4. Temperature test. (a) Instrumentation and testing; (b) temperature measurement point layout (cm).
Figure 4. Temperature test. (a) Instrumentation and testing; (b) temperature measurement point layout (cm).
Buildings 14 03923 g004
Figure 5. Standard cross-section (cm).
Figure 5. Standard cross-section (cm).
Buildings 14 03923 g005
Figure 6. Finite element modeling of ramp bridges: (a) top side view; (b) front view.
Figure 6. Finite element modeling of ramp bridges: (a) top side view; (b) front view.
Buildings 14 03923 g006
Figure 7. Displacement contour plot: (a) 1.05 times self-weight; (b) 0.95 times self-weight.
Figure 7. Displacement contour plot: (a) 1.05 times self-weight; (b) 0.95 times self-weight.
Buildings 14 03923 g007
Figure 8. Sensitivity of structural parameters to deflection of steel box girders.
Figure 8. Sensitivity of structural parameters to deflection of steel box girders.
Buildings 14 03923 g008
Figure 9. Displacement contour plot: (a) temperature difference of 30 °C; (b) temperature difference of 5 °C.
Figure 9. Displacement contour plot: (a) temperature difference of 30 °C; (b) temperature difference of 5 °C.
Buildings 14 03923 g009aBuildings 14 03923 g009b
Figure 10. Sensitivity of environmental parameters to deflection of steel box girders.
Figure 10. Sensitivity of environmental parameters to deflection of steel box girders.
Buildings 14 03923 g010
Figure 11. Sensitivity of settlement to deflection of steel box girders.
Figure 11. Sensitivity of settlement to deflection of steel box girders.
Buildings 14 03923 g011
Figure 12. Schematic diagram of neural network topology.
Figure 12. Schematic diagram of neural network topology.
Buildings 14 03923 g012
Figure 13. Genetic algorithm optimization BP neural network flowchart.
Figure 13. Genetic algorithm optimization BP neural network flowchart.
Buildings 14 03923 g013
Figure 14. Temperature measurements over time.
Figure 14. Temperature measurements over time.
Buildings 14 03923 g014
Figure 15. Comparison between numerical simulation and field measurement of main girder deflection at mid-span of the first span.
Figure 15. Comparison between numerical simulation and field measurement of main girder deflection at mid-span of the first span.
Buildings 14 03923 g015
Figure 16. Function iteration curve: (a) GA-BP fitness function; (b) neural network error function.
Figure 16. Function iteration curve: (a) GA-BP fitness function; (b) neural network error function.
Buildings 14 03923 g016
Figure 17. Prediction of vertical displacement of main girder.
Figure 17. Prediction of vertical displacement of main girder.
Buildings 14 03923 g017
Figure 18. Comparison of GA-BP and BP model errors.
Figure 18. Comparison of GA-BP and BP model errors.
Buildings 14 03923 g018
Table 1. Main design parameters of the bridge.
Table 1. Main design parameters of the bridge.
Elastic Modulus (MPa)Shear Modulus (MPa)Linear Coefficient of Thermal Expansion (1/°C)Poisson’s RatioDensity (kg/m3)Concrete Self-Weight (kN/m3)
2.1 × 1050.790 × 10512 × 10−60.3785026
Table 2. Sensitivity parameters.
Table 2. Sensitivity parameters.
CategorizationSerial NumberSub-ItemAmplitude
Structural parameters1Self-weight increase1.05 times self-weight
2Self-weight decrease0.95 times self-weight
Environmental parameters3Overall warming30 °C
4Overall cooling−30 °C
5Temperature difference between top and bottom plates30 °C
6Temperature difference between top and bottom plates5 °C
Foundation settlement70#Abutment settlement5 mm
81#Pier settlement5 mm
Table 3. Results of the identification of risk factors for deflection under the construction phase.
Table 3. Results of the identification of risk factors for deflection under the construction phase.
Serial NumberRisk Factor
1Structural dead weight
2Temperature difference between top and bottom plates
Disclaimer/Publisher’s Note: The statements, opinions and data contained in all publications are solely those of the individual author(s) and contributor(s) and not of MDPI and/or the editor(s). MDPI and/or the editor(s) disclaim responsibility for any injury to people or property resulting from any ideas, methods, instructions or products referred to in the content.

Share and Cite

MDPI and ACS Style

Ji, Y.; Yao, B.; Xu, W. Research on Deflection Risk Assessment for Steel Box Girder Bridges Based on GA-BP Neural Network. Buildings 2024, 14, 3923. https://doi.org/10.3390/buildings14123923

AMA Style

Ji Y, Yao B, Xu W. Research on Deflection Risk Assessment for Steel Box Girder Bridges Based on GA-BP Neural Network. Buildings. 2024; 14(12):3923. https://doi.org/10.3390/buildings14123923

Chicago/Turabian Style

Ji, Yongcheng, Bowen Yao, and Wenyuan Xu. 2024. "Research on Deflection Risk Assessment for Steel Box Girder Bridges Based on GA-BP Neural Network" Buildings 14, no. 12: 3923. https://doi.org/10.3390/buildings14123923

APA Style

Ji, Y., Yao, B., & Xu, W. (2024). Research on Deflection Risk Assessment for Steel Box Girder Bridges Based on GA-BP Neural Network. Buildings, 14(12), 3923. https://doi.org/10.3390/buildings14123923

Note that from the first issue of 2016, this journal uses article numbers instead of page numbers. See further details here.

Article Metrics

Back to TopTop