Progress in Seismic Isolation Technology Research in Soft Soil Sites: A Review
Abstract
1. Introduction
2. Seismic Isolation Scheme and Engineering Application for Soft Soil Sites
3. Investigation of the Dynamic Interaction between Isolation Structures and Soil
3.1. Methods for Analyzing the Dynamic Interaction of Soil–Isolated Structures
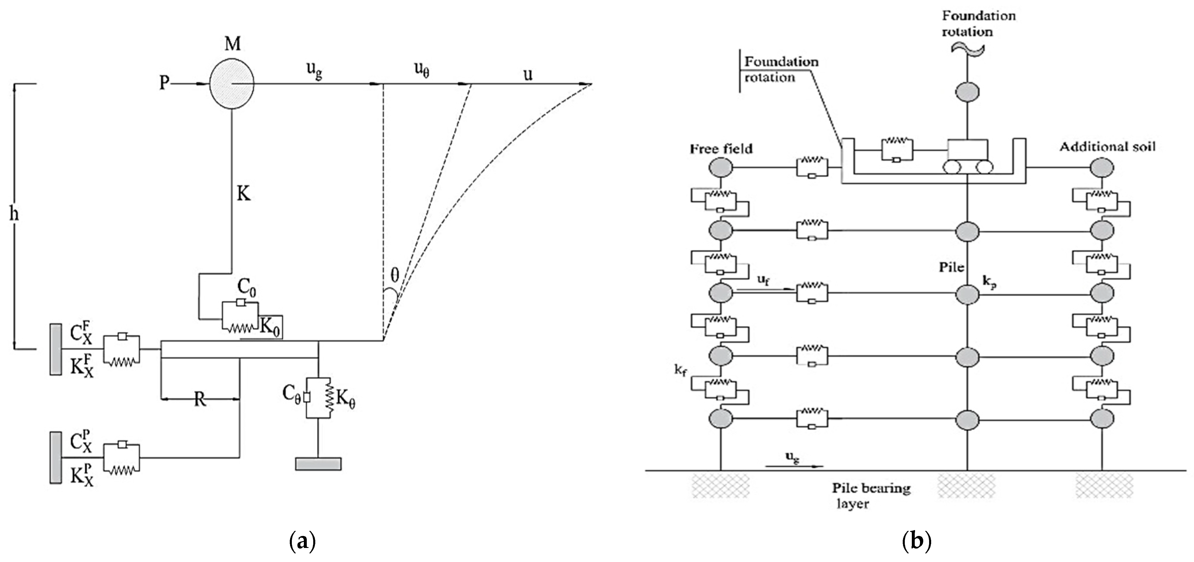
3.1.1. Simplified Analysis Method
3.1.2. Holistic Analysis Method
3.2. Numerical Study of SSI Effect on Seismic Isolation Structure in Soft Soil Sites
3.2.1. Simplified Model
3.2.2. Comprehensive Model
3.3. Experimental Study of SSI Effect on Seismic Isolation Structure in Soft Soil Sites
4. Visions for Future Research Endeavors
- (1)
- Based on the analysis presented in Section 2, it is evident that the scheme integrating LRB/VFD with NRB and ESB is a more advantageous option for the implementation of seismic isolation technology on soft soil sites. This approach effectively reduces the horizontal displacement of the seismic isolation layer and minimizes the deformation of the superstructure. Furthermore, it enhances the tensile capacity of the seismic isolation structure and improves the overall efficiency of seismic isolation. The seismic isolation system designed specifically for the characteristics of soft soil sites also demonstrates commendable seismic performance. One study [41] showed that incorporating thick rubber bearings into the rubber bearing and elastic skateboard bearing system and arranging them in the periphery of the isolation layer can mitigate torsional effects and residual deformation. Thick rubber bearings, a type of three-dimensional seismic isolation bearing, excel at isolating vertical ground vibrations while dissipating horizontal seismic energy, making them suitable for safeguarding critical equipment and major construction projects. Other effective options include three-dimensional vibration isolation double-control bearings [91], which consist of horizontal and vertical vibration isolation bearings connected in series, and three-dimensional overturning-resistant seismic isolation bearings [92]. Therefore, similar 3D seismic isolation bearings can also be considered to be introduced into the generalized scheme to study the anti-seismic performance of the structure.
- (2)
- In the current numerical study on the SSI effect of seismic isolation structures in soft soil sites, the majority of the research is focused on base isolation. However, for structures like offshore buildings, historical buildings, and large-span connecting corridor-type structures where base isolation is not feasible due to various constraints, the form of story isolation may be employed [93]. Nevertheless, there is a lack of research on the consideration of SSI effects in interstory isolation structures in soft soil sites. Therefore, further investigation into the impact of SSI effects on interstory isolation structures is warranted.
- (3)
- Under the long-term environmental effects, the changing rule of the performance of seismic isolation structures in soft soil sites is also worth studying. For example, excessive uniform settlement can lower the building’s elevation, affecting its functionality, while uneven settlement can lead to additional stresses and potential structural damage, compromising the building’s safety. Therefore, it is valuable to investigate the impact of foundation settlement on seismic isolation buildings in different sites, both considering the SSI effect and without considering it. Additionally, research [93] has shown that bearing settlement resulting from the creep of rubber vibration isolation bearings or construction irregularities during normal use can affect the performance of vibration isolation structures under wind loading. However, there is currently a lack of studies on the effect of bearing settlement on seismic isolation structures in soft soil sites. Therefore, it is necessary to explore the influence of bearing settlement on seismic isolation structures in soft soil sites, considering and excluding the SSI effect.
Author Contributions
Funding
Data Availability Statement
Acknowledgments
Conflicts of Interest
References
- Alberto, Y.; Otsubo, M.; Kyokawa, H.; Kiyota, T.; Towhata, I. Reconnaissance of the 2017 Puebla, Mexico Earthquake. Soils Found. 2018, 58, 1073–1092. [Google Scholar] [CrossRef]
- Inoue, K.; Uemura, Y. Report on the Emergency Damage Investigation of the Earthquake off Fukushima Prefecture on March 16, 2022. Available online: https://committees.jsce.or.jp/eec205/node/48#:~:text=%3C%E5%9F%BA%E6%9C%AC%E6%83%85%E5%A0%B1%3E%20%EF%BC%8D%E6%B0%97%E8%B1%A1 (accessed on 6 October 2024). (In Japanese).
- Shibayama, A.; Moriguchi, S.; Ohno, S.; Sato, K. Earthquake Field Survey Report off the Coast of Fukushima Prefecture around 23:36 on March 16, Reiwa 4. Available online: https://irides.tohoku.ac.jp/research/prompt_investigation/2022fukushima-eq.html#:~:text=2022%E5%B9%B43%E6%9C%8816%E6%97%A5 (accessed on 6 October 2024). (In Japanese).
- Ozkula, G.; Dowell, R.K.; Baser, T.; Lin, J.-L.; Numanoglu, O.A.; Ilhan, O.; Olgun, C.G.; Huang, C.-W.; Uludag, T.D. Field Reconnaissance and Observations from the February 6, 2023, Turkey Earthquake Sequence. Nat. Hazards 2023, 119, 663–700. [Google Scholar] [CrossRef]
- Vuran, E.; Serhatoğlu, C.; Timurağaoğlu, M.Ö.; Smyrou, E.; Bal, İ.E.; Livaoğlu, R. Damage Observations of RC Buildings from 2023 Kahramanmaraş Earthquake Sequence and Discussion on the Seismic Code Regulations. Bull. Earthq. Eng. 2024. [Google Scholar] [CrossRef]
- Li, A.Q. Investigation and Consideration of Seismic Isolation and Energy Dissipation Structures in Tohoku Earthquake. Eng. Mech. 2012, 29, 69–77+106. (In Chinese) [Google Scholar]
- Shu, W.N.; Zhu, Z.Y.; Bu, L.G.; Zhang, L. Research and application of seismic isolation design of airport terminal structure. Build. Struct. 2019, 49, 5–12. (In Chinese) [Google Scholar] [CrossRef]
- Türkiye Earthquake|The Two Largest Hospitals in the Hardest Hit Khathai Province, One isolated and One Non-Isolated. Available online: https://mp.weixin.qq.com/s/KjF0oAZs9sEuD7rAZRZuDA (accessed on 23 September 2024).
- Low, H.-E.; Phoon, K.-K.; Tan, T.-S.; Leroueil, S. Effect of Soil Microstructure on the Compressibility of Natural Singapore Marine Clay. Can. Geotech. J. 2008, 45, 161–176. [Google Scholar] [CrossRef]
- Ballas, G.; Garziglia, S.; Sultan, N.; Pelleter, E.; Toucanne, S.; Marsset, T.; Riboulot, V.; Ker, S. Influence of Early Diagenesis on Geotechnical Properties of Clay Sediments (Romania, Black Sea). Eng. Geol. 2018, 240, 175–188. [Google Scholar] [CrossRef]
- JTG3430-2020; Test Methods of Soils for Highway Engineering. China Communication Press: Beijing, China, 2020. (In Chinese)
- Miu, L.C. Mechanical Properties of Soft Soil and Engineering Practice, 1st ed.; Science Press: Beijing, China, 2012; pp. 3–7. (In Chinese) [Google Scholar]
- Qi, W.H.; Chen, L.W.; Wen, R.Z.; Shan, Z.D.; Wang, Y.L. Preliminary discussion on ground and foundation damages in MS 7.0 Lushan earthquake. J. Nat. Disaster 2013, 22, 98–103. (In Chinese) [Google Scholar] [CrossRef]
- Qiu, B.; Zhao, B.S.; Liu, Y.J.; Wang, J.W.; Dong, G.H.; Hu, S.Y. Analysis on seismic damage of building structures after “10.07 Jinggu earthquake” occurred in Yunnan province. Build. Struct. 2017, 47, 50–54. (In Chinese) [Google Scholar] [CrossRef]
- Tobita, T.; Kiyota, T.; Torisu, S.; Cinicioglu, O.; Tonuk, G.; Milev, N.; Contreras, J.; Contreras, O.; Shiga, M. Geotechnical Damage Survey Report on February 6, 2023 Turkey-Syria Earthquake, Turkey. Soils Found. 2024, 64, 101463. [Google Scholar] [CrossRef]
- Liu, H.S. Analysis of pile seismic damage and causes: Insights from the great Hanshin earthquake in Japan. Earthq. Resist. Eng. Retrofit. 1999, 1, 37–43. (In Chinese) [Google Scholar] [CrossRef]
- Chen, Y.Q.; Lu, X.L. Insights from ground and foundation damage in several earthquakes. Earthq. Resist. Eng. Retrofit. 2001, 8–15. (In Chinese) [Google Scholar] [CrossRef]
- Liu, H.S. Earthquake Damage to Soil & Foundation and Improvement. Build. Sci. 2002, 18, 16–20. Available online: https://kns.cnki.net/kcms2/article/abstract?v=C06iYwc_NfRqzEA7L-KRERzp28NbjeT6tx_qKaTlo_ZFM29NfrfyoUUOjVErIfVirtrIyO3pfbI3VkkdJfcCW5MHOSIerKZWh2LPnVPk43kGXqYngBq6sw==&uniplatform=NZKPT&language=gb (accessed on 6 October 2024). (In Chinese).
- Zhao, S.; Zhou, H.Y.; Jiang, H.C.; Weng, D.G.; Lu, X.L. Analysis of a seismically isolated structure in soft site. In Proceedings of the Fourth National Symposium on Earthquake Prevention and Mitigation Engineering, Fuzhou, China, 12–13 May 2009. [Google Scholar]
- Weng, D.G.; Liu, S.; Li, X.L.; Hu, X.Y.; Chen, T.; Lu, X.L. Research and application of structural seismic isolation in soft ground. J. Build. Struc. 2015, 36, 41–50. (In Chinese) [Google Scholar] [CrossRef]
- Li, C.P.; Liu, W.Q.; Wang, S.G.; Du, D.S.; Wang, H. Shaking table test on high-rise isolated structure on soft soil foundation. J. Build. Struc. 2013, 34, 72–78. (In Chinese) [Google Scholar] [CrossRef]
- Wu, Y.X.; Chen, J.Y.; Fang, H.J.; Shi, J.R.; Xu, L.Y. Shaking table test of inter-story isolation structure on a soft interlayer ground under long-period ground motion. J. Vib. Eng. 2023, 36, 345–356. (In Chinese) [Google Scholar] [CrossRef]
- Skinner, R.I.; Robinson, W.H.; McVerry, G.H. Introduction. Introduction to Engineering Seismic Isolation, 1st ed.; Xie, L.L., Zhou, Y.N., Zhao, X.Q., Eds.; Seismological Press: Beijing, China, 1996; pp. 4–8. [Google Scholar]
- Architectural Institute of Japan. Recommendation for the Design of Base Isolated Buildings, 2nd ed.; Liu, W.G., Feng, D.M., Eds.; Seismological Press: Beijing, China, 2001; pp. 361–370. [Google Scholar]
- GB 50011-2010; Code for Seismic Design of Buildings. China Construction Industry Press: Beijing, China, 2016. (In Chinese)
- GB/T 51408-2021; Standard for Seismic Isolation Design of Building. China Planning Press: Beijing, China, 2021. (In Chinese)
- Yang, X.W. Numerical Analysis of Pile-Soil-Structure Dynamic Interaction. Master’s Thesis, Wuhan University of Technology, Wuhan, China, 2006. (In Chinese). [Google Scholar]
- Song, H.J. Application Research on High-level Story Isolation Technology in Property Development above Railway. Railw. Stand. Des. 2018, 62, 157–163. [Google Scholar] [CrossRef]
- An, H.Y.; Zhao, Z.X.; Liu, C. Analysis and research of multi-tower isolated structure with enlarged base in soft soil site. Build. Struct. 2020, 50, 103–108. (In Chinese) [Google Scholar] [CrossRef]
- Awwad, T.; Donia, M. The Efficiency of Using a Seismic Base Isolation System for a 2D Concrete Frame Founded upon Improved Soft Soil with Rigid Inclusions. Earthq. Eng. Eng. Vib. 2016, 15, 49–60. [Google Scholar] [CrossRef]
- Hu, X.; Zhou, Z. Seismic Analysis of a Reinforced Concrete Building Isolated by High Damping Rubber Bearings Using Deformation History Integral Type Model. Struct. Des. Tall Build. 2020, 29, e1811. [Google Scholar] [CrossRef]
- Wei, R.; Zhang, C.; Liu, X.D. Application and analysis on friction pendulum isolation bearings in Binhai Affiliated Primary School of East China Normal University. Build. Eng. 2022, 52, 859–863. (In Chinese) [Google Scholar] [CrossRef]
- Fan, C.L.; Xia, Q.; Shi, H.Y.; Ding, J.H.; Liang, J.T. Structural design for Xinzhuang Metro Station topside development project in Shanghai. Build. Eng. 2015, 45, 79–85. (In Chinese) [Google Scholar] [CrossRef]
- Gao, X.M.; Liu, X.D.; Deng, X.; Wang, Z.Y.; Li, X.L.; Ye, L.W. Isolation design and research on 12-year-conservative compulsory school in Sino-Singapore Tianjin Eco-city. Build. Eng. 2016, 46, 62–68. (In Chinese) [Google Scholar] [CrossRef]
- Li, J.F.; Xiong, P.H.; Zhang, S.F. Design of Shanghai Jiujiangtang Villa with combined isolating system. Build. Eng. 2012, 42, 528–531. (In Chinese) [Google Scholar] [CrossRef]
- Ding, S.W. The Application of Elastic Sliding Bearings in Combined Base Isolation. Earthq. Resist. Eng. Retrofit. 2014, 36, 62–65. (In Chinese) [Google Scholar] [CrossRef]
- Zhong, Y.C.; Zheng, Z.; Zhang, H. Isolation Performance Analysis of a Base Isolation System for a Hospital Building. Struct. Eng. 2019, 35, 82–89. (In Chinese) [Google Scholar] [CrossRef]
- Zhang, R.; Weng, D.; Ren, X. Seismic Analysis of a LNG Storage Tank Isolated by a Multiple Friction Pendulum System. Earthq. Eng. Eng. Vib. 2011, 10, 253–262. (In Chinese) [Google Scholar] [CrossRef]
- Zhang, R.F.; Weng, D.G.; Ni, W.B.; Ren, X.S. Research on the control of extremely large LNG storage tanks using the damper reaction wall system. J. Disas. Prev. Mitig. Eng. 2011, 31, 138–145. (In Chinese) [Google Scholar] [CrossRef]
- Liu, S.; Xia, Z.; Zhang, Y.C. Combined sliding seismic isolation of large LNG storage tank in soft site. J. Jilin Univ. (Eng. Technol. Ed.) 2022, 52, 856–864. (In Chinese) [Google Scholar] [CrossRef]
- Li, X.; He, Y.; Lu, W.S.; Zhang, R.F. Mechanical Properties and Application of a Combined Sliding Isolation System. Struct. Eng. 2018, 34, 63–69. (In Chinese) [Google Scholar] [CrossRef]
- Jangid, R.S. Optimum Tuned Inerter Damper for Base-Isolated Structures. J. Vib. Eng. Technol. 2021, 9, 1483–1497. [Google Scholar] [CrossRef]
- Wang, W.D.; Yao, J.; Yue, J.Y.; Lan, W.J. Key techniques and application of underground space development underneath heritage buildings in soft soil. J. Build. Struct. 2023, 44, 92–99. (In Chinese) [Google Scholar] [CrossRef]
- Zai, J.M.; Zhuang, H.Y. Analysis on the Several Problems about the Dynamic Soil-Structure Interaction. J. Xuzhou Inst. Technol. 2005, 1–6. Available online: https://kns.cnki.net/KCMS/detail/detail.aspx?dbcode=CJFD&dbname=CJFD2005&filename=PCZD200501001&v= (accessed on 6 October 2024). (In Chinese).
- Liu, L.P. Study on Pile-Soil-Superstructure Elasto-Plastic Dynamic Interaction under the Horizontal Earthquake Action. Ph.D. Thesis, Chongqing University, Chongqing, China, 2005. (In Chinese). [Google Scholar]
- Yu, X.; Zhuang, H.Y.; Chen, G.X.; Liu, S. Prediction method research of seismic response and seismic isolation effect of isolated structure on soft soil foundation. J. Vib. Eng. 2017, 30, 817–826. (In Chinese) [Google Scholar] [CrossRef]
- Zhu, C. Study of Dynamic Characteristics of Pile Base Isolation Structure on Soft Ground. Master’ Thesis, Nanjing Tech University, Nanjing, China, 2016. (In Chinese). [Google Scholar]
- Zou, L.H.; Zhao, R.D.; Zhao, J.C. Analysis of the response to earthquake of the pile-soil-isolated structure interaction. Chin. J. Geotech. Eng. 2004, 26, 782–786. (In Chinese) [Google Scholar]
- Li, C.P.; Liu, W.Q.; Wang, S.G.; Du, D.S.; Wang, H. Simplified Method for Calculating Dynamic Characteristics of Soil-Isolated Structure System. Eng. Mech. 2013, 30, 173–179. (In Chinese) [Google Scholar]
- Du, D.; Wang, S.; Liu, W.; Shi, S.; Lee, C.; Xu, J. Modal Property of Base-Isolated High-Rise Structure Considering Soil–Structure Interaction Effect. Adv. Mech. Eng. 2018, 10, 168781401880380. [Google Scholar] [CrossRef]
- Andersen, L.V. Dynamic Soil–Structure Interaction of Polypod Foundations. Comput. Struct. 2020, 232, 105966. [Google Scholar] [CrossRef]
- Ashiquzzaman, M.; Hong, K.-J. Simplified Model of Soil-Structure Interaction for Seismically Isolated Containment Buildings in Nuclear Power Plant. Structures 2017, 10, 209–218. [Google Scholar] [CrossRef]
- Zhang, S.R.; Tan, P.; Du, Y.F.; Bao, C.; Zhou, F.L. Effect analysis of soil-structure interaction on inter-story isolation structure. Chin. Civ. Eng. J. 2014, 47, 246–252. (In Chinese) [Google Scholar] [CrossRef]
- Wu, W.; Lee, W. Systematic Lumped-parameter Models for Foundations Based on Polynomial-fraction Approximation. Earthq. Engng. Struct. Dyn. 2002, 31, 1383–1412. [Google Scholar] [CrossRef]
- Liu, D.W.; Jiang, S.J.; Fang, S.T.; Li, H.; Zhang, Y.F. Simply analysis of SSI effect on inter-story isolation system. Earthq. Eng. Eng. Vibrat. 2018, 38, 77–84. (In Chinese) [Google Scholar] [CrossRef]
- Pitilakis, K.; Tsinidis, G.; Leanza, A.; Maugeri, M. Seismic Behaviour of Circular Tunnels Accounting for above Ground Structures Interaction Effects. Soil Dyn. Earthq. Eng. 2014, 67, 1–15. [Google Scholar] [CrossRef]
- Yang, Y.; Li, X.; Rong, M.; Yang, Z. Strategy for Eliminating High-Frequency Instability Caused by Multi-Transmitting Boundary in Numerical Simulation of Seismic Site Effect. Front. Earth Sci. 2022, 10, 1056583. [Google Scholar] [CrossRef]
- Xu, C.; Liu, Q.; Xie, W.; Wang, Y.; Li, S.; Lu, W.; Zhang, H. Investigation on Artificial Boundary Problem in the Combined Finite-Discrete Element Method (FDEM). Comput. Geotech. 2022, 151, 104969. [Google Scholar] [CrossRef]
- Xu, Q.; Chen, J.; Li, J.; Fan, S. New Artificial Boundary Condition for Saturated Soil Foundations. Earthq. Eng. Eng. Vib. 2012, 11, 139–147. [Google Scholar] [CrossRef]
- Li, J.-L.; Yu, D.-H.; Li, G. Seismic Response Analysis of Complicated Soil-Structure Interaction Using Inelasticity-Separated Scaled Boundary Finite Element Method. Soil Dyn. Earthq. Eng. 2022, 152, 107069. [Google Scholar] [CrossRef]
- Gao, Z.; Zhao, M.; Du, X.; Zhong, Z. A Generalized Response Spectrum Method for Seismic Response Analysis of Underground Structure Combined with Viscous-Spring Artificial Boundary. Soil Dyn. Earthq. Eng. 2021, 140, 106451. [Google Scholar] [CrossRef]
- Lin, S.; Deng, T.; Zheng, L.; Zhang, H.; Wu, W.; Fu, X.; Chen, G. Implementation of Viscoelastic Artificial Boundary and Seismic Motion Input Method in Three-Dimensional Discontinuous Deformation Analysis Method. Rock Mech. Rock Eng. 2024, 57, 4995–5015. [Google Scholar] [CrossRef]
- Soneji, B.B.; Jangid, R.S. Influence of Soil–Structure Interaction on the Response of Seismically Isolated Cable-Stayed Bridge. Soil Dyn. Earthq. Eng. 2008, 28, 245–257. [Google Scholar] [CrossRef]
- Fosoul, S.A.S.; Tait, M.J. Soil-Pile-Structure Interaction Effects on Seismic Demands and Fragility Estimates of a Typical Ontario Highway Bridge Retrofitted with Fiber Reinforced Elastomeric Isolator. Soil Dyn. Earthq. Eng. 2021, 151, 106967. [Google Scholar] [CrossRef]
- Almansa, F.L.; Weng, D.; Li, T.; Alfarah, B. Suitability of Seismic Isolation for Buildings Founded on Soft Soil. Case Study of a RC Building in Shanghai. Buildings 2020, 10, 241. [Google Scholar] [CrossRef]
- Tena-Colunga, A.; Eduardo Pérez-Rocha, L.; Avilés, J.; Cordero-Macías, C. Seismic Isolation of Buildings for Power Stations Considering Soil-Structure Interaction Effects. J. Build. Eng. 2015, 4, 21–40. [Google Scholar] [CrossRef]
- Yanik, A.; Ulus, Y. Soil–Structure Interaction Consideration for Base Isolated Structures under Earthquake Excitation. Buildings 2023, 13, 915. [Google Scholar] [CrossRef]
- Abdeddaim, M.; Djerouni, S.; Ounis, A.; Athamnia, B.; Noroozinejad Farsangi, E. Optimal Design of Magnetorheological Damper for Seismic Response Reduction of Base-Isolated Structures Considering Soil-Structure Interaction. Structures 2022, 38, 733–752. [Google Scholar] [CrossRef]
- Baidya, S.; Roy, B.K. Response Mitigation of Building Isolated by Shape Memory Alloy Rubber Bearing Considering Soil Structure Interaction Effect. J. Vib. Eng. Technol. 2024. [Google Scholar] [CrossRef]
- Gao, L.; Liu, D.; Lei, M.; Ding, Y.; Mu, S. Study on Shock-Absorbing Effect of a Double-Story Isolation Structure Considering Soil–Structure Interaction. Buildings 2023, 13, 2677. [Google Scholar] [CrossRef]
- Radkia, S.; Rahnavard, R.; Tuwair, H.; Abbas Gandomkar, F.; Napolitano, R. Investigating the Effects of Seismic Isolators on Steel Asymmetric Structures Considering Soil-Structure Interaction. Structures 2020, 27, 1029–1040. [Google Scholar] [CrossRef]
- Zhang, J.; Li, Y.; Zhang, C. Pounding Induced Overturning Resistance of FPB-Isolated Structures Considering Soil-Structure-Interactions. Soil Dyn. Earthq. Eng. 2024, 177, 108416. [Google Scholar] [CrossRef]
- Liu, Y.; Li, J.; Lin, G. Dynamic Soil-Structure Interaction Analysis for Base-Isolated Nuclear Island Building Based on the Method of External Source Wave Motion. Soil Dyn. Earthq. Eng. 2024, 177, 108422. [Google Scholar] [CrossRef]
- BS EN 1998-1; Eurocode 8: Design of Structures for Earthquake Resistance—Part 1: General Rules, Seismic Actions and Rules for Buildings. European Committee for Standardization: Brussels, Belgium, 2004.
- BS EN 15129; Anti-Seismic Devices. European Committee for Standardization: Brussels, Belgium, 2009.
- EN 1337-3; Structural Bearings—Part 3: Elastomeric Bearings. European Committee for Standardization: Brussels, Belgium, 2005.
- NTCS-2004; Complementary Technical Standards for Earthquake Design with Commentary. Official Gazette of Mexico City: Mexico City, Mexico, 2004. (In Spanish)
- NTCEM-2004; Complementary Technical Standards for Design and Construction of Metal Structures. Official Gazette of Mexico City: Mexico City, Mexico, 2004. (In Spanish)
- NTCC-2004; Complementary Technical Standards For The Design And Construction Of Structures Concrete. Official Gazette of Mexico City: Mexico City, Mexico, 2004. (In Spanish)
- NTCDC-2004; Complementary Technical Standards For The Design And Construction Of Foundations. Official Gazette of Mexico City: Mexico City, Mexico, 2004. (In Spanish)
- Gur, S.; Mishra, S.K.; Chakraborty, S. Performance Assessment of Buildings Isolated by Shapememoryalloy Rubber Bearing: Comparison with Elastomeric Bearing under Nearfault Earthquakes. Struct. Control Health Monit. 2014, 21, 449–465. [Google Scholar] [CrossRef]
- Charrouf, M.E.; Ounis, A.; Djedoui, N.; Abdeddaim, M. Analyzing Seismic Performance of Optimized Base Isolation Systems with Soil–Structure Interaction: An Analytical and Numerical Approach. Pract. Period. Struct. Des. Constr. 2024, 29, 04024032. [Google Scholar] [CrossRef]
- AISC-1997; Seismic Provisions for Structural Steel Buildings. American Institute Of Steel Construction: Chicago, IL, USA, 1997.
- Yamashita, K.; Hamada, J.; Onimaru, S.; Higashino, M. Seismic Behavior of Piled Raft with Ground Improvement Supporting a Base-Isolated Building on Soft Ground in Tokyo. Soils Found. 2012, 52, 1000–1015. [Google Scholar] [CrossRef]
- Zhao, J.; Chen, H.; Zhou, Z. Shaking Table Test Study of Nuclear Power Plant Model Considering Soil-Structure Interaction Effect. Soil Dyn. Earthq. Eng. 2023, 168, 107859. [Google Scholar] [CrossRef]
- Yu, X.; Zhuang, H.Y.; Zhu, C. Shaking Table Model Test of Isolated Structure on Soft Site and Analysis on Its Isolation Efficiency. Trans. Nanjing Univ. Aeronaut. Astronaut. 2017, 34, 169–176. [Google Scholar]
- Zhuang, H.Y.; Fu, J.S.; Yu, X.; Chen, S.; Cai, X.H. Earthquake Responses of a Base-Isolated Structure on a Multi-Layered Soft Soil Foundation by Using Shaking Table Tests. Eng. Struct. 2019, 179, 79–91. [Google Scholar] [CrossRef]
- Chen, Q.; Hong, N.; Zhang, T.; Zhao, Z. Experiment-Based Performance Evaluation Framework for Isolated Structures in Underground Subway Station–Soil–Aboveground Structure Interaction System under Seismic Excitations. J. Build. Eng. 2022, 56, 104790. [Google Scholar] [CrossRef]
- Yu, X.; Shan, Z.; Zhuang, H.; Chen, G. Comparative Experiment and Analysis of a Base-Isolated Structure with Small Aspect Ratio on Multi-Layered Soft Soil Foundation and Rigid Foundation. Sustainability 2023, 15, 8693. [Google Scholar] [CrossRef]
- Xu, L.; Shi, J.; Wu, Y.; Lin, Y. Interlayer Isolation Structures Considering Soil–Structure Interaction under Long-Period Ground Motions: An Experimental Analysis. Appl. Sci. 2023, 13, 9090. [Google Scholar] [CrossRef]
- Wei, L.S.; Zhou, F.L.; Ren, M.; Liu, W.G.; Tan, P.; Huang, X.Y.; Chen, J.Q. Application of three-dimensional seismic and vibration isolator to building and site test. Earthq. Eng. Eng. Vibrat. 2007, 27, 121–125. [Google Scholar] [CrossRef]
- Yan, X.Y.; Zhang, Y.S.; Wang, H.D.; Wei, L.S. Shaking Table Test for the Structure with Three-Dimensional Base Isolation and Overturn Resistance Devices. Eng. Mech 2010, 27, 91–96. [Google Scholar]
- Liu, D.W. Study of Dynamics Coupling Effect and Performance-Based Design Method of Inter-Story Isolated Structure. Ph.D. Thesis, Guangzhou University, Guangzhou, China, 2017. [Google Scholar]








| Region | Soil Type | Natural Moisture Ratio (%) | Void Ratio e | |||
|---|---|---|---|---|---|---|
| Tianjin | Land-phase silt loam, soft peat layers | 55.2~237 | 0.89~5.24 | 0.253~1.09 | 23.1~48.2 | 0.543~4.261 |
| Marine sedimentary silty soil, silt layer | 46~59 | 1.26~1.62 | 1.2~1.33 | 19~28.4 | 0.94~1.16 | |
| Ningbo | Silty clay | 34~58 | >1 | 1.02~1.94 | 20~30 | 0.76 (the average value) |
| Wenzhou | Slit | >55 | >1.5 | >1.1 | >17 | >1.0 |
| Silty clay | 37~56 | 1.0~1.5 | 1.0~1.7 | 17.7~25.3 | 0.57~1.5 | |
| Silty chalky clay | 35~50 | 1.0~1.4 | 1.09~1.85 | >11.0~17.7 | 0.5~1.5 | |
| Lianyungang | Silt, silty soft soil subgrade | 65.9~92.0 | 1.0~2.56 | 0.225~1.80 | 16~38 | 0.9~4.0 |
| Isolation program | LRB and NRB [28,29] | HDR [31] | R-FBI [32] | ||||
| Earthquake fortification intensity | 7 | 8 | 7 | 8.5 | |||
| Height of building (m) | (The paper [28] not specified) | 13.8~22.2 | 23.8 | 14.1~19.5 | |||
| Type of structure | Upper tower: RC frame-shear wall structure; lower podium: RC frame structure | RC frame structure | RC frame structure | RC frame structure | |||
| Principle of bearing arrangement | Structure perimeter: LRB Middle position of the structure: NRB | Full-plane layout | Full-plane layout | ||||
| Selection of bearings | Large diameter rubber bearings ( > 800 mm) and tensile devices should be installed at locations where the tensile stress exceeds 0.5 MPa | Large diameter rubber bearings ( > 800 mm) | = 600 mm and 700 mm | The friction coefficient range from 0.01 to 0.05 | |||
| Advantage | The vertical stiffness is comparatively low, while the vertical bearing capacity is high | Increased damping values contribute to a reduction in displacements of isolation layer under rare earthquakes | The vertical bearing capacity is greater than that of rubber bearings, and minimal vertical compression deformation, as well as significant horizontal displacement | ||||
| Limitation | Large-diameter rubber bearings are required | If PGA exceeds 300 cm/s2, it is essential to utilize a large diameter bearing (d > 800 mm), and the structural model of the bearing follows the DHI model | In cases of rare earthquake, the friction pendulum bearing may experience a phenomenon known as lifting away | ||||
| Natural period | Equivalent period: 2.5 s; equivalent damping ratio: >15% | 2.412 | 3.22 | 2.213 | |||
| Horizontal damping coefficient | 0.3 | 0.27 | (The paper not specified) | 0.267 | |||
| Horizontal displacement of the isolation | The average value < 0.5 = 400 mm | The maximum value < 0.55 = 440 mm | PGA = 220 cm/s2: The average value < 0.55 = 330 mm PGA = 300 cm/s2: The average value > 0.55 = 330 mm PGA > 300 cm/s2: The average value > 0.55 = 330 mm | The maximum value: <0.85*Horizontal ultimate displacement of the bearing = 425 mm | |||
| Isolation program | LRB, NRB, and VFD [20,33] | LRB, NRB, VFD and BZUD-I [34] | VFD, NRB, and ESB [35,36] | VFD, NRB, and ESB [37] | |||
| Earthquake fortification intensity | 7 | 7 | 8.5 | 9 | 9 | 7 | |
| Height of building (m) | 22.95 | (The paper [33] not specified) | 10.15~22.2 | 8.4 | 11 | 61.9 | |
| Type of structure | RC frame structure | Upper tower: RC frame-shear wall structure. Lower podium: RC frame | RC frame structure | RC frame structure | RC frame-shear wall structure | (The paper [37] not specified) | |
| Principle of bearing arrangement | LRB is arranged around the structure, NRB is arranged in the middle of the structure, and VFD is arranged in the part with the large displacement of bearings after rare earthquake calculation | LRB is arranged around the structure, NRB is arranged in the middle of the structure, and VFD and BZUD-I is arranged in the part with the large displacement of bearings after rare earthquake calculation | Under frame columns: ESB Between columns: NRB. Under perimeter frame beams: VFD | The elastic sliding bearing is positioned at the location where the axial force at the base of the inner column is maximal | |||
| Selection of bearings | Rubber bearings: = 700 mm and 800 mm VFD: The damping index () ranges from 0.2 to 0.5 | Rubber bearings: = 800 mm. VFD: The damping index () range from 0.2 to 0.5 | Rubber bearings: = 700 mm, 800 mm and 900 mm. VFD: The damping index () was 0.3 | Rubber bearings: = 600 mm VFD: The damping index, () range from 0.2 to 0.5 ESB: The friction coefficient, range from 0.01 to 0.03 | ESB: The friction coefficient, range from 0.005 to 0.025 | Rubber bearings: = 500 mm, 800 mm, 1000 mm and 1200 mm | |
| Advantage | The incorporation of VFD contributes to a reduction in the shear force of the structure, the control of horizontal displacement, and the mitigation of tensile stresses in bearings | BZUD-I exhibits a significant deformation capacity, with deformations reaching approximately 500 mm; this characteristic enhances the yield force of the seismic isolation layer | The horizontal sliding stiffness of an elastic sliding bearing is zero when it has a sliding, rendering it insensitive to the spectral characteristics of ground vibrations and sliding displacements; in comparison, the horizontal stiffness is significantly smaller than rubber bearing | ||||
| Limitation | BZUD-I and VFD are more costly | The ESB cannot be utilized independently; it must be used in conjunction with rubber bearings | |||||
| Natural period | (The paper [20] not specified) | Equivalent period: 2.5 s~3.0 s. Equivalent damping ratio: 15% | 2.277~2.453 | (The paper [35] not specified) | (The paper [36] not specified) | 2.339 | |
| Horizontal damping coefficient | 0.31 | 0.35~0.42 | 0.36~0.37 | 0.27 | 0.51 | ||
| Horizontal displacement of the isolation | The maximum value < 0.55 = 385 mm | The average value < 0.5 = 440 mm | The maximum value < 0.55 = 385 mm | The average value < 550 mm | The maximum value < 0.5 = 385 mm | ||
| Research methods | Numerical studies—practical engineering [65,66] | Numerical studies—base isolation structure [69,71] | Numerical studies—base isolation structure [70] | ||
| Research purpose | Investigation of the applicability of base isolation | Seismic isolation of buildings for power stations considering soil–structure interaction effects | Feasibility study of implementing SMRAB in structures | Seismic response analysis of irregular steel-framed structures considering soil–structure interaction effects under three-dimensional Earthquakes | Investigation of the seismic response of double-story isolated structures considering soil–structure interaction effects |
| Site type | Soft soil | Different sites | Different sites | Different sites | Different sites |
| Isolation system | LRB, NRB, and VFD | R-FBI | SMRAB | P-F, R-FBI and LRB | LRB |
| layers | 6 | (The paper [66] not specified) | 5 | 1, 5 and 10 | 12 |
| Type of superstructure | RC frame structure | Steel frame structure | RC frame structure | Steel frame structure | RC frame structure |
| Main conclusions | Base isolation represents an effective solution for mid-to-high-rise reinforced concrete buildings located in regions with soft soil characteristics, such as Shanghai. | FPS is effective in soft soil sites. | After considering the SSI effect, the peak acceleration and the isolation displacements have a maximum reduction amplitude under soft soil sites. | Structural irregularities did not affect the dynamic response of the structure. | The double-layer seismic isolation structure exhibits superior seismic performance on hard soil sites. However, its performance is inferior to that of the laminated isolation structure on soft soil sites. |
| Effectiveness of the study | Following the Chinese code [25] and European regulations [74,75,76]. | Refer to the Mexican Technical Code [77,78,79,80]. | Initially, the peak acceleration and displacement responses of the seismic isolation bearings at the top of a five-story seismically isolated building with a rigid foundation are compared to those reported in the literature [81]. This comparison aims to validate the proposed numerical model of the seismically isolated building, which does not account for SSI effects. Following this, to assess the influence of SSI, soil parameters analogous to those described in the literature [82] were employed. | Following the American code [83]. | The paper could inform the future development of high-performance building structures. |
| Limitations of the study | As an example of an RC frame structure only, the structure is not representative. | The swaying effects that arise when considering the SSI effect for structures on soft soil sites are not addressed. | Considering solely unidirectional seismic effects. | The analysis focused solely on the impact of structural regularity, without taking into account the influence of aspect ratio on the structure. | The double-layer seismic isolation structures exhibit an increased susceptibility to resonance when constructed on soft ground. This aspect warrants greater consideration during the design phase. |
Disclaimer/Publisher’s Note: The statements, opinions and data contained in all publications are solely those of the individual author(s) and contributor(s) and not of MDPI and/or the editor(s). MDPI and/or the editor(s) disclaim responsibility for any injury to people or property resulting from any ideas, methods, instructions or products referred to in the content. |
© 2024 by the authors. Licensee MDPI, Basel, Switzerland. This article is an open access article distributed under the terms and conditions of the Creative Commons Attribution (CC BY) license (https://creativecommons.org/licenses/by/4.0/).
Share and Cite
Yao, X.; Wu, B. Progress in Seismic Isolation Technology Research in Soft Soil Sites: A Review. Buildings 2024, 14, 3198. https://doi.org/10.3390/buildings14103198
Yao X, Wu B. Progress in Seismic Isolation Technology Research in Soft Soil Sites: A Review. Buildings. 2024; 14(10):3198. https://doi.org/10.3390/buildings14103198
Chicago/Turabian StyleYao, Xinqiang, and Bin Wu. 2024. "Progress in Seismic Isolation Technology Research in Soft Soil Sites: A Review" Buildings 14, no. 10: 3198. https://doi.org/10.3390/buildings14103198
APA StyleYao, X., & Wu, B. (2024). Progress in Seismic Isolation Technology Research in Soft Soil Sites: A Review. Buildings, 14(10), 3198. https://doi.org/10.3390/buildings14103198
