Design Recommendations for Columns Made of Ultra-High-Performance Concrete and NiTi SMA Bars
Abstract
1. Introduction
2. Numerical Model Calibration
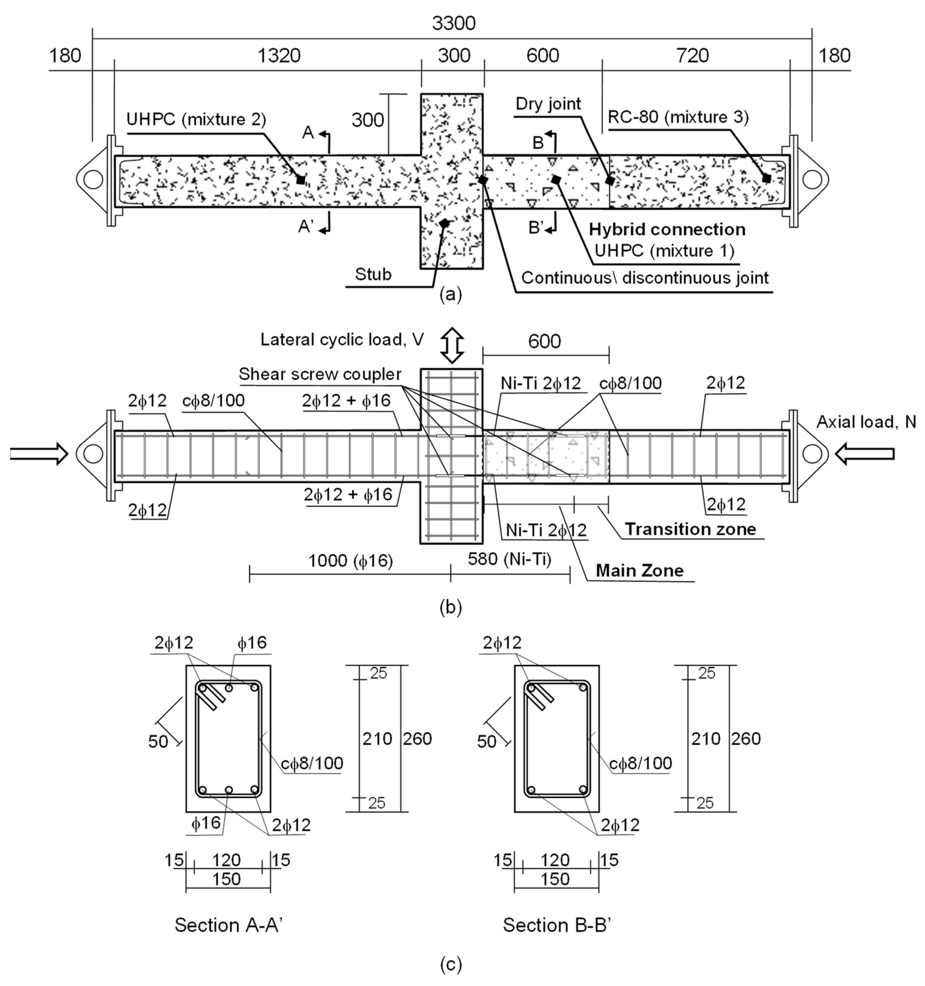
2.1. Summary of Experimental Results
- : average compressive concrete strength (MPa).
- : elasticity modulus of concrete (MPa).
- : limit of proportionality in the flexural tensile strength test (MPa).
- : (for j = 1–3) residual tensile strengths that corresponded to the crack mouth opening displacement (CMOD) of 0.5, 1.5 and 2.5 mm, respectively (MPa).
- : yield stress of steel reinforcements (MPa).
- : strain that corresponded to the yield stress of steel reinforcements.
- : stress at which the hardening branch begins of steel reinforcements (MPa).
- : strain associated with of steel reinforcements.
- : maximum stress of steel reinforcements (MPa).
- : strain associated with the maximum stress of steel reinforcements.
- : elasticity modulus of steel reinforcements (MPa).
- : transformation temperature for the beginning of the austenitic transformation (°C).
- : transformation temperature for the end of the austenitic transformation (°C).
- : transformation temperature for the beginning of the martensitic transformation (°C).
- : transformation temperature for the end of the martensitic transformation (°C).
- : austenite to martensite starting stress (MPa).
- : strain that corresponded to .
- : austenite to martensite finishing stress (MPa).
- : strain associated with .
- : austenitic modulus (MPa).
- : martensitic modulus (MPa).
2.2. Finite Element Model
- -
- Hybrid connection element:
- -
- 430-mm long made with UHPC and NiTi SMA rebars for the specimens 1–4 (Figure 2b).
- -
- 600-mm long made with UHPC and NiTi SMA rebars for specimens 5–6 because longer SMA bars were employed in the experimental tests.
- -
- 430-mm long made with UHPC and steel rebars for specimen 7.
- -
- Transition zone element:
- -
- 170-mm long made with UHPC and steel bars for all specimens (Figure 2b).
- -
- Rest of the column element:
- -
- 900-mm long element made with HPC and steel bars for specimens 1–4 (Figure 2b).
- -
- 730-mm long element made with UHPC and steel bars for specimens 5–6.
- -
- 900-mm long element made with UHPC and steel bars for specimen 7.
2.3. Material Constitutive Models
2.4. Comparison with the Experimental Results
3. Parametric Study
3.1. Parametric Study Description
- -
- Relative axial load (ν): 0.1, 0.2, 0.3, 0.4, 0.5, 0.55, 0.6, 0.65
- -
- Concrete type in the hybrid connection: RC-30, RC-60, RC-90, UHPC
- -
- Concrete type in the rest of the column: RC-30, RC-60, RC-90, UHPC
- -
- Main zone length (L) (in m): 0.30, 0.60, 0.90, 1.20
- -
- Transition length (Ltr) (in m): 0, 0.05, 0.10, 0.15, 0.20
- -
- Joint at the base of the column: continuous, discontinuous
- -
- Phase 1: the behavior of a homogeneous column manufactured with different concrete types and steel bars was analyzed. The joint at the base of the column was continuous.
- -
- Phase 2: the behavior of a hybrid column, whose reinforcements were made of steel along the entire length, was analyzed. The hybrid connection was manufactured with UHPC. The behavior of the column with different concrete types in the rest of the column and different hybrid connection lengths was analyzed. The joint at the base of the column was continuous.
- -
- Phase 3: the effect of replacing steel bars with NiTi bars at the hybrid connection was analyzed for previous cases. The studied variables were concrete type in the rest of the column and hybrid connection length. The joint at the base of the column was continuous.
- -
- Phase 4: the effect of including a transition zone (UHPC + steel bars) in the hybrid connection was analyzed. The studied variables were concrete type in the rest of the column and transition zone length. The joint at the base of the column was continuous.
- -
- Phase 5: For the cases analyzed in Phase 3, the effect of a discontinuous joint type on the base of the column was analyzed. The studied variables were concrete type in the rest of the column and hybrid connection length.
3.2. Parametric Study Results and Discussion
3.2.1. Phase 1
3.2.2. Phase 2
3.2.3. Phase 3
3.2.4. Phase 4
3.2.5. Phase 5
3.2.6. Global Analysis
4. Conclusions
5. Possible Directions for Future Studies
Author Contributions
Funding
Institutional Review Board Statement
Informed Consent Statement
Data Availability Statement
Acknowledgments
Conflicts of Interest
References
- European Commitee for Standardization. Eurocode 8: Design of Structures for Earthquake Resistance—Part 1: General Rules. In Seismic Actions and Rules for Buildings; European Committee: Brussels, Belgium, 2004; Volume 1, p. 231. [Google Scholar]
- FEMA P-750 2009; FEMA NEHRP Recommended Seismic Provisions for New Buildings and Other Structures. Builidng Seismic Safety Council: Washington, DC, USA, 2009.
- ACI Committee 441. 441R-96: High Strength Concrete Columns; ACI Committee: Farmington Hills, MI, USA, 2002; ISBN 9780870314148. [Google Scholar]
- de Transportes, M.; Urbana, M.A.; Técnica, S.G. Código Estructural. Real Decreto y Articulado; Ministerio de Transportes, Movilidad y Agenda Urbana: Madrid, España, 2021; ISBN 9788449810602.
- Ministerio de Fomento. Norma de Construcción Sismorresistente: Parte General y Edificación (NCSE-02); Ministerio de Fomento: Madrid, España, 2013; Volume 53, ISBN 9788578110796.
- Hsu, L.S.; Hsu, C.T.T. Stress-Strain Behavior of Steel-Fiber High-Strength Concrete under Compression. ACI Struct. J. 1994, 91, 448–457. [Google Scholar] [CrossRef]
- Foster, S.J. On Behavior of High-Strength Concrete Columns: Cover Spalling, Steel Fibers, and Ductility. ACI Struct. J. 2001, 98, 583–589. [Google Scholar] [CrossRef]
- Aoude, H.; Cook, W.D.; Mitchell, D. Behavior of Columns Constructed with Fibers and Self-Consolidating Concrete. ACI Struct. J. 2009, 106, 349–357. [Google Scholar] [CrossRef]
- Campione, G.; Fossetti, M.; Papia, M. Behavior of Fiber-Reinforced Concrete Columns under Axially and Eccentrically Compressive Loads. ACI Struct. J. 2010, 107, 272–281. [Google Scholar] [CrossRef]
- Paultre, P.; Eid, R.; Langlois, Y.; Ĺvesque, Y. Behavior of Steel Fiber-Reinforced High-Strength Concrete Columns under Uniaxial Compression. J. Struct. Eng. 2010, 136, 1225–1235. [Google Scholar] [CrossRef]
- Caballero-Morrison, K.E.; Bonet, J.L.; Navarro-Gregori, J.; Martí-Vargas, J.R. Behaviour of Steel-Fibre-Reinforced Normal-Strength Concrete Slender Columns under Cyclic Loading. Eng. Struct. 2012, 39, 162–175. [Google Scholar] [CrossRef]
- Du, J.; Meng, W.; Khayat, K.H.; Bao, Y.; Guo, P.; Lyu, Z.; Abu-obeidah, A.; Nassif, H.; Wang, H. New Development of Ultra-High-Performance Concrete (UHPC). Compos. Part B Eng. 2021, 224, 109220. [Google Scholar] [CrossRef]
- Yu, R.; Spiesz, P.; Brouwers, H.J.H. Mix Design and Properties Assessment of Ultra-High Performance Fibre Reinforced Concrete (UHPFRC). Cem. Concr. Res. 2014, 56, 29–39. [Google Scholar] [CrossRef]
- Xue, J.; Briseghella, B.; Huang, F.; Nuti, C.; Tabatabai, H.; Chen, B. Review of Ultra-High Performance Concrete and Its Application in Bridge Engineering. Constr. Build. Mater. 2020, 260, 119844. [Google Scholar] [CrossRef]
- Yoo, D.Y.; Banthia, N. Mechanical Properties of Ultra-High-Performance Fiber-Reinforced Concrete: A Review. Cem. Concr. Compos. 2016, 73, 267–280. [Google Scholar] [CrossRef]
- Shi, C.; Wu, Z.; Xiao, J.; Wang, D.; Huang, Z.; Fang, Z. A Review on Ultra High Performance Concrete: Part I. Raw Materials and Mixture Design. Constr. Build. Mater. 2015, 101, 741–751. [Google Scholar] [CrossRef]
- Zhang, S.S.; Wang, J.J.; Lin, G.; Yu, T.; Fernando, D. Stress-Strain Models for Ultra-High Performance Concrete (UHPC) and Ultra-High Performance Fiber-Reinforced Concrete (UHPFRC) under Triaxial Compression. Constr. Build. Mater. 2023, 370, 130658. [Google Scholar] [CrossRef]
- Dotto, J.; Abreu, A.; Molin, D.D.; Müller, I. Influence of Silica Fume Addition on Concretes Physical Properties and on Corrosion Behaviour of Reinforcement Bars. Cem. Concr. Compos. 2004, 26, 31–39. [Google Scholar] [CrossRef]
- Anderson, D.; Roy, A.; Seals, R.K.; Cartledge, F.K.; Akhter, H.; Jones, S.C. A Preliminary Assessment of the Use of an Amorphous Silica Residual as a Supplementary Cementing Material. Cem. Concr. Res. 2000, 30, 437–445. [Google Scholar] [CrossRef]
- Amini Pishro, A.; Feng, X.; Ping, Y.; Dengshi, H.; Shirazinejad, R.S. Comprehensive Equation of Local Bond Stress between UHPC and Reinforcing Steel Bars. Constr. Build. Mater. 2020, 262, 119942. [Google Scholar] [CrossRef]
- ASTM. ASTM C1856/C1856M-17: Standard Practice for Fabricating and Testing Specimens of Ultra-High Performance Concrete; ASTM: West Conshohocken, PA, USA, 2017. [Google Scholar]
- Perry, V.H. What Really Is Ultra-High Performance Concrete–Towards a Global Definition. In Proceedings of the 2nd International Conference on Ultra-High Performance Concrete Material & Structures UHPFRC 2018, Fuzhou, China, 7–10 November 2018. [Google Scholar]
- Hung, C.C.; Yen, C.H. Compressive Behavior and Strength Model of Reinforced UHPC Short Columns. J. Build. Eng. 2021, 35, 102103. [Google Scholar] [CrossRef]
- Amini Pishro, A.; Zhang, Z.; Amini Pishro, M.; Xiong, F.; Zhang, L.; Yang, Q.; Jahara Matlan, S. UHPC-PINN-Parallel Micro Element System for the Local Bond Stress–Slip Model Subjected to Monotonic Loading. Structures 2022, 46, 570–597. [Google Scholar] [CrossRef]
- Walraven, J.C. High Performance Fiber Reinforced Concrete: Progress in Knowledge and Design Codes. Mater. Struct. Constr. 2009, 42, 1247–1260. [Google Scholar] [CrossRef]
- Guerrini, G.L. Applications of High-Performance Fiber-Reinforced Cement-Based Composites. Appl. Compos. Mater. 2000, 7, 195–207. [Google Scholar] [CrossRef]
- Walraven, J. High Performance Concrete: A Material with a Large Potential. J. Adv. Concr. Technol. 2009, 7, 145–156. [Google Scholar] [CrossRef]
- Castro, C. Análisis Experimental de Soportes de Hormigón de Altas Prestaciones Sometidos a Compresión y Carga Lateral Cíclica; Universitat Politècnica de València: Valencia, España, 2016. [Google Scholar]
- Pansuk, W.; Nguyen, T.N.; Sato, Y.; Den Uijl, J.A.; Walraven, J.C. Shear Capacity of High Performance Fiber Reinforced Concrete I-Beams. Constr. Build. Mater. 2017, 157, 182–193. [Google Scholar] [CrossRef]
- Naeimi, N.; Moustafa, M.A. Numerical Modeling and Design Sensitivity of Structural and Seismic Behavior of UHPC Bridge Piers. Eng. Struct. 2020, 219, 110792. [Google Scholar] [CrossRef]
- Kang, S.T.; Lee, Y.; Park, Y.D.; Kim, J.K. Tensile Fracture Properties of an Ultra High Performance Fiber Reinforced Concrete (UHPFRC) with Steel Fiber. Available online: https://reader.elsevier.com/reader/sd/pii/S0263822309002323?token=F0390277140B809EA8EF509B77973953E1387A1921AA239E35C6A74D2A55DA72C2234524F4F2A7C539FEEC31C6B2D7B8 (accessed on 17 October 2020).
- Zhu, Y.; Zhang, Y.; Hussein, H.H.; Chen, G. Flexural Strengthening of Reinforced Concrete Beams or Slabs Using Ultra-High Performance Concrete (UHPC): A State of the Art Review. Eng. Struct. 2020, 205, 110035. [Google Scholar] [CrossRef]
- Zhang, Y.; Cai, S.; Zhu, Y.; Fan, L.; Shao, X. Flexural Responses of Steel-UHPC Composite Beams under Hogging Moment. Eng. Struct. 2020, 206, 110134. [Google Scholar] [CrossRef]
- Zeng, X.; Deng, K.; Liang, H.; Xu, R.; Zhao, C.; Cui, B. Uniaxial Behavior and Constitutive Model of Reinforcement Confined Coarse Aggregate UHPC. Eng. Struct. 2020, 207, 110261. [Google Scholar] [CrossRef]
- Wang, Z.; Wang, J.; Zhao, G.; Zhang, J. Design Criterion for the Self-Centering Capacity of Precast Segmental UHPC Bridge Columns with Unbonded Post-Tensioning Tendons. Eng. Struct. 2019, 200, 109706. [Google Scholar] [CrossRef]
- Pereiro-Barceló, J.; Bonet, J.L.; Albiol-Ibáñez, J.R. Buckling of Steel and Ni-Ti Reinforcements in Very High Performance Concrete (VHPC) Elements. Constr. Build. Mater. 2018, 160, 551–563. [Google Scholar] [CrossRef]
- Xu, S.; Liu, Z.; Li, J.; Yang, Y.; Wu, C. Dynamic Behaviors of Reinforced NSC and UHPC Columns Protected by Aluminum Foam Layer against Low-Velocity Impact. J. Build. Eng. 2021, 34, 101910. [Google Scholar] [CrossRef]
- Saiidi, M.S.; Tazarv, M.; Nakashoji, B.; Varela, S.; Kavianipour, F. Resilient and Sustainable Bridges of the Future. Int. J. Bridg. Eng. 2015, 3, 37–48. [Google Scholar]
- Bonet, J.L.; Pereiro-Barceló, J.; Navarro-Gómez, A. Patent: Elemento de Conexión de Protección Contra Sismos. P201631022, 22 November 2017. [Google Scholar]
- Alam, M.S.; Moni, M.; Tesfamariam, S. Seismic Overstrength and Ductility of Concrete Buildings Reinforced with Superelastic Shape Memory Alloy Rebar. Eng. Struct. 2012, 34, 8–20. [Google Scholar] [CrossRef]
- Billah, A.H.M.; Alam, M. Plastic Hinge Length of Shape Memory Alloy (SMA) Reinforced Concrete Bridge Pier. Eng. Struct. 2016, 117, 321–331. [Google Scholar] [CrossRef]
- Billah, A.H.M.; Alam, M.S. Probabilistic Seismic Risk Assessment of Concrete Bridge Piers Reinforced with Different Types of Shape Memory Alloys. Eng. Struct. 2018, 162, 97–108. [Google Scholar] [CrossRef]
- Billah, A.H.M.; Alam, M.S. Seismic Performance of Concrete Columns Reinforced with Hybrid Shape Memory Alloy (SMA) and Fiber Reinforced Polymer (FRP) Bars. Constr. Build. Mater. 2012, 28, 730–742. [Google Scholar] [CrossRef]
- Jiang, S.; Zhang, Y. Microstructure Evolution and Deformation Behavior of As-Cast NiTi Shape Memory Alloy under Compression. Trans. Nonferrous Met. Soc. China 2012, 22, 90–96. [Google Scholar] [CrossRef]
- Qiu, C.X.; Zhu, S. Characterization of Cyclic Properties of Superelastic Monocrystalline Cu-Al-Be SMA Wires for Seismic Applications. Constr. Build. Mater. 2014, 72, 219–230. [Google Scholar] [CrossRef]
- Shrestha, K.C.; Saiidi, M.S.; Cruz, C.A. Advanced Materials for Control of Post-Earthquake Damage in Bridges. Smart Mater. Struct. 2015, 24, 25035. [Google Scholar] [CrossRef]
- Mas, B.; Cladera, A.; Ribas, C. Experimental Study on Concrete Beams Reinforced with Pseudoelastic Ni-Ti Continuous Rectangular Spiral Reinforcement Failing in Shear. Eng. Struct. 2016, 127, 759–768. [Google Scholar] [CrossRef]
- Pereiro-Barceló, J.; Bonet, J.L.; Gómez-Portillo, S.; Castro-Bugallo, C. Ductility of High-Performance Concrete and Very-High-Performance Concrete Elements with Ni-Ti Reinforcements. Constr. Build. Mater. 2018, 175, 531–551. [Google Scholar] [CrossRef]
- Pereiro-Barceló, J.; Bonet, J.L.; Cabañero-Escudero, B.; Martínez-Jaén, B. Cyclic Behavior of Hybrid RC Columns Using High-Performance Fiber-Reinforced Concrete and Ni-Ti SMA Bars in Critical Regions. Compos. Struct. 2019, 212, 207–219. [Google Scholar] [CrossRef]
- de Almeida, J.P.; Steinmetz, M.; Rigot, F.; de Cock, S. Shape-Memory NiTi Alloy Rebars in Flexural-Controlled Large-Scale Reinforced Concrete Walls: Experimental Investigation on Self-Centring and Damage Limitation. Eng. Struct. 2020, 220, 110865. [Google Scholar] [CrossRef]
- Speicher, M.S.; DesRoches, R.; Leon, R.T. Experimental Results of a NiTi Shape Memory Alloy (SMA)-Based Recentering Beam-Column Connection. Eng. Struct. 2011, 33, 2448–2457. [Google Scholar] [CrossRef]
- Fang, C.; Zheng, Y.; Chen, J.; Yam, M.C.H.; Wang, W. Superelastic NiTi SMA Cables: Thermal-Mechanical Behavior, Hysteretic Modelling and Seismic Application. Eng. Struct. 2019, 183, 533–549. [Google Scholar] [CrossRef]
- Navarro-Gómez, A.; Bonet, J.L. Improving the Seismic Behaviour of Reinforced Concrete Moment Resisting Frames by Means of SMA Bars and Ultra-High Performance Concrete. Eng. Struct. 2019, 197, 109409. [Google Scholar] [CrossRef]
- Comité Européen de Normalisation Eurocode 2. Design of Concrete Structures—Part 1: Common Rules for Building and Civil Engineering Structures; European Committee: Brussels, Belgium, 2004.
- CEN. Eurocode 8—Design of Structures for Earthquake Resistance—Part 1: General Rules, Seismic Actions and Rules for Buildings; Revisión, U., Ed.; CEN: Brussels, Belgium, 2005; ISBN 0580458725. [Google Scholar]
- SeismoStruct—Seismosoft. 2016. Available online: https://seismosoft.com/product/seismostruct/?gclid=EAIaIQobChMIv9mOnaeZ_gIVGnZgCh3WsANZEAAYASAAEgJnvfD_BwE (accessed on 2 April 2023).
- ACI Committee 318. A.C.I.C. 318-14: Building Code Requirements for Structural Concrete and Commentary; ACI Committee: Farmington Hills, MI, USA, 2014; ISBN 978-0-87031-930-3. [Google Scholar]
- Ministerio de Transportes Movilidad y Agenda Urbana. Código Estructural. 2021. Available online: https://www.mitma.gob.es/organos-colegiados/comision-permanente-de-estructuras-de-acero/cpa/codigo-estructural (accessed on 2 April 2023).
- Fugazza, D. Shape-Memory Alloy Devices in Earthquake Engineering: Mechanical Properties, Constitutive Modelling and Numerical Simulations. Master’s Thesis, University of Pavia, Pavia, Italy, 2003. [Google Scholar]
- Auricchio, F.; Sacco, E. A Superelastic Shape-Memory-Alloy Beam Model. J. Intell. Mater. Syst. Struct. 1997, 8, 489–501. [Google Scholar] [CrossRef]
- Seismosoft Ltd. SeismoStruct SeismoStruct User Manual; Seismosoft Ltd.: Pavia, Italy, 2018; p. 325. [Google Scholar]
- AFNOR. NF P18-710 Avril 2016: Complément National à l’Eurocode 2—Calcul Des Structures En Béton: Règles Spécifiques Pour Les Bétons Fibrés à Ultra-Hautes Performances (BFUP); AFNOR: Paris, France, 2016. [Google Scholar]
- AFNOR. Nf P 18-710; Ultra-high performance fiber-reinforced concrete-Specific performance. AFNOR: Paris, France, 2016; p. 33.
- AENOR. UNE-EN 14651:2007+A1:2008: Test Method for Metallic Fibre Concrete—Measuring the Flexural Tensile Strength (Limit of Proportionality (LOP), Residual); AENOR: Madrid, Spain, 2017. [Google Scholar]
- Chang, G.A.; Mander, J.B. Seismic Energy Based Fatigue Damage Analysis of Bridge Columns: Part I—Evaluation of Seismic Capacity. NCEER Technical Report No. NCEER-94-0006; State University of New York: Buffalo, NY, USA, 1994. [Google Scholar]
- Esmaeeli, E.; Barros, J.A.O.; Sena-Cruz, J.; Varum, H.; Melo, J. Assessment of the Efficiency of Prefabricated Hybrid Composite Plates (HCPs) for Retrofitting of Damaged Interior RC Beam-Column Joints. Compos. Struct. 2015, 119, 24–37. [Google Scholar] [CrossRef]















| Id | Specimen | N (kN) | ν | Joint | Column Concrete | Longitudinal Reinforcements at Critical Section |
|---|---|---|---|---|---|---|
| 1 | HCV01C [49] | 450.96 | 0.10 | Continuous | UHPC + HSC | SMA |
| 2 | HCV02C [49] | 943.00 | 0.20 | Continuous | UHPC + HSC | SMA |
| 3 | HCV01D [49] | 509.00 | 0.10 | Discontinuous | UHPC + HSC | SMA |
| 4 | HCV02D [49] | 993.95 | 0.20 | Discontinuous | UHPC + HSC | SMA |
| 5 | VHPC-V01S100 [48] | 497.68 | 0.10 | Continuous | UHPC | SMA |
| 6 | VHPC-V02S100 [48] | 945.76 | 0.20 | Continuous | UHPC | SMA |
| 7 | AS11–3 [28] | 946.85 | 0.20 | Continuous | UHPC | B500S |
| Description | UHPC | HSC |
|---|---|---|
| Cement | 1000 | 525 |
| Water | 177 | 196 |
| Gravel (Dmax 6 mm) | - | 450 |
| Sand (Dmax 4 mm) | - | 1045 |
| Sand (Dmax 0.8 mm) AF_T_0/8_S | 575 | - |
| Sand (Dmax 0.4 mm) AF_T_0/4_S | 310 | - |
| Lime-stone filler | - | 200 |
| Silica fume | 150 | - |
| Steel fibers DRAMIX 80/30 BP | 60 | - |
| Steel fibers DRAMIX 13/0.5 | 90 | - |
| Super-plasticizer | 29 | 8.13 |
| Average compressive strength (MPa) | 123.6 | 83.9 |
| Average elasticity modulus (MPa) | 44,535 | 34,325 |
| Specimen | UHPC | HSC | ||||||
|---|---|---|---|---|---|---|---|---|
| fcm (MPa) | Ec (MPa) | fLOP (MPa) | fR,1 (MPa) | fR,2 (MPa) | fR,3 (MPa) | fcm (MPa) | Ec (MPa) | |
| HCV01C [49] | 115.63 | 43,074 | 11.77 | 23.4 | 23.53 | 21.78 | 84.3 | 33,126 |
| HCV02C [49] | 120.94 | 43,259 | 10.58 | 18.53 | 20.97 | 18.83 | 85.82 | 34,014 |
| HCV01D [49] | 130.49 | 46,481 | 14.58 | 25.97 | 25.54 | 21.85 | 82.7 | 35,445 |
| HCV02D [49] | 127.43 | 45,329 | 17.65 | 29.41 | 26.97 | 24.42 | 82.62 | 34,714 |
| VHPC-V01S100 [48] | 123.46 | 44,415 | 11.30 | 19.006 | 17.54 | 12.85 | - | - |
| VHPC-V02S100 [48] | 118.78 | 47,905 | 11.84 | 19.83 | 18.06 | 14.01 | - | - |
| AS11–3 [28] | 119.35 | 45,636 | 10.21 | 18.33 | 15.06 | 5.5 | - | - |
| Mechanical Parameter | Longitudinal | Transverse | |
|---|---|---|---|
| Ø12 | Ø16 | Ø8 | |
| fy (MPa) | 547 | 543 | 574 |
| εy | 0.0026 | 0.0024 | 0.0028 |
| fsh (MPa) | 550 | 558 | 574 |
| εsh | 0.037 | 0.0314 | 0.0215 |
| fu (MPa) | 634 | 637 | 646 |
| εu | 0.2611 | 0.2555 | 0.0456 |
| Es (MPa) | 212,136 | 228,712 | 203,773 |
| Mechanical Parameter | Tension | Compression |
|---|---|---|
| fA (MPa) | 450.2 | 450.2 |
| εA | 0.00696 | 0.00696 |
| fM (MPa) | 609.8 | 710.1 |
| εM | 0.0656 | 0.0450 |
| EA (MPa) | 64,647 | 64,647 |
| EM (MPa) | 2104 | 28,125 |
| Joint | Concrete at Hybrid Connection | Secondary Concrete in the Rest of the Column | Main Zone Rebar Material | Transition Zone Rebar Material | Secondary Concrete Zone Rebar Material | Hybrid Connection | Secondary Concrete Length | Design Validity | ||
|---|---|---|---|---|---|---|---|---|---|---|
| Main Zone Length | Transition Zone Length | |||||||||
| Phase 1 | Continuous | RC-30 | - | B500SD | - | B500SD | - | - | - | - |
| RC-60 | - | - | - | - | - | |||||
| RC-90 | - | - | - | - | - | |||||
| UHPC | - | - | - | - | - | |||||
| Phase 2 | Continuous | UHPC | RC-30 | B500SD | - | B500SD | 0.30 | - | 1.20 | Not valid |
| 0.60 | - | 0.90 | Not valid | |||||||
| 0.90 | - | 0.60 | Valid for ν ≤ 0.1 | |||||||
| 1.20 | - | 0.30 | Valid for ν ≤ 0.3 | |||||||
| UHPC | RC-60 | B500SD | - | B500SD | 0.30 | - | 1.20 | Not valid | ||
| 0.60 | - | 0.90 | Valid for ν ≤ 0.2 | |||||||
| 0.90 | - | 0.60 | Valid for ν ≤ 0.4 | |||||||
| 1.20 | - | 0.30 | Valid | |||||||
| UHPC | RC-90 | B500SD | - | B500SD | 0.30 | - | 1.20 | Valid | ||
| 0.60 | - | 0.90 | Valid | |||||||
| 0.90 | - | 0.60 | Valid | |||||||
| 1.20 | - | 0.30 | Valid | |||||||
| Phase 3 | Continuous | UHPC | RC-30 | NiTi | - | B500SD | 0.30 | - | 1.20 | Not valid |
| 0.60 | - | 0.90 | Valid for ν ≤ 0.1 | |||||||
| 0.90 | - | 0.60 | Valid for ν ≤ 0.2 | |||||||
| 1.20 | - | 0.30 | Valid for ν ≤ 0.3 | |||||||
| UHPC | RC-60 | NiTi | - | B500SD | 0.30 | - | 1.20 | Not valid | ||
| 0.60 | - | 0.90 | Valid for ν ≤ 0.3 | |||||||
| 0.90 | - | 0.60 | Valid for ν ≤ 0.4 | |||||||
| 1.20 | - | 0.30 | Valid for ν ≤ 0.5 | |||||||
| UHPC | RC-90 | NiTi | - | B500SD | 0.30 | - | 1.20 | Valid | ||
| 0.60 | - | 0.90 | Valid | |||||||
| 0.90 | - | 0.60 | Valid | |||||||
| 1.20 | - | 0.30 | Valid | |||||||
| Phase 4 | Continuous | UHPC | RC-30 | NiTi | B500SD | B500SD | 0.60 | 0.05 | 0.85 | Valid for ν ≤ 0.1 |
| 0.10 | 0.80 | Valid for ν ≤ 0.1 | ||||||||
| 0.15 | 0.75 | Valid for ν ≤ 0.1 | ||||||||
| 0.20 | 0.70 | Valid for ν ≤ 0.1 | ||||||||
| UHPC | RC-60 | NiTi | B500SD | B500SD | 0.05 | 0.85 | Valid for ν ≤ 0.3 | |||
| 0.10 | 0.80 | Valid for ν ≤ 0.3 | ||||||||
| 0.15 | 0.75 | Valid for ν ≤ 0.4 | ||||||||
| 0.20 | 0.70 | Valid for ν ≤ 0.4 | ||||||||
| UHPC | RC-90 | NiTi | B500SD | B500SD | 0.05 | 0.85 | Valid | |||
| 0.10 | 0.80 | Valid | ||||||||
| 0.15 | 0.75 | Valid | ||||||||
| 0.20 | 0.70 | Valid | ||||||||
| Phase 5 | Discontinuous | UHPC | RC-30 | NiTi | - | B500SD | 0.30 | - | 1.20 | Not valid |
| 0.60 | - | 0.90 | Valid for ν ≤ 0.1 | |||||||
| 0.90 | - | 0.60 | Valid for ν ≤ 0.2 | |||||||
| 1.20 | - | 0.30 | Valid for ν ≤ 0.3 | |||||||
| UHPC | RC-60 | NiTi | - | B500SD | 0.30 | - | 1.20 | Not valid | ||
| 0.60 | - | 0.90 | Valid for ν ≤ 0.3 | |||||||
| 0.90 | - | 0.60 | Valid for ν ≤ 0.4 | |||||||
| 1.20 | - | 0.30 | Valid for ν ≤ 0.5 | |||||||
| UHPC | RC-90 | NiTi | - | B500SD | 0.30 | - | 1.20 | Valid | ||
| 0.60 | - | 0.90 | Valid | |||||||
| 0.90 | - | 0.60 | Valid | |||||||
| 1.20 | - | 0.30 | Valid | |||||||
Disclaimer/Publisher’s Note: The statements, opinions and data contained in all publications are solely those of the individual author(s) and contributor(s) and not of MDPI and/or the editor(s). MDPI and/or the editor(s) disclaim responsibility for any injury to people or property resulting from any ideas, methods, instructions or products referred to in the content. |
© 2023 by the authors. Licensee MDPI, Basel, Switzerland. This article is an open access article distributed under the terms and conditions of the Creative Commons Attribution (CC BY) license (https://creativecommons.org/licenses/by/4.0/).
Share and Cite
Pereiro-Barceló, J.; Bonet, J.L.; Martínez-Jaén, B.; Cabañero-Escudero, B. Design Recommendations for Columns Made of Ultra-High-Performance Concrete and NiTi SMA Bars. Buildings 2023, 13, 991. https://doi.org/10.3390/buildings13040991
Pereiro-Barceló J, Bonet JL, Martínez-Jaén B, Cabañero-Escudero B. Design Recommendations for Columns Made of Ultra-High-Performance Concrete and NiTi SMA Bars. Buildings. 2023; 13(4):991. https://doi.org/10.3390/buildings13040991
Chicago/Turabian StylePereiro-Barceló, Javier, José L. Bonet, Begoña Martínez-Jaén, and Beatriz Cabañero-Escudero. 2023. "Design Recommendations for Columns Made of Ultra-High-Performance Concrete and NiTi SMA Bars" Buildings 13, no. 4: 991. https://doi.org/10.3390/buildings13040991
APA StylePereiro-Barceló, J., Bonet, J. L., Martínez-Jaén, B., & Cabañero-Escudero, B. (2023). Design Recommendations for Columns Made of Ultra-High-Performance Concrete and NiTi SMA Bars. Buildings, 13(4), 991. https://doi.org/10.3390/buildings13040991

