Next Article in Journal
Push-Out Test and Hysteretic Performance Study of Semi-Rigid Shear Keys with the Triple-Folded Web of Flange
Previous Article in Journal
Full-Scale Interface Friction Testing of Geotextile-Based Flood Defence Structures
 
 
Font Type:
Arial Georgia Verdana
Font Size:
Aa Aa Aa
Line Spacing:
Column Width:
Background:
Article

Analysis of the Installation Effect on the Axial Performance of Pressure-Grouted Helical Piles in Clay by Small-Scale Model Tests

1
School of Civil and Ocean Engineering, Jiangsu Ocean University, Lianyungang 222005, China
2
Jiangsu Ocean Engineering Research Center for Intelligent Infrastructure Construction, Lianyungang 222005, China
*
Author to whom correspondence should be addressed.
Buildings 2022, 12(7), 992; https://doi.org/10.3390/buildings12070992
Submission received: 30 May 2022 / Revised: 28 June 2022 / Accepted: 8 July 2022 / Published: 12 July 2022
(This article belongs to the Section Building Structures)

Abstract

:
A pressure-grouted helical pile (PGHP) is a stiffened helical pile installed by using the simultaneous drilling and grouting technique. The formation of the soil-cement column surrounded by the helical pile is influenced by the multiple installation parameters, including helix number, helix size, and drilling speed. A series of small-scale model tests was carried out in clay to investigate the influence of installation parameters on axial behavior of PGHP and the load transfer mechanism. The model piles were pulled out after the loading tests, and the dimensions of the soil-cement columns were measured. The ultimate compressive bearing capacities of the PGHPs were 260% to 293% higher than the un-grouted helical piles. The ultimate bearing capacities of the PGHPs were proportional to the increase of the helix number and helix size and decreased with the drilling speed. The average bond diameter of the soil-cement column was 1.26 to 1.35 times the helix size. The adhesion between the soil-cement column and the surrounding clay was in the range of 0.8 to 1.2. The overall results examine the feasibility of the simultaneous drilling and grouting technique in clay and the improvement of the axial bearing performance compared to un-grouted helical piles.

1. Introduction

The helical piles were widely used in power networks, photovoltaic power station, highways, ports, and other engineering practices due to the advantages of convenient installation, low pollution, and economic efficiency. The axial bearing performance of the helical pile was mainly obtained from the end bearing capacity of the helix plate and the skin resistance between the pile–soil, which could be predicted based on the configuration of the helix plates and the installation torque. The evaluation methods included the individual bearing method, the cylindrical shear method, and the empirical coefficient of torque method [1,2,3,4].
However, the helical piles also had some disadvantages. The application of helical piles in soft clay with low strength had an inadequate bearing capacity due to the installation disturbance to the surrounding clay [5,6]. Increasing the length of the pile would result in a larger length-to-slenderness ratio and reduce the stability of the pile shaft [7]. Adding the number and diameter of the helical plates would cause more disturbance to the undrained shear strength, especially in soft clay [8]. The use of large diameter helical piles required more extensive installation torque [9].
Applying the grouting technology to helical piles was an innovative method to solve the problem of inadequate pile axial bearing capacity and structural buckling [10]. The grouted helical pile was the helical pile embedded in the soil-cement column formed by soil mixing or jet grouting, which reinforced the pile shaft and expanded the diameter of the pile [11]. The grouting techniques included the pre-grouting, the post-grouting, and the simultaneous grouting. The pre-grouting technique created the soil-cement column first and then installed the helical pile at the core of the soil-cement column, which effectively reinforced the helical piles [12]. The post-grouting technique included gravity grouting, which poured the cement slurry to the precast cavity around the helical piles [13], and pressure grouting, which injected the cement slurry into the surrounding soil along the shaft after the installation of the helical piles [14,15]. The simultaneous drilling and grouting technique allowed for the installation of helical piles and pressure grouting at the same time, which provided higher efficiency of installation [16].
The pressure-grouted helical pile (PGHP) was the helical pile installed by using the simultaneous drilling and grouting technique [17]. The axial bearing capacity of grouted helical piles was mainly affected by soil properties, grouting parameters, and pile configurations. Based on the model tests conducted in the sand, Laefer et al. [18] found that the location of the grouting hole influenced the volume of injected cement slurry, and the grouting hole set below the helix plate could save about 20% of the cement slurry. Sakr et al. [19] investigated the relationship between the position of grouting and load bearing performance in sand by forming the grouted bulb in the middle the helical pile through the pressure grouting technique. Khazaei and Eslami [15] tested small-scale helical piles before and after grouting by applying the frustum confined vessel (FCV). The results show that the post-grouted helical pile provided higher bearing capacity than the helical piles with the same configuration, which benefited from the improvement of the friction angle of the sand and the increase of the size of the shaft. Mansour and El Naggar [20] used the simultaneous drilling and grouting technique, creating multiple small-scale PGHPs to investigate the influence of the grouting direction and position of grouting nozzles on the formation of the soil-cement column in sand. Due to the fact that the permeability of clay is significantly lower than that of sand, the feasibility of the application of the simultaneous drilling and grouting technique to the PGHPs in clay was still unknown. More research needs to be conducted to examine the simultaneous drilling and grouting technique in clay beds and provide improvement recommendations.
The objective of this study was to investigate the effect of the installation parameters on the formation of the soil-cement and the axial performance of the pressure-grouted helical piles (PGHPs) in soft clay. To facilitate the comparative analysis of the tests, a physically stable clay was chosen for the soil bed with a composition similar to the kaolin clay used at the University of Texas at Austin [21,22], which has a high consolidation coefficient, low compressibility, and workability [23,24,25]. Three sets of small-scale model tests were conducted, including eleven pressure-grouted helical piles and three helical piles. After the compression and uplift tests, all the model piles were pulled out from the soil bed to measure and analyze the dimensions of the soil-cement column. The load–displacement curves were recorded by the measurement devices, and load transfer mechanisms were analyzed through the strain gauges.

2. Experimental Program

2.1. Model Piles Preparation and Test Plans

The pressure-grouted helical pile (PGHP) is a stiffened helical pile (HP) with a soil-cement column created by using the simultaneous drilling and grouting technique. Figure 1 presents the conceptual drawings of HP and PGHP. The main body of the PGHP was the soil-cement column, which had the shape of an inverted frustum of a cone. The bond diameters of the soil-cement column consist of D T ,  D M , and D B , located 0 mm, 300 mm, and 600 mm below the mud surface. The length of the soil-cement column ( L S C ) was 600 mm. the angles of the soil-cement column along the depth direction were θ T M and θ M B . The HP worked as the central steel shaft of the PGHP, which was made of Q235 steel in this research. The diameter of the central shaft ( D S ) was 22 mm, and the total length ( L S ) was 600 mm. The pitch of the helix plate B H was 10 mm, and the spacing between adjacent helix plates ( S H ) was 160 mm. The grouting holes were 4 mm in diameter and symmetrically opened above the lowest helix plate. The sizes and positions of the helix plates varied according to the requirements needed by different model tests.
To investigate the influence of different installation conditions on the axial bearing performance of the PGHP, the model tests were divided by three factors, including the helix number, the helix size, and the drilling speed. Table 1 describes the three test sets of the test plan, which had a total of 14 model piles. Each test set had a standard model pile with helix number n = 4, helix size DH = 66 mm, and drilling speed v = 250 mm/min. The standard model pile worked as the control group for each test set. In the helix number test sets, two-helix and three-helix model piles were designed as experimental groups. Each model pile was provided with a helix plate at 100 mm from the pile head, and other helix plates were added in sequence from the toe of the pile upwards. For the helix size test sets, the model piles with helix sizes equal to 44 and 88 mm were used as the experimental group. In addition, to compare the compressive and uplift bearing capacities of the PGHP, a standard pile was designed for uplift testing in the helix number test sets and helix size test sets, respectively. For the drilling speed test sets, two other drilling speeds, 200 mm/min and 300 mm/min were selected to consider the effect of the drilling speed.
As shown in Figure 2, the standard model piles were affixed with strain gauges to investigate the load transfer mechanism of the PGHP. The strain gauges were protected by epoxy to ensure the accuracy of the measurements.

2.2. Soil Bed Preparation

The model piles for the helix number and helix size test sets were installed in two boxes with dimensions of length (L) × width (W) × height (H) = 2.1 m × 0.8 m × 1.0 m. The drilling speed test sets were conducted in a box with dimensions of length × width × height = 1.6 m × 0.6 m × 1.0 m.
The physical composition of the lab-used clay was analyzed by X-ray diffraction (XRD), as shown in Figure 3. The main mineral compositions included quartz, kaolinite, plagioclase, illite, and albite, with quartz and kaolinite having the highest proportions of 56.1% and 23.9%, respectively, reflecting the nature of the clay. The chemical composition of the clay was determined by X-ray fluorescence spectrometry, as shown in Table 2. The main chemical components included SiO2, Al2O3, K2O, Na2O, Fe2O3, etc., of which SiO2 and Al2O3 had the highest proportion, 70.158% and 18.994%, respectively. The high content of SiO2 was due to the extra SiO2 produced by the decomposition of kaolinite during melting. The composition of the lab-used clay was similar to the kaolin clay used at the University of Texas at Austin [21,22]. The kaolin clay was chosen to prepare the soil bed for this test because of its stable physical properties, including high consolidation coefficient, low compressibility, and workability, which makes it convenient for comparative test analysis [23,24,25]. The soil bed was made of calcined dry clay with an average particle size of 58 μm mixed with water, the raw material being produced in Jingdezhen, Jiangxi, China.
A drainage system was established at the bottom of the boxes to ensure proper consolidation of the soil bed. Before the fill of the clay, the bottom of the bed boxes were covered with a layer of coarse sand, and a sheet of geotextile was laid on the top of the coarse sand. The prepared clay was then poured into the bed box. After two months of consolidation under gravity, the undrained shear strength ( c u ) of the clay was measured by the T-bar test, with three locations in each test bed. Figure 4 shows the layout of the model piles in each test bed and the T-bar test device consisting of a light rod with an additional acrylic bar. Table 3 summarizes the properties of the soil bed measured by sample collections and the T-bar test device. The undrained shear strength was calculated by Equation (1). The results from the three locations were averaged to obtain the profile of the undrained shear strength, as shown in Figure 5.
c u = ( F t o t a l   F r o d   ) N T A T  
where F t o t a l : total measured resistance during T-bar insertion, F r o d : light rod resistance, A T : horizontal projection area of the acrylic bar (2320 mm2), N T : bearing capacity factor for T-bar which is 10.5 [26].

2.3. Model Pile Installation

Figure 6 shows the installation machine, which has the function of rotating and drilling the model pile and conducting low-pressure grouting simultaneously. The PGHP installation machine consisted of the grouting machine, the pile rotating and drilling machine, and the control system. The slurry was pumped to the central shaft by a slurry pump through a liquid tube, and the pressure grouting was adjusted via the control system. The pile rotating and drilling machine consisted of a hinge, a rotary joint, and a servo motor, which realized the transformation from mechanical to kinetic energy. The installation torque and the downward pressure power could be changed by adjusting the speed of the servo motor through the console system. The top of the central shaft was bolted to the steel pipe extensions to ensure a through hole.
Figure 7 shows the installation process of the model piles of the PGHP: (1) connect the model pile to the steel pipe extensions and align the construction points; (2) put the prepared cement slurry into the grouting machine and adjust the parameters of drilling speed and grouting pressure; (3) start the grouting machine and pile rotating and drilling machine until the model pile reaches the design depth (600 mm); (4) stop the installation and carry out in situ rotary grouting until the slurry begins to emerge from the soil surface; (5) separate the pile head from the installation machine. The connection between the pile head and the installation machine was made with a flexible joint, which ensured that the model pile was not disturbed when the pile head was separated from the installation machine.
The cement slurry used in all PGHPs was P42.5 silicate cement with a water/cement ratio of 0.5. A water-reducing agent of 0.2% was added to ensure the fluidity of the cement slurry, and a 4% quick-setting agent was added to increase the setting speed of the cement appropriately. The pressure grouting was 0.4 MPa on the test. The cement slurry injected into the pile head was ejected through the grouting holes, and the HP was forced to mix the cement with the soil by the helix plates during the rotating process, which formed a continuous column of soil-cement around the central shaft.

2.4. Loading Tests

The loading tests were conducted ten days after the installation, which provided enough time for the soil-cement to reach 80% of its ultimate compressive strength. The loading tests were conducted by using the displacement control method with a rate of 1 mm/min.
Figure 8a shows the configuration of the compression loading test. The load was applied continuously to the pile head by pulling a weight (100 kg) on the linear actuators with motion controllers (TC55H-LA), and the test started when the weight was just touched to the loading plate. The weight transferred the load to the pile head and caused settlement, stopping the compression test when the displacement reached 10 mm. A tension and compression load cell was placed on the upper part of the weight and the pile head to ensure the accuracy of the data. When measuring the displacement on the pile head, linear variable displacement transducers (LVDTs) were required on the lower part of the loading plate. As the loading plate could not be kept absolutely level, even a slight displacement would cause a large error, so three LVDTs were required to ensure the accuracy of the data.
Figure 8b shows that in the loading test of uplift, the load was carried out by pulling the pile head via the TC55H-LA. The uplift test was stopped when the displacement of the pile head reached 10 mm. The displacement of the pile head was measured by three LVDTs, each placed on the upper part of the loading plate. The load was measured by a tension load cell located at the top of the model pile, with a range of 200 kg.

3. Results and Discussion

3.1. Shape of the Soil-Cement Column

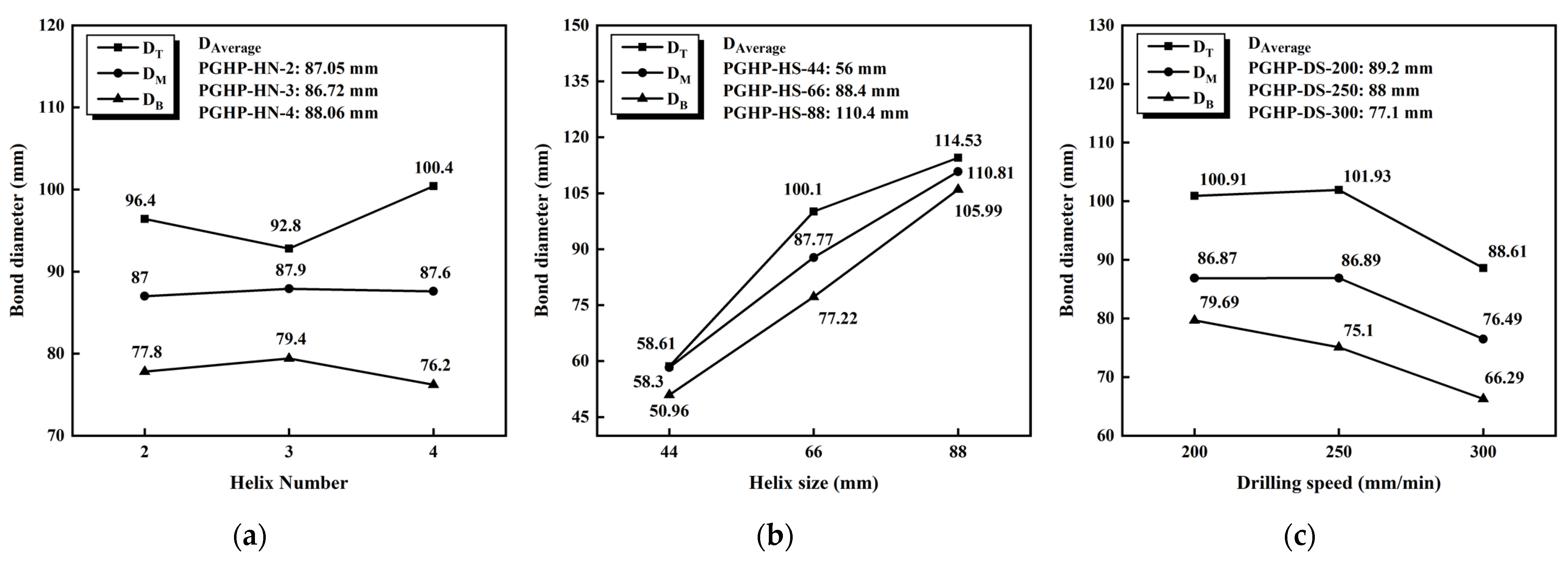
After the loading tests, all the model piles were pulled out from the clay bed. The shapes of the soil-cement columns were described by measuring the diameters along the length of the model piles. Figure 9a–c shows the shapes of the soil-cement columns in the helix number test sets, helix size test sets, and drilling speed test sets, respectively. Figure 10 shows the measured results in bond diameters at D T , D M , and D B locations, indicating that the dimensions of the soil-cement column were inversely proportional to the depth. The variation of the diameters at two adjacent measurement locations is within 20%, which gives the shape of the soil-cement column an inverted frustum of a cone. The above results are probably due to the fact that (1) the increase in soil pressure and undrained shear strength on the pile side leads to the reduction in cavity diameter with depth [27] and; (2) the adequate mixing of the upper soil-cement enables a fuller bond diameter [28].
In terms of materials, cement is a water-hard binding material in which Ca2+ in the slaked lime reacts with the large amounts of reactive SiO2 and Al2O3 in the clay to produce the slaked lime crystalline network, with the reaction Formulas (2) and (3). The above chemical outputs were mainly adhesive substances, which were able to form a stable, protective film on the periphery of the particles, reducing the pore space and permeability between the particles. In addition, the clay contains 24% kaolinite (Al4[Si4O10](OH)2), which has a certain viscosity and plasticity and improves the stability and strength of the soil-cement.
x C a ( O H ) 2 + S i O 2 + n H 2 O x C a O · S i O 2 · ( n + 1 ) H 2 O  
x C a ( O H ) 2 + A l 2 O 3 + n H 2 O x C a O · A l 2 O 3 · ( n + 1 ) H 2 O
Figure 10a shows the bond diameters for the compression test piles of the helix number test sets. The average bond diameters D A v e r a g e ( D A v e r a g e = (DT + DM + DB)/3) for PGHP-HN-2, PGHP-HN-3, and PGHP-HN-4 were similar because the measurement positions were near the helix plate.
Figure 9a visually shows the soil-cement column formed by the different helix numbers. The best quality soil-cement column was PGHP-HN-4, which was regular and had continuity. PGHP-HN-2 and PGHP-HN-3 had a threaded distribution on the surface of the cement column, with gaps between the threads. The above results show that the integrity of the soil-cement column was related to the number of helix plates. The soil-cement cannot be thoroughly mixed when the upper part of the grouting hole lacks helix plates. The cement can only follow the trajectory of the rotating helix plates at the bottom to consolidate, resulting in gaps in the pile shaft lowering the integrity and reducing the pile–soil contact area.
In areas without helix plates, the bond diameter of PGHP-HN-3 incurred an inflection point due to the difficulty of forming the cavity in the location without helix plates, which reduced the continuity of the soil-cement column. However, the shape of the soil-cement column of PGHP-HN-2 had no convex curves or reduction of the bond diameter along the pile length. The drilling speed for PGHP-HN-2 (200) was less than the preset value (250), resulting in a higher grouting volume than the other piles, indicating that the grouting volume also affected the continuity of the soil-cement column.
Figure 10b shows the bond diameters for the compression test piles of the helix size test sets. The largest average bond diameter was PGHP-HS-88, which was increased by approximately 30% compared to the helix plate size. The most minor average bond diameter was PGHP-HS-44, about 33.2% larger than the helix plate size. The highest average bond diameter lifting efficiency was achieved by PGHP-HS-66, which increased almost 51.7% compared to the diameter of the helix plate. The above results show that the size of the bond diameter was positively correlated with the helix plate size, but that either too large or too small of a helix plate size would reduce the efficiency of the bond diameter expansion. This was probably because too small of a helix plate made it difficult to form a cavity, and too large of a helix plate would cause insufficient grouting pressure.
Figure 10c shows the bond diameters for the compression test piles of the drilling speed test sets. The grouting volumes of PGHP-DS-250 and PGHP-DS-200 were 2.9 L and 3.2 L, respectively. However, the average bond diameters of both were relatively close, indicating that further decreased drilling speed (increased the grouting volume) had a negligible effect on the bond diameter when the grouting volume was appropriate. When the drilling speed was too fast, it led to insufficient grouting, which reduced the stiffness of the soil-cement column and reduced the bond diameter of the pile, resulting in a reduction of 15.60% in the average bond diameter of PGHP-DS-300 compared to PGHP-DS-200. Cross-section A-A of PGHP-DS-250 and cross-section B-B of PGHP-DS-300 are shown in Figure 11. The entire pile shaft consists of three parts: concrete, steel pipe, and soil-cement, which is similar to the Mansour [17] pile shaft cross section. The soil-cement cross section of PGHP-DS-300 was more sparse compared to that of PGHP-DS-250, which may further prove that too fast of a drilling speed could affect the bond diameter.
Comparing PGHP-HN-3 with PGHP-DS-300, the soil-cement column still had continuity despite the reduced injection volume of PGHP-DS-300, which suggested that the helix plate number also influenced continuity and that the continuity of the soil-cement column was influenced by the coupling of multiple factors.

3.2. Results of Load–Displacement Curves

3.2.1. Failure Criterias

Figure 12a–c shows the compression loading test results of the helix number test sets, helix size test sets, and drilling speed test sets, respectively. Figure 13 shows the uplift loading test results of the helix number test sets. From the overall test results, the load–displacement curves could be divided into three phases: (1) in the initial elastic phase, the load and the displacement were linear at this point; (2) in the non-linear transition phase, the displacement increased at a non-linear rate; (3) in the failure phase, the load did not increase with the displacement [29]. The load–displacement curves of some test piles had sections of a sudden increase in displacement or drop of load during the non-linear phase, which might be induced by the brittle failure of the cement layer on the soil surface.
Table 4 shows the ultimate axial bearing capacities of the three sets of tests. Because the load–displacement curves did not have an obvious plunging failure, several failure criteria for the ultimate bearing capacities of the piles were introduced. The determination of the ultimate axial bearing capacity based on the settlement of the pile was a conventional method, including Davisson [30] (load corresponding to total settlement at the pile head = PL/AE + d/120 + 4 (mm)), O’Neil and Reese [31] (load corresponding to total displacement = 5% d), and Terzaghi [32] (load corresponding to total displacement = 10% d). However, these determination methods were not applicable to the PGHP due to the variation in diameter and stiffness of the pile shaft. The other category of determination method was based on the construction of the curve graph and was not required to consider the effects of soil properties and pile shaft shape [33]. The tangent method [34] was used in this study, where the intersection of the initial linear phase extension and a straight line with a slope of 0.14 mm/N was taken as the ultimate load of the load–displacement curve.

3.2.2. Ultimate Compressive Capacity

Comparison between the helical piles and pressure-grouted helical piles in three sets of tests showed that the ultimate compressive capacities of the PGHPs were 260% to 293% higher than that of the HP. The comparison results indicate that the simultaneous drilling and grouting technique could significantly improve the compressive bearing capacities of helical piles. Because the simultaneous rotary grouting technique was able to form a soil-cement column around the perimeter of the pile, the soil-cement column increased the pile diameter, which improved the skin resistance of the test piles. Different from the helix plates only disturbing the soil during installation, the grouting technology could reinforce the soil and increase its strength.
The comparison between the pressure-grouted helical piles in the helix number test sets indicated that reducing the helix number leads to a reduction in the skin resistance and stiffness of the soil-cement column. The ultimate compressive capacity of PGHP-HN-4 was 5.26% and 15.14% higher than PGHP-HN-2 and PGHP-HN-3, respectively. It was caused by the reduction in skin resistance due to (1) the presence of gaps in the surface of the soil-cement column, which reduced the pile–soil contact area; (2) the smaller bond diameter of the soil-cement column, which could be observed at the upper part of PGHP-HN-3 where there was not a helix plate, as shown in Figure 9a. According to the load–displacement curve, PGHP-HN-3 was slightly less stiff than PGHP-HN-4, indicating that the number of helix plates affects the forming of the soil-cement column in a certain way. The initial stiffness of PGHP-HN-2 in Figure 12a is slightly higher than the other two piles, which appeared to contradict the test results that ‘the fullest bond diameter was PGHP-HN-4′ but was actually caused by the higher grouting volume of PGHP-HN-2, which increased its elastic modulus.
For the helix size test sets, the results show that the highest ultimate compressive bearing capacity was PGHP-HS-88 (675 N), 37.76% and 150.93% higher than that of PGHP-HS-66 (490 N) and PGHP-HS-44 (269 N), respectively, and PGHP-HS-66 increased the ultimate compressive bearing capacity by 82.16% compared to PGHP-HS-44. The above results indicate that the ultimate compressive bearing capacity of the PGHP was positively correlated with the helix plate size due to the ability of the larger size of the helix plate to extend the range of the agitated soil, resulting in a soil-cement column with a wider bond diameter. However, the efficiency of the load increased and then decreased with the helix plate diameter, indicating that the helix plate diameter was not the only factor affecting the bond diameter. The helix plate size was proportional to the bond diameter when the grouting pressure was sufficient. Still, when the helix plate size was too large, the constant grouting pressure would not be sufficient to spread the cement slurry, which would lead to a gradual decrease in the efficiency of lifting the bond diameter.
According to the compression loading results of the drilling speed test sets, the highest ultimate compressive bearing capacity was achieved by PGHP-DS-200 (438 N), 6.05% and 15.26% higher than that of PGHP-DS-250 (413 N) and PGHP-DS-300 (380 N), respectively. Combined with the data on bond diameters in Figure 10c, the difference in ultimate compressive bearing capacity between PGHP-HS-200 and PGHP-HS-300 was due to the difference in bond diameters. Although the average bond diameters of PGHP-HS-200 and PGHP-HS-250 were close, the difference in the bottom bond diameter was about 6.11%, resulting in a relatively lower end bearing capacity for PGHP-HS-250. Furthermore, the increased local skin resistance gap was caused by the increased undrained shear strength of the lower soil layer, leading to a slightly reduced compressive ultimate bearing capacity of PGHP-HS-250 compared to PGHP-HS-200. The difference in the initial stiffness of the three piles with similar cross-sectional areas indicated that the drilling speed (volume of grouting) influenced the elastic modulus of the soil-cement column.

3.2.3. Ultimate Uplift Capacity

The load–displacement curve for the uplift test is shown in Figure 12. PGHP-HS-66 (U) failed to collect its load–displacement data due to a fault of the tension load cell during loading. The ultimate bearing capacity of PGHP-HN-4 (U) was only 2.6% lower than that of PGHP-HN-4 with the same design parameters, and the test results indicate that the uplift bearing capacity was on the high side. The mass of PGHP-HN-4 (U) was measured by weighing to be 5 kg, which accounts for 9.5% of the uplift ultimate bearing capacity and therefore could not be ignored. Observing the pile shaft in Figure 9(a4) shows that, although the whole bond diameter of the soil-cement column was slightly smaller compared to PGHP-HN-4, a grouted bulb of approximately 105 mm in diameter was formed in the lower part, which was probably due to insufficient mixing of the lower soil-cement, leading to a gathering of cement slurry. The grouted bulb diameter D g was increased by approximately 40.71% compared to D B , and therefore the end bearing capacity could not be neglected.
In summary, the ultimate uplift bearing capacity of PGHP-HN-4 (U) consists of the skin resistance of the soil-cement, the end bearing capacity of grouted bulb, and the self-weight of the test pile.

3.3. Load Transfer Meshanism

3.3.1. Axial Force Estimation

The axial force of the PGHP was determined by measuring the composite modulus of the elasticity ( E C ) of the pile. Assuming that the axial force at the first strain gauge location was equal to the pile head load, Equation (4) could be used to calculate E C [29].
F h i = ε h i E C A C
where F h i is the axial force in the cross section at a depth of h i mm ( h i = 60 mm in the calculation of E C ), ε h i is the strain in the cross section at a depth of h i mm, and A C is the area of the cross section.
The cross section of the PGHP is comprised of three parts: concrete, steel pipe, and soil-cement. The calculation of E C was the same as calculating the elastic modulus of soil-cement ( E s c ) in Equation (5). Due to the inverted frustum of the cone shape of the soil-cement column, which caused A s c to vary with depth, the value of A s c could be calculated based on the actual position, as shown in Equation (6). The model pile was divided into 0 to 300 mm, and 300 mm to 600 mm to best describe the shape of the soil-cement column.
F h i = ε h i ( E c o n c r e t e A c o n c r e t e + E s A s + E s c A s c )
A s c = π r i 2 = { π [ r M + ( r T r M ) ( h M h i ) h M h T ] 2 , i ( 0 ,   300 ] π [ r B + ( r M r B ) ( h B h i ) h B h M ] 2 , i ( 300 ,   600 ]
where E c o n c r e t e is the elastic modulus of concrete (30,000 MPa), A c o n c r e t e is the cross-sectional area of concrete (255 mm2), E s is the elastic modulus of steel pipe (200,000 MPa), A s is the cross-sectional area of steel pipe (126 mm2), r i is the bond radius at any location of the pile shaft, h i is the embedded depth at any location of the pile shaft, r T is the bond radius at the top of the pile shaft, h T is the depth of the top of the pile shaft ( h T   = 0), r M is the bond radius at the middle of the pile shaft, h M is the depth at the middle of the pile shaft ( h M   = 300 mm), r B is the bond radius at the bottom of the pile shaft, and h B is the depth at the bottom of the pile shaft ( h B = 600 mm).
The PGHPs tested in this test included PGHP-HN-4, PGHP-HN-4 (U), PGHP-HS-66, and PGHP-DS-250 for a total of four piles with E C of 7.2 GPa, 6.8 GPa, 7.0 GPa, and 6.9 GPa, respectively. By importing the E C with strain data at different depths into Equation (5), the axial force on the pile shaft could be calculated for depths in the range of 60 to 500 mm, as shown in Figure 14.
As observed in the variation in the axial force curve, the slope of the curve changed less in the depth range of 60 mm to 500 mm, which could be due to the following reasons: (1) the difference in the undrained shear strength of each section of soil was minor, resulting in a lower rate of increase in skin resistance; (2) the bond diameter was negatively correlated with depth, resulting in a reduction in the pile–soil area, which slightly reduced the rate of increase in skin resistance.
Comparing the axial force curves of the compression and uplift tests, the skin resistance of PGHP-HN-4 (U) and PGHP-HN-4 was 277 N and 307 N in the depth range of 60 to 500 mm, respectively, with a ratio of 0.9. The difference in skin resistance between the uplift and compression tests could be attributed to the reduction of the confining pressure when the pile moved upward.

3.3.2. Normalized Unit Skin Resistance

The normalized unit skin resistance was studied to analyze the adhesion between the pressure-grouted helical piles and the surrounding clay. The normalized unit skin resistance was the ratio between the unit skin resistance and the undrained shear strength of the contact surface, equal to the adhesion of soil–pile interface. The unit skin resistance was the ratio between the skin resistance and the contact surface area. The skin resistance and contact surface area could be calculated by Equations (7) and (8), respectively.
Q s k i n = α S s c c u
S s c = { π ( r T + r i ) l T i = π ( r T + r i ) h i 2 + ( r T r i ) 2 , i ( 0 ,   300 ] π ( r M + r i ) l M i = π ( r M + r i ) ( h i h M ) 2 + ( r M r i ) 2 , i ( 300 ,   600 ]
where Q s k i n is the skin resistance, α is the adhesion of the contact surface obtained by normalized unit skin resistance calculations, l T i and l M i is the generatrix length of the frustum of a cone.
Figure 15 shows the normalized unit skin resistance with depth for the model piles. As the pile head load increased, the distribution of the normalized unit skin resistance curves gradually became denser, indicating that the skin resistance was gradually approaching the limit. As the pile head load approached the limit, the normalized unit skin resistance instead had a slight decrease, indicating that frictional softening occurred during the loading process, which was more evident in the upper soil layers. In the depth direction, the normalized unit skin resistance tended to increase slightly along with the depth, which was mainly influenced by the undrained shear strength and the effective vertical stress in the soil. The peak normalized unit skin resistance was in the range of 1.0 to 1.2. The high adhesion potentially benefited from there being no gap formed between the soil-cement column and clay during installation. Also, the cement slurry could strengthen the surrounding clay during the cure period of the soil-cement.

3.3.3. Tip and Skin Resistance

As the bottom of the central steel pipe ( h b = 600 mm) was not installed with a strain gauge, it was necessary to estimate the skin resistance in the range of 500 mm to 600 mm to obtain the proportion of the skin resistance to the tip resistance for the entire pile shaft. The adhesion in the depth range of 340 mm to 500 mm was used as the basis to obtain the skin resistance in the range of 500 mm to 600 mm by Equation (7). The load bearing capacity of the PGHP included the skin resistance and tip resistance of the pile shaft, as shown in Equation (9).
Q C = Q t i p + cos θ h i   Q s k i n , θ h i { h i ( 0 , 300 ) , θ h i = θ T M h i ( 300 , 600 ) , θ h i = θ M B
where Q C is the axial force at the depth of 60 mm (assumed equal to pile head load), Q t i p is the tip resistance, θ h i is the angle between the pile shaft and the soil, θ T M is the angle between the pile shaft and the soil in the range between the pile shaft top and the pile shaft middle, and θ M B is the angle between the pile shaft and the soil in the range between the pile shaft middle and the pile shaft bottom
The tip resistance could be calculated by combining the skin resistance in the range of 60 mm to 600 mm using Equation (9). To further analyze the proportion of skin resistance to tip resistance, the calculated results were combined with the axial forces at different locations in order to plot the variation curve of skin resistance to tip resistance, as shown in Figure 16. The shaded area in the graph represents the sum of the skin resistance in each loading phase.
Figure 16a shows the development of skin resistance and tip resistance for PGHP-HN-4. In the initial loading phase, the ratio of the skin resistance to the tip resistance was constant with the increase in the load. At the load of 500 N applied to the pile head, the skin and tip resistance were 24% and 76% of the total load, respectively. When the applied load increased from 500 N to 550 N, the tip resistance increased by 64 N, which was larger than the increase of the load of 50 N. This might be due to the softening of the skin resistance at large displacement. The skin resistance of PGHP-HN-4 reached the peak in the range of 500 N to 550 N, which indicated that the model pile reached the ultimate bearing capacity. A similar phenomenon could be observed for PGHP-HS-66 as shown in Figure 16b, where the ultimate bearing capacity predicted by the Butler and Hoy [34] were in the range of the ultimate bearing capacity determined by the results of the strain gauges. For PGHP-DS-250, Butler and Hoy [34] slightly overestimated the capacity. Overall, the results predicted by the Butler and Hoy [34] can reasonably estimate the ultimate bearing capacities of PGHP.

4. Conclusions

In this study, a series of small-scale model tests were conducted to investigate the influence of the installation parameters, including helix number, helix size, and drilling speed on the formation of the soil-cement column of the pressure-grouted helical piles. Based on the results of axial bearing tests and pile diameter measurements, the conclusions of this study are as follows:
(1)
The clay used in the test is mainly composed of quartz and kaolinite. The silica and alumina contained in the minerals improve the stability and strength of the soil-cement.
(2)
The simultaneous drilling and grouting technique could successfully construct the pressure-grouted helical piles in soft clay. The soil-cement column bond diameter decreased with the depth of clay due to the increase of the confining pressure and the undrained shear strength of clay. The average bond diameter of the soil-cement column was 21.4% to 26% larger than the helix size, depending on the depths.
(3)
The increase in the helix number could positively affect the integrity and continuity of the soil-cement column. With only one helix plate at the front of the helical pile, the cement slurry could not be sufficiently mixed with the clay at the upper part of the model pile to form a strong and large soil-cement column. With more helix plates installed along with the model piles, the bond diameter of the soil-cement column could be larger and more uniform.
(4)
The increase of the helix size could significantly increase the bond diameter of the soil-cement column. The larger helix plate could disturb more area of the clay to decrease its strength and lower the confining pressure, making the cement slurry penetrate into the clay easier.
(5)
The increase of the drilling speed could decrease the quality of the formation of the soil-cement column. The faster drilling may lead to insufficient grouting and reduce the ratio of the cement in the soil-cement material, which decreases the stiffness and strength of the soil-cement material.
(6)
Compared to the un-grouted helical piles, the ultimate compression capacities of the pressure-grouted helical piles increased from 260% to 293%. The ultimate compressive capacities of the pressure-grouted helical piles increased with the helix number and size and decreased with the drilling speed. The ultimate compressive capacities were reasonably estimated by Butler and Hoy [34].
(7)
The axial load transfer curves indicated that the maximum adhesion was in the range of 1.0 to 1.2. The reasons of the maximum adhesion larger than 1.0 were that no gap was formed between the soil-cement column and the clay, and the cement slurry strengthened the clay.
The pressure-grouted helical piles satisfied the purpose of improving the bearing capacity of the helical piles by injecting some additional cement slurry. However, the current research only analyzed limited installation parameters and recorded their relationship to the size of the soil-cement column. More research needs to be conducted to establish the prediction formula to describe the size of the soil-cement column to guide the application of the pressure-grouted helical piles.

Author Contributions

Conceptualization, X.Z. and Y.H.; methodology, X.Z.; software, X.Z.; validation, X.Z., Z.Z., Y.H. and P.W.; formal analysis, X.Z.; investigation, Y.H.; resources, Z.Z.; data curation, X.Z. and Y.H.; writing—original draft preparation, X.Z.; writing—review and editing, Z.Z., Y.H. and P.W.; visualization, X.Z. and Y.H.; supervision, Z.Z.; project administration, Z.Z.; funding acquisition, Z.Z. and Y.H. All authors have read and agreed to the published version of the manuscript.

Funding

This research was funded by Natural Science Research of Jiangsu Higher Education Institutions of China, grant number 21KJB560016 and Postgraduate Research & Practice Innovation Program of Jiangsu Province, grant number SJCX21_1488.

Data Availability Statement

All data, models, or codes that support the findings of this study are available from the corresponding author upon reasonable request.

Acknowledgments

In particular, the authors would express our appreciation to friends and colleagues who helped in the lab tests. The authors would like to acknowledge the funding support provided by the State Grid Corporation of China.

Conflicts of Interest

The authors declare no conflict of interest.

References

  1. Mitsch, M.P.; Clemence, S.P. Uplift Capacity of Helix Anchors in Sand. In Unknown Host Publication Title; American Society of Civil Engineers (ASCE): Reston, WV, USA, 1985; pp. 26–47. [Google Scholar]
  2. Adams, J.; Klym, T. A study of anchorages for transmission tower foundations. Can. Geotech. J. 1972, 9, 89–104. [Google Scholar] [CrossRef]
  3. Hoyt, R.; Chance, A.; Clemence, S. Uplift capacity of helical anchors in soil. In Proceedings of the Congrès International de Mécanique des Sols et des Travaux de Fondations 12, London, UK, 12–24 August 1957; Taylor & Francis: Abingdon, UK, 1989; pp. 1019–1022. [Google Scholar]
  4. Rao, S.N.; Prasad, Y.; Veeresh, C. Behaviour of embedded model screw anchors in soft clays. Geotechnique 1993, 43, 605–614. [Google Scholar] [CrossRef]
  5. Mitchell, J.K. The fabric of natural clays and its relation to engineering properties. In Proceedings of the Thirty-Fifth Annual Meeting of the Highway Research Board, Washington, DC, USA, 17–20 January 1956; pp. 693–713. [Google Scholar]
  6. Liu, S.Y.; Cai, G.J.; Tong, L.Y.; Du, G.Y. Approach on the Engineering Properties of Lianyungang Marine Clay from Piezocone Penetration Tests. Mar. Georesources Geotechnol. 2008, 26, 189–210. [Google Scholar] [CrossRef]
  7. Jang, Y.-E.; Han, J.-T. Field study on axial bearing capacity and load transfer characteristic of waveform micropile. Can. Geotech. J. 2018, 55, 653–665. [Google Scholar] [CrossRef] [Green Version]
  8. Bagheri, F.; El Naggar, M. Effects of installation disturbance on behavior of multi-helix piles in structured clays. DFI J.-J. Deep Found. Inst. 2015, 9, 80–91. [Google Scholar] [CrossRef]
  9. Elkasabgy, M.; El Naggar, M.H. Axial compressive response of large-capacity helical and driven steel piles in cohesive soil. Can. Geotech. J. 2015, 52, 224–243. [Google Scholar] [CrossRef]
  10. Vickars, R.A.; Clemence, S.P. Performance of helical piles with grouted shafts. In New Technological and Design Developments in Deep Foundations; American Society of Civil Engineers: Reston, WV, USA, 2000; pp. 327–341. [Google Scholar]
  11. Bruce, D. Enhancing the performance of large diameter piles by grouting. Ground Eng. 1986, 19, 9–15. [Google Scholar]
  12. Srijaroen, C.; Hoy, M.; Horpibulsuk, S.; Rachan, R.; Arulrajah, A. Soil–Cement Screw Pile: Alternative Pile for Low- and Medium-Rise Buildings in Soft Bangkok Clay. J. Constr. Eng. Manag. 2021, 147, 04020173. [Google Scholar] [CrossRef]
  13. Aldaeef, A.A.; Rayhani, M.T. Pull-out capacity and creep behavior of helical piles in frozen ground. J. Geotech. Geoenviron. Eng. 2020, 146, 04020140. [Google Scholar] [CrossRef]
  14. Nabizadeh, F.; Choobbasti, A.J. Field study of capacity helical piles in sand and silty clay. Transp. Infrastruct. Geotechnol. 2017, 4, 3–17. [Google Scholar] [CrossRef]
  15. Khazaei, J.; Eslami, A. Postgrouted helical piles behavior through physical modeling by FCV. Mar. Georesour. Geotechnol. 2017, 35, 528–537. [Google Scholar] [CrossRef]
  16. Bayesteh, H.; Sabermahani, M. Full-Scale Field Study on Effect of Grouting Methods on Bond Strength of Hollow-Bar Micropiles. J. Geotech. Geoenviron. Eng. 2018, 144, 04018091. [Google Scholar] [CrossRef]
  17. Mansour, M.A. Performance of Pressure Grouted Helical Piles under Monotonic Axial and Lateral Loading. Ph.D. Thesis, The University of Western Ontario, London, ON, Canada, 2019. [Google Scholar]
  18. Laefer, D.F.; Menninger, N.E.; Hernandez, W.E. Grouting patterns and possibilities with helical piers. In Proceedings of the Underground Construction in Urban Environments: Specialty Seminar, ASCE Metropolitan Section Geotechnical Group and the Geo-Institute of ASCE, New York, NY, USA, 11–12 May 2005. [Google Scholar]
  19. Sakr, M.A.; Nazir, A.K.; Azzam, W.R.; Sallam, A.F. Behavior of grouted single screw piles under inclined tensile loads in sand. Electron. J. Geotech. Eng. 2016, 21, 571–592. [Google Scholar]
  20. Mansour, M.A.; El Naggar, M.H. Optimization of grouting method and axial performance of pressure grouted helical piles. Can. Geotech. J. 2021, 59, 702–714. [Google Scholar] [CrossRef]
  21. Gerkus, H. Model Experiments to Measure Yield Thresholds and Trajectories for Plate Anchors and Develop a New Anchor Concept. Ph.D. Thesis, The University of Texas at Austin, Austin, TX, USA, 2016. [Google Scholar]
  22. Senanayake, A.I.M.J. Design of Large Diameter Monopiles for Offshore Wind Turbines in Clay. Ph.D. Thesis, The University of Texas at Austin, Austin, TX, USA, 2016. [Google Scholar]
  23. Xie, Y.; Leung, C.; Chow, Y. Centrifuge modelling of spudcan–pile interaction in soft clay. Géotechnique 2012, 62, 799–810. [Google Scholar] [CrossRef]
  24. Lee, C.H. Constructing Test Beds of Clay with a Specified Profile of Undrained Shear Strength versus Depth. Ph.D. Thesis, University of Texas at Austin, Austin, TX, USA, 2008. [Google Scholar]
  25. Yang, Q.-J.; Gao, Y.-F.; Kong, D.-Q.; Zhu, B. Centrifuge modelling of lateral loading behaviour of a “semi-rigid” Mono-pile in soft clay. Mar. Georesour. Geotechnol. 2019, 37, 1205–1216. [Google Scholar] [CrossRef]
  26. Stewart, D.; Randolph, M. T-bar penetration testing in soft clay. J. Geotech. Eng. 1994, 120, 2230–2235. [Google Scholar] [CrossRef]
  27. Modoni, G.; Bzówka, J. Analysis of foundations reinforced with jet grouting. J. Geotech. Geoenviron. Eng. 2012, 138, 1442–1454. [Google Scholar] [CrossRef]
  28. Wang, Z.-F.; Shen, S.-L.; Ho, C.-E.; Xu, Y.-S. Jet grouting for mitigation of installation disturbance. Proc. Inst. Civ. Eng.-Geotech. Eng. 2014, 167, 526–536. [Google Scholar] [CrossRef]
  29. Abdlrahem, M.A.; El Naggar, M.H. Evaluation of Axial Performance of Hollow Bar Micropiles Constructed with Different Drill Bit to Hollow Bar Diameter Ratio. Geotech. Geol. Eng. 2021, 39, 3669. [Google Scholar] [CrossRef]
  30. Davisson, M. High capacity piles. Proc. Innov. Found. Const. 1972, 52. [Google Scholar]
  31. O’Neil, M.W.; Reese, L.C. Drilled Shafts: Construction Procedures and Design Methods; Federal Highway Administration, Office of Infrastructure: Washington, DC, USA, 1999.
  32. Terzaghi, K. Discussion of the progress report of the committee on the bearing value of pile foundations. In Proceedings of the American Society of Civil Engineers; ASCE: Reston, WV, USA, 1942; pp. 311–323. [Google Scholar]
  33. Abd Elaziz, A.Y.; El Naggar, M.H. Geotechnical capacity of hollow-bar micropiles in cohesive soils. Can. Geotech. J. 2014, 51, 1123–1138. [Google Scholar] [CrossRef]
  34. Butler, H.; Hoy, H.E. Users Manual for the Texas Quick-Load Method for Foundation Load Testing; No. FHWA-IP-77-8; Federal Highway Administration, Office of Research and Development: Washington, DC, USA, 1976.
Figure 1. Conceptual drawing of model piles: (a) HP, (b) PGHP.
Figure 1. Conceptual drawing of model piles: (a) HP, (b) PGHP.
Buildings 12 00992 g001
Figure 2. Preparation of small-scale pressure-grouted helical piles with strain gauges.
Figure 2. Preparation of small-scale pressure-grouted helical piles with strain gauges.
Buildings 12 00992 g002
Figure 3. XRD pattern of the lab-used clay, I: illite, K: kaolinite, Q: quartz, Ab: albite, Pl: plagioclase.
Figure 3. XRD pattern of the lab-used clay, I: illite, K: kaolinite, Q: quartz, Ab: albite, Pl: plagioclase.
Buildings 12 00992 g003
Figure 4. Layout of the small-scale piles in each test set.
Figure 4. Layout of the small-scale piles in each test set.
Buildings 12 00992 g004
Figure 5. Undrained shear strengths of kaolinite clay in each bed box.
Figure 5. Undrained shear strengths of kaolinite clay in each bed box.
Buildings 12 00992 g005
Figure 6. Installation machine of small-scale model piles and the bed box.
Figure 6. Installation machine of small-scale model piles and the bed box.
Buildings 12 00992 g006
Figure 7. Installation procedure of small-scale pressure-grouted helical piles.
Figure 7. Installation procedure of small-scale pressure-grouted helical piles.
Buildings 12 00992 g007
Figure 8. Loading tests: (a) compression loading, (b) uplift loading.
Figure 8. Loading tests: (a) compression loading, (b) uplift loading.
Buildings 12 00992 g008
Figure 9. Shape of the soil-cement column of each small-scale pressure-grouted helical pile, (a) helix number test sets: (a1) PGHP-HN-2, (a2) PGHP-HN-3, (a3) PGHP-HN-4, (a4) PGHP-HN-4 (U), and (a5) HP-HN-4; (b) Helix Size test sets: (b1) PGHP-HS-44, (b2) PGHP-HS-66, (b3) PGHP-HS-88, (b4) PGHP-HS-66 (U), and (b5) HP-HS-66; (c) drilling speed test sets: (c1) PGHP-DS-200, (c2) PGHP-DS-250, (c3) PGHP-DS-300, and (c4) HP-DS-250.
Figure 9. Shape of the soil-cement column of each small-scale pressure-grouted helical pile, (a) helix number test sets: (a1) PGHP-HN-2, (a2) PGHP-HN-3, (a3) PGHP-HN-4, (a4) PGHP-HN-4 (U), and (a5) HP-HN-4; (b) Helix Size test sets: (b1) PGHP-HS-44, (b2) PGHP-HS-66, (b3) PGHP-HS-88, (b4) PGHP-HS-66 (U), and (b5) HP-HS-66; (c) drilling speed test sets: (c1) PGHP-DS-200, (c2) PGHP-DS-250, (c3) PGHP-DS-300, and (c4) HP-DS-250.
Buildings 12 00992 g009
Figure 10. The small-scale pressure-grouted helical pile dimensions of the compression test, (a) helix number test sets, (b) helix size test sets, and (c) drilling speed test sets.
Figure 10. The small-scale pressure-grouted helical pile dimensions of the compression test, (a) helix number test sets, (b) helix size test sets, and (c) drilling speed test sets.
Buildings 12 00992 g010
Figure 11. Cross sections of PGHP-DS-250 and PGHP-DS-300.
Figure 11. Cross sections of PGHP-DS-250 and PGHP-DS-300.
Buildings 12 00992 g011
Figure 12. Load–settlement curves of compression: (a) helix number test sets, (b) helix size test sets, and (c) drilling speed test sets.
Figure 12. Load–settlement curves of compression: (a) helix number test sets, (b) helix size test sets, and (c) drilling speed test sets.
Buildings 12 00992 g012
Figure 13. Load–settlement curves of uplift: helix number test sets.
Figure 13. Load–settlement curves of uplift: helix number test sets.
Buildings 12 00992 g013
Figure 14. Axial load transfer curves (a) helix number test sets, (b) helix size test sets, and (c) drilling speed test sets.
Figure 14. Axial load transfer curves (a) helix number test sets, (b) helix size test sets, and (c) drilling speed test sets.
Buildings 12 00992 g014
Figure 15. Normalized unit skin resistance: (a) helix number test sets, (b) helix size test sets, and (c) drilling speed test sets.
Figure 15. Normalized unit skin resistance: (a) helix number test sets, (b) helix size test sets, and (c) drilling speed test sets.
Buildings 12 00992 g015
Figure 16. Variation curves of skin and tip resistance: (a) helix number test sets, (b) helix size test sets, and (c) drilling speed test sets.
Figure 16. Variation curves of skin and tip resistance: (a) helix number test sets, (b) helix size test sets, and (c) drilling speed test sets.
Buildings 12 00992 g016
Table 1. Test plan and dimensions of small-scale pressure-grouted helical piles.
Table 1. Test plan and dimensions of small-scale pressure-grouted helical piles.
VariableNo.Helix Number nHelix Size DH (mm)Drilling Speed v (mm/min)Loading Way
Helix NumberHP-HN-4466250Compressive
PGHP-HN-22200
PGHP-HN-33250
PGHP-HN-44250
PGHP-HN-44250Uplift
Helix SizeHP-HS-66466250Compressive
PGHP-HS-4444
PGHP-HS-6666
PGHP-HS-8888
PGHP-HS-6666Uplift
Drilling SpeedHP-DS-250466250Compressive
PGHP-DS-200200
PGHP-DS-250250
PGHP-DS-300300
Numbering rules: pile type variable value of the variable.
Table 2. Main chemical composition (by % weight) of the lab-used clay.
Table 2. Main chemical composition (by % weight) of the lab-used clay.
SiO2Al2O3Fe2O3MgOCaONa2OK2OTiO2MnOP2O5SO3Loss on Ignition
70.15818.9940.3750.1980.2440.8992.40.0410.0370.0370.0666.52
Table 3. Summary of geotechnical properties of kaolinite clay.
Table 3. Summary of geotechnical properties of kaolinite clay.
Water Content w (%) Specific   Gravity   G s Liquid Limit W L   ( % ) Plastic Limit W P   ( % ) Saturated Unit Weight γ (KN/m3)
55~602.8773617.2
Table 4. Ultimate bearing capacity estimated from the load–settlement curves.
Table 4. Ultimate bearing capacity estimated from the load–settlement curves.
No.Ultimate Bearing Capactiy Pult (N)Dsiplacement (mm)
HP-HN-41411.03
PGHP-HN-24694.03
PGHP-HN-35136.27
PGHP-HN-45403.38
PGHP-HN-4 (U)5260.91
HP-HS-661360.94
PGHP-HS-442691.69
PGHP-HS-664903.01
PGHP-HS-886757.38
PGHP-HS-66 (U)//
HP-DS-2501050.70
PGHP-DS-2004383.76
PGHP-DS-2504134.84
PGHP-DS-3003804.03
Publisher’s Note: MDPI stays neutral with regard to jurisdictional claims in published maps and institutional affiliations.

Share and Cite

MDPI and ACS Style

Zhuang, X.; Zong, Z.; Huang, Y.; Wang, P. Analysis of the Installation Effect on the Axial Performance of Pressure-Grouted Helical Piles in Clay by Small-Scale Model Tests. Buildings 2022, 12, 992. https://doi.org/10.3390/buildings12070992

AMA Style

Zhuang X, Zong Z, Huang Y, Wang P. Analysis of the Installation Effect on the Axial Performance of Pressure-Grouted Helical Piles in Clay by Small-Scale Model Tests. Buildings. 2022; 12(7):992. https://doi.org/10.3390/buildings12070992

Chicago/Turabian Style

Zhuang, Xiaoxuan, Zhongling Zong, Yunhan Huang, and Peipei Wang. 2022. "Analysis of the Installation Effect on the Axial Performance of Pressure-Grouted Helical Piles in Clay by Small-Scale Model Tests" Buildings 12, no. 7: 992. https://doi.org/10.3390/buildings12070992

APA Style

Zhuang, X., Zong, Z., Huang, Y., & Wang, P. (2022). Analysis of the Installation Effect on the Axial Performance of Pressure-Grouted Helical Piles in Clay by Small-Scale Model Tests. Buildings, 12(7), 992. https://doi.org/10.3390/buildings12070992

Note that from the first issue of 2016, this journal uses article numbers instead of page numbers. See further details here.

Article Metrics

Back to TopTop