Dynamic Behavior of the Composite Steel–Concrete Beam Floor Systems under Free and Forced Vibration
Abstract
:1. Introduction
1.1. Background Review
1.1.1. Free Vibration and Natural Frequency
1.1.2. Forced Vibration and Excitation
1.1.3. Finite Element Method in Vibration Analysis
2. Modelling Strategy
2.1. Explaning the Modeling Procedure in (ABAQUS/CAE)
2.2. Explaning the Modelling Procedure in (Strand7)
2.3. Analytical Explnation (Calculating Natural Frequency)
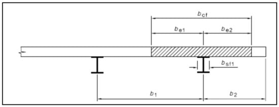
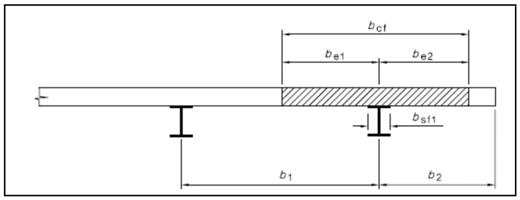
Computing the Fundamental Frequency of the Composite Floor System
2.4. Analytical Solution (Forced Vibration Effect)
3. Comparing the Obtained Numerical and Analytical Solutions
3.1. The Effect of the Length of the Primary Beams
3.2. The Effect of the Secondary Beams
3.3. The Effect of Number of Bays
3.4. Effect of Slab Depths to Fundamental Frequency
3.5. Effect of Primary Beam Length to Response Factor
3.6. Effect of Secondary Beam Length to Response Factor
3.7. Effect of Number of Bays to Response Factor
3.8. Effect of Slab Depth to Response Factor
3.9. Error Analysis—Fundamental Frequency
3.10. Error Analysis—Response Factor
4. Discussion about the Obtained Results
4.1. Effect of Steel Beam Lengths
4.2. Effect of Number of Bays and Slab Depth
4.3. The Effect of Connections on the Different Analysis
5. Significant Conclusions
Author Contributions
Funding
Institutional Review Board Statement
Informed Consent Statement
Data Availability Statement
Acknowledgments
Conflicts of Interest
References
- Manual, A.U. Abaqus User Manual; Abacus: Baltimore, MD, USA, 2020. [Google Scholar]
- British Standard, B. 6472-2008. Evaluation of human exposure to vibration in buildings (1–80 Hz). Available online: https://www.thenbs.com/PublicationIndex/documents/details?Pub=BSI&DocID=286767 (accessed on 1 May 2018).
- Howarth, H.V.C.; Griffin, M.J. Human Exposure to Low Frequency Horizontal Motion in Buildings and Offshore Structures: An Assessment of Guidance in BS 6611 and ISO 6897; University of Southampton: Southampton, UK, 2009. [Google Scholar]
- Allen, D.E. Floor vibrations from aerobics. Can. J. Civ. Eng. 1990, 17, 771–787. [Google Scholar] [CrossRef]
- Williams, M.S.; Waldron, P. Evaluation of methods for predicting occupant-induced vibrations in concrete floors. Struct. Eng. 1994, 72, 334. [Google Scholar]
- Webster, A.C.; Vaicaitis, R. Application of tuned mass dampers to control vibrations of composite floor systems. Eng. J. Am. Inst. Steel Constr. 1992, 29, 116–124. [Google Scholar]
- Hicks, S. Vibration characteristics of steel-concrete composite floor systems. Prog. Struct. Eng. Mater. 2004, 6, 21–38. [Google Scholar] [CrossRef]
- Emad, E.-D.; Tianjian, J. Modelling of the dynamic behaviour of profiled composite floors. Eng. Struct. 2006, 28, 567–579. [Google Scholar]
- Saidi, I.; Haritos, N.; Gad, E.F.; Wilson, J.L. Floor Vibrations due to Human Excitation-Damping Perspective; Earthquake Engineering in Australia: Canberra, Australia, 2006; pp. 257–264. [Google Scholar]
- Tahmasebinia, F. Numerical Assessment of the Behaviour of Composite Steel-concrete Beam Systems under Free Vibration. In Australasian Structural Engineering Conference 2008: Engaging with Structural Engineering; Meeting Planners: Melbourne, Australia, 2008. [Google Scholar]
- De Silva, S.S.; Thambiratnam, D.P. Dynamic characteristics of steel–deck composite floors under human-induced loads. Comput. Struct. 2009, 87, 1067–1076. [Google Scholar] [CrossRef] [Green Version]
- Sedlacek, G.; Heinemeyer, C.; Butz, C. Design of Floor Structures for Human Induced Vibrations; JRC Scientific and Technical Reports; EUR: Luxembourg, 2009. [Google Scholar]
- Rijal, R.; Samali, B.; Crews, K. Dynamic performance of timber-concrete composite flooring systems. In Incorporating Sustainable Practice in Mechanics and Structures of Materials; CRC Press: Boca Raton, FL, USA, 2010; pp. 315–319. [Google Scholar]
- Sanchez, T.A.; Davis, B.; Murray, T.M. Floor Vibration Characteristics of Long Span Composite Slab Systems. In Structures Congress 2011; American Society of Civil Engineers: Reston, VA, USA, 2011. [Google Scholar]
- Wróblewski, T.; Pełka-Sawenko, A.; Abramowicz, M.; Berczyński, S. Modeling and analysis of free vibration of steel-concrete composite beams by finite element method. Adv. Manuf. Sci. Technol. 2012, 36, 85–96. [Google Scholar]
- Henderson, I.; Zhu, X.; Uy, B.; Mirza, O. Dynamic behaviour of steel-concrete composite beams retrofitted with various bolted shear connectors. Eng. Struct. 2017, 131, 115–135. [Google Scholar] [CrossRef]
- Beskhyroun, S.; Navabian, N.; Wotherspoon, L.; Ma, Q. Dynamic behaviour of a 13-story reinforced concrete building under ambient vibration, forced vibration, and earthquake excitation. J. Build. Eng. 2020, 28, 101066. [Google Scholar] [CrossRef]
- An, Q.; Ren, Q.; Liu, H.; Yan, X.; Chen, Z. Dynamic performance characteristics of an innovative Cable Supported Beam Structure–Concrete Slab Composite Floor System under human-induced loads. Eng. Struct. 2016, 117, 40–57. [Google Scholar] [CrossRef]
- Trahair, N.; Bradford, M.A. Behaviour and Design of Steel Structures to AS4100: Australian; CRC Press: Boca Raton, FL, USA, 2017. [Google Scholar]
- Xie, Z.; Hu, X.; Du, H.; Zhang, X. Vibration behavior of timber-concrete composite floors under human-induced excitation. J. Build. Eng. 2020, 32, 101744. [Google Scholar] [CrossRef]
- Kaveh, A.; Fakoor, A. Cost Optimization of Steel-concrete Composite Floor Systems with Castellated Steel Beams. Period. Polytech. Civ. Eng. 2020, 65, 353–375. [Google Scholar] [CrossRef]
- Lenzen, K.H. Vibration of steel joist-concrete slab floors. AISC Eng. J. 1966, 3, 133–136. [Google Scholar]
- Shuttleworth, E.; Ward, J.; Lalani, M. The Steel Construction Institute, Silwood Park, Ascot, Berkshire. In Reliability and Optimization of Structural Systems’ 88, Proceedings of the 2nd IFIP WG7. 5 Conference, London, UK, 26–28 September 1988; Springer Science & Business Media: Berlin/Heidelberg, Germany, 2012. [Google Scholar]
- Feldmann, M.; Heinemeyer, C.; Butz, C.; Caetano, E.; Cunha, A.; Galanti, F.; Goldack, A.; Hechler, O.; Hicks, S.; Keil, A.; et al. Design of Floor Structures for Human Induced Vibrations; EUR: Luxembourg, 2009. [Google Scholar]
- Canadian Institute of Steel Construction. High Strength Bolting for Canadian Engineers; Canadian Institute of Steel Construction: Toronto, ON, USA, 2005. [Google Scholar]
- Willford, M.; Field, C.; Young, P. Improved Methodologies for the Prediction of Footfall-Induced Vibration. In Building Integration Solutions; ASCE: Reston, VA, USA, 2006; pp. 1–15. [Google Scholar]
- Pańtak, M.; Jarek, B.; Średniawa, W. Application of EN 1990/A1 vibration serviceability limit state requirements for steel footbridges. Procedia Eng. 2012, 40, 345–350. [Google Scholar] [CrossRef] [Green Version]
- Güllü, H.; Jaf, H.S. Full 3D nonlinear time history analysis of dynamic soil–structure interaction for a historical masonry arch bridge. Environ. Earth Sci. 2016, 75, 1421. [Google Scholar] [CrossRef]
- Güllü, H.; Karabekmez, M. Effect of near-fault and far-fault earthquakes on a historical masonry mosque through 3D dynamic soil-structure interaction. Eng. Struct. 2017, 152, 465–492. [Google Scholar] [CrossRef]
- Güllü, H.; Özel, F. Microtremor measurements and 3D dynamic soil–structure interaction analysis for a historical masonry arch bridge under the effects of near- and far-fault earthquakes. Environ. Earth Sci. 2020, 79, 338. [Google Scholar] [CrossRef]
- Güllü, H.; Pala, M. On the resonance effect by dynamic soil–structure interaction: A revelation study. Nat. Hazards 2014, 72, 827–847. [Google Scholar] [CrossRef]
- Cicekli, U.; Voyiadjis, G.Z.; Abu Al-Rub, R.K. A plasticity and anisotropic damage model for plain concrete. Int. J. Plast. 2007, 23, 1874–1900. [Google Scholar] [CrossRef]
- Uy, B.; Hicks, S. Australia/New Zealand Standard for Composite Structures, AS/NZS 2327 2327. Available online: https://www.researchgate.net/publication/307168193_ASNZS_2327_Composite_Structures_-_A_New_Standard_for_Steel-Concrete_Composite_Buildings (accessed on 10 September 2015).



















| Support Conditions | |||
|---|---|---|---|
| Pinned/pinned (‘simply-supported’) | |||
| Fixed both ends | 22.4 | 61.7 | 121 |
| Fixed/free (cantilever) | 3.52 | 22 | 61.7 |
| Acceleration Limit | |||
|---|---|---|---|
| Offices, Residences, Churches | 0.29 kN | 0.02–0.05 | 0.5% |
| Shopping Malls | 0.29 kN | 0.02 | 1.5% |
| Footbridges—Indoor | 0.41 kN | 0.01 | 1.5% |
| Footbridges—Outdoor | 0.41 kN | 0.01 | 5.0% |
| Category | ||||
|---|---|---|---|---|
| Length | Width | Number of Bays | Slab Thickness | |
| Model 1 (reference model) | 12,500 mm | 8400 mm | 4 bays | 190 mm |
| Model 2.1 | 15,000 mm | |||
| Model 2.2 | 10,000 mm | |||
| Model 3.1 | 10,800 mm | |||
| Model 3.2 | 6000 mm | |||
| Model 4.1 | 3 bays | |||
| Model 4.2 | 5 bays | |||
| Model 5.1 | 170 mm | |||
| Model 5.2 | 210 mm | |||
| Steel | Concrete | ||
|---|---|---|---|
| Model | 460UB82 primary beams | 310UB32 secondary beams | AS3600: 1994 concrete |
| Density | |||
| Young’s modulus | |||
| Poisson’s ratio | |||
| Table Name | Frequency (Hz) | Factor (Design DLF) |
|---|---|---|
| First Harmonic Design DLF | 1 | 0.0205 |
| 2.316 | 0.56 | |
| 2.8 | 0.56 | |
| Second Harmonic Design DLF | 2.0 | 0.0802 |
| 5.6 | 0.10036 | |
| Third Harmonic Design DLF | 3.0 | 0.0522 |
| 8.4 | 0.08676 | |
| Fourth Harmonic Design DLF | 4.0 | 0.039 |
| 11.2 | 0.0858 |
| Fundamental Frequency, f0 | η |
|---|---|
| f0 < 5 Hz | 0.5 |
| 5 Hz < f0 < 6 Hz | 0.21 f0 −0.55 |
| f0 > 6 Hz | 0.71 |
| Strand7 | ABAQUS | SCI Approach | |
|---|---|---|---|
| Model 2.2 (10,000 mm) | 3.4732 Hz | 5.9383 Hz | 5.84 Hz |
| Reference (12,500 mm) | 2.4991 Hz | 4.9039 Hz | 4.2 Hz |
| Model 2.1 (15,000 mm) | 1.8188 Hz | 3.9784 Hz | 3.06 Hz |
| Strand7 | ABAQUS | SCI Approach | |
|---|---|---|---|
| Model 3.2 (6000 mm) | 2.8848 Hz | 6.7605 Hz | 5.16 Hz |
| Reference (8400 mm) | 2.4991 Hz | 4.9039 Hz | 4.2 Hz |
| Model 3.1 (10,800 mm) | 2.0726 Hz | 3.4352 Hz | 3.37 Hz |
| Strand7 | ABAQUS | SCI Approach | |
|---|---|---|---|
| Model 4.1 (3 bays) | 2.4988 Hz | 4.7509 Hz | 3 Hz |
| Reference (4 bays) | 2.4991 Hz | 4.9039 Hz | 4.2 Hz |
| Model 4.2 (5 bays) | 2.4976 Hz | 5.025 Hz | 5.84 Hz |
| Strand7 | ABAQUS | SCI Approach | |
|---|---|---|---|
| Model 5.1 (170 mm) | 2.43 Hz | 4.82 Hz | 4.24 Hz |
| Reference (190 mm) | 2.4991 Hz | 4.90 Hz | 4.2 Hz |
| Model 5.2 (210 mm) | 2.59 Hz | 4.99 Hz | 4.18 Hz |
| Strand7 | ABAQUS | SCI Approach | |
|---|---|---|---|
| Model 2.2 (10,000 mm) | 7.01 | 12.7180 | 3.05 |
| Reference (12,500 mm) | 38.5 | 2.2698 | 2.48 |
| Model 2.1 (15,000 mm) | 21.6 | 4.8491 | 2.24 |
| Strand7 | ABAQUS | SCI Approach | |
|---|---|---|---|
| Model 3.2 (6000 mm) | 12.9 | 8.5418 | 3.18 |
| Reference (8400 mm) | 38.5 | 2.2698 | 2.48 |
| Model 3.1 (10,800 mm) | 31.1 | 4.8491 | 2.27 |
| Strand7 | ABAQUS | SCI Approach | |
|---|---|---|---|
| Model 4.1 (3 bays) | 38.7 | 8.2731 | 2.66 |
| Reference (4 bays) | 38.5 | 2.2698 | 2.48 |
| Model 4.2 (5 bays) | 39.1 | 4.9780 | 2.42 |
| Strand7 | ABAQUS | SCI Approach | |
|---|---|---|---|
| Model 5.1 (170 mm) | 38 | 9.0793 | 2.75 |
| Reference (190 mm) | 38.5 | 2.2698 | 2.48 |
| Model 5.2 (210 mm) | 40 | 8.7116 | 2.19 |
| Strand7 | SCI Approach | |
|---|---|---|
| Model 2.2 (10,000 mm) | 42% | 48% |
| Reference model (12,500 mm) | 49% | 14% |
| Model 2.1 (15,000 mm) | 54% | 47% |
| Average | 48% | 36% |
| Strand7 | SCI Approach | |
|---|---|---|
| Model 3.2 (6000 mm) | 57% | 24% |
| Reference model (8400 mm) | 49% | 14% |
| Model 3.1 (10,800 mm) | 40% | 2% |
| Average | 49% | 13% |
| Strand7 | SCI Approach | |
|---|---|---|
| Model 4.1 (3 bays) | 47% | 37% |
| Reference model (4 bays) | 49% | 14% |
| Model 4.2 (5 bays) | 50% | 16% |
| Average | 49% | 22% |
| Strand7 | SCI Approach | |
|---|---|---|
| Model 5.1 (170 mm) | 50% | 12% |
| Reference model (190 mm) | 49% | 14% |
| Model 5.2 (210 mm) | 48% | 16% |
| Average | 49% | 14% |
| Strand7 | ABAQUS | |
|---|---|---|
| Model 2.2 (10,000 mm) | 130% | 317% |
| Reference model (12,500 mm) | 1452% | 8.5% |
| Model 2.1 (15,000 mm) | 864% | 116% |
| Average | 815% | 147% |
| Strand7 | ABAQUS | |
|---|---|---|
| Model 3.2 (6000 mm) | 306% | 169% |
| Reference model (8400 mm) | 1452% | 8.5% |
| Model 3.1 (10,800 mm) | 1270% | 114% |
| Average | 1009% | 97.2% |
| Strand7 | ABAQUS | |
|---|---|---|
| Model 4.1 (3 bays) | 1355% | 211% |
| Reference model (4 bays) | 1452% | 8.5% |
| Model 4.2 (5 bays) | 1516% | 106% |
| Average | 1441% | 108.5% |
| Strand7 | ABAQUS | |
|---|---|---|
| Model 5.1 (170 mm) | 1282% | 230% |
| Reference model (190 mm) | 1452% | 8.5% |
| Model 5.2 (210 mm) | 1726% | 298% |
| Average | 1486% | 178% |
Publisher’s Note: MDPI stays neutral with regard to jurisdictional claims in published maps and institutional affiliations. |
© 2022 by the authors. Licensee MDPI, Basel, Switzerland. This article is an open access article distributed under the terms and conditions of the Creative Commons Attribution (CC BY) license (https://creativecommons.org/licenses/by/4.0/).
Share and Cite
Tahmasebinia, F.; Yip, C.S.; Lok, C.F.; Sun, Y.; Wu, J.; Sepasgozar, S.M.E.; Marroquin, F.A. Dynamic Behavior of the Composite Steel–Concrete Beam Floor Systems under Free and Forced Vibration. Buildings 2022, 12, 320. https://doi.org/10.3390/buildings12030320
Tahmasebinia F, Yip CS, Lok CF, Sun Y, Wu J, Sepasgozar SME, Marroquin FA. Dynamic Behavior of the Composite Steel–Concrete Beam Floor Systems under Free and Forced Vibration. Buildings. 2022; 12(3):320. https://doi.org/10.3390/buildings12030320
Chicago/Turabian StyleTahmasebinia, Faham, Cho Sum Yip, Chio Fai Lok, Yufan Sun, Junyi Wu, Samad M. E. Sepasgozar, and Fernando Alonso Marroquin. 2022. "Dynamic Behavior of the Composite Steel–Concrete Beam Floor Systems under Free and Forced Vibration" Buildings 12, no. 3: 320. https://doi.org/10.3390/buildings12030320
APA StyleTahmasebinia, F., Yip, C. S., Lok, C. F., Sun, Y., Wu, J., Sepasgozar, S. M. E., & Marroquin, F. A. (2022). Dynamic Behavior of the Composite Steel–Concrete Beam Floor Systems under Free and Forced Vibration. Buildings, 12(3), 320. https://doi.org/10.3390/buildings12030320

