Influence of Welding on Dynamic Fracture Toughness of Strenx 700MC Steel
Abstract
1. Introduction
2. Materials and Methods
2.1. Experimental Material
2.2. Methodology of Fracture Testing
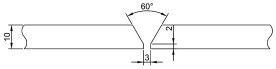
2.3. Experimental Welding and Simulation of Impact of Welding on Samples for Fracture Tests
3. Results
3.1. Verification Analysis of Welding Simulation
3.2. Metallography Evaluation of Related Structural Effects
3.3. Fracture Response Evaluation
4. Discussion
4.1. Fracture Behaviour under Welding Influence, Specific Conditions for Methodology of Fracture Toughness Evaluation
4.2. Effect of Structural Heterogenity
5. Conclusions
- A uniaxial loading system as the optimal mode for monitoring all the circumstances of crack development;
- The ability to apply different loading rates, e.g., using the standard Charpy hammer system up to 5.23 m/s;
- Suppression of the plane stress state, typically influencing the crack propagation near the surface of the simple notched Charpy-type samples;
- Support for the plane orientation of the fracture due to the circumferential initiation of fatigue cracks.
Author Contributions
Funding
Conflicts of Interest
References
- Ulewicz, R.; Mazur, M.; Bokůvka, O. Structure and mechanical properties of fine-grained steels. Periodica Polytech. Transp. Eng. 2013, 41, 111–115. [Google Scholar] [CrossRef]
- Mazur, M. Fatigue properties of fine-grained steels applied in components of semitrailers. Czasopismo Techniczne 2016, 4-M, 9–14. [Google Scholar]
- Sperle, J.; Hallberg, L.; Larsson, J.; Groth, H. The Environmental Value of High Strength Steel Structures, Environmental Research Programme for the Swedish Steel Industry, The Steel Eco-Cycle; Scientific Report; Jernkontoret: Stockholm, Sweden, 2013; pp. 151–171. [Google Scholar]
- Ulewicz, R.; Szataniak, P. Fatigue Cracks of Strenx Steel. Mater. Today Proc. 2016, 3, 1195–1198. [Google Scholar] [CrossRef]
- Eckerlid1, J.; Åsell1, M.; Ohlsson1, A. Use of Vanadium High-Strength Low-Alloy Steels in Trailers, in a Case Study; The Steel Company Tunnplåt AB: Lulea, Sweden, 2009. [Google Scholar]
- Laitila, J.; Larkiola, J.; Porter, D. Effect of forced cooling on the tensile properties and impact toughness of the coarse-grained heat-affected zone of a high-strength structural steel. Weld. World 2018, 62, 79–85. [Google Scholar] [CrossRef]
- Kim, S.; Kang, D.; Kim, T.W.; Lee, J.; Lee, C. Fatigue crack growth behavior of the simulated HAZ of 800 MPa grade high-performance steel. Mater. Sci. Eng. A 2011, 528, 2331–2338. [Google Scholar] [CrossRef]
- Mohyla, P.; Hlavatý, I.; Tomčík, P. Cause of Secondary Hardening in Cr-Mo-V Weld during Long-Term Heat Exposure. Avtomaticheskaya Svarka 2011, 694, 24–26. [Google Scholar]
- Górka, J. Influence of the maximum temperature of the thermal cycle on the properties and structure of the HAZ of steel S700MC. IOSR J. Eng. 2013, 3, 22–28. [Google Scholar] [CrossRef]
- Górka, J.; Stano, S. Microstructure and Properties of Hybrid Laser Arc Welded Joints (Laser Beam-MAG) in Thermo-Mechanical Control Processed S700MC Steel. Metals 2018, 8, 132. [Google Scholar] [CrossRef]
- Shi, Y.; Han, Z. Effect of weld thermal cycle on microstructure and fracture toughness of simulated heat-affected zone for a 800 MPa grade high strength low alloy steel. J. Mater. Proc. Technol. 2008, 207, 30–39. [Google Scholar] [CrossRef]
- Zhu, X.K.; Joyce, J.A. Review of fracture toughness (G, K, J, CTOD, CTOA) testing and standardization. Eng. Fract. Mech. 2012, 85, 1–46. [Google Scholar] [CrossRef]
- Li, S.; He, J.; Gu, B.; Zeng, D.; Xia, Z.C.; Zhao, Y.; Lin, Z. Anisotropic fracture of advanced high strength steel sheets: Experiment and theory. Int. J. Plast. 2018, 103, 95–118. [Google Scholar] [CrossRef]
- Leskov, V. Multi-Functional Kıc-Test Specimen for the Assessment of Different Tool- and High-Speed-Steel Properties. Mater. Technol. 2013, 47, 273–283. [Google Scholar]
- Grant, T.J.; Weber, L.; Mortensen, A. Plasticity in Chevron-notch fracture toughness testing. Eng. Fract. Mech. 2000, 67, 263–276. [Google Scholar] [CrossRef]
- Antolovich, S.D.; Saxena, A.; Gerberich, W.W. Fracture mechanics–An interpretive technical history. Mech. Res. Commun. 2018, 91, 46–86. [Google Scholar] [CrossRef]
- ASTM-E-399 Standard Test Method for Plane-Strain Fracture Toughness of Metallic Materials. E 399-90. 2003. Available online: https://www.astm.org/Standards/E399 (accessed on 27 April 2019).
- Bayram, A.; Uguz, A.; Durmus, A. Rapid determination of the fracture toughness of metallic materials using circumferentially notched bars. J. Mater. Eng. Perform. 2002, 11, 571–576. [Google Scholar] [CrossRef]
- Londe, N.V.; Jayaraju, T.; Rao, P.R.S. Determination of Plane-Strain Fracture Toughness of AL 2014-T6 Alloy Using Circumferentially Cracked Round Bar Specimen. Eng. E-Trans. 2006, 6, 26–31. [Google Scholar]
- Wilson, C.D.; Landes, J.D. Fracture toughness testing with notched round bars. In Fatigue Fracture Mechanics: 30th Volume; ASTM International: West Conshohocken, PA, USA, 2000; pp. 69–82. [Google Scholar]
- Londe, N.V.; Jayaraju, T.; Naik, P.; Kumar, D.; Rajashekar, C.R. Determination of fracture toughness and fatigue crack growth rate using circumferentially cracked round bar specimens of Al2014T651. Aerosp. Sci. Technol. 2015, 47, 92–97. [Google Scholar]
- Li, D.M.; Bakker, A. Fracture toughness evaluation using circumferentially-cracked cylindrical bar specimens. Eng. Fract. Mech. 1997, 57, 1–11. [Google Scholar] [CrossRef]
- Kuruppu, M.D.; Chong, K.P. Fracture toughness testing of brittle materials using semi-circular bend (SCB) specimen. Eng. Fract. Mech. 2012, 91, 133–150. [Google Scholar] [CrossRef]
- Barsom, J.M.; Rolfe, S.T. Fracture and Fatigue Control in Structure: Applications of Fracture Mechanics, 2nd ed.; Prentice Hall: Englewood Clifts, NJ, USA, 1987. [Google Scholar]
- ISO 26843:2015(E), Metallic Materials—Measurement of Fracture Toughness at Impact Loading Rates Using Precracked Charpy-Type Test Pieces. Available online: https://www.iso.org/standard/65516.html (accessed on 27 April 2019).
- ASTM Designation E1820 − 17a, Standard Test Method for Measurement of Fracture Toughness. 2018. Available online: https://www.astm.org/Standards/E1820 (accessed on 27 April 2019).













| Used Steels/Standards | C | Si | Mn | P | S | Altot | Nb | V | Ti | |
|---|---|---|---|---|---|---|---|---|---|---|
| Strenx 700MC | EN 10149-2 (max.) | 0.12 | 0.21 | 2.1 | 0.020 | 0.010 | 0.015 | 0.09 | 0.20 | 0.15 |
| Sample | 0.047 | 0.028 | 1.75 | 0.009 | 0.0026 | 0.041 | 0.061 | 0.016 | 0.091 | |
| S355NJ | Standard (max.) | 0.23 | 0.05 | 1.60 | 0.05 | 0.05 | - | - | - | - |
| Sample | 0.15 | 0.18 | 1.32 | 0.017 | 0.0056 | 0.035 | - | 0.0016 | 0.001 | |
| Material | Yield Strength (MPa) | Tensile Strength (MPa) |
|---|---|---|
| S355NJ | 516 | 550 |
| Strenx 700MC | 623 | 683 |
| C | Si | Mn | Cr | Mo | Ni |
|---|---|---|---|---|---|
| 0.08 | 0.60 | 1.70 | 0.20 | 0.50 | 1.50 |
| Loading Rate | Sample No. | Fmax (N) | D (mm) | am (mm) | af (mm) | deff (mm) | deff/D | KI (MPa·m1/2) |
|---|---|---|---|---|---|---|---|---|
| Static 0.02 m/s | S1 | 28,744 | 7.7 | 0.7 | 0.64 | 5.02 | 0.65 | 58.2 |
| S2 | 31,953 | 7.65 | 0.695 | 0.47 | 5.32 | 0.70 | 57.5 | |
| S3 | 32,243 | 7.61 | 0.69 | 0.38 | 5.47 | 0.72 | 54.5 | |
| Average value | 57 | |||||||
| Average value—S355NJ | 45 | |||||||
| Dynamic 3.48 m/s | D-01 | 43,676 | 7.62 | 0.69 | 0.2 | 5.84 | 0.77 | 64 |
| D-02 | 41,164 | 8.11 | 0.75 | 0.42 | 5.77 | 0.71 | 64.7 | |
| D-03 | 44,534 | 8.11 | 0.73 | 0.25 | 6.15 | 0.76 | 60.9 | |
| Average value | 63 | |||||||
| Average value—S355NJ | 67 | |||||||
| Dynamic 5.23 m/s | D-1 | 41,484 | 7.59 | 0.695 | 0.3216 | 5.56 | 0.73 | 67.7 |
| D-2 | 40,534 | 7.78 | 0.66 | 0.38 | 57 | 0.73 | 63.7 | |
| D-3 | 43,833 | 6.95 | 0.535 | 0.211 | 5.46 | 0.79 | 69.6 | |
| D-4 | 38,764 | 7.84 | 0.725 | 0.4865 | 5.42 | 0.69 | 68.1 | |
| D-5 | 43,510 | 7.8 | 0.72 | 0.49 | 5.38 | 0.69 | 77.3 | |
| Average value | 69 | |||||||
| Average value—S355NJ | 69 | |||||||
| Loading Rate | Sample No. | Fmax (N) | D (mm) | am (mm) | af (mm) | deff (mm) | KI (MPa.m1/2) | deff/D | UTS (MPa) |
|---|---|---|---|---|---|---|---|---|---|
| Static 0.02 m/s | WS-01 | 34,183 | 7.67 | 0.735 | 0.21 | 5.78 | 51.5 | 0.75 | 1303 |
| WS-02 | 24,784 | 6.98 | 0.74 | 0.35 | 4.8 | 52.3 | 0.69 | 1370 | |
| WS-03 | 24,972 | 7.26 | 0.73 | 0.43 | 4.94 | 50.8 | 0.68 | 1303 | |
| Average value | 51.5 | 0.70 | 1325 | ||||||
| Dynamic 5.23 m/s | DWS-01 | 36,057 | 7.22 | 0.83 | 0.45 | 4.66 | 82 | 0.65 | 2114 |
| DWS-02 | 22,769 | 7.74 | 0.805 | 1.68 | 2.77 | 118.2 | 0.36 | 3778 | |
| DWS-03 | 32,839 | 7.2 | 0.575 | 0.67 | 4.71 | 73.1 | 0.65 | 1885 | |
| Average value | 91.1 | 0.55 | 2592 | ||||||
© 2019 by the authors. Licensee MDPI, Basel, Switzerland. This article is an open access article distributed under the terms and conditions of the Creative Commons Attribution (CC BY) license (http://creativecommons.org/licenses/by/4.0/).
Share and Cite
Schmidová, E.; Bozkurt, F.; Culek, B.; Kumar, S.; Kuchariková, L.; Uhríčik, M. Influence of Welding on Dynamic Fracture Toughness of Strenx 700MC Steel. Metals 2019, 9, 494. https://doi.org/10.3390/met9050494
Schmidová E, Bozkurt F, Culek B, Kumar S, Kuchariková L, Uhríčik M. Influence of Welding on Dynamic Fracture Toughness of Strenx 700MC Steel. Metals. 2019; 9(5):494. https://doi.org/10.3390/met9050494
Chicago/Turabian StyleSchmidová, Eva, Fatih Bozkurt, Bohumil Culek, Sunil Kumar, Lenka Kuchariková, and Milan Uhríčik. 2019. "Influence of Welding on Dynamic Fracture Toughness of Strenx 700MC Steel" Metals 9, no. 5: 494. https://doi.org/10.3390/met9050494
APA StyleSchmidová, E., Bozkurt, F., Culek, B., Kumar, S., Kuchariková, L., & Uhríčik, M. (2019). Influence of Welding on Dynamic Fracture Toughness of Strenx 700MC Steel. Metals, 9(5), 494. https://doi.org/10.3390/met9050494

