Numerical Simulation of the Temperature in a Train Brake Disc Using the Barycentric Rational Interpolation Collocation Method
Abstract
1. Introduction
2. Numerical Model of the Two-Dimensional Axisymmetric Brake Disc
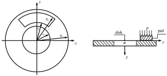
2.1. Descriptions of the Numerical Model
- (1)
- The initial brake disc temperature and ambient temperature are Ta.
- (2)
- The braking pressure between the brake disc and the brake pad is constant.
- (3)
- The brake disc is homogeneous, and the material properties do not change with temperature.
- (4)
- The friction coefficient of the brake disc surface does not change with temperature.
- (5)
- The wear on the contact surface is negligible.
2.2. BRICM for the Mathematical Model
3. Numerical Results and Discussion
3.1. Verification of Numerical Model
3.1.1. Comparisons with the FEM Results
3.1.2. Experimental Verification
3.2. Investigation on Factors Affecting Temperature
3.2.1. Effect of Mesh Density on the Temperature
3.2.2. Effect of Boundary Conditions
3.3. Analysis of Brake Disc Temperature Field
4. Conclusions
- (1)
- The average temperature distribution curve calculated by the two-dimensional model is in good agreement with the experimental data and the finite element results. The results show that the BRICM can be applied to the friction heat problem in the braking process.
- (2)
- In the numerical calculation, a few calculation nodes can obtain the correct temperature curve. This shows that the BRICM can meet the demand of the real-time calculation of the brake disc temperature of the vehicle track coupling system. In addition, comparison results show that the newton linear iteration method can be used to deal with thermal radiation in the boundary conditions. And the thermal radiation cannot be ignored in the current model.
- (3)
- The temperature contour map calculated by the BRICM is in line with the actual situation. This shows that the results obtained by the BRICM can be used to simulate the temperature distribution of the two-dimensional brake disc.
Author Contributions
Funding
Data Availability Statement
Conflicts of Interest
References
- Li, Z.Q.; Han, J.M.; Yang, Z.Y.; Pan, L.K. The effect of braking energy on the fatigue crack propagation in railway brake discs. Eng. Fail. Anal. 2014, 44, 272–284. [Google Scholar] [CrossRef]
- Yevtushenko, A.; Kuciej, M. Temperature and thermal stresses in a pad/disc during braking. Appl. Therm. Eng. 2010, 30, 354–359. [Google Scholar] [CrossRef][Green Version]
- Nosko, A.L.; Mozalev, V.V.; Nosko, A.P.; Suvorov, A.V.; Lebedeva, V.N. Calculation of temperature of carbon disks of aircraft brakes with account of heat exchange with the environment. J. Frict. Wear 2012, 33, 233–238. [Google Scholar] [CrossRef]
- Qi, H.S.; Day, A.J. Investigation of disc/pad interface temperatures in friction braking. Wear 2007, 262, 505–513. [Google Scholar] [CrossRef]
- Yang, Y.Q.; Wu, B.; Shen, Q.; Xiao, G.W. Numerical simulation of the frictional heat problem of subway brake discs considering variable friction coefficient and slope track. Eng. Fail. Anal. 2021, 130, 105794. [Google Scholar] [CrossRef]
- Lee, K. Frictionally excited thermoelastic instability in automotive drum brakes. J. Tribol.-T Asme 2000, 122, 849–855. [Google Scholar] [CrossRef]
- Yevtushenko, A.A.; Grzes, P. Axisymmetric FEA of temperature in a pad/disc brake system at temperature-dependent coefficients of friction and wear. Int. Commun. Heat. Mass. 2012, 39, 1045–1053. [Google Scholar] [CrossRef]
- Grzes, P. Determination of the maximum temperature at single braking from the FE solution of heat dynamics of friction and wear system of equations. Numer. Heat Transf. A-Appl. 2017, 71, 737–753. [Google Scholar] [CrossRef]
- Adamowicz, A.; Grzes, P. Analysis of disc brake temperature distribution during single braking under non-axisymmetric load. Appl. Therm. Eng. 2011, 31, 1003–1012. [Google Scholar] [CrossRef]
- Adamowicz, A.; Grzes, P. Influence of convective cooling on a disc brake temperature distribution during repetitive braking. Appl. Therm. Eng. 2011, 31, 2177–2185. [Google Scholar] [CrossRef]
- Kazem, S.; Dehghan, M. Application of finite difference method of lines on the heat equation. Numer. Meth Part. D Equ. 2018, 34, 626–660. [Google Scholar] [CrossRef]
- Grzes, P.; Oliferuk, W.; Adamowicz, A.; Kochanowski, K.; Wasilewski, P.; Yevtushenko, A.A. The numerical-experimental scheme for the analysis of temperature field in a pad-disc braking system of a railway vehicle at single braking. Int. Commun. Heat Mass. 2016, 75, 1–6. [Google Scholar] [CrossRef]
- Yevtushenko, A.A.; Grzes, P. Mutual influence of the velocity and temperature in the axisymmetric FE model of a disc brake. Int. Commun. Heat Mass. 2014, 57, 341–346. [Google Scholar] [CrossRef]
- Yevtushenko, A.A.; Kuciej, M.; Grzes, P.; Wasilewski, P. Temperature in the railway disc brake at a repetitive short-term mode of braking. Int. Commun. Heat Mass. 2017, 84, 102–109. [Google Scholar] [CrossRef]
- Floater, M.S.; Hormann, K. Barycentric rational interpolation with no poles and high rates of approximation. Numer. Math. 2007, 107, 315–331. [Google Scholar] [CrossRef]
- Liu, H.Y.; Huang, J.; Pan, Y.B.; Zhang, J.P. Barycentric interpolation collocation methods for solving linear and nonlinear high-dimensional Fredholm integral equations. J. Comput. Appl. Math. 2018, 327, 141–154. [Google Scholar] [CrossRef]
- Li, J.; Cheng, Y.L. Linear barycentric rational collocation method for solving second-order Volterra integro-differential equation. Comput. Appl. Math. 2020, 39, 92. [Google Scholar] [CrossRef]
- Liu, H.; Huang, J. Numerical solution of special 2D Fredholm-Volterra integral equations using barycentric Gegenbauer interpolation collocation method. J. Phys. Conf. Ser. 2020, 1634, 012099. [Google Scholar] [CrossRef]
- Wu, H.; Wang, Y.; Zhang, W.; Wen, T. The barycentric interpolation collocation method for a class of nonlinear vibration systems. J. Low Freq. Noise Vib. Act. Control 2019, 38, 1495–1504. [Google Scholar] [CrossRef]
- Zhuang, M.L.; Miao, C.Q.; Ji, S.Y. Plane elasticity problems by barycentric rational interpolation collocation method and a regular domain method. Int. J. Numer. Meth. Eng. 2020, 121, 4134–4156. [Google Scholar] [CrossRef]
- Zhuang, M.L.; Miao, C.Q.; Wan, C.H. A Highly Accurate Collocation Method for Linear and Nonlinear Vibration Problems of Multi-Degree-Of-Freedom Systems Based on Barycentric Interpolation. Int. J. Nonlinear Sci. Numer. 2019, 20, 543–550. [Google Scholar] [CrossRef]
- Li, S.; Wang, Z. High Precision Meshless Barycenter Interpolation Collocation Method; Science Press: Beijing, China, 2012. [Google Scholar]
- Yang, S.M.; Tao, W.Q. Heat Transfer; Higher Education Press: Beijing, China, 2006. [Google Scholar]
- Li, S.; Wang, Z. Barycentric Interpolation Collocation Method for Nonlinear Problems; National Defense Industry Press: Beijing, China, 2015. [Google Scholar]













| Parameters | Disc | Pad | Properties | Disc | Pad |
|---|---|---|---|---|---|
| Thickness (m) | 0.018 | Thermal conductivity (W/(m·K)) | 50 | 1.9 | |
| Equivalent radius (m) | 0.28 | Specific heat (J/(kg·K)) | 460 | 1400 | |
| Outer diameter (m) | 0.71 | 0.66 | Density (kg/m3) | 7810 | 2343 |
| Inner diameter (m) | 0.41 | 0.46 | Friction coefficient | 0.31 | |
| Braked mass (kg) | 8500 | Convective coefficient |
| Grid Density (m × k) | Calculation Time (s) | Relative Error | |||||
|---|---|---|---|---|---|---|---|
| z = 0 mm, r = 95 mm | z = 22 mm, r = 95 mm | z = 44 mm, r = 95 mm | r = 85 mm, z = 0 mm | r = 95 mm, z = 0 mm | r = 105 mm, z = 0 mm | ||
| 100 × 100 | 9517.96 | 0 | 0 | 0 | 0 | 0 | 0 |
| 6 × 30 | 0.95 | 0.0027 | 0.0032 | 0.0026 | 0.0079 | 0.0043 | 0.0031 |
| 26 × 50 | 66.19 | 0.0020 | 0.0016 | 0.0015 | 0.0069 | 0.0020 | 0.0021 |
| 46 × 70 | 498.43 | 0.0041 | 0.0033 | 0.0036 | 0.0031 | 0.0041 | 0.0031 |
Disclaimer/Publisher’s Note: The statements, opinions and data contained in all publications are solely those of the individual author(s) and contributor(s) and not of MDPI and/or the editor(s). MDPI and/or the editor(s) disclaim responsibility for any injury to people or property resulting from any ideas, methods, instructions or products referred to in the content. |
© 2024 by the authors. Licensee MDPI, Basel, Switzerland. This article is an open access article distributed under the terms and conditions of the Creative Commons Attribution (CC BY) license (https://creativecommons.org/licenses/by/4.0/).
Share and Cite
Wu, B.; Zhuo, Y.; Yao, L.; Shen, Q.; Xiao, G.; Wang, Z. Numerical Simulation of the Temperature in a Train Brake Disc Using the Barycentric Rational Interpolation Collocation Method. Lubricants 2024, 12, 335. https://doi.org/10.3390/lubricants12100335
Wu B, Zhuo Y, Yao L, Shen Q, Xiao G, Wang Z. Numerical Simulation of the Temperature in a Train Brake Disc Using the Barycentric Rational Interpolation Collocation Method. Lubricants. 2024; 12(10):335. https://doi.org/10.3390/lubricants12100335
Chicago/Turabian StyleWu, Bing, Yuanying Zhuo, Linquan Yao, Quan Shen, Guangwen Xiao, and Zhaoyang Wang. 2024. "Numerical Simulation of the Temperature in a Train Brake Disc Using the Barycentric Rational Interpolation Collocation Method" Lubricants 12, no. 10: 335. https://doi.org/10.3390/lubricants12100335
APA StyleWu, B., Zhuo, Y., Yao, L., Shen, Q., Xiao, G., & Wang, Z. (2024). Numerical Simulation of the Temperature in a Train Brake Disc Using the Barycentric Rational Interpolation Collocation Method. Lubricants, 12(10), 335. https://doi.org/10.3390/lubricants12100335
