From Novelty Detection to a Genetic Algorithm Optimized Classification for the Diagnosis of a SCADA-Equipped Complex Machine
Abstract
:1. Introduction
2. Case Study
2.1. Test Bench Description
2.2. Dataset Description
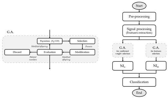
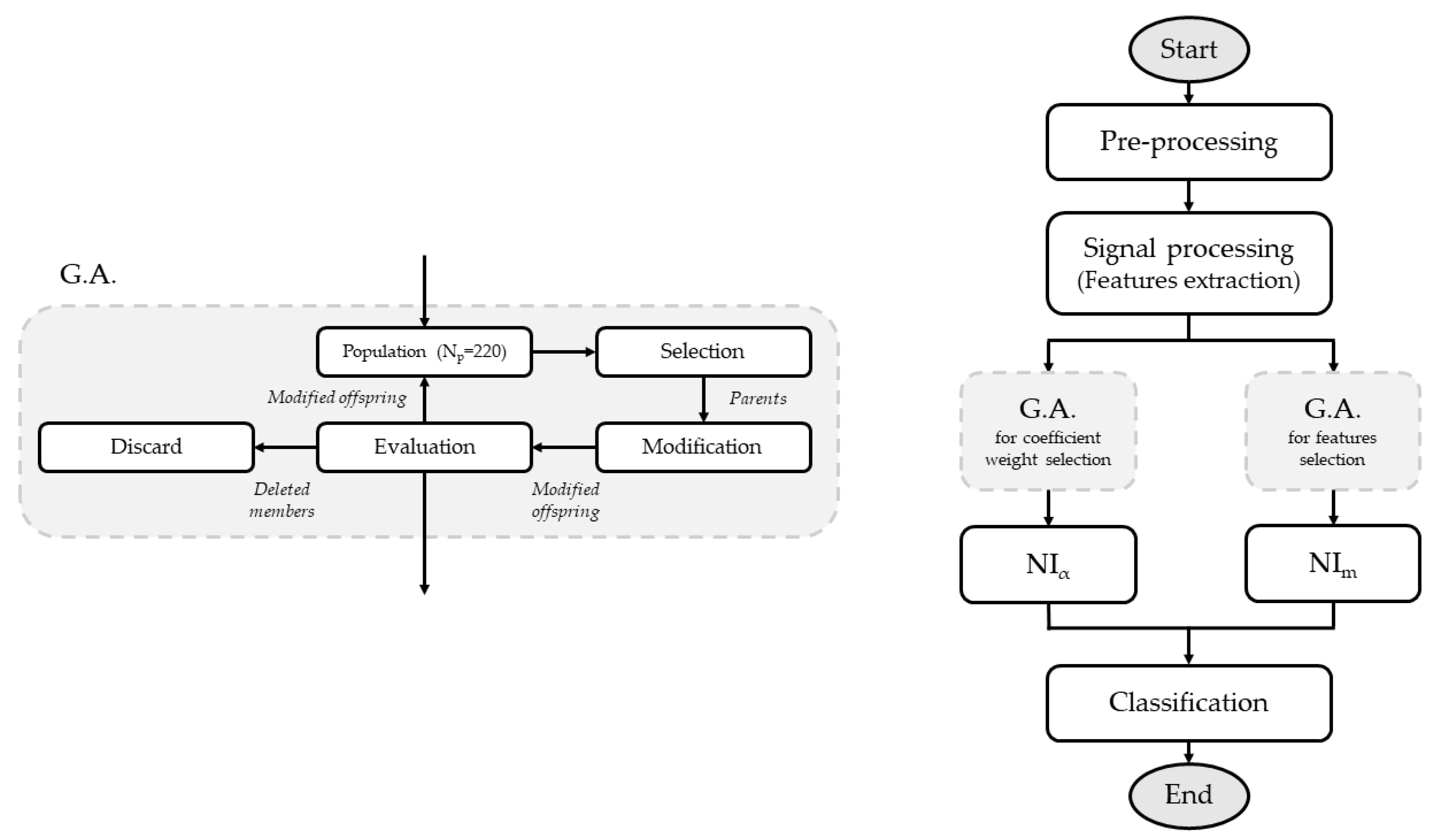
3. Proposed Methodology
4. Results and Discussion
- Accuracy: this represents the ability of the classifier to correctly recognize positive and negative cases.
- Missed Alarms: this indicates cases where degradation exists, but the classifier cannot recognize it.
- False Alarms: unlike Missed Alarms, this represents the percentage of cases out of the total in which the machinery is healthy, but the algorithm assumes damage. Both the F.A.s and the M.A.s are important indices and could be preferred over the accuracy for safety or economic reasons.
- Class Errors Rate: this index allows for recognizing how many tests have not been correctly classified, despite being recognized as unhealthy. Therefore, it represents the error made in identifying the specific damage.
- Performance Index: this is a redundant index, as it is the product of the indices seen so far, but allows for observing, simultaneously, the set of previous performances.
- Frobenius Norm: this is a matrix norm defined as the square root of the sum of the absolute squares of its elements.where is the confusion matrix after having standardized it by columns and subtracting the identity matrix, are the elements of the matrix and are the numbers of the fault classes. In this way, the results obtained in terms of the Frobenius norm will be greater than or equal to 0. In detail, the larger the norm, the worse the classification and vice versa.
- AUC: the area under the receiver operating characteristic (ROC) curve. The AUC provides a combined measure of performance across all possible classification thresholds.
5. Conclusions
Author Contributions
Funding
Institutional Review Board Statement
Informed Consent Statement
Data Availability Statement
Conflicts of Interest
Appendix A
| Sensors | vCnt | vFreq | vMax | vMin | vStd | vTrend | Value |
|---|---|---|---|---|---|---|---|
| CpuTemperature | X | X | X | X | |||
| DurationPickToPick | X | X | X | X | X | X | X |
| DurationRobotFromFeederToTestBench | X | X | X | X | X | X | X |
| DurationRobotFromTestBenchToFeeder | X | X | X | X | X | X | X |
| DurationTestBenchClosed | X | X | X | X | X | X | X |
| EPOSCurrent | X | X | X | X | X | X | X |
| EPOSPosition | X | X | X | X | X | X | X |
| EPOSVelocity | X | X | X | X | X | X | X |
| ErrorFrame | X | X | |||||
| FeederAction1 | X | ||||||
| FeederAction2 | X | ||||||
| FeederAction3 | X | ||||||
| FeederAction4 | X | ||||||
| FeederBackgroundIlluminationIntensity | X | X | X | X | X | X | X |
| FuseCycleDuration | X | X | X | X | X | X | X |
| FuseHeatSlope | X | X | X | X | X | X | X |
| FuseHeatSlopeNOK | X | X | X | X | X | X | X |
| FuseHeatSlopeOK | X | X | X | X | X | X | X |
| FuseIntoFeeder | X | ||||||
| FuseOutsideOperationalSpace | X | X | X | X | X | X | X |
| FusePicked | X | X | X | X | X | X | X |
| FuseTestResult | X | X | X | X | X | X | X |
| Humidity | X | ||||||
| IntensityTotalImage | X | X | X | X | X | X | X |
| IntensityTotalThermoImage | X | X | X | X | X | X | X |
| LightBarrieActiveTaskDuration2 | X | X | |||||
| LightBarrierActiveTaskDuration1 | X | X | X | X | X | X | X |
| LightBarrierActiveTaskDuration1b | X | X | |||||
| LightBarrierPassiveTaskDuration1 | X | X | X | X | X | X | X |
| LightBarrierPassiveTaskDuration1b | X | X | |||||
| LightBarrierPassiveTaskDuration2 | X | X | |||||
| LightBarrierTaskDuration | X | X | |||||
| NumberEmptyFeeder | X | ||||||
| NumberFuseDetected | X | X | X | X | X | X | X |
| NumberFuseEstimated | X | X | X | X | X | X | X |
| Pressure | X | X | X | X | X | X | X |
| ProcessCpuLoadNormalized | X | X | X | X | |||
| ProcessMemoryConsumption | X | X | X | X | |||
| SharpnessImage | X | X | X | X | X | X | X |
| SmartMotorPositionError | X | X | X | X | X | X | X |
| SmartMotorSpeed | X | X | X | X | X | X | X |
| Temperature | X | ||||||
| TemperatureThermoCam | X | X | X | X | X | X | X |
| TotalCpuLoadNormalized | X | X | X | X | |||
| TotalMemoryConsumption | X | X | X | X | |||
| Vacuum | X | X | X | X | X | X | X |
| VacuumFusePicked | X | X | X | X | X | X | X |
| VacuumValveClosed | X | X | X | X | X | X | X |
| ValidFrame | X | X | |||||
| ValidFrameOptrisPIIRCamera | X | X |

References
- Jardine, A.K.S.; Lin, D.; Banjevic, D. A Review on Machinery Diagnostics and Prognostics Implementing Condition-Based Maintenance. Mech. Syst. Signal Processing 2006, 20, 1483–1510. [Google Scholar] [CrossRef]
- Gordon, C.A.K.; Burnak, B.; Onel, M.; Pistikopoulos, E.N. Data-Driven Prescriptive Maintenance: Failure Prediction Using Ensemble Support Vector Classification for Optimal Process and Maintenance Scheduling. Ind. Eng. Chem. Res. 2020, 59, 19607–19622. [Google Scholar] [CrossRef]
- Daga, A.P.; Garibaldi, L.; Fasana, A.; Marchesiello, S. ANOVA and Other Statistical Tools for Bearing Damage Detection. In Proceedings of the International Conference Surveillance, Fez, Morocco, 23 May 2017; pp. 22–24. [Google Scholar]
- Castellani, F.; Garibaldi, L.; Daga, A.P.; Astolfi, D.; Natili, F. Diagnosis of Faulty Wind Turbine Bearings Using Tower Vibration Measurements. Energies 2020, 13, 1474. [Google Scholar] [CrossRef] [Green Version]
- Daga, A.P.; Fasana, A.; Marchesiello, S.; Garibaldi, L. The Politecnico Di Torino Rolling Bearing Test Rig: Description and Analysis of Open Access Data. Mech. Syst. Signal Processing 2019, 120, 252–273. [Google Scholar] [CrossRef]
- Daga, A.P.; Garibaldi, L. Machine Vibration Monitoring for Diagnostics through Hypothesis Testing. Information 2019, 10, 204. [Google Scholar] [CrossRef] [Green Version]
- Natili, F.; Daga, A.P.; Castellani, F.; Garibaldi, L. Multi-Scale Wind Turbine Bearings Supervision Techniques Using Industrial SCADA and Vibration Data. Appl. Sci. 2021, 11, 6785. [Google Scholar] [CrossRef]
- Yan, A.-M.; Kerschen, G.; De Boe, P.; Golinval, J.-C. Structural Damage Diagnosis under Varying Environmental Conditions—Part I: A Linear Analysis. Mech. Syst. Signal Processing 2005, 19, 847–864. [Google Scholar] [CrossRef]
- Worden, K. Structural Fault Detection Using a Novelty Measure. J. Sound Vib. 1997, 201, 85–101. [Google Scholar] [CrossRef]
- Worden, K.; Manson, G.; Fieller, N.R.J. Damage Detection Using Outlier Analysis. J. Sound Vib. 2000, 229, 647–667. [Google Scholar] [CrossRef]
- Bull, L.A.; Worden, K.; Fuentes, R.; Manson, G.; Cross, E.J.; Dervilis, N. Outlier Ensembles: A Robust Method for Damage Detection and Unsupervised Feature Extraction from High-Dimensional Data. J. Sound Vib. 2019, 453, 126–150. [Google Scholar] [CrossRef] [Green Version]
- Daga, A.P.; Fasana, A.; Garibaldi, L.; Marchesiello, S. On the Use of PCA for Diagnostics via Novelty Detection: Interpretation, Practical Application Notes and Recommendation for Use. In Proceedings of the PHM Society European Conference, Turin, Italy, 1 July 2020; Volume 5, p. 13. [Google Scholar]
- Marzban, C. The ROC Curve and the Area under It as Performance Measures. Weather. Forecast. 2004, 19, 1106–1114. [Google Scholar] [CrossRef]
- Pimentel, M.A.; Clifton, D.A.; Clifton, L.; Tarassenko, L. A Review of Novelty Detection. Signal Processing 2014, 99, 215–249. [Google Scholar] [CrossRef]
- Japkowicz, N.; Myers, C.; Gluck, M. A Novelty Detection Approach to Classification. In Proceedings of the Fourteenth Joint Conference on Artificial Intelligence, Montreal, QC, Canada, 20–25 August 1995; pp. 518–523. [Google Scholar]
- Markou, M.; Singh, S. Novelty Detection: A Review—Part 2: Neural Network Based Approaches. Signal Processing 2003, 83, 2499–2521. [Google Scholar] [CrossRef]
- Yampolskiy, R.V. Unpredictability of AI: On the Impossibility of Accurately Predicting All Actions of a Smarter Agent. J. Artif. Intell. Conscious. 2020, 7, 109–118. [Google Scholar] [CrossRef]
- Babcock, J.; Kramár, J.; Yampolskiy, R.V. Guidelines for Artificial Intelligence Containment. Next-Gener. Ethics Eng. A Better Soc. 2019, 90–112. [Google Scholar]
- Trazzi, M.; Yampolskiy, R.V. Building Safer AGI by Introducing Artificial Stupidity. arXiv 2018, arXiv:1808.03644. [Google Scholar] [CrossRef]
- Behzadan, V.; Munir, A.; Yampolskiy, R.V. A Psychopathological Approach to Safety Engineering in Ai and Agi. In Proceedings of the International Conference on Computer Safety, Reliability, and Security, Västerås, Sweden, 18–21 September 2018; Springer: Berlin/Heidelberg, Germany, 2018; pp. 513–520. [Google Scholar] [CrossRef]
- Ozlati, S.; Yampolskiy, R. The Formalization of Ai Risk Management and Safety Standards. In Proceedings of the Workshops at the Thirty-First AAAI Conference on Artificial Intelligence, San Francisco, CA, USA; 2017. [Google Scholar]
- Ramamoorthy, A.; Yampolskiy, R. Beyond Mad? The Race for Artificial General Intelligence. ITU J. 2018, 1, 77–84. [Google Scholar]
- Whitley, D. A Genetic Algorithm Tutorial. Stat. Comput. 1994, 4, 65–85. [Google Scholar] [CrossRef]
- Daga, A.P.; Garibaldi, L. GA-Adaptive Template Matching for Offline Shape Motion Tracking Based on Edge Detection: IAS Estimation from the SURVISHNO 2019 Challenge Video for Machine Diagnostics Purposes. Algorithms 2020, 13, 33. [Google Scholar] [CrossRef] [Green Version]
- Sammut, C.; Webb, G.I. Encyclopedia of Machine Learning; Springer Science & Business Media: Boston, MA, USA, 2011. [Google Scholar]
- MacKay, D.J.; Mac Kay, D.J. Information Theory, Inference and Learning Algorithms; Cambridge University Press: Cambridge, UK, 2003. [Google Scholar]
- Köppen, M. The Curse of Dimensionality. In Proceedings of the 5th Online World Conference on Soft Computing in Industrial Applications (WSC5), On the Internet (World-Wide-Web), 4–18 September 2000; Volume 1, pp. 4–8. [Google Scholar]
- Farrar, C.R.; Doebling, S.W. Damage Detection and Evaluation II. In Modal Analysis and Testing; Silva, J.M.M., Maia, N.M.M., Eds.; Springer: Dordrecht, The Netherlands, 1999; pp. 345–378. ISBN 978-94-011-4503-9. [Google Scholar]
- Rytter, A. Vibrational Based Inspection of Civil Engineering Structures; Fracture and Dynamics; Dept. of Building Technology and Structural Engineering, Aalborg University: Aalborg, Denmark, 1993. [Google Scholar]
- Worden, K.; Dulieu-Barton, J.M. An Overview of Intelligent Fault Detection in Systems and Structures. Struct. Health Monit. 2004, 3, 85–98. [Google Scholar] [CrossRef]
- Gao, Z.; Cecati, C.; Ding, S.X. A Survey of Fault Diagnosis and Fault-Tolerant Techniques—Part I: Fault Diagnosis with Model-Based and Signal-Based Approaches. IEEE Trans. Ind. Electron. 2015, 62, 3757–3767. [Google Scholar] [CrossRef] [Green Version]
- Lei, Y.; Yang, B.; Jiang, X.; Jia, F.; Li, N.; Nandi, A.K. Applications of Machine Learning to Machine Fault Diagnosis: A Review and Roadmap. Mech. Syst. Signal Processing 2020, 138, 106587. [Google Scholar] [CrossRef]
- Liu, R.; Yang, B.; Zio, E.; Chen, X. Artificial Intelligence for Fault Diagnosis of Rotating Machinery: A Review. Mech. Syst. Signal Processing 2018, 108, 33–47. [Google Scholar] [CrossRef]
- Lo, N.G.; Flaus, J.-M.; Adrot, O. Review of Machine Learning Approaches in Fault Diagnosis Applied to IoT Systems. In Proceedings of the 2019 International Conference on Control, Automation and Diagnosis (ICCAD), Grenoble, France, 2–4 July 2019; pp. 1–6. [Google Scholar]
- Biggio, L.; Russi, M.; Bigdeli, S.; Kastanis, I.; Giordano, D.; Gagar, D. PHME Data Challenge. Eur. Conf. Progn. Health Manag. Soc. 2021. [Google Scholar]
- De Maesschalck, R.; Jouan-Rimbaud, D.; Massart, D.L. The Mahalanobis Distance. Chemom. Intell. Lab. Syst. 2000, 50, 1–18. [Google Scholar] [CrossRef]
- Tharwat, A.; Gaber, T.; Ibrahim, A.; Hassanien, A.E. Linear Discriminant Analysis: A Detailed Tutorial. AI Commun. 2017, 30, 169–190. [Google Scholar] [CrossRef] [Green Version]
- Kataria, A.; Singh, M.D. A Review of Data Classification Using K-Nearest Neighbour Algorithm. Int. J. Emerg. Technol. Adv. Eng. 2013, 3, 354–360. [Google Scholar]
- Myles, A.J.; Feudale, R.N.; Liu, Y.; Woody, N.A.; Brown, S.D. An Introduction to Decision Tree Modeling. J. Chemom. 2004, 18, 275–285. [Google Scholar] [CrossRef]
- Suthaharan, S. Support Vector Machine. In Machine Learning Models and Algorithms for Big Data Classification: Thinking with Examples for Effective Learning; Suthaharan, S., Ed.; Integrated Series in Information Systems; Springer: Boston, MA, USA, 2016; pp. 207–235. ISBN 978-1-4899-7641-3. [Google Scholar]
- Wickramasinghe, I.; Kalutarage, H. Naive Bayes: Applications, Variations and Vulnerabilities: A Review of Literature with Code Snippets for Implementation. Soft Comput. 2021, 25, 2277–2293. [Google Scholar] [CrossRef]
- Xu, Q.-S.; Liang, Y.-Z. Monte Carlo Cross Validation. Chemom. Intell. Lab. Syst. 2001, 56, 1–11. [Google Scholar] [CrossRef]
- Kotu, V.; Deshpande, B. Predictive Analytics and Data Mining: Concepts and Practice with Rapidminer; Morgan Kaufmann: Waltham, MA, USA, 2014. [Google Scholar]
- Daga, A.P.; Fasana, A.; Garibaldi, L.; Marchesiello, S. Big Data Management: A Vibration Monitoring Point of View. In Proceedings of the 2020 IEEE International Workshop on Metrology for Industry 4.0 & IoT, Roma, Italy, 3–5 June 2020; pp. 548–553. [Google Scholar]






| True Class 0 | True Class 1 | True Class … | True Class k | True Class … | True Class K | |
|---|---|---|---|---|---|---|
| Predicted Class 0 | TN0 | FN1 | FN… | FNk | FN… | FNK |
| Predicted Class 1 | FP1 | TP1 | CE1,… | CE1,k | CE1,… | CE1,K |
| Predicted Class … | FP… | CE…,1 | TP… | CE…,k | CE | CE |
| Predicted Class k | FPk | CEk,1 | CEk,… | TPk | CEk,… | CEk,K |
| Predicted Class … | FP… | CE…,1 | CE…,… | CE…,k | TP… | CE…,K |
| Predicted Class K | FPK | CEK,1 | CEK,… | CEK,k | CEK,… | TPK |
| Index | LDA | KNN | Decision Tree | Linear SVM | Gaussian N.B. | Kernel N.B. |
|---|---|---|---|---|---|---|
| Accuracy | - | 81.6% | 75.7% | 55.9% | - | 71.4% |
| Missed Alarms | - | 15.6% | 6.3% | 10.3% | - | 28.6% |
| False Alarms | - | 1.4% | 8.0% | 23.4% | - | 0.0% |
| Class Errors | - | 1.4% | 10.0% | 10.4% | - | 0.0% |
| P.I. | - | 67.0% | 58.7% | 34.4% | - | 51.0% |
| Frobenius N. | - | 2.35 | 2.05 | 2.16 | - | 3.16 |
| AUC | - | 0.99 | 1.00 | 0.80 | - | 1.00 |
| Index | LDA | KNN | Decision Tree | Linear SVM | Gaussian N.B. | Kernel N.B. |
|---|---|---|---|---|---|---|
| Accuracy | 96.9% | 95.8% | 89.9% | 91.1% | 92.4% | 89.1% |
| Missed Alarms | 1.6% | 1.9% | 0.3% | 1.7% | 0.4% | 3.7% |
| False Alarms | 0.0% | 0.0% | 1.0% | 0.3% | 1.0% | 0.5% |
| Class Errors | 1.5% | 2.3% | 8.9% | 6.9% | 6.2% | 6.7% |
| P.I. | 93.9% | 91.8% | 80.9% | 83.1% | 85.5% | 79.7% |
| Frobenius N. | 0.54 | 0.73 | 1.60 | 0.98 | 0.92 | 1.33 |
| AUC | 1.00 | 1.00 | 1.00 | 1.00 | 1.00 | 1.00 |
| Index | KNN | Decision Tree | Linear SVM | Kernel N.B. |
|---|---|---|---|---|
| Accuracy | 14.2% | 14.3% | 35.2% | 17.7% |
| Missed Alarms | 13.7% | 6.1% | 8.6% | 24.9% |
| False Alarms | 1.4% | 7.0% | 23.1% | -0.5% |
| Class Errors | −0.9% | 1.2% | 3.5% | -6.7% |
| P.I. | 24.8% | 22.3% | 48.7% | 28.7% |
| Frobenius N. | 221.5% | 28.1% | 121.4% | 137.8% |
| AUC | 0.6% | 0.2% | 20.1% | 0.0% |
| Dataset | Average Elapsed Time (%) per Cycle |
|---|---|
| Original dataset with “n” features | 100.0% |
| ) | 3.3% |
Publisher’s Note: MDPI stays neutral with regard to jurisdictional claims in published maps and institutional affiliations. |
© 2022 by the authors. Licensee MDPI, Basel, Switzerland. This article is an open access article distributed under the terms and conditions of the Creative Commons Attribution (CC BY) license (https://creativecommons.org/licenses/by/4.0/).
Share and Cite
Viale, L.; Daga, A.P.; Fasana, A.; Garibaldi, L. From Novelty Detection to a Genetic Algorithm Optimized Classification for the Diagnosis of a SCADA-Equipped Complex Machine. Machines 2022, 10, 270. https://doi.org/10.3390/machines10040270
Viale L, Daga AP, Fasana A, Garibaldi L. From Novelty Detection to a Genetic Algorithm Optimized Classification for the Diagnosis of a SCADA-Equipped Complex Machine. Machines. 2022; 10(4):270. https://doi.org/10.3390/machines10040270
Chicago/Turabian StyleViale, Luca, Alessandro Paolo Daga, Alessandro Fasana, and Luigi Garibaldi. 2022. "From Novelty Detection to a Genetic Algorithm Optimized Classification for the Diagnosis of a SCADA-Equipped Complex Machine" Machines 10, no. 4: 270. https://doi.org/10.3390/machines10040270
APA StyleViale, L., Daga, A. P., Fasana, A., & Garibaldi, L. (2022). From Novelty Detection to a Genetic Algorithm Optimized Classification for the Diagnosis of a SCADA-Equipped Complex Machine. Machines, 10(4), 270. https://doi.org/10.3390/machines10040270

