Next Article in Journal
Investigation of Pozzolan Activity, Chemical and Granulometric Composition of Micro- and Nanosilicon of the Bratsk Ferroalloy Plant
Next Article in Special Issue
Mechanism Research for the Influence of TiO2 Content on the Shape Transformation of Rutile Crystals
Previous Article in Journal
Assessment of the Potential for CO2 Storage and Utilization in the Fractured and Porous Reservoir of the Cambrian Sandstones in West Lithuania’s Baltic Basin
Previous Article in Special Issue
A Study on the Production of Anhydrous Neodymium Chloride through the Chlorination Reaction of Neodymium Oxide and Ammonium Chloride
 
 
Font Type:
Arial Georgia Verdana
Font Size:
Aa Aa Aa
Line Spacing:
Column Width:
Background:
Article

Experimental Simulation Studies on Non-Uniform Fluidization Characteristics of Two-Component Particles in a Bubbling Fluidized Bed

1
College of Materials Science and Engineering, Chongqing University, Chongqing 400044, China
2
State Key Laboratory of Advanced Metallurgy, University of Science and Technology Beijing, Beijing 100083, China
*
Authors to whom correspondence should be addressed.
Minerals 2024, 14(11), 1113; https://doi.org/10.3390/min14111113
Submission received: 24 September 2024 / Revised: 24 October 2024 / Accepted: 28 October 2024 / Published: 31 October 2024

Abstract

Taking the fluidized pre-reduction process of iron ore powder bubbling fluidized bed as the background, for the problem of non-uniform structure in the bed of gas-solid fluidization process, the non-uniform fluidization characteristics of bicomponent particles are investigated in a cold two-dimensional bubbling fluidized bed by using a combination of physical experiments and mathematical simulations. Fluidization experiments were carried out under typical working conditions by using glass beads to study the effects of apparent gas velocity, mass ratio, and other factors on the non-uniform structure in the bed. Through the experimental observation of the bubble behavior, the effect of the cyclic change in bubble formation, rise and growth to rupture on the bed uniformity were analyzed. The experiments showed that the fluidized bed of two-component particles would be stratified, and the non-uniformity was strong in the upper part and weak in the lower part, and the apparent gas velocity and particle size were the main influencing factors. Based on the Euler-Lagrange reference frame modeling, the fluidization process of the two-dimensional bubble bed was simulated by the CFD-DEM method. The simulations of typical experimental conditions were carried out to further analyze the velocity distribution and the volume ratio of each phase in the bed from the gas-solid interaction level, revealing that the velocity distribution in the upper part of the bed is not uniform, and the gas flow is strongly perturbed, with intense bubble aggregation. The results reveal the reasons for the non-uniform phenomenon of gas-solid fluidization, which can provide a theoretical basis for the regulation of the non-uniform structure of the fluidization process.

1. Introduction

With high heat and mass transfer efficiency and good reaction performance, a fluidized bed reactor has good potential for application in non-blast furnace ironmaking. However, the generation of non-uniform structure in the fluidization process easily leads to many problems, which makes it difficult for the fluidized bed to exert the corresponding advantages, such as the short-circuiting problem of gas groove flow caused by too large bubble size and too fast bubble rising speed, which leads to the low utilization of reducing gas, and the problem of particle segregation and delamination caused by inappropriate particle size distribution and apparent gas velocity, which leads to the uneven heat transfer and reaction within the bed and decreases the effect of reduction of iron ore powder. There is an urgent need to improve the situation of the non-uniform structure in the bed. Therefore, the study of non-uniform structure in the fluidization process is of great significance to improve the utilization rate of reducing gas, enhance the reduction effect of iron ore powder, and promote the development of fluidized metallurgy.
In the gas-solid bubbling fluidized bed, due to the motion characteristics of the bubbles and the agglomeration characteristics of the particles, the flow structure in the fluidized bed presents local non-uniformity [1], which is manifested in the bubble phase and the dense phase of the particles in the local area. Not only in the radial and axial macroscopic structure, the density distribution of the bed is inhomogeneous, but also in the local microstructure of the bed, there is inhomogeneity of gas-solid segregation, which manifests itself in the bubbles’ cavities and the particles’ agglomerates [2]. Due to the complexity of the bubble evolution process, some scholars mainly study the behavioral characteristics of bubbles through experiments. Shen et al. [3] conducted experiments with particles of average particle sizes of 0.15 mm, 0.46 mm, and 0.79 mm, and studied the bubble behavior in two-dimensional beds by using digital image analysis technology. The results showed that the bubble diameter increases with the increase in fluidization velocity. Within a certain bed height H, the bubble diameter increases with the increase in the bed height, and when the bed height increases to a certain value, the bubble diameter will reach a stable maximum value. Zhang et al. [4] experimentally investigated the effects of particle diameter, apparent gas velocity, and distribution plate openings on the distribution of bubbles. The results showed that the bubble concentration was unevenly distributed along the bed height. With the increase in the particle diameter, the fluidization velocity, and the distribution of plate openings, the distribution of bubble concentration was unevenly distributed. Mudde et al. [5] used digital image processing technology to process the bubbles in the bed. The results showed that the bubble size increased with the increase in apparent gas velocity, and the bubble diameter increased linearly with the height of the bed where it was located. Laverman et al. [6] investigated the solids circulation pattern and bubble behavior of a bubbling fluidized bed by a combination of particle image velocimetry (PIV) and digital image analysis (DIA). The solid circulation pattern and bubble behavior in a bubbling fluidized bed were investigated by a combination of particle image velocimetry (PIV) and digital image analysis (DIA). Wei Nan et al. [7] investigated the effects of inlet pipe diameter, particle bed height, and particle size on the bubble detachment diameter and the bubble generation cycle using high-speed camera techniques, as well as compared the differences in bubble generation and detachment behavior between the surface of the particle bed and the mouth of the inlet pipe. Yuan Zemin et al. [8] investigated the effects of apparent gas velocity on the kinetic properties of classical B-particle bubbles by using digital image analysis (DIA). The results show that, for the same particle system, the apparent gas velocity had a significant effect on the bubble equivalent diameter, while it had little effect on the bubble size distribution, the average bubble density distribution, and the bubble aspect ratio distribution. Han Bowen et al. [9] used an image processing method for the identification of bubbles in a two-dimensional gas-solid fluidized bed, and investigated the bubble characteristics of the particles in the fluidized bed and the bed expansion characteristics. The results showed that the bubble size and bubble rise velocity increased with the increase in bed height and gas velocity. Chen Heng Zhi et al. [10] investigated the effect of the mixing state of binary particles on bubble behavior in a 2D fluidized bed by using digital image analysis. Experimental results showed that the binary particles were in different mixing states though they were in the steady fluidization state. Yuan Ze Min et al. [11] studied the effects of particle size on bubble dynamic behaviors in a quasi-two-dimensional gas-solid fluidized bed. The bubble dynamic behaviors, including bubble equivalent diameter, bubble size distribution, average bubble density, bubble aspect ratio, bubble holdup, bed expansion ratio, bubble velocity, and bubble rising angle, at full bubbling fluidization were derived by digital image analysis post-processing technique.
In recent years, the CFD-DEM method has been extensively applied in the study of fluidized beds. Because the 3D models can more accurately simulate particle behavior and flow characteristics, 3D models have become the research trend [12]. The simulation of non-spherical particles [13], heat transfer [14], and chemical reactions [15], as well as the application of computational acceleration techniques, significantly improve the practicability and accuracy of CFD-DEM models. In addition, the application of fluidized bed technology in emerging areas such as biomass energy conversion and waste processing [16,17]. Mathematical simulations have been gradually applied to the study of bubbling beds. Asegehegn et al. [18] used a two-fluid model to numerically simulate two-dimensional and three-dimensional gas-solid fluidized beds, respectively, and investigated the aspect ratio, diameter, rise velocity, and expansion rate of the bubbles. The results showed that the two-dimensional simulation results matched well with the experimental results and the three-dimensional simulation results in the bubble state, but the simulation results deviated from the experimental results under the high apparent gas velocities. At higher apparent gas velocities, the simulation results deviate from the experimental results, and for a two-dimensional bed, the influence of the front and back walls on the bubbles increases with the increase in size. Mostafaei et al. [19] simulated the generation process of individual bubbles in a two-dimensional rectangular fluidized bed based on the CFD-DEM method, and investigated the relationship between the bubble dynamics and the pressure fluctuations. The results show that the pressure decreases when bubbles start to form on the distribution plate, reaches a minimum when the bubbles are detached from the distribution plate and starts to increase again as the bubbles rise in the bed. Li Bin et al. [20] simulated the bubble-particle dynamics inside the bubbling bed based on the LBM-DEM method, and the results showed that the time-averaged velocity distribution of the particles could respond to the motion process of the bubbles. Jia et al. [21], based on the traction model of the bubble structure, classified the non-homogeneous flow structure into the dense phase of the particle domain and the bubble phase, assumed the processing of the particles inside the bubbles, and constructed a traction model of the multi-discrete structure. The results of the new model were found to be basically consistent with the experimental data, which can well represent the distribution state of the particles at the top of the bed. Xie et al. [22] investigated the inlet velocity and particle size ratio on the particle mixing and separation behavior of the binary particle system based on the three-fluid CFD method and defined new mixing indexes. The results showed that it is easier to achieve particle delamination with high air velocity and large particle size ratio under the simulation conditions. Luo Jiewen Xie et al. [23] applied the structural two-fluid model to the numerical simulation of the bubbling fluidized bed, and the simulation results show that the structural two-fluid model can successfully predict the gas-solid flow characteristics within the bubbling bed system, and the simulation results are in good agreement with the experimental data, which verifies the applicability of the structural two-fluid model within the bubbling fluidized bed system. At the same time, it is determined that the bubble diameter affects the interaction of the rarefied/dense phase and has a significant effect on the simulation results. Xie et al. [24] investigated the bubbling behavior and bed state of fluidized beds with different shapes based on the CFD-DEM method. The simulation results show that the fluidized bed in the trough has the most significant variation range and the largest bubble cross-sectional area. In addition, the velocity of the flow field is mainly larger at the bottom of the bed due to the effect of particles. With the increase in height, the velocity of the flow field relatively decreases. Jang et al. [25] used a two-phase flow model incorporating the theory of particle flow dynamics to investigate the effect of gas distributor design on the bubble size distribution and the rise velocity in the fluidized bed. The results show that the geometry of the gas distributor has a significant effect on the bubble behavior in a gas-solid fluidized bed, and the bubble diameter and bubble rise velocity increase with the increase in gas velocity. The deviation in bubble size is insignificant at lower bed heights. Jaiswal et al. [26] investigated the bubble characteristics of a bubbling fluidized bed reactor using computational particle hydrodynamics simulations and capacitance tomography measurements. The results of the study showed that the bubble rise velocity is directly related to the bubble diameter and the average bubble diameter increases with the increase in apparent gas velocity, due to the appearance of large bubbles decreasing with further increase in gas velocity. Zhao Zhenjiang et al. [21] studied the effects of particle diameter and inlet flow rate on gas-solid flow patterns of fluidized beds by coupling CFD and DEM. The results show that the fluidization in the fluidized bed will change from bubbling fluidization to turbulent fluidization, and the conversion process is related to the particle diameter and inlet flow rate. At present, the study of bubbles still needs to be further deepened, the effect of multi-factor coupling is still unclear, and the study of the effect of the velocity field in the bed on bubbles is still imperfect.
In summary, although there have been many studies on bubble characteristics and particle segregation in fluidized beds, the current study on bubble characteristics still focuses on a single factor, without considering the coupling relationship between different factors. The influence of bubble periodic movement on the non-uniform structure in the bed is still unclear, and the degree of influence of different factors on non-uniform structures has not been explored. The effect of bubble characteristics, particle segregation aggregation, and velocity distribution on the non-uniform structures is not clear. There is little research on the control of non-uniform structures of fluidized beds, and no appropriate control strategy has been proposed and corresponding operating conditions have been summarized. As a result, the design and operation of fluidized bed reactors are still mainly dependent on experience, and the research on the characteristics of non-uniform structures in bubbling fluidized bed reactors can not meet the needs of theory and practice. Therefore, against the background of the fluidization pre-reduction process of iron ore powder bubbling fluidized bed, for the problem of non-uniform structure in the bed of gas-solid fluidization process, from the point of view of facilitating the observation of the bubble behavior, the non-uniform fluidization characteristics of two-component particles are investigated by using a combination of physical experiments and mathematical simulations with a cold two-dimensional bubbling fluidized bed as the object. Orthogonal experiments are carried out to investigate the influence of different factors on the nonuniform structure in the case of multifactor coupling, to study the influence of the periodic motion of the bubbles on the nonuniform structure of the bed, and to study the velocity distribution and particle aggregation in the bed, as well as the characteristics of the nonuniform structure. The whole paper is organized as follows: Section I outlines the current status of the non-uniform structure research on bubbling fluidized beds, summarizes the problems and shortcomings, and puts forward the research content. Section 2 introduces the fluidized bed experimental system and the corresponding acquisition device, and designs the experimental scheme. Section 3 introduces the CFD-DEM theoretical method. Section 4 discusses and analyzes the experimental results. Section 5 summarizes the whole paper. The results of this paper can reveal the reasons for the non-uniform phenomenon of gas-solid fluidization, elucidate the law of non-uniform structural characteristics within the bubbling bed under the condition of multi-factor coupling, and provide a theoretical basis for the non-uniform structural regulation of the fluidization process.

2. Experimental Setup and Main Parameters

2.1. Experimental Setup

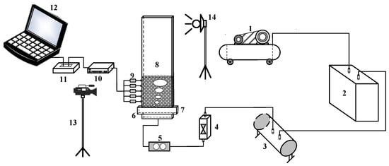
Two-dimensional Bubble Fluidized Bed Experiment. The system consists of the main body of the two-dimensional bubble fluidized bed and three major modules: pressure acquisition module, gas supply module, and image acquisition module. The pressure acquisition module includes a pressure sensor, data acquisition card, and computer; the gas supply module includes an air compressor, refrigerated air dryer, gas buffer tank, and rotor flow controller; the image acquisition module includes a high-speed camera and lighting equipment. The two-dimensional bubbling bed experimental system is shown in Figure 1.

2.2. Experimental Parameters

With 2500 kg/m3 of Geldart B and Geldart D beads as fluidized particles and using air as the fluidization gas, after condensation and drying into the fluidized bed, a high-speed camera was used to record the experimental process. Numerical image processing technology was applied to process the experimental images and analyze the aggregation of bubbles in a cycle of the phenomenon of rupture. Combined with the theory of fluidization, the orthogonal parameters of two-component particles were designed to carry out the fluidization experiments, ensuring that the experimental process was in complete fluidization. To study the effect of multi-factor coupling conditions, a total of 16 groups of experiments were conducted. The two-component particle fluidization experiment was designed with orthogonal parameters to ensure that the experimental process was in complete fluidization and to study the effect of multi-factor coupling on the bubbles. The two-component particles factor level table is shown in Table 1. According to Table 1, four-factor, four-level orthogonal experiments were designed, with a total of 16 groups of experiments.

2.3. Data Processing Methods

A high-speed camera was used to record the fluidization process, and the experimentally captured video was processed into photographs in frames using Matlab R2021b, with each frame taking about 8.33 × 10−3 s. The obtained photographs were then binarized, and the image processing flow is shown in Figure 2.
The actual area of the region is proportional to the number of pixels, so the number of pixels in the bubble region can be calculated to obtain the actual area and size of the bubble. The calculation method is shown in Equations (1) and (2):
M = m × M 0 m 0
d b = 4 M π
where m0 is the number of pixel points contained in the two-dimensional bed area, m is the number of pixel points contained in the bubble area, M0 is the area of the two-dimensional bed area, M is the area of the measured bubbles, and db is the equivalent diameter of the bubbles, and the position at the center of the bubble shape is used as the bubble position to calculate the rising speed of the bubbles by selecting two photos.

3. Mathematical Modeling

The movement of mixed particles in the fluidized bed system belongs to dense phase flow. According to the flow control mechanism, the bubbling fluidized bed system is divided into a gas-dominated continuous phase and a particle-dominated discrete phase. The gas-solid drag force is introduced to solve the governing equation. Based on the continuum hypothesis, the CFD-DEM method uses Navier–Stokes governing equations to solve the fluid motion, and tracks the motion and force of each real particle under the Lagrange framework, so as to realize the coupling calculation of particle phase and fluid phase. Scholars [27,28] have applied the CFD-DEM method to the solution of the dense phase process with good results.

3.1. Particle Phase Modeling

The particle phase adopts the soft sphere model in the discrete unit method to analyze the force of individual particles through Newton’s law of motion, while considering the deformation of particles and multi-body collision, and comprehensively analyzing the motion of particles. The specific expressions of the model are shown in Equations (3) and (4):
m i d u s d t = j = 1 n ( F n , i j + F s , i j ) + F d + m i g V i p
I i d w i d t = j n ( T t , i j + T r , i j )
In the above equation, t is time (s), mi, us, Fn,ij, Fs,ij, Vi are particle mass (mg), particle velocity (m/s), particle elastic force (N), particle damping force (N), and particle volume (m3), respectively; Ii, wi, Tt,ij, Tr,ij are moments of inertia, angular velocity, tangential moment, and rotational moment; and g is the acceleration of gravity, which is taken as 9.81 m/s.

3.2. Gas-Phase Modeling

Using the finite volume method, the mass and momentum conservation equations for the gas phase and the gas phase stresses in the control cell are shown in Equations (5)~(7), respectively:
( ε g ρ g ) t + ( ε g ρ g u g ) = 0
( ε g ρ g u g ) t + ( ε g ρ g u g u g ) = ε g ρ g g + ε g τ g ε g p g + β g s ( u s i u g )
τ g = μ g [ u g + ( u g ) T ] 2 3 μ g ( u g ) I
In the above equation, t is the time (s); εg, ρg, u g , Pg, τ g , μ g are the volume fraction of the gas phase, gas density (kg/m3), gas velocity (m/s), the gas phase pressure (Pa), the gas phase viscous stress tensor, the gas phase viscosity (Pa·s); g is the gravitational acceleration, taken as 9.81 m/s; β g s is the coefficient of the tracer effect of the gas phase on the particulate phase, which varies among different tracer models; I is the unit tensor.

3.3. Towing Force Model

The drag effect between gas and solid significantly influences the fluidized state in the bed and determines the degree of momentum exchange between the gas and particle phases. Therefore, the drag model plays a crucial role in ensuring stability when calculating gas-solid two-phase flow using coupling methods, with the particle drag value exerting a significant influence on simulation results. Zhang Ke [28] investigated how Gidaspow, Syamlal-O’Brien, and Koch-Hill drag models affect simulation results when employing the CFD-DEM method. Overall, the simulation results obtained using the Gidaspow model closely match experimental findings. The expression of the Gidaspow drag model is shown in Equation (8):
β g s = 3 4 C D ε s ε g ρ g u s u g d s ε g 2.65 ε s < 0.2 150 ε s 2 μ g ε g d s 2 + 1.75 ε s ρ g u s u g d s ε s 0.2
C D = 24 ε g Re s 1 + 0.15 ε g Re s 0.687 ε g Re s < 1000 0.44 ε g Re s 1000
Re s = ρ g d s u s u g μ g
In the above equation, C D is the drag coefficient. ε s , u s and d s are the volume fraction of the particles, particle velocity (m/s), and particle diameter (m). R e s is the particle Reynolds number.

3.4. Model Validation

In order to verify the correctness and validity of the model, the two-dimensional bubbling fluidization process was simulated using the constructed mathematical model, following the meshing method and the conditions given in Owoyemi literature [29]. The model uses a homogenized computational grid with 5376 grids; the bed is filled by a mass generation with a filling rate of 0.02 kg/s; the two types of particles are packed according to a mass ratio of 1:1 and the total number of particles is 20,100. The Gidaspow model was chosen for the particle trailing force model and k ε two-equation model for the gas turbulence model, with 20 iterations at each time step. The simulation results of the model developed in this paper and the literature simulation results are compared in Figure 3. Figure 3a,b show the literature experimental results, the literature numerical simulation results, and the computational results of the model developed in this paper at 0 s and 4 s, respectively. The orange and red regions in the calculation results are bubble cavities, and the blue region is the particle aggregation area; 0 s is the initial time of simulation, when particles accumulate at the bottom of the bed. The experimental results of the literature [29], numerical simulation results of the literature [29], and the calculation results of the model in the paper at 0 s are compared and they are shown in Figure 3a. Then, bubbles begin to appear in the bed with the blowing in of the fluidized gas. The experimental results of the literature [29], numerical simulation results of the literature [29], and the calculation results of the model built in the paper at 4 s are compared and they are shown in Figure 3b. As can be seen from Figure 3, the calculation results of the model built in this paper have the same trend of bubble movement as the experimental and calculation results in the literature; comparing the gas-phase volume percentage in the bed at the moment of 4 s, it can be seen that the bubble movement simulated by the model built in this paper has the same law with the experimental and simulation results in the literature, which indicates that the model built in this paper can effectively simulate the bubble movement law in the bed.

4. Discussion and Analysis of Experimental and Simulation Results

According to the experimental scheme given in Table 1, the two-dimensional bubbling fluidized bed experiment was carried out. The two-component particle experiment was carried out with two types of glass beads B and D. Firstly, the pressure drop and fluidization velocity in the bed were measured. After the bed entered the full fluidization state, the periodic motion of bubble growth and rise and the bubble characteristics were studied, and the influence of each factor on the bubble characteristics was studied. Then, the numerical simulation calculations were carried out under the same conditions using the established model to study the non-uniform fluidization characteristics of two-component particles in a two-dimensional bubbling fluidized bed.

4.1. Influence of Bubble Motion Period on BED Nonuniformity

It can be found through experiments that when the glass beads in the two-dimensional bubbling bed reach a fully fluidized state, the generation, rise, and rupture of bubbles in the bed will show a periodic motion pattern. Figure 4 gives the bubble motion cycle when the particle size composition of two-component glass beads is 400~500 μm:700~800 μm as 2:8, and the apparent gas velocity is 0.347 m/s. As can be seen in Figure 4, the bubbles continue to merge, rupture, and grow in the rising process. The labeled bubbles are merged with the surrounding bubbles in 0.083 s and 0.333 s, and the narrow bubble in the lower right corner is ruptured by the influence of the bubble tail vortex in the upper left corner of the bubble in the moment of 0.250 s. The bubble is ruptured into two smaller bubbles in the moment of 0.333 s, and the analysis of the frame-by-frame analysis reveals that the force of the bubble tail vortex on the surrounding bubbles is the main factor inducing the rupture of the surrounding bubbles. These two bubbles are attracted by the large bubble tail vortex and all of them merge into the large bubble in the time before 0.417 s. These two bubbles are attracted by the tail vortex of the large bubble before 0.417 s, and all of them are merged into the large bubble.
Figure 5 gives the bubble motion cycle when the glass bead particle size composition is 500~600 μm:600~700 μm as 4:6, and the apparent gas velocity is 0.486 m/s. The bubble motion cycle is shown in Figure 5. Compared with the experimental conditions in Figure 4, the particle size and ratio of the two-component glass beads in Figure 5 are different, and the apparent gas velocity increases. Compared with Figure 4, when the apparent gas velocity increases, it takes a relatively shorter time for the bubbles to complete one motion cycle on average, the bubbles are perturbed more during the rising process, and the non-uniform structure in the bubbling fluidized bed is more obvious. Comparing the 0.25 s moments in Figure 4 and Figure 5, it can be found that the bubble equivalent diameter increases significantly when the apparent gas velocity increases, which is consistent with the results of the literature [3,5,8,9,17,18] study. Calculation of the gas content within the bed after expansion shows that the gas content within the bed fluctuates between 0.295 and 0.379 in one cycle. In the first half of the cycle, the distribution of bubbles within the bed is more uniform, and the difference in bubble size under the same bed height is small; in the second half of the cycle, the distribution of bubbles is poorly uniform, the difference in bubble size under the same bed height increases, and the non-uniformity within the bed is enhanced. The cyclic movement of bubbles during the experiment is continuous and uninterrupted; the whole presents the state of strong non-uniformity in the upper part of the bed and weak non-uniformity in the lower part. Comparing the results of multiple sets of experiments, the same law as these two sets of experimental results can be found: in the fully fluidized state and maintaining other conditions constant, an increase in apparent gas velocity will further increase the nonuniformity in the upper part of the bed.

4.2. Effect of Apparent Gas Velocity on Bubble Characteristics

Figure 6 gives the rule of change in bubble diameter with apparent gas velocity under different particle size compositions. When the two-component particle size and particle size ratio are different, the change rule of bubble diameter with apparent gas velocity is different. From Figure 6a, it can be seen that under the experimental conditions, when the two-component particles in the B class particle size are larger and the D class particle size is smaller, the bubble equivalent diameter with the increase in the apparent gas velocity increases linearly. From Figure 6b, it can be seen that under the experimental conditions, when the two-component particles in the Geldart B particle size are small and the Geldart D particle size is large, or the Geldart B and Geldart D particle size is relatively small, the bubble diameter first with the increase in apparent gas velocity and increase; when the apparent gas velocity increases to a certain value, the bubble equivalent diameter tends to stabilize. Analyzing Figure 6b shows that the smaller the particle size of Geldart B particles, the easier it is to reach the limiting value of bubble equivalent diameter; the smaller the ratio of the particle size of Geldart B particles to that of Geldart D particles, the easier it is to reach the limiting value of bubble equivalent diameter. This is because, in the bubbling fluidized bed with a two-component mixing of Geldart B and Geldart D particles, during the fluidization process, the Geldart B particles with smaller particle sizes located in the middle and lower part of the bed are carried by the tail vortex of the bubbles and move from the bottom to the top of the bed with the rise and rupture of the bubbles. With the fluidization time, the proportion of Geldart B particles in the upper part of the bed increases, the smaller the particle size of Geldart B particles, the smaller the ratio of the particle size of Geldart B particles to that of Geldart D particles, the more violent the disturbance in the upper part of the bed, and the more likely to reach the limiting value of the equivalent diameter of the bubbles.
Figure 7 gives the rule of change in bubble rise velocity with apparent gas velocity under different particle size compositions. When the two-component particle size and particle size ratio are different, the bubble rising speed with the apparent gas velocity change law is different. From Figure 7a, it can be seen that under the experimental conditions, when the two-component particles consist of the B class particles of larger size and D class particles of smaller size, that is to say, the difference between the B class and D class particles of particle size is smaller, the bubble rise velocity increases linearly with the increase in apparent gas velocity. From Figure 7b, it can be seen that under the experimental conditions, when the two-component particles consist of Geldart B particles with smaller particle size and Geldart D particles with larger particle size, that is to say, when the difference between the particle sizes of Geldart B and Geldart D particles is larger, the bubble rise velocity with the apparent air velocity changes is not obvious. The bubble rise velocity fluctuates more in the whole range of experimental apparent air velocities, which is mainly because of the larger difference in the particle sizes between the Geldart B and the Geldart D particles. The average rise velocity of Geldart B and Geldart D particles is higher than the average rise velocity of Geldart B and Geldart D particles. The average particle size difference between Geldart B and Geldart D particles is 500 μm and 600 μm, respectively, which leads to particle segregation in the bubbling fluidized bed, resulting in a decrease in the degree of effective mixing of particles, thus affecting the bubble rise velocity, which has the same pattern as the experimental results in the literature [4]. When the particles are not effectively mixed, a large number of small bubbles will be generated at the phase interface, and the newly generated small bubbles have a lower rising speed and a larger number, which will affect the rising speed of bubbles in the whole bed. The above experimental results show that the particle size variability of Geldart B and Geldart D particles is the main factor affecting particle segregation and effective mixing of particles, which is also one of the important factors affecting the bubble rise rate. In order to maintain the stability of the bubble’s rising speed, the particle size ratio of Geldart B and Geldart D particles should be controlled above 0.56.

4.3. Effect of Particle Size of Geldart B Particles in Two-Component on Bubble Properties

When the apparent gas velocity is 0.417 m/s, the mass ratio of Geldart B and Geldart D particles is 4:6; the glass beads of 200~300 μm, 300~400 μm, 400~500 μm, and 500~600 μm are selected as the Geldart B particles; and the glass beads with particle sizes of 600~700 μm and 700~800 μm are selected as the Geldart D particles. The other conditions and the Geldart D particles are kept unchanged in the experimental process. Keeping unchanged and then changing the particle size of Geldart B particles for a number of experiments, the equivalent diameter of the bubble and the bubble rise velocity with the change rule of the diameter of the Geldart B particles are shown in Figure 8 and Figure 9.
As can be seen from Figure 8 and Figure 9, the bubble equivalent diameter and bubble rise velocity decreased significantly with the increase in particle size of Geldart B particles. This is because, in the fluidization process, located in the middle and lower part of the bed, B particles are carried by the bubble tail vortex. With the bubble rise and rupture from the bottom of the bed to the top of the movement, with the flow of time, the upper part of the bed B particles gradually increased. If the particle size of B particles increases, for individual particles to maintain the suspension state or the rising state, they require a larger traction force. Under the condition of a certain apparent gas velocity, the average traction force is basically the same; the upper part of the bed particles B particles are more difficult to maintain the suspension and rising state, and maintain the bubble morphology will be more difficult; it is not conducive to the increase in the equivalent diameter of the bubble. Similarly, if a bubble around the particles is analyzed as a whole, it can be seen that Geldart B particles increased particle size; to maintain the bubble’s overall rise, the force required is also greater, so the bubble rise rate changes with the increase in Geldart B particle size.

4.4. Effect of In-Bed Velocity Distribution on Nonuniformity

Mathematical simulation simulations were performed using the model developed in Section 3 of this paper, following the experimental scheme in Table 1. The experimental and simulation results of bubble equivalent diameter and bubble rise velocity with apparent velocity are given in Figure 10 and Figure 11, respectively. In the 10 groups of experiments in Figure 10, the average error of the experimental and simulation results of the bubble equivalent diameter is 3.77%; in the 10 groups of experiments in Figure 11, the average error of the experimental and simulation results of the bubble rising speed is 2.25%, which indicates that the mathematical simulation results are correct and the established mathematical model is effective. From Figure 10 and Figure 11, it can be seen that the error between experimental and simulation results tends to increase with the increase in apparent velocity. In the experimental group of 550 μm:650 μm with a mass ratio of 4:6, when the apparent gas velocity is 0.417 m/s, the errors between the simulated and experimental results of bubble equivalent diameter and bubble rise velocity are the largest, which are 4.90% and 2.81%, respectively. In the experimental group with 450 μm:750 μm mass ratio of 2:8, when the apparent gas velocity was 0.486 m/s, the simulated and experimental errors of bubble equivalent diameter and bubble rise velocity were the largest, 4.30% and 5.10%, respectively.
On the whole, the simulation results are more accurate when the apparent gas velocity is smaller. In the experimental groups with 550 μm:650 μm mass ratio of 4:6 and 450 μm:750 μm mass ratio of 2:8, the errors of the experimental and simulation results of bubble equivalent diameter and bubble rise velocity were the largest when the apparent gas velocity was 0.417 m/s and 0.486 m/s, respectively, indicating that the effects of apparent gas velocity on bubble equivalent diameter and bubble rise velocity were consistent. Both aspects should be taken into account when performing the regulation.
Figure 12 gives the cloud and vector diagrams of the volume share in the generation of small bubbles in the YZ cross-section bubbling fluidized bed with an apparent gas velocity of 0.486 m/s, t = 3.93 s, and X = 0. From Figure 12, it can be seen that there are four bubbles in the bed, distributed at two different bed height locations, which are subject to spatial extrusion by the upward movement of the bubbles below and the falling back of the particles around the bubbles above, forming an aggregated zone of particles surrounded by bubbles. In the lower region of the bubbling fluidized bed layer, there is a bubble generation zone. At the bottom of the bubbling bed layer, the airflow is relatively smooth. Through the bubble generation zone, the airflow direction begins to change. The airflow around the bubble is disturbed more strongly, and the airflow direction near the tail vortex changes significantly, showing a tendency to gather at the tail vortex. In the upper half of the bubble area, the airflow is dispersed and deviates from the bubble. The motion of particles in the bed is more complex. There are two motion states of particles around the bubble: the velocity of particles near the tail vortex region of the bubble is downward, and the velocity of the upper half region of the bubble is upward. Overall, the direction of particle velocity is centered on the bubble in the form of dispersion; the particles in the aggregation area move towards the lower bubble, accompanied by the rising upward movement of the lower bubble, forming a complete particle circulation process.
The cloud and vector plots of the velocity distributions of the gas phase and particles in the YZ-section bubbling fluidized bed with an apparent gas velocity of 0.486 m/s, t = 3.93 s, and X = 0 are given in Figure 13. From the figure, it can be seen that the gas-phase high-velocity region and the particle high-velocity region overlap, indicating that the velocity of the particles is caused by the gas motion. The faster the velocity of the gas phase, the stronger the gas-solid interaction, the larger the trailing force on the particles, and thus the larger the velocity of the particles. A comparison of Figure 12 shows that the region of maximum gas and particle phase velocities is located near the bubble tail vortex, which is mainly due to the fact that the gas flow through the bubble tail vortex is pooled in the bubble, resulting in an elevated gas phase velocity near the tail vortex. Similarly, the particle high-velocity region is mainly concentrated in the two regions near the bubble tail vortex and the upper part of the bubble, influenced by the aggregation of the gas flow in the tail vortex and the rising motion of the bubble. In the particle aggregation zone, the particle velocity shows an overall downward sinking trend, mainly because the amount of gas passing through the particle aggregation zone is small, the effect on the particles in the aggregation zone is weak, and the gravity of the particles is the determining factor, so the velocity in the aggregation zone is negative. In addition, it can be found that the particle velocity gradient near the tail vortex of the bubble is large, and the particle velocity at the tail vortex is downward, blocking the particles from the lower part of the bubble from moving upward. At the same time, the gas flow is constantly converging to the bubble, and under the joint effect of these two aspects, the size of the bubble is increasing in the process of rising. For the whole bed, the upper bubble size is larger, and the bubble tail vortex has an obvious convergence effect on the airflow, making the velocity distribution not uniform. This results in the upper part of the bed being disturbed violently, serious bubble aggregation, the local area of the particle aggregation degree being higher, and the bed non-uniformity being stronger; while in the lower part of the bed, bubble size is small, the tail vortex has insufficient influence on the airflow, and the airflow distribution is uniform.

5. Conclusions

In this paper, for the problem of non-uniform structure in the bed of gas-solid fluidization process, the non-uniform fluidization characteristics of two-component particles are investigated by combining physical experiments and mathematical simulations with a cold two-dimensional bubbling fluidized bed as the object. The influence laws of different factors on the non-uniform structure in the bed, as well as the non-uniform structure characteristics, are obtained. The main conclusions are as follows:
The effect of the cyclic change in bubble formation rising and growing to rupture on the bed uniformity was analyzed through experimental studies of bubble behavior. The results showed that in a fully fluidized state, bubbles in the bed were dispersed. The bubble movement period can be divided into two stages. In the initial stage, bubbles are periodically generated and grown in the lower part of the bed. In the second stage, bubbles rise to the middle of the bed and rapidly expand, resulting in obvious non-uniformity in the bed. The fluidized bed of two-component particles would be stratified, and the non-uniformity was strong in the upper part and weak in the lower part, with the apparent gas velocity and the particle size being the main influencing factors. An increase in apparent gas velocity will shorten the time taken for the bubbles to complete one cycle of motion on average and further increase the non-uniformity in the upper part of the bed. In the two-component particles of this study, the bubble equivalent diameter and bubble rise velocity decreased significantly with the increase in the particle size of Geldart B particles; and the variability of the particle size of the two-component particles was an important factor affecting the particle segregation and bubble rise velocity.
Through the simulation study of typical experimental conditions, the velocity distribution of gas and solid phases in the bed and the volume ratio of each phase were further analyzed from the level of gas-solid interaction. The results showed that the periodic movement of bubbles is accompanied by the fluctuation of the velocity field in the bed, and the bubble behavior in the bed after complete fluidizing is consistent with the experiment. The upper part of the bed under the influence of the bubble tail vortex had an uneven velocity distribution, the gas flow disturbance was strong, the bubbles were aggregated and intense, and the non-uniformity in the bed was enhanced. The bubble size in the lower part of the bed was smaller, and the effect of the tail vortex on the gas flow was limited; the velocity distribution was uniform, and the non-uniformity of the bed was weak.

Author Contributions

Methodology, Z.Z.; validation, W.H.; formal analysis, W.H.; data curation, Z.Y.; writing—original draft preparation, M.Z.; writing—review and editing, M.Z.; supervision, Z.G. All authors have read and agreed to the published version of the manuscript.

Funding

This research was funded by China Baowu Low Carbon Metallurgy Innovation Foundation, China, grant number 202114.

Data Availability Statement

Data availability is not applicable to this article as no new data were created or analyzed in this study.

Conflicts of Interest

The authors declare no conflicts of interest.

References

  1. Kwauk, M.; Li, J. Fluidization regimes. Powder Technol. 1996, 87, 193–202. [Google Scholar] [CrossRef]
  2. Guo, M.S.; Li, H.Z. Handbook of Fluidization (In Fine); Chemical Industry Press: Beijing, China, 2008. [Google Scholar]
  3. Shen, L.; Johnsson, F.; Leckner, B. Digital image analysis of hydrodynamics two-dimensional bubbling fluidized beds. Chem. Eng. Sci. 2004, 59, 2607–2617. [Google Scholar] [CrossRef]
  4. Zhang, Y.P.; Wang, L. A stochastic model of bubble distribution in gas-solid fluidized beds. J. Univ. Sci. Technol. Beijing 2006, 13, 222–225. [Google Scholar] [CrossRef]
  5. Mudde, R.F.; Schulte, H.B.M.; Akker, H.E.A. Analysis of a bubbling 2-D gas-fluidized bed using image processing. Powder Technol. 1994, 81, 149–159. [Google Scholar] [CrossRef]
  6. Laverman, J.A.; Roghair, I.; van Sint Annaland, M.; Kuipers, J.A. Experimental study on solids circulation patterns and bubble behavior using Particle Image Velocimetry combined with Digital Image Analysis. In Proceedings of the 6th International Conference on Computational Fluid Dynamics in the Oil & Gas, Metallurgical and Process Industries, Trondheim, Norway, 10–12 June 2008. [Google Scholar]
  7. Wei, N.; Wu, H.; Bo, Y.X.; Liu, P.; Ma, J. Bubble formation and detachment behaviors on surface layer of packed particles. Adv. Chem. Eng. 2021, 40, 678–687. [Google Scholar]
  8. Yuan, Z.M.; Huang, Z.; Ma, S.X.; Zhao, G.J.; Yang, H.R.; Yue, G.X. Experimental investigation on the effect of superficial gas velocity on bubble dynamics properties of B particles in gas–solid fluidized bed reactor using digital image analysis technique. Fuel 2023, 348, 128617. [Google Scholar] [CrossRef]
  9. Han, B.W.; Sun, Z.N.; Zhu Jesse Fu, Z.J.; Kong, X.W.; Barghi, S. Bubble dynamics in 2-D gas-solid fluidized bed with Geldart A or Geldart B particles by image processing method. Can. J. Chem. Eng. 2022, 100, 3588–3599. [Google Scholar] [CrossRef]
  10. Chen, H.; Tian, X.; Gu, S.; Geng, C.; Yang, D. Effect of mixing state of binary particles on bubble behavior in 2D fluidized bed. Chem. Eng. Commun. 2018, 205, 1119–1128. [Google Scholar] [CrossRef]
  11. Yuan, Z.; Feng, Y.; Huang, Z.; Ma, S.; Yang, H.; Yue, G. Effects of particle size on bubble dynamic behaviors in a quasi-two-dimensional gas-solid fluidized bed. Powder Technol. 2024, 436, 119451. [Google Scholar] [CrossRef]
  12. Hoorijani, H.; Esgandari, B.; Zarghami, R.; Sotudeh-Gharebagh, R.; Mostoufi, N. Comparative CFD-DEM study of flow regimes in spout-fluid beds. Particuology 2024, 85, 323–334. [Google Scholar] [CrossRef]
  13. Wang, G.; Yang, S.; Zhang, X.; Wang, H. Investigation of complex gas-particle flow characteristics in fluidizing process of non-spherical particles by CFD-DEM. Powder Technol. 2024, 445, 120068. [Google Scholar]
  14. Wang, S.; Luo, K.; Hu, C.; Lin, J.; Fan, J. CFD-DEM simulation of heat transfer in fluidized beds: Model verification, validation, and application. Chem. Eng. Sci. 2019, 197, 280–295. [Google Scholar] [CrossRef]
  15. Xie, J.; Zhong, W.; Shao, Y.; Li, K. Coupling of CFD-DEM and reaction model for 3D fluidized beds. Powder Technol. 2019, 353, 72–83. [Google Scholar] [CrossRef]
  16. Korkerd, K.; Zhou, Z.; Zou, R.; Piumsomboon, P.; Chalermsinsuwan, B. Effect of immersed tubes configurations on mixing and heat transfer of mixed biomass and silica sand in a bubbling fluidized bed using CFD-DEM and statistical experimental design analysis. Powder Technol. 2024, 437, 119542. [Google Scholar] [CrossRef]
  17. Le, V.G.; Luu, T.A.; Tran, H.T.; Bui, N.T.; Mofijur, M.; Nguyen, M.K.; Bui, X.T.; Bahari, M.B.; Vo, H.N.P.; Vu, C.T.; et al. Recovery of Lithium from Industrial Li-Containing Wastewater Using Fluidized-Bed Homogeneous Granulation Technology. Minerals 2024, 14, 603. [Google Scholar] [CrossRef]
  18. Asegehegn, T.W.; Schreiber, M.; Krautz, H.J. Influence of two- and three-dimensional simulations on bubble behavior in gas–solid fluidized beds with and without immersed horizontal tubes. Powder Technol. 2012, 219, 9–19. [Google Scholar] [CrossRef]
  19. Mostafaei, F.; Golshan, S.; Zarghami, R.; Gharebagh, R.S.; Mostoufi, N. Investigating the bubble dynamics in fluidized bed by CFD-DEM. Powder Technol. 2020, 366, 938–948. [Google Scholar]
  20. Li, B.; Zhang, S.B.; Zhang, L.; Teng, Z.Y.; Wang, Y.T. Numerical simulation of bubble-particle flow in bubbling bed based on LBM-DEM. J. Chem. Eng. 2018, 69, 3843–3850. [Google Scholar]
  21. Jia, J.B.; Li, H.Z.; Zou, Z.; Liu, W.M.; Zhu, Q.S. Simulation of binary particle segregation for bubbling fluidized beds using polydispersed structure-based drag model extended from a monodispersed model. Can. J. Chem. Eng. 2021, 99, 1447–1460. [Google Scholar] [CrossRef]
  22. Xie, L.; Zhu, J.D.; Jiang, C.W. Quantitative study of mixing/segregation behaviors of binary-mixture particles in pilot-scale fluidized bed reactor. Powder Technol. 2021, 377, 103–114. [Google Scholar] [CrossRef]
  23. Luo, J.W.; Wang, Y.B.; Li, J.W.; Wang, G.S.; Zhao, B.D.; Wang, J.W. Model development and validation of a structural two-fluid model for gas-solid bubbling fluidized beds. J. Process Eng. 2024, 24, 435–444. [Google Scholar]
  24. Xie, Y.H.; Chen, Y.B.; Fang, Z.; Zhou, H.M.; Wei, S.K.; Yang, L. The research of gas-solid fluidized bed bubbling behavior based on CFD-DEM coupled simulation. Chem. Eng. Res. Des. 2023, 195, 166–180. [Google Scholar] [CrossRef]
  25. Kwangbyol, J.; Yali, F.; Haoran, L. Investigation of Bubble Behavior in Gas-Solid Fluidized Beds with Different Gas Distributors. Chem. Eng. Technol. 2021, 44, 723–731. [Google Scholar]
  26. Jaiswal, R.; Moldestad, B.M.E.; Eikeland, M.S.; Nielsen, H.K.; Thapa, R.K. Image Processing and Measurement of the Bubble Properties in a Bubbling Fluidized Bed Reactor. Energies 2022, 15, 7828. [Google Scholar] [CrossRef]
  27. Zhao, Z.; Zhou, L.; Bai, L.; Lv, W.; Agarwal, R.K. Effects of Particle Diameter and Inlet Flow Rate on Gas-Solid Flow Patterns of Fluidized Bed. ACS Omega 2023, 8, 7151–7162. [Google Scholar] [CrossRef]
  28. Zhang, K. CFD-DEM Simulation of Complex Dense Gas-Solid Flow. Ph.D. Thesis, Zhejiang University, Hangzhou, China, 2012. (In Chinese with English Abstract). [Google Scholar]
  29. Owoyemi, O.; Mazzei, L.; Lettieri, P. CFD modeling of binary-fluidized suspensions and investigation of role of particle-particle drag on mixing and segregation. AIChE J. 2007, 53, 1924–1940. [Google Scholar] [CrossRef]
Figure 1. Schematic diagram of 2D bubbling fluidized bed experimental setup system. 1—Gas compressor; 2—Air dryer; 3—Gas buffer tank; 4—Control valve; 5—Rotameter; 6—Plenum chamber; 7—Gas distributor; 8—Bubbling fluidized bed; 9—Pressure sensor; 10—Data acquisition card; 11—USB converter; 12—Computer; 13—High speed camera; 14—Lighting device.
Figure 1. Schematic diagram of 2D bubbling fluidized bed experimental setup system. 1—Gas compressor; 2—Air dryer; 3—Gas buffer tank; 4—Control valve; 5—Rotameter; 6—Plenum chamber; 7—Gas distributor; 8—Bubbling fluidized bed; 9—Pressure sensor; 10—Data acquisition card; 11—USB converter; 12—Computer; 13—High speed camera; 14—Lighting device.
Minerals 14 01113 g001
Figure 2. Data processing process.
Figure 2. Data processing process.
Minerals 14 01113 g002
Figure 3. Uniform velocity inlet bubble bed model experimental and simulation results comparison; (a) compared the experimental results of literature, numerical simulation results of literature with calculation results of the model built in the paper at 0 s; (b) compared the experimental results of literature, numerical simulation results of literature with calculation results of the model built in the paper at 4 s.
Figure 3. Uniform velocity inlet bubble bed model experimental and simulation results comparison; (a) compared the experimental results of literature, numerical simulation results of literature with calculation results of the model built in the paper at 0 s; (b) compared the experimental results of literature, numerical simulation results of literature with calculation results of the model built in the paper at 4 s.
Minerals 14 01113 g003
Figure 4. Bubble motion period for 400~500 μm:700~800 μm glass beads as 2:8, v = 0.347 m/s.
Figure 4. Bubble motion period for 400~500 μm:700~800 μm glass beads as 2:8, v = 0.347 m/s.
Minerals 14 01113 g004
Figure 5. Bubble motion period for 500~600 μm:600~700 μm glass beads as 4:6, v = 0.486 m/s.
Figure 5. Bubble motion period for 500~600 μm:600~700 μm glass beads as 4:6, v = 0.486 m/s.
Minerals 14 01113 g005
Figure 6. Trends of bubble equivalent diameter with apparent gas velocity.
Figure 6. Trends of bubble equivalent diameter with apparent gas velocity.
Minerals 14 01113 g006
Figure 7. Trend of bubble rise velocity with apparent gas velocity.
Figure 7. Trend of bubble rise velocity with apparent gas velocity.
Minerals 14 01113 g007
Figure 8. Trend of bubble equivalent diameter with the diameter of Geldart B particles.
Figure 8. Trend of bubble equivalent diameter with the diameter of Geldart B particles.
Minerals 14 01113 g008
Figure 9. Trend of bubble rise velocity with the particle size of Geldart B particles.
Figure 9. Trend of bubble rise velocity with the particle size of Geldart B particles.
Minerals 14 01113 g009
Figure 10. Comparison of experimental and simulated bubble sizes.
Figure 10. Comparison of experimental and simulated bubble sizes.
Minerals 14 01113 g010
Figure 11. Comparison of experimental and simulated bubble rise rate.
Figure 11. Comparison of experimental and simulated bubble rise rate.
Minerals 14 01113 g011
Figure 12. v = 0.486 m/s, t = 3.93 s, X = 0, YZ cross-section bubbling bed fluidization within the volume occupancy cloud and vector plots.
Figure 12. v = 0.486 m/s, t = 3.93 s, X = 0, YZ cross-section bubbling bed fluidization within the volume occupancy cloud and vector plots.
Minerals 14 01113 g012
Figure 13. Velocity cloud and vector plots within v = 0.486 m/s, t = 3.93 s, X = 0, YZ section bubbling bed fluidization.
Figure 13. Velocity cloud and vector plots within v = 0.486 m/s, t = 3.93 s, X = 0, YZ section bubbling bed fluidization.
Minerals 14 01113 g013
Table 1. Two-component factor level table.
Table 1. Two-component factor level table.
ConsiderationsGeldart B (μm)Geldart D (μm)Mass Ratio (B:D)Air Velocity (m/s)
1200~300600~7002:80.278
2300~400700~8004:60.347
3400~500800~9006:40.417
4500~600900~10008:20.486
Disclaimer/Publisher’s Note: The statements, opinions and data contained in all publications are solely those of the individual author(s) and contributor(s) and not of MDPI and/or the editor(s). MDPI and/or the editor(s) disclaim responsibility for any injury to people or property resulting from any ideas, methods, instructions or products referred to in the content.

Share and Cite

MDPI and ACS Style

Zhu, M.; Zheng, Z.; Hao, W.; Yang, Z.; Guo, Z. Experimental Simulation Studies on Non-Uniform Fluidization Characteristics of Two-Component Particles in a Bubbling Fluidized Bed. Minerals 2024, 14, 1113. https://doi.org/10.3390/min14111113

AMA Style

Zhu M, Zheng Z, Hao W, Yang Z, Guo Z. Experimental Simulation Studies on Non-Uniform Fluidization Characteristics of Two-Component Particles in a Bubbling Fluidized Bed. Minerals. 2024; 14(11):1113. https://doi.org/10.3390/min14111113

Chicago/Turabian Style

Zhu, Mingmei, Zhong Zheng, Weiping Hao, Zhengjiang Yang, and Zhancheng Guo. 2024. "Experimental Simulation Studies on Non-Uniform Fluidization Characteristics of Two-Component Particles in a Bubbling Fluidized Bed" Minerals 14, no. 11: 1113. https://doi.org/10.3390/min14111113

APA Style

Zhu, M., Zheng, Z., Hao, W., Yang, Z., & Guo, Z. (2024). Experimental Simulation Studies on Non-Uniform Fluidization Characteristics of Two-Component Particles in a Bubbling Fluidized Bed. Minerals, 14(11), 1113. https://doi.org/10.3390/min14111113

Note that from the first issue of 2016, this journal uses article numbers instead of page numbers. See further details here.

Article Metrics

Back to TopTop