The Symmetric Formulation of the Temperature Shock Problem for a Small Spacecraft with Two Elastic Elements
Abstract
1. Introduction
2. One-Dimensional Model of Thermal Conductivity in a Symmetric Formulation
3. Simplifying Assumptions
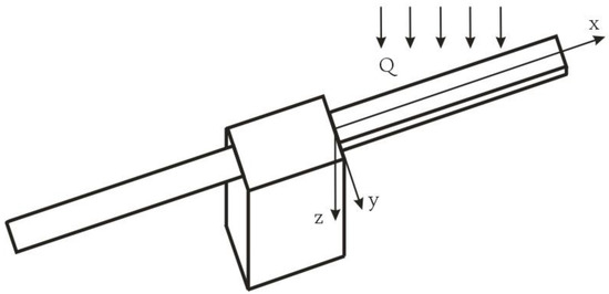
1. The small spacecraft is an axisymmetric body both in terms of shape and inertial mass characteristics, with two elastic elements symmetrically attached to it.
2. The fastening of elastic elements to the body of the small spacecraft is a rigid seal on one edge; the other three edges are free.
3. Each elastic element is a homogeneous plate with unchanged thermophysical properties.
4. Elastic elements are absolutely identical to each other.
5. Temperature shock occurs absolutely simultaneously for both elastic elements.
6. At the moment of the temperature shock, both elastic elements had a flat shape and were in the same plane.
7. The incident flux of solar radiation is strictly perpendicular to the plane of both elastic elements during the entire time of the temperature shock.
8. The solar radiation flux is uniform and stationary:
9. The natural oscillations of elastic elements are negligible for the entire time of the temperature shock.
10. Fourier’s law is valid for describing a one-dimensional model of thermal conductivity.
11. The initial temperature distribution field is the same in both elastic elements and is also homogeneous.
12. The thickness of elastic elements is negligible compared to their length and width.
4. Model Equations
5. Numerical Simulation for the «Aist-2D» Spacecraft
6. Analysis of the Disturbing Factors Significance
7. Conclusions
Author Contributions
Funding
Institutional Review Board Statement
Informed Consent Statement
Data Availability Statement
Conflicts of Interest
References
- Shen, Z.; Hu, G. Thermally Induced Dynamics of a Spinning Spacecraft with an Axial Flexible Boom. J. Spacecr. Rockets 2015, 52, 1503–1508. [Google Scholar] [CrossRef]
- Shen, Z.; Tian, Q.; Liu, X.; Hu, G. Thermally induced vibrations of flexible beams using Absolute Nodal Coordinate Formulation. Aerosp. Sci. Technol. 2013, 29, 386–393. [Google Scholar] [CrossRef]
- Sedelnikov, A.V.; Orlov, D.I. Development of control algorithms for the orbital motion of a small technological spacecraft with a shadow portion of the orbit. Microgravity Sci. Technol. 2020, 32, 941–951. [Google Scholar] [CrossRef]
- Priyant, C.M.; Surekha, K. Review of Active Space Debris Removal Methods. Space Policy 2019, 47, 194–206. [Google Scholar]
- Ledkov, A.; Aslanov, V. Review of contact and contactless active space debris removal approaches. Prog. Aerosp. Sci. 2022, 134, 100858. [Google Scholar] [CrossRef]
- Hidri, L.; Mrad, M.; Alkahtani, M. Suitable Mass Density Function for an Artificial Satellite to Prevent Chaotic Motion after Collision with Space Debris. Symmetry 2022, 14, 818. [Google Scholar] [CrossRef]
- Fowler, K.; Teixeira-Dias, F. Hybrid Shielding for Hypervelocity Impact of Orbital Debris on Unmanned Spacecraft. Appl. Sci. 2022, 12, 7071. [Google Scholar] [CrossRef]
- Aslanov, V.S.; Ledkov, A.S. Detumbling of axisymmetric space debris during transportation by ion beam shepherd in 3D case. Adv. Space Res. 2022, 69, 570–580. [Google Scholar] [CrossRef]
- Puente, C.; Sáenz-Nuño, M.A.; Villa-Monte, A.; Olivas, J.A. Satellite Orbit Prediction Using Big Data and Soft Computing Techniques to Avoid Space Collisions. Mathematics 2021, 9, 2040. [Google Scholar] [CrossRef]
- Sizov, D.A.; Aslanov, V.S. Optimal thrust control during tether deployment after harpoon capture of space debris. AIP Conf. Proc. 2021, 2318, 050005. [Google Scholar]
- Trushlyakov, V.I.; Yudintsev, V.V. Rotary space tether system for active debris removal. J. Guid. Control Dyn. 2020, 43, 354–364. [Google Scholar] [CrossRef]
- Botta, E.M.; Sharf, I.; Misra, A.K. Contact Dynamics Modeling and Simulation of Tether-Nets for Space Debris Capture. J. Guid. Control Dyn. 2017, 40, 110–123. [Google Scholar] [CrossRef]
- Wang, Q.; Jin, D.; Rui, X. Dynamic Simulation of Space Debris Cloud Capture Using the Tethered Net. Space Sci. Technol. 2021, 2021, 9810375. [Google Scholar] [CrossRef]
- Spence, B.R.; White, S.; La Pointe, M.; Kiefer, S.; La Corte, P.; Banik, J.; Chapman, D.; Merrill, J. International Space Station (ISS) Roll-Out Solar Array (ROSA) Spaceflight Experiment Mission and Results. In Proceedings of the IEEE 7th World Conference on Photovoltaic Energy Conversion (WCPEC) (A Joint Conference of 45th IEEE PVSC, 28th PVSEC & 34th EU PVSEC), Waikoloa, HI, USA, 10–15 June 2018. [Google Scholar] [CrossRef]
- Sedelnikov, A.V.; Serdakova, V.V.; Khnyreva, E.S. Construction of the criterion for using a two-dimensional thermal conductivity model to describe the stress-strain state of a thin plate under the thermal shock. Microgravity Sci. Technol. 2021, 33, 65. [Google Scholar] [CrossRef]
- Chamberlain, M.K.; Kiefer, S.H.; Banik, J.A. On-Orbit Structural Dynamics Performance of the Roll-Out Solar Array. In Proceedings of the AIAA Spacecraft Structures Conference, Kissimmee, FL, USA, 8–12 January 2018; Available online: https://arc.aiaa.org/doi/abs/10.2514/6.2018-1942 (accessed on 12 November 2022).
- Jiang, G.; Dong, T.; Guo, Z. Nonlinear Dynamics of an Unsymmetric Cross-Ply Square Composite Laminated Plate for Vibration Energy Harvesting. Symmetry 2021, 13, 1261. [Google Scholar] [CrossRef]
- Sedelnikov, A.V.; Salmin, V.V. Modeling the disturbing effect on the aist small spacecraft based on the measurements data. Sci. Rep. 2022, 12, 1300. [Google Scholar] [CrossRef] [PubMed]
- Ferreira, A.F.S.; Elipe, A.; De Moraes, R.V.; Prado, A.F.B.A.; Winter, O.C.; Gomes, V.M. Low Thrust Propelled Close Approach Maneuvers. Symmetry 2022, 14, 1786. [Google Scholar] [CrossRef]
- Ye, Z.; Cai, W.; Liu, S.; Liu, K.; Wang, M.; Zhou, W. A Band Selection Approach for Hyperspectral Image Based on a Modified Hybrid Rice Optimization Algorithm. Symmetry 2022, 14, 1293. [Google Scholar] [CrossRef]
- Platonov, V.N. About accuracy of an Earth remote sensing spacecraft Attitude-keeping without using data from inertial sensors. Space Eng. Technol. 2014, 3, 33–38. [Google Scholar]
- Krestina, A.S.; Tkachenko, I.S. Efficiency Assessment of the Deorbiting Systems for Small Satellite. J. Aeronaut. Astronaut. Aviat. 2022, 54, 227–239. [Google Scholar]
- Kirilin, A.N.; Akhmetov, R.N.; Shakhmatov, E.V. Experimental Technological Small Spacecraft “Aist–2D”; Publishing House of the Samara Scientific Center of the Russian Academy of Sciences: Samara, Russia, 2017; p. 324. [Google Scholar]
- Perminov, A.V.; Nikulina, S.A.; Lyubimova, T.P. Analysis of Thermovibrational Convection Modes in Square Cavity under Microgravity Conditions. Microgravity Sci. Technol. 2022, 34, 34. [Google Scholar] [CrossRef]
- Shevchenko, V.; Mialdun, A.; Yasnou, V.; Lyulin, Y.V.; Ouerdane, H.; Shevtsova, V. Investigation of diffusive and optical properties of vapour-air mixtures: The benefits of interferometry. Chem. Eng. Sci. 2021, 233, 116433. [Google Scholar] [CrossRef]
- Tayyab, M.; Sarkar, B.; Yahya, B.N. Imperfect Multi-Stage Lean Manufacturing System with Rework under Fuzzy Demand. Mathematics 2019, 7, 13. [Google Scholar] [CrossRef]
- Baranov, M.; Velichko, E.; Greshnevikov, K. Analysis of Fractal Structures in Dehydrated Films of Protein Solutions. Symmetry 2021, 13, 123. [Google Scholar] [CrossRef]
- Porter, J.; Salgado Sánchez, P.; Shevtsova, V.; Yasnou, V. A review of fluid instabilities and control strategies with applications in microgravity. Math. Model. Nat. Phenom. 2021, 16, 24. [Google Scholar] [CrossRef]
- Belousov, A.I.; Sedelnikov, A.V. Probabilistic estimation of fulfilling favorable conditions to realize the gravity-sensitive processes aboard a space laboratory. Russ. Aeronaut. 2013, 56, 60–63. [Google Scholar] [CrossRef]
- Hu, W.R.; Zhao, J.F.; Long, M. Space Program SJ–10 of Microgravity Research. Microgravity Sci. Technol. 2014, 26, 159–169. [Google Scholar] [CrossRef]
- Abrashkin, V.I.; Puzin, Y.Y.; Voronov, K.E.; Piyakov, I.V.; Semkin, N.D.; Sazonov, V.V.; Chebukov, S.Y. Determining the rotational motion of the BION M-1 satellite with the GRAVITON instrument. Cosm. Res. 2015, 53, 286–299. [Google Scholar] [CrossRef]
- Taneeva, A.S.; Lukyanchik, V.V.; Khnyryova, E.S. Modeling the Dependence of the Specific Impulse on the Temperature of the Heater of an Electrothermal Micro-Motor Based on the Results of Its Tests. J. Phys. Conf. Ser. 2021, 20212096, 012059. [Google Scholar] [CrossRef]
- Sedelnikov, A.V. Modeling of microaccelerations caused by running of attitude-control engines of spacecraft with elastic structural elements. Microgravity Sci. Technol. 2016, 28, 491–498. [Google Scholar] [CrossRef]
- Liu, W.; Gao, Y.; Dong, W.; Li, Z. Flight Test Results of the Microgravity Active Vibration Isolation System in China’s Tianzhou-1 Mission. Microgravity Sci. Technol. 2018, 30, 995–1009. [Google Scholar] [CrossRef]
- Zemskov, V.S.; Raukhman, M.R.; Shalimov, V.P. Influence of an arrangement of growth installations on board the spacecraft on microgravitational conditions of carrying out experiments (on the example of bestigelny zonal melting InSb:Te on FOTON-3 artificial satellite). Cosm. Res. 2004, 42, 144–154. [Google Scholar] [CrossRef]
- Boguslavsky, A.A.; Sazonov, V.V.; Sokolov, S.M.; Zemskov, V.S.; Raukhman, M.R.; Shalimov, V.P. About influence of microaccelerations on distribution of impurity in crystals of InSb:Te which are grown up in orbital flight by method of bestigelny zonal melting. Cosm. Res. 2004, 42, 155–161. [Google Scholar]
- Bratsun, D.A.; Krasnyakov, I.V.; Zyuzgin, A.V. Active Control of Thermal Convection in a Rectangular Loop by Changing its Spatial Orientation. Microgravity Sci. Technol. 2018, 30, 43–52. [Google Scholar] [CrossRef]
- Sedelnikov, A.V.; Orlov, D.I. Analysis of the significance of the influence of various components of the disturbance from a temperature shock on the level of microaccelerations in the internal environment of a small spacecraft. Microgravity Sci. Technol. 2021, 33, 22. [Google Scholar] [CrossRef]
- Sedelnikov, A.V.; Serdakova, V.V.; Glushkov, S.V.; Nikolaeva, A.S.; Evtushenko, M.A. Consideration of the Initial Deformation from Natural Oscillations of Large Elastic Elements of the Spacecraft When Assessing Microaccelerations from Thermal Shock Using a Two-dimensional Model of Thermal Conductivity. Microgravity Sci. Technol. 2022, 34, 22. [Google Scholar]
- McDowell, J.C. The Low Earth Orbit Satellite Population and Impacts of the SpaceX Starlink Constellation. Astrophys. J. Lett. 2020, 892, L36. [Google Scholar] [CrossRef]
- Sedelnikov, A.V.; Serdakova, V.V.; Orlov, D.I.; Nikolaeva, A.S.; Evtushenko, M.A. Modeling the Effect of a Temperature Shock on the Rotational Motion of a Small Spacecraft. Considering the Possible Loss of Large Elastic Elements Stability. Microgravity Sci. Technol. 2022, 34, 78. [Google Scholar] [CrossRef]
- Sedelnikov, A.V.; Molyavko, D.P.; Potienko, K.I. Study of over-assessment of microaccelerations when using a beam-model of elastic elements. Int. Rev. Aerosp. Eng. 2016, 9, 9–12. [Google Scholar] [CrossRef]
- Lyubimov, V.V. Method of an Asymptotic Analysis of the Nonlinear Monotonic Stability of the Oscillation at the Problem of Damping of the Angle of Attack of a Symmetric Spacecraft. Symmetry 2022, 14, 2135. [Google Scholar] [CrossRef]
- Doroshin, A.V.; Eremenko, A.V. Synthesis of dynamics of nanosatellites with variable inertial-mass parameters. J. Phys. Conf. Ser. 2022, 2182, 012049. [Google Scholar] [CrossRef]
- Kartashov, E.M.; Stomakhin, I.V. Thermal reaction of viscoelastic bodies to thermal impact on the basis of a new equation of dynamic thermoviscoelasticity. J. Eng. Phys. 1991, 59, 1116–1125. [Google Scholar] [CrossRef]
- Skvortsov, Y.V.; Evtushenko, M.A.; Khnyryova, E.S. Investigation of the edge effect in laminated composites using the ANSYS software. J. Aeronaut. Astronaut. Aviat. 2022, 54, 421–431. [Google Scholar]
- Sedelnikov, A.V.; Orlov, D.I.; Leskova, Y.D. Investigation of the dynamics of a small spacecraft elastic element temperature change under a temperature shock considering a penumbral section. IOP Conf. Ser. Mater. Sci. Eng. 2021, 1061, 012028. [Google Scholar] [CrossRef]
- Kawano, A. A uniqueness theorem for the determination of sources in the Germain–Lagrange plate equation. J. Math. Anal. Appl. 2013, 402, 191–200. [Google Scholar] [CrossRef]









| Parameter | Designation | Value | Dimension |
|---|---|---|---|
| Spacecraft prototype | – | Aist-2D [13,23] | – |
| Solar panel frame material | – | MA2 | – |
| Mass of spacecraft | m | 530 | kg |
| Coefficient of thermal conductivity | 96.3 | ||
| Stefan–Boltzmann constant | |||
| Linear expansion coefficient | α | 2.6 × 10−6 | K−1 |
| External heat flux | 0 | 1400 | |
| Vacuum temperature | 3 | K | |
| Initial temperature of the solar panel frame | 200 | K | |
| Specific heat | C | 1130.4 | |
| Density | 1780 | ||
| Lame coefficient Λ | Λ | 3 × 1010 | Pa |
| Lame coefficient ν | ν | 1.6 × 1010 | Pa |
| Number of plate layers | N | 3 | – |
| Layer thickness | 2 | mm | |
| Solar panel length | L | 2.5 | m |
| Poisson’s coefficient | μ | 0.3 | – |
Disclaimer/Publisher’s Note: The statements, opinions and data contained in all publications are solely those of the individual author(s) and contributor(s) and not of MDPI and/or the editor(s). MDPI and/or the editor(s) disclaim responsibility for any injury to people or property resulting from any ideas, methods, instructions or products referred to in the content. |
© 2023 by the authors. Licensee MDPI, Basel, Switzerland. This article is an open access article distributed under the terms and conditions of the Creative Commons Attribution (CC BY) license (https://creativecommons.org/licenses/by/4.0/).
Share and Cite
Sedelnikov, A.; Orlov, D.; Serdakova, V.; Nikolaeva, A. The Symmetric Formulation of the Temperature Shock Problem for a Small Spacecraft with Two Elastic Elements. Symmetry 2023, 15, 172. https://doi.org/10.3390/sym15010172
Sedelnikov A, Orlov D, Serdakova V, Nikolaeva A. The Symmetric Formulation of the Temperature Shock Problem for a Small Spacecraft with Two Elastic Elements. Symmetry. 2023; 15(1):172. https://doi.org/10.3390/sym15010172
Chicago/Turabian StyleSedelnikov, Andrey, Denis Orlov, Valeria Serdakova, and Alexandra Nikolaeva. 2023. "The Symmetric Formulation of the Temperature Shock Problem for a Small Spacecraft with Two Elastic Elements" Symmetry 15, no. 1: 172. https://doi.org/10.3390/sym15010172
APA StyleSedelnikov, A., Orlov, D., Serdakova, V., & Nikolaeva, A. (2023). The Symmetric Formulation of the Temperature Shock Problem for a Small Spacecraft with Two Elastic Elements. Symmetry, 15(1), 172. https://doi.org/10.3390/sym15010172

