Research on Rotorcraft Blade Tip Vortex Identification and Motion Characteristics in Hovering State
Abstract
1. Introduction
2. Experimental Equipment and Research Methods
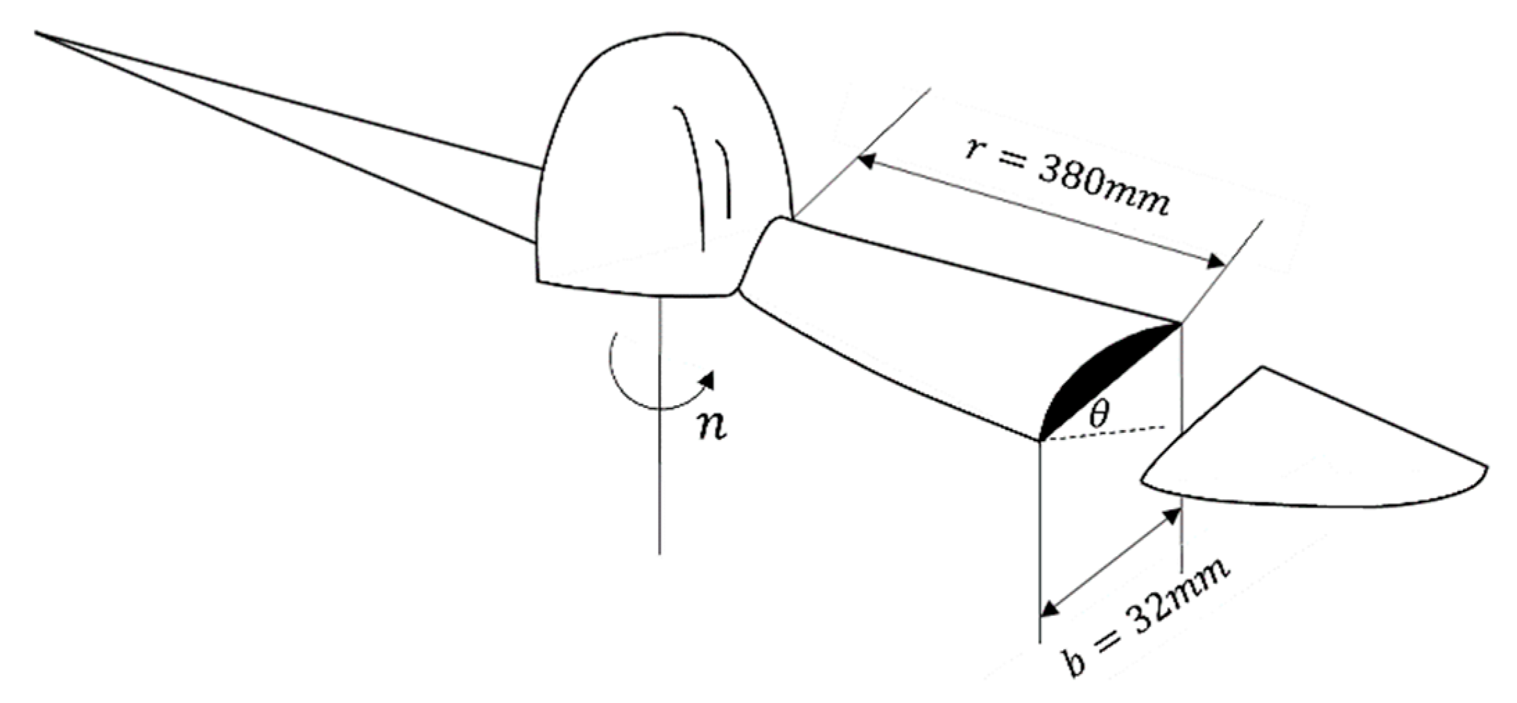
2.1. Experimental Model
2.2. Experimental Equipment
2.3. Ω Vortex Identification Method
3. Results and Discussions
3.1. Blade Tip Vortex Flow Structure
3.2. Vortex Motion Characteristics Based on Vorticity
3.3. Vortex Motion Characteristics Based on Q Criterion
3.4. Vortex Motion Characteristics Based on Ω Criterion
3.4.1. Ω Criterion Vortex Identification Results
3.4.2. Vortex Boundary Identification
3.5. Comparative Analysis of Blade Vortex Trajectory under Different Vortex Identification Criterion
4. Conclusions
- (1)
- When the rotor is at the hovering state, its aerodynamic characteristics can be considered as symmetrical and periodic changes;
- (2)
- At a certain rotate speed, as the collective pitch increases, the blade tension increases, the down washing speed of the blade tip vortex is increased, and the radial contraction is more serious. At the same time, the axial displacement is also faster;
- (3)
- With the increase of blade azimuth, blade tip vortex of the radial position moves to the hub and the axial location moves down gradually. At the same azimuth, with the collective pitch increases, blade tip vortex radial contraction is more obvious and axial displacement is larger;
- (4)
- In hovering state, as the blade tip vortex evolves, the vortex core radius gradually increases, and the vortex boundary gradually decreases. At a certain rotor rotate speed, as the collective pitch increases, the amplitude of the blade tip vorticity increases;
- (5)
- With different vortex identification methods, the obtained blade tip vortex center has a certain deviation. Compared with other methods, the Ω criterion can accurately distinguish vortices and shears, and can accurate quantitative the vortex core radius and vortex boundary.
Author Contributions
Funding
Conflicts of Interest
References
- Ebrahimpour, M.; Shafaghat, R.; Alamian, R.; Safdari Shadloo, M. Numerical Investigation of the Savonius Vertical Axis Wind Turbine and Evaluation of the Effect of the Overlap Parameter in Both Horizontal and Vertical Directions on Its Performance. Symmetry 2019, 11, 821. [Google Scholar] [CrossRef]
- Muhsen, H.; Al-Kouz, W.; Khan, W. Small Wind Turbine Blade Design and Optimization. Symmetry 2020, 12, 18. [Google Scholar] [CrossRef]
- Wei, Z.; Yang, W.; Xiao, R. Pressure Fluctuation and Flow Characteristics in a Two-Stage Double-Suction Centrifugal Pump. Symmetry 2019, 11, 65. [Google Scholar] [CrossRef]
- Sarkar, M.; Julai, S.; Wen Tong, C.; Toha, S. Effectiveness of Nature-Inspired Algorithms using ANFIS for Blade Design Optimization and Wind Turbine Efficiency. Symmetry 2019, 11, 456. [Google Scholar] [CrossRef]
- Gardner, A.D.; Wolf, C.C.; Raffel, M. Review of measurement techniques for unsteady helicopter rotor flows. Prog. Aerosp. Sci. 2019, 111, 100566. [Google Scholar] [CrossRef]
- Bauknecht, A.; Merz, C.B.; Raffel, M.; Landolt, A.; Meier, A.H. Blade-Tip Vortex Detection in Maneuvering Flight Using the Background-Oriented Schlieren Technique. J. Aircr. 2014, 51, 2005–2014. [Google Scholar] [CrossRef]
- Mula, S.M.; Stephenson, J.H.; Tinney, C.E.; Sirohi, J. Dynamical characteristics of the tip vortex from a four-bladed rotor in hover. Exp. Fluids 2013, 54, 1600. [Google Scholar] [CrossRef]
- Gursul, I.; Wang, Z. Flow Control of Tip/Edge Vortices. AIAA J. 2018, 56, 1731–1749. [Google Scholar] [CrossRef]
- Romani, G.; Casalino, D. Rotorcraft blade-vortex interaction noise prediction using the Lattice-Boltzmann method. Aerosp. Sci. Technol. 2019, 88, 147–157. [Google Scholar] [CrossRef]
- Landgrebe, A.J. The Wake Geometry of a Hovering Helicopter Rotor and Its Influence on Rotor Performance. J. Am. Helicopter Soc. 1972, 7, 3–15. [Google Scholar] [CrossRef]
- Clark, D.R.; Landgrebe, A.J. Wake and boundary layer effects in helicopter rotor aerodynamics. In Proceedings of the 4th Fluid and Plasma Dynamics Conference, Palo Alto, CA, USA, 21–23 June 1971. [Google Scholar]
- Hassan, A.A.; Charles, B.D. Airfoil Design for Helicopter Rotor Blades—A Three-Dimensional Approach. J. Aircr. 2015, 34, 197–205. [Google Scholar] [CrossRef]
- Haller, G. An objective definition of a vortex. J. Fluid Mech. 2005, 525, 1–26. [Google Scholar] [CrossRef]
- Jeong, J.; Hussain, F. On the identification of a vortex. J. Fluid Mech. 1995, 285, 69–94. [Google Scholar] [CrossRef]
- Dong, X.; Wang, Y.; Chen, X.; Dong, Y.; Zhang, Y.; Liu, C. Determination of epsilon for Omega vortex identification method. J. Hydrodyn. 2018, 30, 541–548. [Google Scholar] [CrossRef]
- Da Silva, C.B.; Pereira, J.C.F. Invariants of the velocity-gradient, rate-of-strain, and rate-of-rotation tensors across the turbulent/nonturbulent interface in jets. Phys. Fluids 2008, 20, 55101. [Google Scholar] [CrossRef]
- Fu, W.; Li, C.; Lai, Y. Estimation of turbulent natural convection in horizontal parallel plates by the Q criterion. Int. Commun. Heat Mass Trans. Rapid Commun. J. 2013, 45, 41–46. [Google Scholar] [CrossRef]
- Hirschi, C.R. Characterization of visually detected coherent motions in the turbulent boundary layer. In Proceedings of the Fluies Engineering Division—2001, New Orleans, LA, USA, 29 May–1 June 2001; American Society of Mechanical Engineers: New York City, NY, USA, 1991; Volume 1, pp. 285–290. [Google Scholar]
- And, A.E.P.; Chong, M.S. A Description of Eddying Motions and Flow Patterns Using Critical-Point Concepts. Ann. Rev. Fluid Mech. 1987, 19, 125–155. [Google Scholar]
- Limacher, E.; Morton, C.; Wood, D. On the trajectory of leading-edge vortices under the influence of Coriolis acceleration. J. Fluid Mech. 2016, 800, R1. [Google Scholar] [CrossRef]
- Lugt, H.J.; Gollub, J.P. Vortex Flow in Nature and Technology. Am. J. Phys. 1985, 53, 381. [Google Scholar] [CrossRef]
- Lugt, J.H. Vortex flow and maximum principles. Am. J. Phys. 1985, 53, 649. [Google Scholar] [CrossRef]
- Gomes-Fernandes, R.; Ganapathisubramani, B.; Vassilicos, J.C. Evolution of the velocity-gradient tensor in a spatially developing turbulent flow. J. Fluid Mech. 2014, 756, 252–292. [Google Scholar] [CrossRef]
- Kim, J.; Moin, P.; Moser, R. Turbulence statistics in fully developed channel flow at low Reynolds number. J. Fluid Mech. 1987, 177, 133–166. [Google Scholar] [CrossRef]
- Liu, C.; Gao, Y.; Dong, X.; Wang, Y.; Liu, J.; Zhang, Y.; Cai, X.; Gui, N. Third generation of vortex identification methods: Omega and Liutex/Rortex based systems. J. Hydrodyn. 2019, 31, 205–223. [Google Scholar] [CrossRef]
- Zhang, Y.; Liu, K.; Xian, H.; Du, X. A review of methods for vortex identification in hydroturbines. Renew. Sust. Energy Rev. 2018, 81, 1269–1285. [Google Scholar] [CrossRef]
- Liu, C.; Wang, Y.; Yang, Y.; Duan, Z. New omega vortex identification method. Sci. China Phys. Mech. Astron. 2016, 59, 684711–684719. [Google Scholar] [CrossRef]
- Tian, S.; Gao, Y.; Dong, X.; Liu, C. Definitions of vortex vector and vortex. J. Fluid Mech. 2018, 849, 312–339. [Google Scholar] [CrossRef]



















© 2020 by the authors. Licensee MDPI, Basel, Switzerland. This article is an open access article distributed under the terms and conditions of the Creative Commons Attribution (CC BY) license (http://creativecommons.org/licenses/by/4.0/).
Share and Cite
Du, H.; Kong, W.; Wang, Y.; Liu, W.; Huang, M.; Zhang, W.; Tang, M. Research on Rotorcraft Blade Tip Vortex Identification and Motion Characteristics in Hovering State. Symmetry 2020, 12, 196. https://doi.org/10.3390/sym12020196
Du H, Kong W, Wang Y, Liu W, Huang M, Zhang W, Tang M. Research on Rotorcraft Blade Tip Vortex Identification and Motion Characteristics in Hovering State. Symmetry. 2020; 12(2):196. https://doi.org/10.3390/sym12020196
Chicago/Turabian StyleDu, Hai, Wenjie Kong, Yan Wang, Wenjing Liu, Mingqi Huang, Weiguo Zhang, and Min Tang. 2020. "Research on Rotorcraft Blade Tip Vortex Identification and Motion Characteristics in Hovering State" Symmetry 12, no. 2: 196. https://doi.org/10.3390/sym12020196
APA StyleDu, H., Kong, W., Wang, Y., Liu, W., Huang, M., Zhang, W., & Tang, M. (2020). Research on Rotorcraft Blade Tip Vortex Identification and Motion Characteristics in Hovering State. Symmetry, 12(2), 196. https://doi.org/10.3390/sym12020196
 
        

 
                        