Energy Dissipation Assessment in Flow Downstream of Rectangular Sharp-Crested Weirs
Abstract
1. Introduction
2. Materials and Methods
2.1. Dimensional Analysis
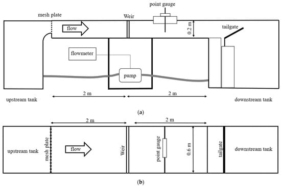
2.2. Experimental Setup
2.3. Scale Effect
3. Flow Behavior
3.1. Flow Nappe
3.2. Hydraulic Jump
4. Results
4.1. Flow Velocity
4.2. Relative Energy Dissipation
4.3. Relative Residual Energy
4.4. Prediction Equation of Energy Dissipation
4.5. Uncertainties and Limitations of the Model
5. Discussion and Conclusions
Author Contributions
Funding
Data Availability Statement
Acknowledgments
Conflicts of Interest
References
- Borghei, S.M.; Jalili, M.R.; Ghodsian, M. Discharge coefficient for sharp-crested side weir in subcritical flow. J. Hydraul. Eng. 1999, 125, 1051–1056. [Google Scholar] [CrossRef]
- Bos, M.G. Discharge Measurement Structures; (No. 161); ILRI: Delft, The Netherlands; Delft Hydraulic Laboratory: Wageningen, The Netherlands, 1976. [Google Scholar]
- Negm, A.A.M.; Al-Brahim, A.M.; Alhamid, A.A. Combined-free flow over weirs and below gates. J. Hydraul. Res. 2002, 40, 359–365. [Google Scholar] [CrossRef]
- Vatankhah, A.R. Flow measurement using circular sharp-crested weirs. Flow Meas. Instrum. 2010, 21, 118–122. [Google Scholar] [CrossRef]
- Napierała, M. Application of Simple Crested Weirs to Control Outflows from Tiles Drainage. Water 2023, 15, 3248. [Google Scholar] [CrossRef]
- Angelakis, A.N.; Baba, A.; Valipour, M.; Dietrich, J.; Fallah-Mehdipour, E.; Krasilnikoff, J.; Bilgic, E.; Passchier, C.; Tzanakakis, V.A.; Kumar, R.; et al. Water Dams: From Ancient to Present Times and into the Future. Water 2024, 16, 1889. [Google Scholar] [CrossRef]
- Chen, Y.; Fu, Z.; Chen, Q.; Cui, Z. Discharge Coefficient of Rectangular Short-Crested Weir with Varying Slope Coefficients. Water 2018, 10, 204. [Google Scholar] [CrossRef]
- El Hattab, M.H.; Mijic, A.; Vernon, D. Optimised Triangular Weir Design for Assessing the Full-Scale Performance of Green Infrastructure. Water 2019, 11, 773. [Google Scholar] [CrossRef]
- Li, J.; Han, J. Experimental study of discharge formulas for rectangular sharp-crested weirs under free flow condition. J. Flow Meas. Instrum. 2022, 84, 102115. [Google Scholar] [CrossRef]
- Lenz, A.T. Viscosity and surface tension effects on V-notch weir coefficients. Trans. Am. Soc. Civ. Eng. 1943, 108, 759–782. [Google Scholar] [CrossRef]
- Shen, J. Discharge Characteristics of Triangular-Notch Thin-Plate Weirs; US Geological Survey: Reston, VA, USA, 1981. [Google Scholar] [CrossRef]
- Kadlubowski, B.M.; Brown, J.M.; Forney, L.J.; Sommerfeld, J.T. Process dynamics for overflow devices of rectangular, circular, parabolic and triangular shape—Loss prevention applications. J. Loss Prev. Process Ind. 1997, 10, 229–235. [Google Scholar] [CrossRef]
- Daneshfaraz, R.; Norouzi, R.; Abraham, J.P.; Ebadzadeh, P.; Akhondi, B.; Abar, M. Determination of flow characteristics over sharp-crested triangular plan form weirs using numerical simulation. Water Sci. 2023, 37, 211–224. [Google Scholar] [CrossRef]
- Jaiswal, A.; Goel, A.; Sihag, P. Approximation of aeration efficiency at sharp-crested weirs using metaheuristic regression approaches. J. Hydroinformatics 2023, 25, 1084–1102. [Google Scholar] [CrossRef]
- Li, J.; Han, J.; Dai, W.; Xiao, R.; Liang, Q.; Ma, Y. A comprehensive experimental investigation on discharge formulae of free flow over fully contracted rectangular sharp-crested weirs. Flow Meas. Instrum. 2023, 94, 102484. [Google Scholar] [CrossRef]
- Baddour, R.E. Head-discharge Equation for sharp-crested polynomial weir. J. Irrig. Drain. Eng. 2008, 134, 260–262. [Google Scholar] [CrossRef]
- Vatankhah, A.R. Head-discharge Equation for sharp-crested weir with piecewise-linear sides. J. Irrig. Drain. Eng. 2012, 138, 1011–1018. [Google Scholar] [CrossRef]
- Murthy, K.K.; Ramesh, H.S.; Prakash, M.S. Geometrically simple logarithmic weir. J. Irrig. Drain. Eng. 1995, 121, 419–426. [Google Scholar] [CrossRef]
- Castillo, L.G.; Carrillo, J.M. Scour, Velocities and Pressures Evaluations Produced by Spillway and Outlets of Dam. Water 2016, 8, 68. [Google Scholar] [CrossRef]
- Daneshfaraz, R.; Norouzi, R.; Ebadzadeh, P.; Di Francesco, S.; Abraham, J.P. Experimental study of geometric shape and size of sill effects on the hydraulic performance of sluice gates. Water 2023, 15, 314. [Google Scholar] [CrossRef]
- Ghaderi, A.; Daneshfaraz, R.; Dasineh, M.; Di Francesco, S. Energy dissipation and hydraulics of flow over trapezoidal–triangular labyrinth weirs. Water 2020, 12, 1992. [Google Scholar] [CrossRef]
- Haghiabi, A.H.; Nou, M.R.G.; Parsaie, A. The energy dissipation of flow over the labyrinth weirs. Alex. Eng. J. 2022, 61, 3729–3733. [Google Scholar] [CrossRef]
- Selim, T.; Hamed, A.K.; Elkiki, M.; Eltarabily, M.G. Numerical investigation of flow characteristics and energy dissipation over piano key and trapezoidal labyrinth weirs under free-flow conditions. Model. Earth Syst. Environ. 2024, 10, 1253–1272. [Google Scholar] [CrossRef]
- Eslinger, R.K.; Crookston, B.M. Energy dissipation of type a piano key weirs. Water 2020, 12, 1253. [Google Scholar] [CrossRef]
- Singh, D.; Kumar, M. Energy dissipation of flow over the type-B Piano Key Weir. Flow Meas. Instrum. 2022, 83, 102109. [Google Scholar] [CrossRef]
- Farhadi, H.; Moghadam, M.K.; Sabzevari, T.; Noroozpour, S. Study of relative energy dissipation of trapezoidal and arced piano key weirs equipped with baffles. Water Supply 2023, 23, 80–93. [Google Scholar] [CrossRef]
- Christodoulou, G.C. Energy dissipation on stepped spillways. J. Hydraul. Eng. 1993, 119, 644–650. [Google Scholar] [CrossRef]
- Felder, S.; Chanson, H. Energy dissipation down a stepped spillway with nonuniform step heights. J. Hydraul. Eng. 2011, 137, 1543–1548. [Google Scholar] [CrossRef]
- Chanson, H. Energy dissipation on stepped spillways and hydraulic challenges—Prototype and laboratory experiences. J. Hydrodyn. 2022, 34, 52–62. [Google Scholar] [CrossRef]
- Ikinciogullari, E. Energy dissipation performance of labyrinth and harmonic stepped spillways. J. Hydroinformatics 2024, 26, 2668–2682. [Google Scholar] [CrossRef]
- Albank, H.H.; Khassaf, S.I. Experimental study on energy dissipation with different slope of downstream ogee spillway. AIP Conf. Proc. 2024, 3091, 020037. [Google Scholar]
- Nangare, P.B.; Wadkar, D.V.; Wagh, M.P. The investigation of energy dissipation in ogee profile spillway model. Arab. J. Geosci. 2024, 17, 70. [Google Scholar] [CrossRef]
- Chamani, M.; Rajaratnam, N. Energy loss at drops. J. Hydraul. Res. 1995, 33, 373–384. [Google Scholar] [CrossRef]
- Daneshfaraz, R.; Sadeghi, H.; Ghaderi, A.; Abraham, J.P. Characteristics of hydraulic jump and energy dissipation in the downstream of stepped spillways with rough steps. Flow Meas. Instrum. 2024, 96, 102506. [Google Scholar] [CrossRef]
- Khodier, M.A.; Tullis, B.P. The influence of projection angle on nappe stability at low energy heads over the weir crest. Water Supply 2022, 22, 7226–7241. [Google Scholar] [CrossRef]
- Castillo, L.; Carrillo, J.M.; Blázquez, A. Plunge pool mean dynamic pressures: A temporal analysis in nappe flow case. J. Hydraul. Res. 2015, 53, 101–118. [Google Scholar] [CrossRef]
- Carrillo, J.M.; Ortega, P.R.; Castillo, L.G.; García, J.T. Experimental Characterization of Air Entrainment in Rectangular Free Falling Jets. Water 2020, 12, 1773. [Google Scholar] [CrossRef]
- Amin, M.R.; Rajaratnam, N.; Zhu, D. Energy loss below rectangular sharp-crested weirs for free flows. In Proceedings of the 38th IAHR World Congress, Panama City, Panama, 1–6 September 2019; pp. 1–7. [Google Scholar] [CrossRef]
- Amin, M.R.; Rajaratnam, N.; Zhu, D.Z. Flow and Energy Loss Downstream of Rectangular Sharp-Crested Weirs for Free and Submerged Flows. J. Fluids Eng. 2022, 144, 031201. [Google Scholar] [CrossRef]
- Singh, U.K.; Roy, P. Energy dissipation in hydraulic jumps using triple screen layers. Appl. Water Sci. 2023, 13, 17. [Google Scholar] [CrossRef]
- Swamee, P.K. Sluice-gate discharge equations. J. Irrig. Drain. Eng. 1992, 118, 56–60. [Google Scholar] [CrossRef]
- Salehi, S.; Azimi, A.H.; Bonakdari, H. Hydraulics of sharp-crested weir culverts with downstream ramps in free-flow, partially, and fully submerged-flow conditions. Irrig. Sci. 2021, 39, 191–207. [Google Scholar] [CrossRef]
- Oertel, M.; Shen, X. 3D Printing Technique for Experimental Modeling of Hydraulic Structures: Exemplary Scaled Weir Models. Water 2022, 14, 2153. [Google Scholar] [CrossRef]
- Sohrabzadeh Anzani, H.; Ghodsian, M. Experimental study of flow over piano key weirs with different plan shapes. ISH J. Hydraul. Eng. 2024, 30, 185–195. [Google Scholar] [CrossRef]
- Zhang, W.; Liu, X.; Gan, B. Experimental Study on Upstream Water Level Rise of Submerged Rock Weirs. Water 2024, 16, 2136. [Google Scholar] [CrossRef]
- Ettema, R. Hydraulic Modeling: Concepts and Practice; ASCE Publications: Reston, VA, USA, 2000; Volume 97. [Google Scholar]
- Haghnazar, H.; Saneie, M. Impacts of pit distance and location on river sand mining management. Model. Earth Syst. Environ. 2019, 5, 1463–1472. [Google Scholar] [CrossRef]
- Gharahjeh, S.; Aydin, I.; Altan-Sakarya, A.B. Weir velocity formulation for sharp-crested rectangular weirs. Flow Meas. Instrum. 2015, 41, 50–56. [Google Scholar] [CrossRef]
- Dadamahalleh, P.A.; Hamidi, M.; Khalili, A.M. Bed sill effect on bridge pier scour with debris obstruction: An experimental investigation. Innov. Infrastruct. Solut. 2024, 9, 142. [Google Scholar] [CrossRef]
- Hamidi, M.; Koohsari, A.; Khalili, A.M. Numerical investigation of mining pit effects on maximum scour depth around bridge pier with different shape. Model. Earth Syst. Environ. 2024, 10, 5189–5203. [Google Scholar] [CrossRef]
- Mahdian Khalili, A.; Akbari Dadamahalleh, P.; Hamidi, M. Experimental evaluation of dune formation downstream of pier scour hole with upstream debris accumulation. J. Hydraul. Struct. 2024, 10, 13–28. [Google Scholar] [CrossRef]
- Heller, V. Scale effects in physical hydraulic engineering models. J. Hydraul. Res. 2011, 49, 293–306. [Google Scholar] [CrossRef]
- Mirhoseini, S.A.; Kabiri-Samani, A.; Keihanpour, M.; Izadinia, E. Parametric study of flow at circular piano-key inlets over the vertical shaft spillways. J. Hydraul. Res. 2024, 62, 125–143. [Google Scholar] [CrossRef]
- Erpicum, S.; Silvestri, A.; Dewals, B.; Archambeau, P.; Pirotton, M.; Colombié, M.; Faramond, L. Escouloubre Piano Key Weir: Prototype Versus Scale Models. In Labyrinth and Piano Key Weirs II; CRC Press: London, UK, 2013; pp. 65–72. [Google Scholar]
- Raju, R. Scale Effects in Analysis of Discharge Characteristics of Weir and Sluice Gates; Kobus: Esslingen am Neckar, Germany, 1984. [Google Scholar]
- Madadi, M.R.; Dalir, A.H.; Farsadizadeh, D. Investigation of flow characteristics above trapezoidal broad-crested weirs. Flow Meas. Instrum. 2014, 38, 139–148. [Google Scholar] [CrossRef]
- Lauria, A.; Calomino, F.; Alfonsi, G.; D’Ippolito, A. Discharge coefficients for sluice gates set in weirs at different upstream wall inclinations. Water 2020, 12, 245. [Google Scholar] [CrossRef]
- Daneshfaraz, R.; Norouzi, R.; Ebadzadeh, P. Evaluation Effect of changing the sill geometries and positions on discharge coefficient of vertical sluice gate. J. Civ. Environ. Eng. 2023, 53, 117–127. [Google Scholar] [CrossRef]
- Rao, N.S.L. Theory of weirs. Adv. Hydrosci. 1975, 10, 309–406. [Google Scholar] [CrossRef]
- Chanson, H. Half-Round Circular Crested Weir: On Hysteresis, Instabilities, and Head–Discharge Relationship. J. Irrig. Drain. Eng. 2020, 146, 04020008. [Google Scholar] [CrossRef]
- Kandaswamy, P.K.; Rouse, H. Characteristics of flow over terminal weirs and sills. J. Hydraul. Div. 1957, 83, 1–13. [Google Scholar] [CrossRef]
- Li, Z.; Yang, F.; Han, C.; Fan, Z.; Yu, K.; Han, K.; Wu, J. Investigating the Energy Dissipation Mechanism of Piano Key Weir: An Integrated Approach Using Physical and Numerical Modeling. Water 2024, 16, 2620. [Google Scholar] [CrossRef]
- Wang, Y.; Lv, M.; Wang, W.; Meng, M. Discharge Formula and Hydraulics of Rectangular Side Weirs in the Small Channel and Field Inlet. Water 2024, 16, 713. [Google Scholar] [CrossRef]












| Test | Q (L/s) | b (cm) | P (cm) | B (cm) | b/B | b/P |
|---|---|---|---|---|---|---|
| A1 | 0.7 | 15 | 10 | 60 | 6/24 | 1.5 |
| A2 | 1 | 15 | 10 | 60 | 6/24 | 1.5 |
| A3 | 1.4 | 15 | 10 | 60 | 6/24 | 1.5 |
| A4 | 2.1 | 15 | 10 | 60 | 6/24 | 1.5 |
| A5 | 2.8 | 15 | 10 | 60 | 6/24 | 1.5 |
| A6 | 3.5 | 15 | 10 | 60 | 6/24 | 1.5 |
| A7 | 4.2 | 15 | 10 | 60 | 6/24 | 1.5 |
| A8 | 4.9 | 15 | 10 | 60 | 6/24 | 1.5 |
| B1 | 0.7 | 17.5 | 10 | 60 | 7/24 | 1.75 |
| B2 | 1 | 17.5 | 10 | 60 | 7/24 | 1.75 |
| B3 | 1.4 | 17.5 | 10 | 60 | 7/24 | 1.75 |
| B4 | 2.1 | 17.5 | 10 | 60 | 7/24 | 1.75 |
| B5 | 2.8 | 17.5 | 10 | 60 | 7/24 | 1.75 |
| B6 | 3.5 | 17.5 | 10 | 60 | 7/24 | 1.75 |
| B7 | 4.2 | 17.5 | 10 | 60 | 7/24 | 1.75 |
| B8 | 4.9 | 17.5 | 10 | 60 | 7/24 | 1.75 |
| C1 | 0.7 | 20 | 10 | 60 | 8/24 | 2 |
| C2 | 1 | 20 | 10 | 60 | 8/24 | 2 |
| C3 | 1.4 | 20 | 10 | 60 | 8/24 | 2 |
| C4 | 2.1 | 20 | 10 | 60 | 8/24 | 2 |
| C5 | 2.8 | 20 | 10 | 60 | 8/24 | 2 |
| C6 | 3.5 | 20 | 10 | 60 | 8/24 | 2 |
| C7 | 4.2 | 20 | 10 | 60 | 8/24 | 2 |
| C8 | 4.9 | 20 | 10 | 60 | 8/24 | 2 |
| D1 | 0.7 | 22.5 | 10 | 60 | 9/24 | 2.25 |
| D2 | 1 | 22.5 | 10 | 60 | 9/24 | 2.25 |
| D3 | 1.4 | 22.5 | 10 | 60 | 9/24 | 2.25 |
| D4 | 2.1 | 22.5 | 10 | 60 | 9/24 | 2.25 |
| D5 | 2.8 | 22.5 | 10 | 60 | 9/24 | 2.25 |
| D6 | 3.5 | 22.5 | 10 | 60 | 9/24 | 2.25 |
| D7 | 4.2 | 22.5 | 10 | 60 | 9/24 | 2.25 |
| D8 | 4.9 | 22.5 | 10 | 60 | 9/24 | 2.25 |
| F1 | 0.7 | 25 | 10 | 60 | 10/24 | 2.5 |
| F2 | 1 | 25 | 10 | 60 | 10/24 | 2.5 |
| F3 | 1.4 | 25 | 10 | 60 | 10/24 | 2.5 |
| F4 | 2.1 | 25 | 10 | 60 | 10/24 | 2.5 |
| F5 | 2.8 | 25 | 10 | 60 | 10/24 | 2.5 |
| F6 | 3.5 | 25 | 10 | 60 | 10/24 | 2.5 |
| F7 | 4.2 | 25 | 10 | 60 | 10/24 | 2.5 |
| F8 | 4.9 | 25 | 10 | 60 | 10/24 | 2.5 |
| Test | Q (m3/s) | q (m2/s) | b/B | b/P | h0/b | h0/P | h0 (cm) | h1 (cm) | E1/E0 | ∆Er | Cd |
|---|---|---|---|---|---|---|---|---|---|---|---|
| A1 | 0.0007 | 0.001167 | 6/24 | 1.5 | 0.126 | 0.189 | 1.89 | 4.61 | 0.387 | 0.613 | 0.608 |
| A2 | 0.0010 | 0.001667 | 6/24 | 1.5 | 0.157 | 0.236 | 2.36 | 5.18 | 0.419 | 0.581 | 0.623 |
| A3 | 0.0014 | 0.002333 | 6/24 | 1.5 | 0.198 | 0.297 | 2.97 | 6.20 | 0.477 | 0.523 | 0.618 |
| A4 | 0.0021 | 0.0035 | 6/24 | 1.5 | 0.256 | 0.384 | 3.84 | 7.47 | 0.539 | 0.461 | 0.630 |
| A5 | 0.0028 | 0.004667 | 6/24 | 1.5 | 0.316 | 0.474 | 4.74 | 8.81 | 0.597 | 0.403 | 0.612 |
| A6 | 0.0035 | 0.005833 | 6/24 | 1.5 | 0.359 | 0.538 | 5.38 | 9.83 | 0.638 | 0.362 | 0.633 |
| A7 | 0.0042 | 0.007 | 6/24 | 1.5 | 0.408 | 0.612 | 6.12 | 10.89 | 0.674 | 0.326 | 0.626 |
| A8 | 0.0049 | 0.008167 | 6/24 | 1.5 | 0.448 | 0.672 | 6.72 | 11.93 | 0.712 | 0.288 | 0.635 |
| B1 | 0.0007 | 0.001167 | 7/24 | 1.75 | 0.098 | 0.171 | 1.71 | 4.81 | 0.410 | 0.590 | 0.606 |
| B2 | 0.0010 | 0.001667 | 7/24 | 1.75 | 0.123 | 0.216 | 2.16 | 5.39 | 0.443 | 0.557 | 0.610 |
| B3 | 0.0014 | 0.002333 | 7/24 | 1.75 | 0.155 | 0.271 | 2.71 | 6.34 | 0.498 | 0.502 | 0.607 |
| B4 | 0.0021 | 0.0035 | 7/24 | 1.75 | 0.202 | 0.354 | 3.54 | 7.72 | 0.569 | 0.431 | 0.610 |
| B5 | 0.0028 | 0.004667 | 7/24 | 1.75 | 0.246 | 0.431 | 4.31 | 8.97 | 0.625 | 0.375 | 0.606 |
| B6 | 0.0035 | 0.005833 | 7/24 | 1.75 | 0.284 | 0.497 | 4.97 | 9.79 | 0.652 | 0.348 | 0.611 |
| B7 | 0.0042 | 0.007 | 7/24 | 1.75 | 0.321 | 0.561 | 5.61 | 11.03 | 0.704 | 0.296 | 0.612 |
| B8 | 0.0049 | 0.008167 | 7/24 | 1.75 | 0.355 | 0/621 | 6.21 | 12.04 | 0.740 | 0.260 | 0.613 |
| C1 | 0.0007 | 0.001167 | 8/24 | 2 | 0.080 | 0.159 | 1.59 | 4.91 | 0.423 | 0.577 | 0.591 |
| C2 | 0.0010 | 0.001667 | 8/24 | 2 | 0.100 | 0.201 | 2.01 | 5.52 | 0.459 | 0.541 | 0.594 |
| C3 | 0.0014 | 0.002333 | 8/24 | 2 | 0.126 | 0.252 | 2.52 | 6.37 | 0.508 | 0.492 | 0.593 |
| C4 | 0.0021 | 0.0035 | 8/24 | 2 | 0.164 | 0.329 | 3.29 | 7.71 | 0.578 | 0.422 | 0.596 |
| C5 | 0.0028 | 0.004667 | 8/24 | 2 | 0.200 | 0.399 | 3.99 | 9.11 | 0.649 | 0.351 | 0.595 |
| C6 | 0.0035 | 0.005833 | 8/24 | 2 | 0.231 | 0.462 | 4.62 | 10.08 | 0.687 | 0.313 | 0.597 |
| C7 | 0.0042 | 0.007 | 8/24 | 2 | 0.261 | 0.522 | 5.22 | 11.14 | 0.729 | 0.271 | 0.596 |
| C8 | 0.0049 | 0.008167 | 8/24 | 2 | 0.288 | 0.577 | 5.77 | 11.87 | 0.749 | 0.251 | 0.599 |
| D1 | 0.0007 | 0.001167 | 9/24 | 2.25 | 0.064 | 0.144 | 1.44 | 4.96 | 0.433 | 0.567 | 0.610 |
| D2 | 0.0010 | 0.001667 | 9/24 | 2.25 | 0.081 | 0.182 | 1.82 | 5.62 | 0.474 | 0.526 | 0.613 |
| D3 | 0.0014 | 0.002333 | 9/24 | 2.25 | 0.102 | 0.229 | 2.29 | 6.51 | 0.528 | 0.472 | 0.608 |
| D4 | 0.0021 | 0.0035 | 9/24 | 2.25 | 0.133 | 0.299 | 2.99 | 7.60 | 0.583 | 0.417 | 0.611 |
| D5 | 0.0028 | 0.004667 | 9/24 | 2.25 | 0.161 | 0.363 | 3.63 | 9.08 | 0.663 | 0.337 | 0.609 |
| D6 | 0.0035 | 0.005833 | 9/24 | 2.25 | 0.186 | 0.419 | 4.19 | 10.22 | 0.716 | 0.284 | 0.614 |
| D7 | 0.0042 | 0.007 | 9/24 | 2.25 | 0.210 | 0.473 | 4.73 | 11.27 | 0.761 | 0.239 | 0.614 |
| D8 | 0.0049 | 0.008167 | 9/24 | 2.25 | 0.232 | 0.523 | 5.23 | 12.24 | 0.799 | 0.214 | 0.617 |
| F1 | 0.0007 | 0.001167 | 10/24 | 2.5 | 0.053 | 0.133 | 1.33 | 5.03 | 0/443 | 0.557 | 0.618 |
| F2 | 0.0010 | 0.001667 | 10/24 | 2.5 | 0.067 | 0.168 | 1.68 | 5.58 | 0/476 | 0.524 | 0.622 |
| F3 | 0.0014 | 0.002333 | 10/24 | 2.5 | 0.084 | 0.211 | 2.11 | 6.60 | 0/543 | 0.457 | 0.619 |
| F4 | 0.0021 | 0.0035 | 10/24 | 2.5 | 0.110 | 0.276 | 2.76 | 7.93 | 0/618 | 0.382 | 0.620 |
| F5 | 0.0028 | 0.004667 | 10/24 | 2.5 | 0.134 | 0.335 | 3.35 | 9.37 | 0/698 | 0.302 | 0.619 |
| F6 | 0.0035 | 0.005833 | 10/24 | 2.5 | 0.155 | 0.388 | 3.88 | 10.44 | 0/747 | 0.253 | 0.620 |
| F7 | 0.0042 | 0.007 | 10/24 | 2.5 | 0.175 | 0.437 | 4.37 | 11.39 | 0/787 | 0.213 | 0.629 |
| F8 | 0.0049 | 0.008167 | 10/24 | 2.5 | 0.193 | 0.483 | 4.83 | 12.33 | 0/825 | 0.175 | 0.625 |
| Model | Prediction Equation | Error Indexes | |||||
|---|---|---|---|---|---|---|---|
| R2 | RE% | RMSE | MAPE% | PBIAS% | NSE | ||
| Present Study | Equation (6) | 0.988 | 4.14 | 0.0083 | 1.43 | 0.51 | 0.97 |
| Amin et al. [39] | Equation (5) | 0.854 | 28.13 | 0.1224 | 21.37 | 28.15 | 0.29 |
| Parameter | Minimum | Maximum |
|---|---|---|
| h0/P | 0.133 | 0.672 |
| b/B | 6/24 | 10/24 |
| Cd | 0.591 | 0.635 |
| b/P | 1.5 | 2.5 |
Disclaimer/Publisher’s Note: The statements, opinions and data contained in all publications are solely those of the individual author(s) and contributor(s) and not of MDPI and/or the editor(s). MDPI and/or the editor(s) disclaim responsibility for any injury to people or property resulting from any ideas, methods, instructions or products referred to in the content. |
© 2024 by the authors. Licensee MDPI, Basel, Switzerland. This article is an open access article distributed under the terms and conditions of the Creative Commons Attribution (CC BY) license (https://creativecommons.org/licenses/by/4.0/).
Share and Cite
Sohrabzadeh Anzani, H.; Kantoush, S.A.; Mahdian Khalili, A.; Hamidi, M. Energy Dissipation Assessment in Flow Downstream of Rectangular Sharp-Crested Weirs. Water 2024, 16, 3371. https://doi.org/10.3390/w16233371
Sohrabzadeh Anzani H, Kantoush SA, Mahdian Khalili A, Hamidi M. Energy Dissipation Assessment in Flow Downstream of Rectangular Sharp-Crested Weirs. Water. 2024; 16(23):3371. https://doi.org/10.3390/w16233371
Chicago/Turabian StyleSohrabzadeh Anzani, Hossein, Sameh Ahmed Kantoush, Ali Mahdian Khalili, and Mehdi Hamidi. 2024. "Energy Dissipation Assessment in Flow Downstream of Rectangular Sharp-Crested Weirs" Water 16, no. 23: 3371. https://doi.org/10.3390/w16233371
APA StyleSohrabzadeh Anzani, H., Kantoush, S. A., Mahdian Khalili, A., & Hamidi, M. (2024). Energy Dissipation Assessment in Flow Downstream of Rectangular Sharp-Crested Weirs. Water, 16(23), 3371. https://doi.org/10.3390/w16233371

