Research on Flood Discharge and Energy Dissipation of a Tunnel Group Layout for a Super-High Rockfill Dam in a High-Altitude Region
Abstract
:1. Introduction
2. General Description of the Project
3. Research Methods and Measurement Techniques
4. Analysis of Test Results
4.1. Flow Pattern
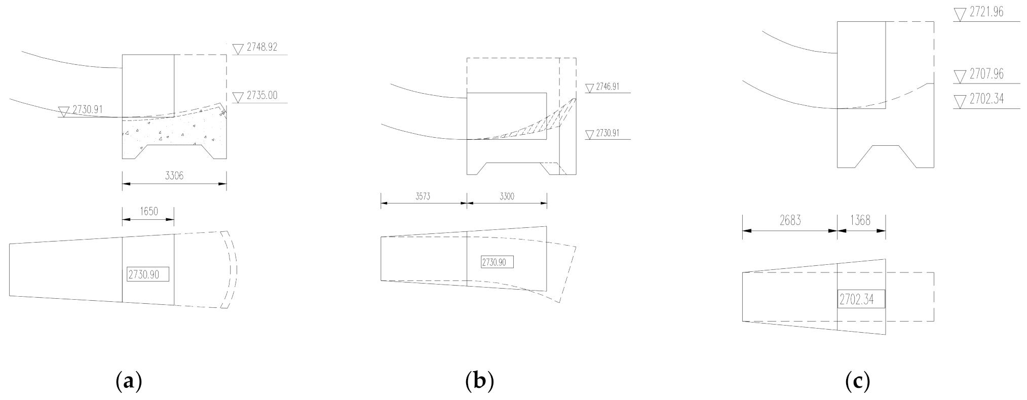
4.1.1. Upturned Flip Bucket
4.1.2. Horizontal Flip Bucket
4.1.3. Downturned Flip Bucket
4.2. Hydrodynamic Pressure
4.3. Velocity Distribution in Downstream
4.4. Analysis of Flood Discharge Atomization
5. Conclusions
Author Contributions
Funding
Institutional Review Board Statement
Informed Consent Statement
Data Availability Statement
Acknowledgments
Conflicts of Interest
References
- Zhang, L.C.; Luo, S.Z.; Wu, S.Q. Experimental Study on Overall Hydraulic Model of Rumei Hydropower Station in Tibet; Nanjing Institute of Hydraulic Sciences: Nanjing, China, 2018. [Google Scholar]
- Miracle, A.; Denslow, N.D.; Kroll, K.J.; Liu, M.C.; Wang, K.K.W.; Andrew, I. Spillway-induced salmon head injury triggers the generation of brain alphaII-spectrin breakdown product biomarkers similar to mammalian traumatic brain injury. PLoS ONE 2009, 4, e4491. [Google Scholar] [CrossRef]
- Zhang, L.C.; Luo, S.Z. Experimental Study on Integral Hydraulic Model of Yulong Kashi Water Control Project; Nanjing Institute of Hydraulic Sciences: Nanjing, China, 2020. [Google Scholar]
- Li, S.; Duan, B. The Highest Dam in the World under Construction: The Shuangjiangkou Core-Wall Rockfill Dam. J. Eng. 2016, 2, 274–275. [Google Scholar] [CrossRef] [Green Version]
- Pan, L.; Wang, C. Experimental Study on the Optimization of the Bucket Shape at the Exit of High Head, Narrow Valley and Large Overflow Spillway Tunnel C. In Proceedings of the Academic Exchange Meeting of Sichuan Hydropower Engineering Association and Six Provincial (District) Construction Technology Exchange Meeting of ”Sichuan Yungui, Hunan, Guangdong and Qing”, Chengdu, Sichuan, China, 2018; p. 4. Available online: https://kns.cnki.net/kcms/detail/detail.aspx?dbcode=CPFD&dbname=CPFDLAST2018&filename=SDFD201811001066&uniplatform=NZKPT&v=jnttCh4w8dpEPuuWpS0aell9T3D%25mmd2FnfKTYq5bnLrcMa6IFEOypKC%25mmd2BlLuqmbUPDyhKbAqO0mG2mAk%3d (accessed on 22 September 2021).
- Zhu, X.W.; Xie, J.J.; Wang, C.; Hou, D.M.; Deng, J. Study on the Type of Flip Bucket at the Outlet of Ultra-High Velocity Spillway tunnel of Lianghekou Hydropower Station. J. Hydropower Stn. Design. 2018, 34, 7–9. [Google Scholar]
- Zhang, Y.C.; Peng, Y. Research for the Optimization test of outlet of flood discharge tunnel in Narrow Water Course with Large Included Angle. J. Jilin Water Resour. 2008, 4, 25–27. [Google Scholar] [CrossRef]
- Xu, L.L.; Diao, M.J.; Yue, S.B.; Ji, C.M. Research on optimizing flip bucket of a certain narrow river hydropower station spillway with big angle of skew. J. Southwest Univ. Natl. (Nat. Sci. Ed.) 2012, 38, 316–319. [Google Scholar] [CrossRef]
- Suo, H.M.; Wang, F.L. Ski-jump energy dissipation and scour prevention design for spillway with high head, narrow river channel and large obliquity. J. Hongshuihe 2013, 32, 5–8. [Google Scholar] [CrossRef]
- Qiu, Y.; Gong, A.M. Application of Flip Trajectory Bucket Skip-Jump Energy Dissipation in Heishiluo Reservoir. J. Hydropower Energy Sci. 2016, 34, 101–103. [Google Scholar]
- Zha, S.Q.; Wang, J.X.; Zhu, Z.G. Control of fall point of waterjet for flood discharge tunnel in narrow channel with right angle. J. Hydropower Energy Sci. 2011, 29, 92–94. [Google Scholar] [CrossRef]
- Zhang, L.; Zhang, J.; Guo, Y.; Peng, Y. Numerical Simulation of the Hydraulic Performances and Flow Pattern of Swallow-Tailed Flip Bucket. J. Math Probl. Eng. 2020, 2020, 6062780. [Google Scholar] [CrossRef]
- Xu, M. Comparative study on flip bucket of spillway tunnel. J. Sichuan Hydropower 2017, 36, 120–123. [Google Scholar] [CrossRef]
- Tan, Z.W.; Wang, J.X. Experimental research on flip bucket combining narrow slit and swallow-tail in flood release tunnel. J. Chang. Acad. Sci. 2015, 32, 40–44. [Google Scholar] [CrossRef]
- Shima, A. The Behavior of a Spherical Bubble in the Vicinity of a Solid Wall. J. Fluid Eng. 1970, 90, 75. [Google Scholar] [CrossRef]
- Wang, Y.J.; Zhang, L.C.; Luo, S.Z. Influence of environmental pressure drop on surface tension coefficient of water. J. Sci. Technol. Eng. 2017, 17, 136–138. [Google Scholar] [CrossRef]
- Lian, J.J.; Dong, Z.; Liu, F.; Liu, D. Experimental study on the influence of low atmospheric pressure on the dynamic pressure. J. Hydropower 2019, 38, 101–110. [Google Scholar] [CrossRef]
- Dong, Z. Study on the Influence of Low-Pressure Environmental on the Hydrodynamic Pressure and the Trajectory Distance of Jet; Tianjin University: Tianjin, China, 2018. [Google Scholar]
- Li, Y.; Wang, Y.; Zhang, D. Influence of environmental pressure on hydraulic characteristics of high arch dam plunge pool. J. Hydraul. Eng. 1999, 9–13. Available online: https://kns.cnki.net/kcms/detail/detail.aspx?dbcode=CJFD&dbname=CJFD9899&filename=SLXB903.001&uniplatform=NZKPT&v=r_FUNe6hGV9hicLe353n6x0mZ3pVeqLPgCfwi-8rAP_rYmWhWPTGwdWsPJP_UT1s (accessed on 22 September 2021).
- Pang, B.H.; Zhang, L.C.; Chi, F.D. Analysis of Ambient Air Pressure Effect on Cavity Length of Aeration Facility. J. Hydropower Energy Sci. 2020, 38, 114–116. [Google Scholar]
- Pang, B.H.; Ma, H.Q. Influence of low atmospheric pressure trajectory distance of high velocity jet nappes at high altitude. J. Hydropower 2018, 37, 88–95. [Google Scholar] [CrossRef]
- Pang, B.H. Influence of Atmospheric Pressure on Cavitation Characteristics of High Velocity Flow at High Altitude. J. Yangtze River Acad. Sci. 2019, 36, 64–67. [Google Scholar] [CrossRef]
- Yan, Z. The similarity of subatmospheric hydraulic model test. J. Water Conserv. 1983, 3, 33–42. [Google Scholar] [CrossRef]
- Jiang, Y.Z. Low Pressure Hydraulics—Study on Characteristics; Nanjing Institute of hydraulic Sciences, Ministry of Water Resources, Ministry of Communications, National Energy Administration: Nanjing, China, 2021. [Google Scholar]
- Jiang, Y.Z.; Zhang, L.C.; Luo, S.Z.; Wu, S.Q. Influence of Decrease of Environmental Pressure on Trajectory of Jet. J. Hydropower Energy Sci. 2021, 39, 101–103. [Google Scholar]
- In model tests under atmospheric and vacuum ambient. J. Water Conserv. 1999, 30, 9–13. [CrossRef]
- Luo, S.Z.; Zhang, L.C. Theory and Method of Comprehensive Evaluation of Hydraulic Safety of Hub Operation Regulation; Yellow River Water Conservancy Press: Zhengzhou, China, 2020; pp. 94–99. [Google Scholar]
- NB, National Energy Administration of the People’s Republic of China. Code of Practice for Hydraulic Model Test of Flood Discharge Atomization for Hydropower Projects; China Electric Power Press: Beijing, China, 2021; p. 2.
- State Economic and Trade Commission of the People’s Republic of China. Design Specification for River-Bank Spillway, DL/T5166-2002; China Electric Power Press: Beijing, China, 2012; pp. 61–62.
- Lian, J.J.; Yang, M. High Dam Discharge Project; China Water Resources and Hydropower Press: Beijing, China, 2008. [Google Scholar]
- Lian, J.J.; Liu, F. Study on Mathematical Model of Flood Discharge Atomization of LC RM Hydropower Project; Tianjin University: Tianjin, China, 2019. [Google Scholar]
























| Flood Discharging Structure | Flow Speed at the Outlet (m/s) | Jet Trajectory Distance (m) | Nappe Width While Diving into Water (m) | |
|---|---|---|---|---|
| Outer Limit | Internal Limit | |||
| No.1 spillway tunnel | 48.4 | 282 | 250 | 48 |
| No.2 spillway tunnel | 48.0 | 280 | 252 | 44 |
| No.3 spillway tunnel | 48.6 | 298 (outer limit at the left side) | 285 (outer limit at the right side) | 64 |
| Flood discharging tunnel | 48.5 | 290 | 260 | 16 |
| Discharge Structure | ||||||
|---|---|---|---|---|---|---|
| No.1 spillway tunnel | 3186 | 3.65 | 140 | 48.4 | 67.43 | 259.82 |
| No.2 spillway tunnel | 3186 | 3.57 | 140 | 48.0 | 66.91 | |
| No.3 spillway tunnel | 3186 | 3.59 | 140 | 48.6 | 67.67 | |
| flood discharging tunnel | 2763 | 5.14 | 135 | 48.5 | 57.80 |
| Flip Flow Mode | |||||
|---|---|---|---|---|---|
| upturned flip mode | 23.81 | 25 | 9.67 | 53.49 | 79.4% |
| horizontal flip mode | 23.89 | 8.62 | 52.61 | 79.8% | |
| downturned flip mode | 24.01 | 6.92 | 51.40 | 80.2% |
| Flip Flow Mode | Rain Region | Longitudinal Range (Distance from the Outlet of Plunge Pool, Negative Sign Is Downstream) | Left Elevation | Right Elevation |
|---|---|---|---|---|
| upturned flip | 100 mm rainstorm region | −145–238 | 2760 | 2660 |
| heavy rainstorm region | −164–246 | 2765 | 2694 | |
| rainstorm region | −206–270 | 2790 | 2718 | |
| drizzle area | −260–289 | 2820 | 2760 | |
| downturned flip | 100 mm rainstorm region | −82–259 | 2720 | 2728 |
| heavy rainstorm region | −108–268 | 2740 | 2743 | |
| rainstorm region | −163–290 | 2788 | 2759 | |
| drizzle area | −193–317 | 2822 | 2783 |
Publisher’s Note: MDPI stays neutral with regard to jurisdictional claims in published maps and institutional affiliations. |
© 2021 by the authors. Licensee MDPI, Basel, Switzerland. This article is an open access article distributed under the terms and conditions of the Creative Commons Attribution (CC BY) license (https://creativecommons.org/licenses/by/4.0/).
Share and Cite
Zhang, H.; Zhang, L.; Wu, S.; Wang, F.; Zhan, Z.; Zheng, X.; Zhang, H.; Bao, W. Research on Flood Discharge and Energy Dissipation of a Tunnel Group Layout for a Super-High Rockfill Dam in a High-Altitude Region. Water 2021, 13, 3408. https://doi.org/10.3390/w13233408
Zhang H, Zhang L, Wu S, Wang F, Zhan Z, Zheng X, Zhang H, Bao W. Research on Flood Discharge and Energy Dissipation of a Tunnel Group Layout for a Super-High Rockfill Dam in a High-Altitude Region. Water. 2021; 13(23):3408. https://doi.org/10.3390/w13233408
Chicago/Turabian StyleZhang, Haichao, Luchen Zhang, Shiqiang Wu, Fuming Wang, Zhenggang Zhan, Xueyu Zheng, Heng Zhang, and Wei Bao. 2021. "Research on Flood Discharge and Energy Dissipation of a Tunnel Group Layout for a Super-High Rockfill Dam in a High-Altitude Region" Water 13, no. 23: 3408. https://doi.org/10.3390/w13233408
APA StyleZhang, H., Zhang, L., Wu, S., Wang, F., Zhan, Z., Zheng, X., Zhang, H., & Bao, W. (2021). Research on Flood Discharge and Energy Dissipation of a Tunnel Group Layout for a Super-High Rockfill Dam in a High-Altitude Region. Water, 13(23), 3408. https://doi.org/10.3390/w13233408
