The Efficient Extraction of β-Carotene from Sea Buckthorn Berries Using a Novel Solvent, Fatty Acid Ethyl Esters, and a Combination of Ultrasound and Microwave
Abstract
1. Introduction
2. Materials and Methods
2.1. Materials
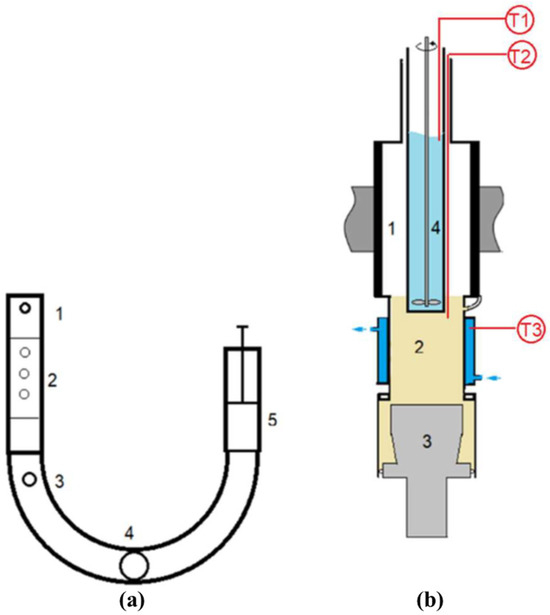
2.2. Simultaneous Ultrasound and Microwave Equipment
2.3. β-Carotene Extraction Procedure
- The CONV method was conducted in a jacketed vessel made of glass. To ensure the required temperature for the extraction process, water was circulated through an external jacket during all CONVs. These experiments were performed at a stirring rate of 800 rpm (using a magnetic stirrer) and at different temperatures (50, 60, and 70 °C).
- The UAE method was carried out using the innovative equipment described in Figure 1, without using microwave. The sonication was applied continuously using different amplitudes of the cup–horn system (40, 50, and 70%) corresponding to a power introduced into the system of 45.2, 50.7, and 56.9 W, respectively (determined directly from the ultrasonic power supplied). To maintain a constant extraction temperature of 50 °C, a cooling agent at a temperature of 20–30 °C was circulated through the bath mantle of coupling fluid.
- The MAE method was carried out using the same equipment (Figure 1) without ultrasound. The microwave power applied was 15 W for all experiments. To maintain the extraction temperature at 50 °C, the temperature of the circulating cooling agent was 15 °C.
- The UMAE method was performed using continuous sonication at an amplitude of 40% and a microwave power of 15 W. The cooling agent temperature was 8 °C to maintain the extraction at 50 °C.
2.4. Determination of β-Carotene Content
2.5. Assessment of total β-Carotene Content
2.6. Determination of β-Carotene Stability over Time
- Kept at room temperature and exposed to light.
- Kept at room temperature in the dark.
- Kept in the refrigerator in the dark.
2.7. Statistical Analysis
3. Results and Discussion
3.1. Conventional Extraction of β-Carotene from Sea Buckthorn Berries
3.2. Non-Conventional Extraction of β-Carotene from Sea Buckthorn Berries
3.3. Determination of β-Carotene Stability over Time
4. Conclusions
5. Patents
Author Contributions
Funding
Data Availability Statement
Conflicts of Interest
References
- Rippin, H.L.; Hutchinson, J.; Jewell, J.; Breda, J.J.; Cade, J.E. Adult Nutrient Intakes from Current National Dietary Surveys of European Populations. Nutrients 2017, 9, 1288. [Google Scholar] [CrossRef] [PubMed]
- Krinsky, N.I.; Johnson, E.J. Carotenoid actions and their relation to health and disease. Mol. Asp. Med. 2005, 26, 459–516. [Google Scholar] [CrossRef] [PubMed]
- Maiani, G.; Caston, M.J.; Catasta, G.; Toti, E.; Cambrodon, I.G.; Bysted, A.; Granado-Lorencio, F.; Olmedilla-Alonso, B.; Knuthsen, P.; Valoti, M.; et al. Carotenoids: Actual knowledge on food sources, intakes, stability and bioavailability and their protective role in humans. Mol. Nutr. Food Res. 2009, 53, S194–S218. [Google Scholar] [CrossRef] [PubMed]
- Clark, S. Beta Carotene. In xPharm: The Comprehensive Pharmacology Reference; Enna, S.J., Bylund, D.B., Eds.; Elsevier: Cardiff, UK, 2007; pp. 1–3. [Google Scholar]
- Gul, K.; Tak, A.; Singh, A.K.; Singh, P.; Yousuf, B.; Wani, A.A.; Yildiz, F. Chemistry, encapsulation, and health benefits of β-carotene—A review. Cogent Food Agric. 2015, 1, 1018696. [Google Scholar] [CrossRef]
- EFSA Panel on Dietetic Products, Nutrition and Allergies. Scientific Opinion on Dietary Reference Values for vitamin A. EFSA J. 2015, 13, 4028. [Google Scholar] [CrossRef]
- Yang, J.; Zhang, Y.; Na, X.; Zhao, A. β-Carotene Supplementation and Risk of Cardiovascular Disease: A Systematic Review and Meta-Analysis of Randomized Controlled Trials. Nutrients 2022, 14, 1284. [Google Scholar] [CrossRef] [PubMed]
- Vance, T.M.; Azabdaftari, G.; Pop, E.A.; Lee, S.G.; Su, L.J.; Fontham, E.T.; Bensen, J.T.; Steck, S.E.; Arab, L.; Mohler, J.L.; et al. Intake of dietary antioxidants is inversely associated with biomarkers of oxidative stress among men with prostate cancer. Br. J. Nutr. 2016, 115, 68–74. [Google Scholar] [CrossRef]
- Huang, J.; Lu, M.-S.; Fang, Y.-J.; Xu, M.; Huang, W.-Q.; Pan, Z.-Z.; Chen, Y.-M.; Zhang, C.-X. Serum carotenoids and colorectal cancer risk: A case-control study in Guangdong, China. Mol. Nutr. Food Res. 2017, 61, 1700267. [Google Scholar] [CrossRef]
- Sowmya Shree, G.; Yogendra Prasad, K.; Arpitha, H.S.; Deepika, U.R.; Nawneet Kumar, K.; Mondal, P.; Ganesan, P. Beta-carotene at physiologically attainable concentration induces apoptosis and down-regulates cell survival and antioxidant markers in human breast cancer (MCF-7) cells. Mol. Cell Biochem. 2017, 436, 1–12. [Google Scholar] [CrossRef]
- Hughes, D. Effects of carotenoids on human immune function. Proc. Nutr. Soc. 1999, 58, 713–718. [Google Scholar] [CrossRef]
- Chen, A.; Feng, X.; Dorjsuren, B.; Chimedtseren, C.; Damda, T.-A.; Zhang, C. Traditional food, modern food and nutritional value of Sea buckthorn (Hippophae rhamnoides L.): A review. J. Future Foods 2023, 3, 191–205. [Google Scholar] [CrossRef]
- International Seabuckthorn Association. Available online: https://uia.org/s/or/en/1100066556 (accessed on 2 February 2024).
- Parvu, C. Enciclopedia plantelor. In Enciclopedia Plantelor. Plante din Flora Romaniei; Editura Tehnică: Bucuresti, Romania, 2003. [Google Scholar]
- Jha, A.K.; Sit, N. Extraction of bioactive compounds from plant materials using combination of various novel methods: A review. Trends Food Sci. Technol. 2022, 119, 579–591. [Google Scholar] [CrossRef]
- Armenta, S.; Garrigues, S.; de la Guardia, M. The role of green extraction techniques in Green Analytical Chemistry. TrAC Trends Anal. Chem. 2015, 71, 2–8. [Google Scholar] [CrossRef]
- Aprodu, I.; Ursache, F.M.; Turturica, M.; Rapeanu, G.; Stanciuc, N. Thermal stability of the complex formed between carotenoids from sea buckthorn (Hippophae rhamnoides L.) and bovine beta-lactoglobulin. Spectrochim. Acta Part A 2017, 173, 562–571. [Google Scholar] [CrossRef] [PubMed]
- Pop, R.M.; Weesepoel, Y.; Socaciu, C.; Pintea, A.; Vincken, J.P.; Gruppen, H. Carotenoid composition of berries and leaves from six Romanian sea buckthorn (Hippophae rhamnoides L.) varieties. Food Chem. 2014, 147, 1–9. [Google Scholar] [CrossRef] [PubMed]
- Giuffrida, D.; Pintea, A.; Dugo, P.; Torre, G.; Pop, R.M.; Mondello, L. Determination of carotenoids and their esters in fruits of sea buckthorn (Hippophae rhamnoides L.) by HPLC-DAD-APCI-MS. Phytochem. Anal. 2012, 23, 267–273. [Google Scholar] [CrossRef] [PubMed]
- Diacon, A.; Călinescu, I.; Vinatoru, M.; Chipurici, P.; Vlaicu, A.; Boscornea, A.C.; Mason, T.J. Fatty Acid Ethyl Esters (FAEE): A New, Green and Renewable Solvent for the Extraction of Carotenoids from Tomato Waste Products. Molecules 2021, 26, 4388. [Google Scholar] [CrossRef]
- Calinescu, I.; Vinatoru, M.; Diacon, A.; Chipurici, P. Biodegradable and Non-Toxic Solvent for the Extraction of Liposoluble Active Principles. Provisional Patent Application, RO133507-A0p 10, Romania. 2018. Available online: https://worldwide.espacenet.com/patent/search/family/067386041/publication/RO133507A0?q=RO133507&queryLang=en%3Ade%3Afr (accessed on 12 January 2024).
- Lopez-Gamez, G.; Elez-Martinez, P.; Martin-Belloso, O.; Soliva-Fortuny, R. Pulsed electric field treatment strategies to increase bioaccessibility of phenolic and carotenoid compounds in oil-added carrot purees. Food Chem. 2021, 364, 130377. [Google Scholar] [CrossRef] [PubMed]
- Patel, A.S.; Kar, A.; Dash, S.; Dash, S.K. Supercritical fluid extraction of beta-carotene from ripe bitter melon pericarp. Sci. Rep. 2019, 9, 19266. [Google Scholar] [CrossRef]
- Tumbas Šaponjac, V.; Kovačević, S.; Šeregelj, V.; Šovljanski, O.; Mandić, A.; Ćetković, G.; Vulić, J.; Podunavac-Kuzmanović, S.; Čanadanović-Brunet, J. Improvement of Carrot Accelerated Solvent Extraction Efficacy Using Experimental Design and Chemometric Techniques. Processes 2021, 9, 1652. [Google Scholar] [CrossRef]
- Jalali-Jivan, M.; Fathi-Achachlouei, B.; Ahmadi-Gavlighi, H.; Jafari, S.M. Improving the extraction efficiency and stability of β-carotene from carrot by enzyme-assisted green nanoemulsification. Innov. Food Sci. Emerg. Technol. 2021, 74, 102836. [Google Scholar] [CrossRef]
- Hladnik, L.; Vicente, F.A.; Košir, A.; Grilc, M.; Likozar, B. Stirred, ultrasound-assisted and microwave-assisted extraction process of β-carotene from Rhodotorula glutinis in biorefinery downstream. Sep. Purif. Technol. 2023, 311, 123293. [Google Scholar] [CrossRef]
- Khadhraoui, B.; Ummat, V.; Tiwari, B.K.; Fabiano-Tixier, A.S.; Chemat, F. Review of ultrasound combinations with hybrid and innovative techniques for extraction and processing of food and natural products. Ultrason. Sonochem. 2021, 76, 105625. [Google Scholar] [CrossRef]
- Lee, C.S.; Binner, E.; Winkworth-Smith, C.; John, R.; Gomes, R.; Robinson, J. Enhancing natural product extraction and mass transfer using selective microwave heating. Chem. Eng. Sci. 2016, 149, 97–103. [Google Scholar] [CrossRef]
- Calinescu, I.; Vinatoru, M.; Ghimpeteanu, D.; Lavric, V.; Mason, T.J. A new reactor for process intensification involving the simultaneous application of adjustable ultrasound and microwave radiation. Ultrason. Sonochem. 2021, 77, 105701. [Google Scholar] [CrossRef] [PubMed]
- Umair, M.; Jabbar, S.; Nasiru, M.M.; Lu, Z.; Zhang, J.; Abid, M.; Murtaza, M.A.; Kieliszek, M.; Zhao, L. Ultrasound-Assisted Extraction of Carotenoids from Carrot Pomace and Their Optimization through Response Surface Methodology. Molecules 2021, 26, 6763. [Google Scholar] [CrossRef]
- Bitwell, C.; Indra, S.S.; Luke, C.; Kakoma, M.K. A review of modern and conventional extraction techniques and their applications for extracting phytochemicals from plants. Sci. Afr. 2023, 19, e01585. [Google Scholar] [CrossRef]
- Shen, L.; Pang, S.; Zhong, M.; Sun, Y.; Qayum, A.; Liu, Y.; Rashid, A.; Xu, B.; Liang, Q.; Ma, H.; et al. A comprehensive review of ultrasonic assisted extraction (UAE) for bioactive components: Principles, advantages, equipment, and combined technologies. Ultrason. Sonochem. 2023, 101, 106646. [Google Scholar] [CrossRef] [PubMed]
- Ozuna, C.; Puig, A.; Garcia-Perez, J.V.; Cárcel, J.A. Ultrasonically enhanced desalting of cod (Gadus morhua). Mass transport kinetics and structural changes. LWT—Food Sci. Technol. 2014, 59, 130–137. [Google Scholar] [CrossRef]
- Aaby, K.; Martinsen, B.K.; Borge, G.I.A.; Røen, D. Bioactive compounds and color of sea buckthorn (Hippophae rhamnoides L.) purees as affected by heat treatment and high-pressure homogenization. Int. J. Food Prop. 2020, 23, 651–664. [Google Scholar] [CrossRef]
- Bhimjiyani, V.H.; Borugadda, V.B.; Naik, S.; Dalai, A.K. Enrichment of flaxseed (Linum usitatissimum) oil with carotenoids of sea buckthorn pomace via ultrasound-assisted extraction technique: Enrichment of flaxseed oil with sea buckthorn. Curr. Res. Food Sci. 2021, 4, 478–488. [Google Scholar] [CrossRef] [PubMed]
- 21CFR172.515; Code of Federal Regulations, Synthetic Flavoring Substances and Adjuvants. Food and Drug Administration: Silver Spring, MD, USA, 2023.




| Fatty Acid | Composition (%) |
|---|---|
| Palmitic acid | 6.88 |
| Stearic acid | 3.16 |
| Arahic acid | 0.81 |
| Behenic acid | 0.26 |
| Palmitoleic acid | 0.12 |
| Oleic acid | 14.06 |
| Eicosanoic acid | 0.47 |
| Linoleic acid | 58.17 |
| Eicosadienoic acid | 0.13 |
| Linolenic acid | 15.18 |
| γ-Linolenic acid | 0.76 |
| Days | 0 | 1 | 3 | 7 | 15 | 30 | 60 | 90 |
|---|---|---|---|---|---|---|---|---|
| Room temperature, exposed to light, 1st vial | 7.10 ᵃ ±0.12 mg/g DM | 3.66 ᵇ ±0.09 | 2.65 c ±0.06 | 2.22 ᵈ ±0.04 | 1.75 ᵉ ±0.03 | 0.35 f ±0.01 | 0.29 f ±0.01 | 0.25 f ±0.01 |
| Room temperature, kept in the dark, 2nd vial | 5.38 ᵇ ±0.10 | 4.52 c ±0.15 | 4.34 ᵈ ±0.10 | 3.93 ᵉ ±0.05 | 2.03 f ±0.05 | 1.67 ᵍ ±0.03 | 0.94 h ±0.01 | |
| Refrigerator, kept in the dark, 3rd vial | 6.17 ᵇ ±0.19 | 5.16 c ±0.12 | 4.87 ᵈ ±0.13 | 4.27 ᵉ ±0.07 | 3.10 f ±0.05 | 2.59 ᵍ ±0.04 | 1.90 h ±0.05 |
| Days | 0 | 1 | 3 | 7 | 15 | 30 | 60 | 90 |
|---|---|---|---|---|---|---|---|---|
| Room temperature, exposed to light, 4th vial | 7.10 ᵃ ±0.12 mg/g DM | 6.72 ᵇ ±0.11 | 6.60 ᵇ ±0.09 | 6.27 c ±0.20 | 5.99 ᵈ ±0.20 | 5.88 ᵈ,ᵉ ±0.16 | 5.82 ᵈ,ᵉ ±0.15 | 5.67 ᵉ ±0.09 |
| Room temperature, kept in the dark, 5th vial | 6.90 ᵃ ±0.21 | 6.80 ᵃ ±0.17 | 6.35 ᵇ ±0.09 | 6.16 ᵇ,c ±0.15 | 6.14 ᵇ,c ±0.22 | 5.94 c,ᵈ ±0.20 | 5.79 ᵈ ±0.16 | |
| Refrigerator, kept in the dark, 6th vial | 7.05 ᵃ,ᵇ ±0.16 | 6.97 ᵃ,ᵇ ±0.25 | 6.90 ᵃ,ᵇ,c ±0.19 | 6.87 ᵃ,ᵇ,c ±0.12 | 6.86 ᵃ,ᵇ,c ±0.10 | 6.77 ᵇ,c ±0.19 | 6.59 c ±0.12 |
Disclaimer/Publisher’s Note: The statements, opinions and data contained in all publications are solely those of the individual author(s) and contributor(s) and not of MDPI and/or the editor(s). MDPI and/or the editor(s) disclaim responsibility for any injury to people or property resulting from any ideas, methods, instructions or products referred to in the content. |
© 2024 by the authors. Licensee MDPI, Basel, Switzerland. This article is an open access article distributed under the terms and conditions of the Creative Commons Attribution (CC BY) license (https://creativecommons.org/licenses/by/4.0/).
Share and Cite
Staicu, V.; Calinescu, I.; Vinatoru, M.; Ghimpeteanu, D.; Popa, I.; Mason, T.J. The Efficient Extraction of β-Carotene from Sea Buckthorn Berries Using a Novel Solvent, Fatty Acid Ethyl Esters, and a Combination of Ultrasound and Microwave. Agronomy 2024, 14, 416. https://doi.org/10.3390/agronomy14030416
Staicu V, Calinescu I, Vinatoru M, Ghimpeteanu D, Popa I, Mason TJ. The Efficient Extraction of β-Carotene from Sea Buckthorn Berries Using a Novel Solvent, Fatty Acid Ethyl Esters, and a Combination of Ultrasound and Microwave. Agronomy. 2024; 14(3):416. https://doi.org/10.3390/agronomy14030416
Chicago/Turabian StyleStaicu, Vasile, Ioan Calinescu, Mircea Vinatoru, Daniela Ghimpeteanu, Ioana Popa, and Timothy J. Mason. 2024. "The Efficient Extraction of β-Carotene from Sea Buckthorn Berries Using a Novel Solvent, Fatty Acid Ethyl Esters, and a Combination of Ultrasound and Microwave" Agronomy 14, no. 3: 416. https://doi.org/10.3390/agronomy14030416
APA StyleStaicu, V., Calinescu, I., Vinatoru, M., Ghimpeteanu, D., Popa, I., & Mason, T. J. (2024). The Efficient Extraction of β-Carotene from Sea Buckthorn Berries Using a Novel Solvent, Fatty Acid Ethyl Esters, and a Combination of Ultrasound and Microwave. Agronomy, 14(3), 416. https://doi.org/10.3390/agronomy14030416

