Optimization of Printing Process Variables and the Effect of Post-Heat Treatments on the Mechanical Properties of Extruded Polylactic Acid–Aluminum Composites
Abstract
:1. Introduction
2. Materials and Methods
2.1. Materials
2.2. Fabrication Method
2.3. Selected Process Parameters and Their Levels
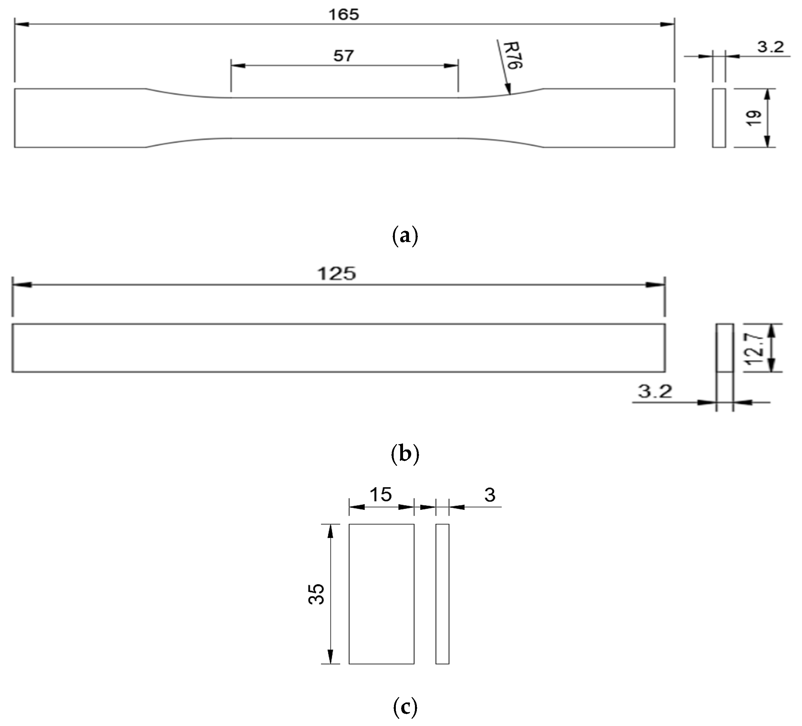
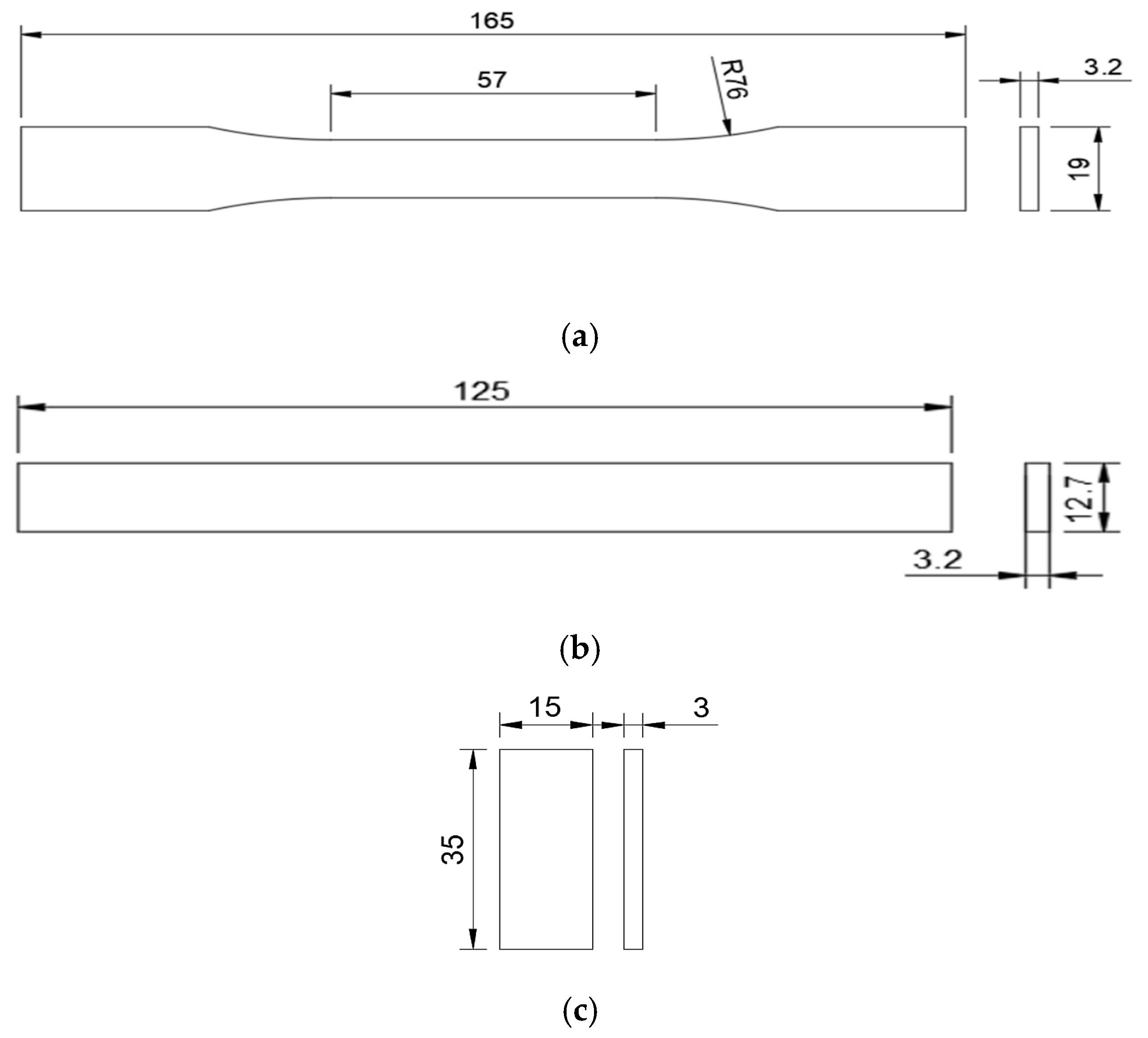
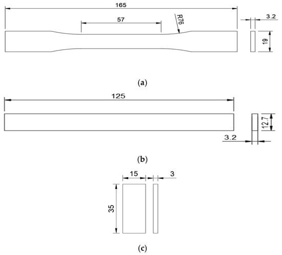
2.4. Post Heating and Mechanical Properties’ Evaluation Methods
- V = Sliding velocity (m/s);
- R = Radius of the wear track (m);
- N = Rotating speed of the disk (rpm).
- S = Sliding distance (m);
- t = Sliding time (s).
- VL = Volume loss (mm3);
- ML = Mass loss (grams);
- ρ = Density of the material (g/cm3).
- WR = Wear rate (mm3/m).
3. Results and Discussion
4. Regression Analysis
5. Macroscopic and Microscopic Analysis
6. Conclusions
Supplementary Materials
Author Contributions
Funding
Institutional Review Board Statement
Data Availability Statement
Acknowledgments
Conflicts of Interest
References
- Prakash, C.; Singh, S.; Kopperi, H.; Ramakrihna, S.; Mohan, S.V. Comparative Job Production Based Life Cycle Assessment of Conventional and Additive Manufacturing Assisted Investment Casting of Aluminium: A Case Study. J. Clean. Prod. 2021, 289, 125164. [Google Scholar] [CrossRef]
- Masood, S. Introduction to Advances in Additive Manufacturing and Tooling. In Comprehensive Materials Processing; Advances in Additive Manufacturing and Tooling; Elsevier: Oxford, UK, 2014; Volume 10. [Google Scholar]
- Kumar, S. Selective Laser Sintering/Melting. In Comprehensive Materials Processing; Hashmi, S., Batalha, G.F., Van Tyne, C.J., Yilbas, B., Eds.; Elsevier: Oxford, UK, 2014; pp. 93–134. ISBN 978-0-08-096533-8. [Google Scholar]
- Verma, D.K.; Goh, K.L. Functionalized Graphene-Based Nanocomposites for Energy Applications. In Functionalized Graphene Nanocomposites and their Derivatives; Elsevier: Amsterdam, The Netherlands, 2019. [Google Scholar]
- García-collado, A.; Blanco, J.M.; Kumar, M.; Dorado-vicente, R. Advances in Polymers Based Multi-Material Additive-Manufacturing Techniques: State-of-Art Review on Properties and Applications. Addit. Manuf. 2022, 50, 102577. [Google Scholar] [CrossRef]
- Wang, Y.; Fan, Z.; Zhang, H.; Guo, J.; Yan, D.; Wang, S.; Dai, K.; Li, Z. 3D-Printing of Segregated Carbon Nanotube/Polylactic Acid Composite with Enhanced Electromagnetic Interference Shielding and Mechanical Performance. Mater. Des. 2021, 197, 109222. [Google Scholar] [CrossRef]
- Sathies, T.; Senthil, P.; Prakash, C. Application of 3D Printed PLA-Carbon Black Conductive Polymer Composite in Solvent Sensing. Mater. Res. Express 2019, 6, 115349. [Google Scholar] [CrossRef]
- Sandanamsamy, L.; Mogan, J.; Rajan, K.; Harun, W.S.W.; Ishak, I.; Romlay, F.R.M.; Samykano, M.; Kadirgama, K. Effect of Process Parameter on Tensile Properties of FDM Printed PLA. Mater. Today Proc. 2023, in press. [CrossRef]
- Marșavina, L.; Vălean, C.; Mărghitaș, M.; Linul, E.; Razavi, N.; Berto, F.; Brighenti, R. Effect of the Manufacturing Parameters on the Tensile and Fracture Properties of FDM 3D-Printed PLA Specimens. Eng. Fract. Mech. 2022, 274, 108766. [Google Scholar] [CrossRef]
- Chen, E.; Xiong, Z.; Cai, X.; Liu, S.; Qin, X.; Sun, J.; Jin, X.; Sun, K. Bioresorbable PPDO Sliding-Lock Stents with Optimized FDM Parameters for Congenital Heart Disease Treatment. J. Mech. Behav. Biomed. Mater. 2023, 138, 105609. [Google Scholar] [CrossRef]
- Giri, J.; Shahane, P.; Jachak, S.; Chadge, R.; Giri, P. Optimization of FDM Process Parameters for Dual Extruder 3d Printer Using Artificial Neural Network. Mater. Today Proc. 2021, 43, 3242–3249. [Google Scholar] [CrossRef]
- Wang, Y.; Liu, Z.; Gu, H.; Cui, C.; Hao, J. Improved Mechanical Properties of 3D-Printed SiC/PLA Composite Parts by Microwave Heating. J. Mater. Res. 2019, 34, 3412–3419. [Google Scholar] [CrossRef]
- Haque, N.; Azarfam, M.Y.; Noori, H. Microwave-Assisted Fracture Toughness Improvement in Additively Manufactured Polylactic Acid—Copper Composite. J. Mater. Sci. 2021, 56, 11298–11308. [Google Scholar] [CrossRef]
- Hameed, A.Z.; Aravind Raj, S.; Kandasamy, J.; Shahzad, M.A.; Baghdadi, M.A. 3D Printing Parameter Optimization Using Taguchi Approach to Examine Acrylonitrile Styrene Acrylate (ASA) Mechanical Properties. Polymers 2022, 14, 3256. [Google Scholar] [CrossRef]
- Sakthi Balan, G.; Aravind Raj, S.; Shahar, F.S.; Hameed Sultan, M.T. Tailoring Polymer Composites for Critical Thermal Applications: A Review on Fibers, Additives, Coatings, Aerogels, Test Methodologies. Polym. Technol. Mater. 2023, 62, 2221–2254. [Google Scholar] [CrossRef]
- Balan, G.S.; Raj, S.A.; Sridharan, M.; Adithya, R.N. A Study of the Effect of Printing Process Parameters on the Delamination and Surface Finish Properties of Aluminium-Infused PLA Printed via Material Extrusion. Aust. J. Mech. Eng. 2023, 1–21. [Google Scholar] [CrossRef]
- Kumar, K.R.; Gokul, M.; Kumar, M. Investigations on Mechanical Properties and Characterisation of Polylactic Acid/Aluminium Metal Infill Polymer Composites Manufactured by Fused Deposition Modelling. J. Mater. Eng. Perform. 2023. [Google Scholar] [CrossRef]
- Kumar, R.; Ranjan, N.; Kumar, V.; Kumar, R.; Chohan, J.S.; Yadav, A.; Piyush; Sharma, S.; Prakash, C.; Singh, S.; et al. Characterization of Friction Stir-Welded Polylactic Acid/Aluminum Composite Primed through Fused Filament Fabrication. J. Mater. Eng. Perform. 2022, 31, 2391–2409. [Google Scholar] [CrossRef]
- Vardhan, H.; Kumar, R.; Chohan, J.S. Investigation of Tensile Properties of Sprayed Aluminium Based PLA Composites Fabricated by FDM Technology. Mater. Today Proc. 2019, 33, 1599–1604. [Google Scholar] [CrossRef]
- Zhang, X.; Chen, L. Effects of Laser Scanning Speed on Surface Roughness and Mechanical Properties of Aluminum/Polylactic Acid (Al/PLA) Composites Parts Fabricated by Fused Deposition Modeling. Polym. Test. 2020, 91, 106785. [Google Scholar] [CrossRef]
- Nugroho, A.; Ardiansyah, R.; Rusita, L.; Larasati, I.L. Effect of Layer Thickness on Flexural Properties of PLA (PolyLactid Acid) by 3D Printing. J. Phys. Conf. Ser. 2018, 1130, 012017. [Google Scholar] [CrossRef]
- Phillips, C.; Kortschot, M.; Azhari, F. Towards Standardizing the Preparation of Test Specimens Made with Material Extrusion: Review of Current Techniques for Tensile Testing. Addit. Manuf. 2022, 58, 103050. [Google Scholar] [CrossRef]
- Naveed, N. Investigate the Effects of Process Parameters on Material Properties and Microstructural Changes of 3D-Printed Specimens Using Fused Deposition Modelling (FDM). Mater. Technol. 2021, 36, 317–330. [Google Scholar] [CrossRef]
- Korga, S.; Barszcz, M.; Zgryza, Ł. The Effect of the 3D Printout Filling Parameter on the Impact Strength of Elements Made with the FDM Method. IOP Conf. Ser. Mater. Sci. Eng. 2019, 710, 012027. [Google Scholar] [CrossRef]
- Hanon, M.M.; Marczis, R.; Zsidai, L. Influence of the 3D Printing Process Settings on Tensile Strength of PLA and HT-PLA. Period. Polytech. Mech. Eng. 2021, 65, 38–46. [Google Scholar] [CrossRef]
- Hsueh, M.; Lai, C.; Liu, K.; Chung, C.; Wang, S.; Pan, C.; Huang, W.; Hsieh, C.; Zeng, Y. Effects of Printing Temperature and Filling Percentage on the Mechanical Behavior of Fused Deposition Molding Technology Components for 3D Printing. Polymers 2021, 13, 2910. [Google Scholar] [CrossRef]
- Zhang, Y.; Choi, J.P.; Moon, S.K. Effect of Geometry on the Mechanical Response of Additively Manufactured Polymer. Polym. Test. 2021, 100, 107245. [Google Scholar] [CrossRef]
- Renganathan, S.; Saritha, D. Effect of Fill Pattern and Printing Speed on Friction Characteristics of FDM Printed Polylactic Acid Polymer. Adv. Mater. Process. Technol. 2022, 8, 1583–1592. [Google Scholar] [CrossRef]
- Akhoundi, B.; Behravesh, A.H. Effect of Filling Pattern on the Tensile and Flexural Mechanical Properties of FDM 3D Printed Products. Exp. Mech. 2019, 59, 883–897. [Google Scholar] [CrossRef]
- Pundir, R.; Chary, G.H.V.C.; Dastidar, M.G. Application of Taguchi Method for Optimizing the Process Parameters for the Removal of Copper and Nickel by Growing Aspergillus sp. Water Resour. Ind. 2018, 20, 83–92. [Google Scholar] [CrossRef]
- Vidal, C.; Infante, V.; Vilaça, P. Assessment of Improvement Techniques Effect on Fatigue Behaviour of Friction Stir Welded Aerospace Aluminium Alloys. Procedia Eng. 2010, 2, 1605–1616. [Google Scholar] [CrossRef]
- Baskar, K.V.J.; Sabarish, P.P. Overview on L9 Taguchi Optimizational Method. Int. J. Adv. Res. Eng. Technol. 2019, 10, 652–658. [Google Scholar]
- Ehrmann, G.; Brockhagen, B.; Ehrmann, A. Shape-Memory Properties of 3D Printed Cubes from Diverse PLA Materials with Different Post-Treatments. Technologies 2021, 9, 71. [Google Scholar] [CrossRef]
- Vatandaş, B.B.; Gümrük, R.; Uşun, A.; Yildiz, N. The Effect of Heat Treatments Applied to Continuous Fiber Reinforced Thermoplastic Composites on Mechanical Properties. Open J. Nano 2022, 7, 10–17. [Google Scholar] [CrossRef]
- Rahman, R.; Zhafer Firdaus Syed Putra, S. Tensile Properties of Natural and Synthetic Fiber-Reinforced Polymer Composites. In Mechanical and Physical Testing of Biocomposites, Fibre-Reinforced Composites and Hybrid Composites; Jawaid, M., Thariq, M., Saba, N., Eds.; Woodhead Publishing Series in Composites Science and Engineering; Woodhead Publishing: Sawston, UK, 2019; pp. 81–102. ISBN 978-0-08-102292-4. [Google Scholar]
- Chakraborty, J.N. Strength Properties of Fabrics: Understanding, Testing and Enhancing Fabric Strength. In Understanding and Improving the Durability of Textiles Understanding and Improving the Durability of Textiles; Woodhead Publishing: Sawston, UK, 2012; pp. 31–58. [Google Scholar] [CrossRef]
- Campo, E.A. (Ed.) Mechanical Properties of Polymeric Materials. In Selection of Polymeric Materials; Plastics Design Library; William Andrew Publishing: Norwich, NY, USA, 2008; pp. 41–101. ISBN 978-0-8155-1551-7. [Google Scholar]
- White, A.A.; Best, S.M. Properties and Characterisation of Bone Repair Materials. In Bone Repair Biomaterials; Planell, J.A., Best, S.M., Lacroix, D., Merolli, A., Eds.; Woodhead Publishing Series in Biomaterials; Woodhead Publishing: Sawston, UK, 2009; pp. 121–153. ISBN 978-1-84569-385-5. [Google Scholar]
- Ma, Y.; Liu, Y.; Tong, J. Tribology of Thermosetting Composites. In Tribology of Polymer Composites; Rangappa, S.M., Siengchin, S., Parameswaranpillai, J., Friedrich, K., Eds.; Elsevier Series on Tribology and Surface Engineering; Elsevier: Amsterdam, The Netherlands, 2021; pp. 189–211. ISBN 978-0-12-819767-7. [Google Scholar]
- ASTM D638-14; Standard Test Method for Tensile Properties of Plastics. ASTM International: West Conshohocken, PA, USA, 2022.
- Chandra, T.O.; Sentanu, D.A.; Gornes, W.; Sentanuhady, J.; Setiawan, A.; Nonato, G.; Akhsin, M. Tensile Properties of Epoxy Resin Filled with Activated Carbon Derived from Coconut Shell. Mater. Today Proc. 2022, 66, 2967–2971. [Google Scholar] [CrossRef]
- John, J.; Devjani, D.; Ali, S.; Abdallah, S.; Pervaiz, S. Optimization of 3D Printed Polylactic Acid Structures with Different Infill Patterns Using Taguchi-Grey Relational Analysis. Adv. Ind. Eng. Polym. Res. 2023, 6, 62–78. [Google Scholar] [CrossRef]
- ASTM D790-17; Standard Test Methods for Flexural Properties of Unreinforced and Reinforced Plastics and Electrical Insulating Materials. ASTM International: West Conshohocken, PA, USA, 2017.
- Prasad, M.M.; Harikrishnan, R.; Khan, M.S.; Santhoshkumar, T.; Rajkumar, T.; Nandhagopan, S. Study on Mechanical Properties and Microstructural Analysis of Glass Wool Fiber, Silicon Added Epoxy Hybrid Composite. Mater. Today Proc. 2023, 77, 509–514. [Google Scholar] [CrossRef]
- Tanna, J.; Kagathara, R.; Shah, D.B.; Joshi, S.; Bhojawala, V. Investigation of Process Parameters on Flexural Properties for CFRP Composites. Mater. Today Proc. 2023, 76, 177–181. [Google Scholar] [CrossRef]
- ASTM D2240-15; Standard Test Method for Rubber Property—Durometer Hardness. ASTM International: West Conshohocken, PA, USA, 2021.
- Sophia, A.; Retna, A.M. Stearic Acid Modified Casein Based Nanocomposites with Improved Mechanical and Thermal Properties. Mater. Today Proc. 2018, 5, 6247–6257. [Google Scholar] [CrossRef]
- Sales, F.C.P.; Ariati, R.M.; Noronha, V.T.; Ribeiro, J.E. Mechanical Characterization of PDMS with Different Mixing Ratios. Procedia Struct. Integr. 2022, 37, 383–388. [Google Scholar] [CrossRef]
- ASTM G99-17; Standard Test Method for Wear Testing with a Pin-on-Disk Apparatus. ASTM International: West Conshohocken, PA, USA, 2023.
- Chhabra, D.; Deswal, S.; Kaushik, A.; Garg, R.K.; Kovács, A.; Khargotra, R.; Singh, T. Analysis of Fused Filament Fabrication Parameters for Sliding Wear Performance of Carbon Reinforced Polyamide Composite Material Fabricated Parts Using a Hybrid Heuristic Tool. Polym. Test. 2023, 118, 107910. [Google Scholar] [CrossRef]
- EN 31:2011+A1:2014; Wash Basins—Connecting dimensions. European Committee for Standardization: Brussels, Belgium, 2014.
- Agaliotis, E.M.; Ake-Concha, B.D.; May-Pat, A.; Morales-Arias, J.P.; Bernal, C.; Valadez-Gonzalez, A.; Herrera-Franco, P.J.; Proust, G.; Koh-Dzul, J.F.; Carrillo, J.G.; et al. Tensile Behavior of 3D Printed Polylactic Acid (PLA) Based Composites Reinforced with Natural Fiber. Polymers 2022, 14, 3976. [Google Scholar] [CrossRef]














| S. No. | Variables | Units | Stages | ||
|---|---|---|---|---|---|
| 1 | 2 | 3 | |||
| 1 | Print angle | ° | 15 | 30 | 45 |
| 2 | Air gap | - | Zero | +ve | −ve |
| 3 | Fill pattern | - | Concentric | Honeycomb | Hilbert curve |
| Trials | Input Parameters | Output Parameters | |||||
|---|---|---|---|---|---|---|---|
| Print Angle | Air Gap | Fill Pattern | Tensile Strength (MPa) | Flexural Strength (MPa) | Shore D Hardness | Wear Rate × 10−2 (mm3/m) | |
| 1 | 15 | Zero | Concentric | 41.5 | 77.70 | 82.4 | 1.72 |
| 2 | 15 | Positive | Honeycomb | 42.33 | 78.53 | 81.8 | 1.55 |
| 3 | 15 | Negative | Hilbert curve | 43.44 | 79.64 | 82.6 | 1.47 |
| 4 | 30 | Zero | Honeycomb | 42.25 | 78.45 | 83.8 | 1.63 |
| 5 | 30 | Positive | Hilbert curve | 43.48 | 79.68 | 83.2 | 1.51 |
| 6 | 30 | Negative | Concentric | 43.01 | 79.21 | 84.6 | 1.43 |
| 7 | 45 | Zero | Hilbert curve | 43.82 | 80.02 | 84.1 | 1.46 |
| 8 | 45 | Positive | Concentric | 43.43 | 79.63 | 84.5 | 1.39 |
| 9 | 45 | Negative | Honeycomb | 44.47 | 80.67 | 85.7 | 1.32 |
| Trials | Input Parameters | Output Parameters | |||||
|---|---|---|---|---|---|---|---|
| Print Angle | Air Gap | Fill Pattern | Tensile Strength (MPa) | Flexural Strength (MPa) | Shore D Hardness | Wear Rate × 10−2 (mm3/m) | |
| 1 | 15 | Zero | Concentric | 43.8 | 81.77 | 83.24 | 1.49 |
| 2 | 15 | Positive | Honeycomb | 44.63 | 83.03 | 82.98 | 1.35 |
| 3 | 15 | Negative | Hilbert curve | 45.74 | 85.18 | 83.67 | 1.27 |
| 4 | 30 | Zero | Honeycomb | 44.55 | 83.11 | 84.12 | 1.38 |
| 5 | 30 | Positive | Hilbert curve | 45.78 | 83.88 | 84.51 | 1.25 |
| 6 | 30 | Negative | Concentric | 45.31 | 84.94 | 85.65 | 1.21 |
| 7 | 45 | Zero | Hilbert curve | 46.12 | 84.67 | 85.25 | 1.29 |
| 8 | 45 | Positive | Concentric | 45.73 | 84.83 | 86.04 | 1.25 |
| 9 | 45 | Negative | Honeycomb | 46.77 | 86.21 | 86.86 | 1.09 |
| Source | F-Value | |||
|---|---|---|---|---|
| Tensile Strength | Flexural Strength | Hardness | Wear Rate | |
| Regression | 64.65 | 29.26 | 72.44 | 86.68 |
| Print angle | 98.82 | 34.47 | 178.16 | 100.17 |
| Air gap | 56 | 48.26 | 33.28 | 151.35 |
| Fill pattern | 39.12 | 5.04 | 5.88 | 8.52 |
| Property | Predicted Levels | Predicted Value | Experimental Value | Error Percentage |
|---|---|---|---|---|
| Tensile strength in MPa | A3B3C3 | 47.14 | 46.82 | 0.67 |
| Flexural strength in MPa | A3B3C3 | 86.63 | 85.92 | 0.81 |
| Shore D hardness | A3B3C1 | 86.92 | 86.87 | 0.05 |
| Wear rate ×10−2 (mm3/m) | A3B3C3 | 1.08 | 1.06 | 1.85 |
| Sl. No. | Elements | Weight Percentage |
|---|---|---|
| 1 | Carbon | 50.93 |
| 2 | Oxygen | 47.64 |
| 3 | Aluminum | 1.42 |
Disclaimer/Publisher’s Note: The statements, opinions and data contained in all publications are solely those of the individual author(s) and contributor(s) and not of MDPI and/or the editor(s). MDPI and/or the editor(s) disclaim responsibility for any injury to people or property resulting from any ideas, methods, instructions or products referred to in the content. |
© 2023 by the authors. Licensee MDPI, Basel, Switzerland. This article is an open access article distributed under the terms and conditions of the Creative Commons Attribution (CC BY) license (https://creativecommons.org/licenses/by/4.0/).
Share and Cite
Ganapathy, S.B.; Sakthivel, A.R.; Kandasamy, J.; Khan, T.; Aloufi, M. Optimization of Printing Process Variables and the Effect of Post-Heat Treatments on the Mechanical Properties of Extruded Polylactic Acid–Aluminum Composites. Polymers 2023, 15, 4698. https://doi.org/10.3390/polym15244698
Ganapathy SB, Sakthivel AR, Kandasamy J, Khan T, Aloufi M. Optimization of Printing Process Variables and the Effect of Post-Heat Treatments on the Mechanical Properties of Extruded Polylactic Acid–Aluminum Composites. Polymers. 2023; 15(24):4698. https://doi.org/10.3390/polym15244698
Chicago/Turabian StyleGanapathy, Sakthi Balan, Aravind Raj Sakthivel, Jayakrishna Kandasamy, Tabrej Khan, and Mansour Aloufi. 2023. "Optimization of Printing Process Variables and the Effect of Post-Heat Treatments on the Mechanical Properties of Extruded Polylactic Acid–Aluminum Composites" Polymers 15, no. 24: 4698. https://doi.org/10.3390/polym15244698
APA StyleGanapathy, S. B., Sakthivel, A. R., Kandasamy, J., Khan, T., & Aloufi, M. (2023). Optimization of Printing Process Variables and the Effect of Post-Heat Treatments on the Mechanical Properties of Extruded Polylactic Acid–Aluminum Composites. Polymers, 15(24), 4698. https://doi.org/10.3390/polym15244698

