Cross-Radiometric Calibration and NDVI Application Comparison of FY-4A/AGRI Based on Aqua-MODIS
Abstract
:1. Introduction
2. Introduction to Sensors and Data
2.1. FY-4A/AGRI
2.2. Aqua-MODIS
2.3. DATA
3. Method Introduction
3.1. Cross-Calibration Process
- Data matching: In the reference image and unmarked image, the region that maximally satisfies the imposed conditions is found as the location of the matching sample region.
- Spectral matching is used to convert the MODIS top-of-atmosphere reflectance (TOA reflectance) value to a simulated FY-4A/AGRI TOA reflectance value.
- Outlier elimination: A uniformity test and an outlier elimination process are carried out on the position of the matched sample region after performing spectral correction to achieve improved calibration accuracy.
- A cross-calibration calculation and linear fitting are performed on the apparent simulated FY-4A/AGRI reflectivity value and pixel value to obtain the cross-calibration coefficient.
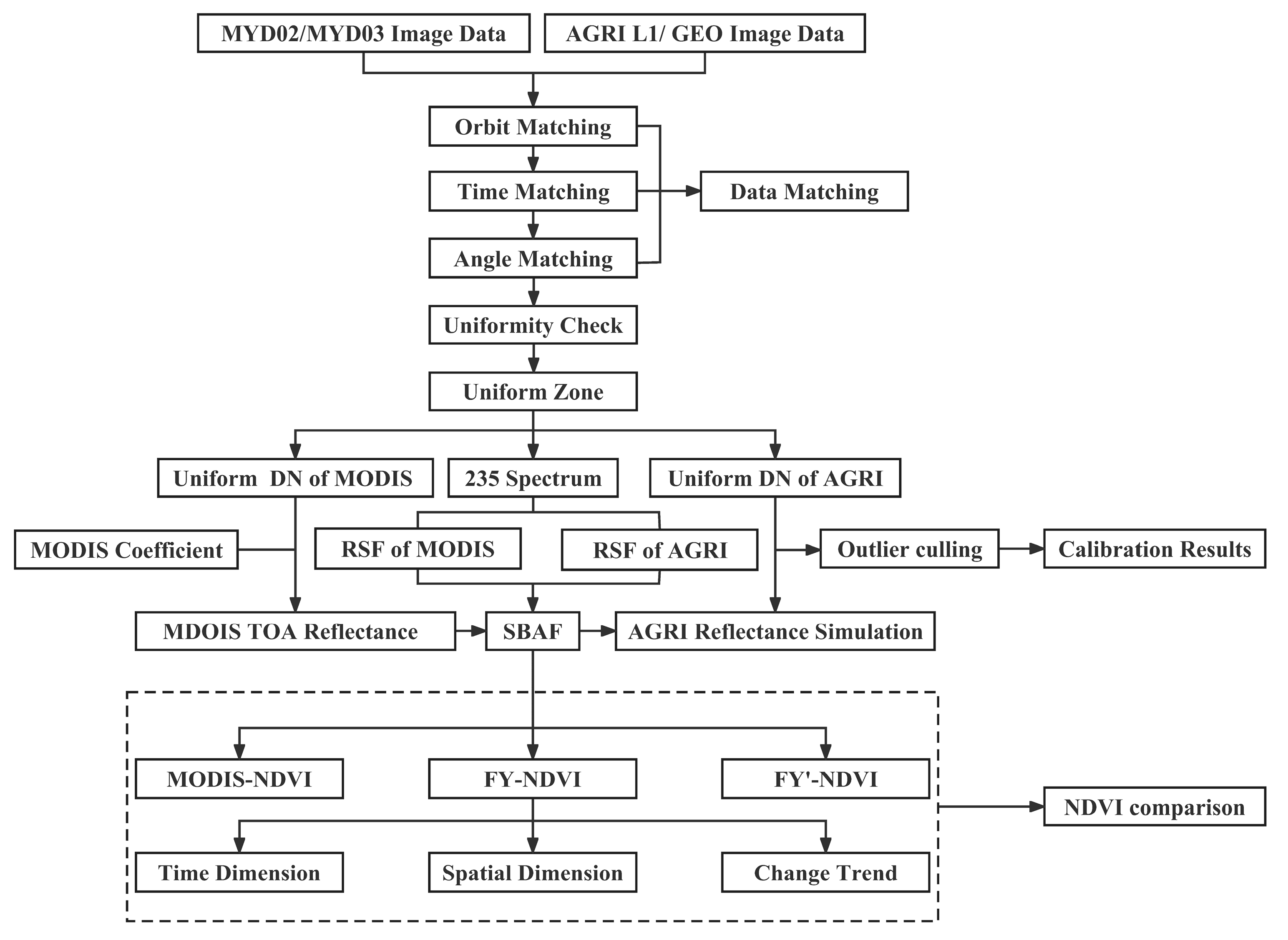
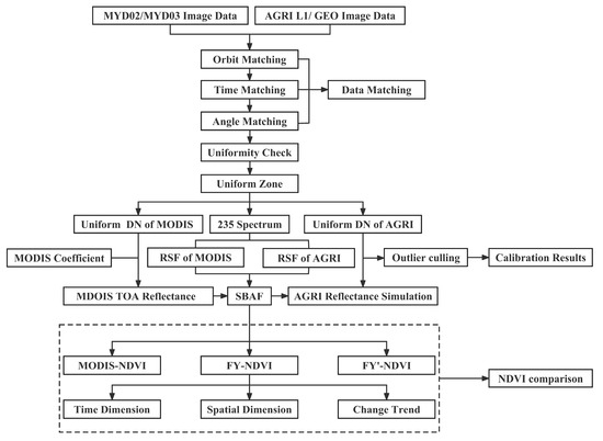
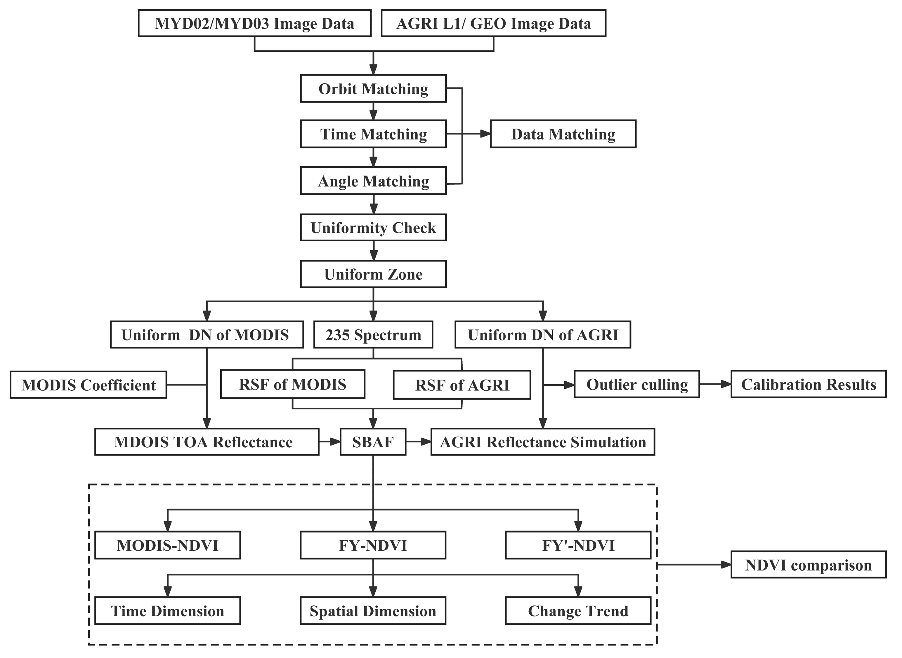
- The NDVI calculation and comparative analysis are conducted, the FY-4A/AGRI and MODIS image data bands before and after the cross-radiometric calibration are operated to calculate the daily NDVI, and then the monthly NDVI is calculated using the maximum synthesis method, which is compared and analyzed at three levels, namely, time, space, and change trend. The specific flow of the cross-calibration of the MODIS-based FY-4A/AGRI cross-radiometric calibration and the comparative analysis of the NDVI application are shown in Figure 3.
3.2. Cross-Calibration Methods
3.2.1. Observational Geometric Matching
- Orbit Matching
- 2.
- Time Matching
- 3.
- Observational Geometry Matching
3.2.2. Spectral Matching
3.2.3. Filter
- Uniformity test
- 2.
- Outlier elimination
3.2.4. Cross-Calibration Calculation
3.3. Atmospheric Correction
3.4. NDVI Consistency Assessment
- NDVI calculation
- 2.
- Related Analysis
- 3.
- Trend analysis of NDVI
4. Results
4.1. Analysis of Cross-Calibration Results
4.1.1. Geometric Matching
4.1.2. Spectral Correction
4.1.3. Cross-Radiation Calibration Results
4.2. Validation of Cross-Calibration Results
4.2.1. TOA Reflectance Comparison
4.2.2. NDVI Comparison of Typical Features
4.3. NDVI Comparison of FY-4A/AGRI and MODIS
4.3.1. Time Difference Analysis of NDVI
4.3.2. Spatial Difference Analysis of NDVI
4.3.3. Analysis of Variation Trend of NDVI
5. Discussion
5.1. Cross-Calibration Coefficient Analysis
5.2. TOA Reflectance Difference Analysis
5.3. NDVI Quality Analysis of FY-4A/AGRI
6. Conclusions
- The method used to calculate the SBAFs in this paper can effectively correct the difference between the TOA reflectance values of the two sensors. After performing SBAF correction, the TOA reflectance ratios of the red and NIR bands of the MODIS and FY-4A/AGRI sensors in uniform regions reach 1.063 and 1.0, respectively, which are significant improvements over the values produced before performing spectral correction.
- Based on an analysis of 16 cross-radiometric calibration calculations performed on historical data from August 2018 to September 2020, the calibration results and stability of the MODIS as the radiation benchmark are relatively good, and the cross-radiometric calibration coefficient error is less than 5.2%. The results show that this method can be effectively applied to FY-4A/AGRI sensor radiation calibration.
- Based on an analysis of 31 cross-radiometric calibration calculation results obtained from historical data from October 2020 to December 2022, the sensor has good stability, but a certain degree of attenuation occurs during long-term orbit operation, and the annual attenuation rates of the red band and NIR band are 1.37% and 2.55%, respectively. The attenuation phenomenon of the NIR band is obvious.
- Through a comparative analysis of the TOA reflectance values of the FY-4A/AGRI and MODIS in the red band and NIR band, the results show that the two sensors have a strong correlation after performing cross calibration. Based on the fast scanning frequency of FY-4A/AGRI, more cloud-free observation images can be obtained. Overcoming the low time resolutions of traditional polar-orbiting satellites makes it possible to produce high-time-resolution NDVI.
- Through a comparative analysis of the FY-4A/AGRI NDVI and MODIS NDVI before and after cross-radiometric calibration from temporal, spatial, and trend change perspectives, the results indicate a strong correlation between the FY’-NDVI and MODIS-NDVI after cross-radiometric calibration. This analysis demonstrates the effectiveness of the cross-radiometric calibration method employed in reducing radiometric differences between the two sensors and improving the accuracy of FY-4A/AGRI’s NDVI product calculations.
Author Contributions
Funding
Data Availability Statement
Acknowledgments
Conflicts of Interest
Abbreviations
| BRDF | Bidirectional reflectance distribution function |
| SBAF | Spectral band adjustment factor |
| NDVI | Normalized difference vegetation index |
| NIR | Near infrared |
| TOA | Top-of-atmosphere |
| SRF | Spectral response functions |
| DN | Digital number |
| LUT | Lookup table |
References
- Zhu, S.F.; Qie, L.L.; Xu, H.; Xie, Y.Q.; Li, Z.Q.; Xie, Y.S.; Ge, B.Y.; Li, K.T. In-flight cross radiometric calibration of DPC/GaoFen-5 and MODIS/Aqua. Acta Opt. Sin. 2022, 42, 1828008. [Google Scholar]
- Tan, K.; Wang, X.; Niu, C.; Wang, F.; Du, P.J.; Sun, D.X.; Yuan, J.; Zhang, J. Vicarious calibration for the AHSI instrument of Gaofen-5 with reference to the CRCS Dunhuang test site. IEEE Trans. Geosci. Remote Sens. 2021, 59, 3409–3419. [Google Scholar] [CrossRef]
- Huang, F.; Shen, X.; Liu, J.; Li, G.; Ying, J. Research on radiometric calibration for super wide-angle staring infrared imaging system. Infrared Phys. Technol. 2013, 61, 9–13. [Google Scholar] [CrossRef]
- Zhao, Y.G.; Ma, L.L.; Li, C.R.; Gao, C.X.; Wang, N.; Tang, L.L. Radiometric cross-calibration of Landsat-8/OLI and GF-1/PMS sensors using an instrumented sand site. IEEE J. Sel. Top. Appl. Earth Obs. Remote Sens. 2018, 11, 3822–3829. [Google Scholar] [CrossRef]
- Guo, H.; Fu, W.; Liu, G. Scientific Satellite and Moon-Based Earth Observation for Global Change; Springer: Singapore, 2019. [Google Scholar]
- Cao, C.; Weinreb, M.; Xu, H. Predicting simultaneous nadir overpasses among polar-orbiting meteorological satellites for the intersatellite calibration of radiometers. J. Atmos. Oceanic Technol. 2004, 21, 537–542. [Google Scholar] [CrossRef]
- Wang, L.; Goldberg, M.; Wu, X.; Cao, C.; Robert, A.; Iacovazzi, J.; Yu, F.; Li, Y. Consistency assessment of atmospheric infrared sounder and infrared atmospheric sounding interferometer radiances: Double differences versus simultaneous nadir overpasses. J. Geophys. Res. Atmos. 2011, 116. [Google Scholar] [CrossRef]
- Han, J.; Tao, Z.; Xie, Y.; Li, H.N.; Liu, Q.Y.; Guan, X.G. A Novel Radiometric Cross-Calibration of GF-6/WFV with MODIS at the Dunhuang Radiometric Calibration Site. IEEE J. Sel. Top. Appl. Earth Obs. Remote Sens. 2021, 14, 1645–1653. [Google Scholar] [CrossRef]
- Liu, J.J.; Li, Z.; Qiao, Y.L.; Liu, Y.J.; Zhang, Y.X. A new method for cross-calibration of two satellite sensors. Int. J. Remote Sens. 2004, 25, 5267–5281. [Google Scholar] [CrossRef]
- Li, Y.; Zhang, Y.X.; Liu, J.J.; Rong, Z.G.; Zhang, L.J.; Zhang, Y.H. Calibration of the visible and NIR channels of the FY-2C/FY-2D GEO meteorological satellite at radiometric site. Acta Opt. Sin. 2009, 29, 41–46. [Google Scholar]
- Hu, X.Q.; Zhang, Y.X.; Qiu, K.M. In-flight radiometric calibration for VIR channels of FY-1C satellite sensor by using irradiance-based method. J. Remote Sens. 2003, 7, 458–464. [Google Scholar]
- Chen, C.; Zhang, B.; Zhang, H.; Zhang, W.; Zhang, Y. HJ-1A multispectral imagers radiometric performance in the first year. In Proceedings of the 2010 IEEE International Geoscience and Remote Sensing Symposium (IGARSS), Honolulu, HI, USA, 25–30 July 2010; pp. 4264–4267. [Google Scholar]
- Gao, H.L.; Gu, X.F.; Yu, T.; Gong, H.; Li, J.G.; Li, X.Y. HJ-1A HSI on-orbit radiometric calibration and validation research. Sci. China Technol. Sci. 2010, 53, 3119–3128. [Google Scholar] [CrossRef]
- Chen, L.; Xu, N.; Hu, X.Q.; Lu, F.; Zhang, P. Study on orbit radiometric calibration for FY-2 visible band based on deep convective cloud. Spectrosc. Spect. Anal. 2016, 36, 2639–2645. [Google Scholar]
- Yang, T.H.; Zhang, C.M.; Zuo, F.H.; Hu, Y.; GU, M.J. Uncertainty analysis of inter-calibration collocation based on FY-3E spaceborne infrared observations. Infrared Laser Eng. 2023, 52, 17–28. [Google Scholar]
- Han, J.; Tao, Z.; Xie, Y.; Liu, Q.Y.; Huang, Y.J. Radiometric Cross-Calibration of GF-4/PMS Based on Radiometric Block Adjustment. IEEE Trans. Geosci. Remote Sens. 2021, 59, 4522–4534. [Google Scholar] [CrossRef]
- Niu, C.; Tan, K.; Wang, X.; Han, B.; Ge, S.; Du, P.; Wang, F. Radiometric cross-calibration of the ZY1-02D hyperspectral imager using the GF-5 AHSI imager. IEEE Trans. Geosci. Remote Sens. 2021, 60, 1–12. [Google Scholar] [CrossRef]
- Li, C.; Xue, Y.; Liu, Q.; Guang, J.; He, X.; Zhang, J.; Wang, T.; Liu, X. Post calibration of channels 1 and 2 of long-term AVHRR data record based on SeaWiFS data and pseudo-invariant targets. Remote Sens. Environ. 2014, 150, 104–119. [Google Scholar] [CrossRef]
- Wu, A.; Xiong, X.; Doelling, D.; Morstad, D.; Angal, A.; Bhatt, R. Characterization of Terra and Aqua MODIS VIS, NIR, and SWIR Spectral Bands’ Calibration Stability. IEEE Trans. Geosci. Remote Sens. 2012, 51, 4330–4338. [Google Scholar] [CrossRef]
- Xiong, X.; Angal, A.; Twedt, K.A.; Chen, H.; Link, D.; Geng, X.; Aldoretta, E.; Mu, Q. MODIS reflective solar bands on-orbit calibration and performance. IEEE Trans. Geosci. Rem. Sens. 2019, 57, 6355–6371. [Google Scholar] [CrossRef]
- Xiong, X.; Sun, J.; Xie, X.; Barnes, W.L.; Salomonson, V.V. On-Orbit Calibration and Performance of Aqua MODIS Reflective Solar Bands. IEEE Trans. Geosci. Remote Sens. 2010, 48, 535–546. [Google Scholar] [CrossRef]
- Angal, A.; Xiong, X.; Shrestha, A. Cross-Calibration of MODIS reflective solar bands with Sentinel 2A/2B MSI instruments. IEEE Trans. Geosci. Remote Sens. 2020, 58, 5000–5007. [Google Scholar] [CrossRef]
- Gao, H.; Gu, X.; Yu, T.; Sun, Y.; Liu, Q. Cross-Calibration of GF-1 PMS sensor with Landsat 8 OLI and Terra MODIS. IEEE Trans. Geosci. Remote Sens. 2016, 54, 4847–4854. [Google Scholar] [CrossRef]
- Liu, L.; Shi, T.; Gao, H.; Zhang, X.; Han, Q.; Hu, X. Long-term cross calibration of HJ-1A CCD1 and Terra MODIS reflective solar bands. Sci. Rep. 2021, 11, 7386. [Google Scholar] [CrossRef] [PubMed]
- Xiong, X.; Angal, A.; Butler, J.; Cao, C.; Doelling, D.; Wu, A.; Wu, X. Global space-based inter-calibration system reflective solar calibration reference: From Aqua MODIS to S-NPP VIIRS. Proc. SPIE 2016, 9881, 275–286. [Google Scholar]
- Luo, J.; Huang, F.; Gao, S.; Liu, S.; Liu, R.; Devasthale, A. Satellite Monitoring of the Dust Storm over Northern China on 15 March 2021. Atmosphere 2022, 13, 157. [Google Scholar] [CrossRef]
- Yang, J.; Zhang, Z.; Wei, C.; Lu, F.; Guo, Q. Introducing the new generation of chinese geostationary weather satellites, Fengyun-4. Bull. Am. Meteorol. Soc. 2017, 98, 1637–1658. [Google Scholar] [CrossRef]
- Long, Y.P.; Chen, G.Y.; Ma, Q.M.; Chen, J. Ground validation of Fengyun-4A and Global Precipitation Measurement satellite observations over an alpine and canyon basin of the southeastern Tibetan Plateau. J. Mt. Sci. 2022, 19, 3568–3581. [Google Scholar] [CrossRef]
- Zhang, P.; Zhu, L.; Tang, S.; Gao, L.; Chen, L.; Zheng, W.; Han, X.; Chen, J.; Shao, J. General comparison of FY-4A/AGRI with other GEO/LEO instruments and its potential and challenges in non-meteorological applications. Front. Earth Sci. 2019, 6, 224. [Google Scholar] [CrossRef]
- Xiong, X.; Barnes, W. An overview of MODIS radiometric calibration and characterization. Adv. Atmos. Sci. 2006, 23, 69–79. [Google Scholar] [CrossRef]
- Meyer, K.; Platnick, S.; Holz, R.; Dutcher, S.; Quinn, G.; Nagle, F. Derivation of shortwave radiometric adjustments for SNPP and NOAA-20 VIIRS for the NASA MODIS-VIIRS continuity cloud products. Remote Sens. 2020, 98, 4096. [Google Scholar] [CrossRef]
- Dwyer, J.; Schmidt, G. The MODIS Reprojection Tool. In Earth Science Satellite Remote Sensing; Qu, J.J., Gao, W., Kaftos, M., Murphy, R.E., Salmonson, V.V., Eds.; Springer: Berlin/Heidelberg, Germany, 2006; pp. 162–177. [Google Scholar]
- Xu, N.; Hu, X.Q.; Chen, L. Inter-calibration of infrared channels of FY-2/VISSR using high-spectral resolution sensors IASI and AIRS. J.Remote Sens. 2012, 16, 939–952. [Google Scholar]
- Soler, T.; Eisemann, D.W. Determination of look angles to geostationary communication satellites. J. Surv. Eng. 1994, 120, 115–127. [Google Scholar] [CrossRef]
- Pinto, C.T.; Ponzoni, F.J.; Castro, R.M.; Leigh, L.; Kaewmanee, M.; Aaron, D.; Helder, D. Evaluation of the uncertainty in the spectral band adjustment factor (SBAF) for cross-calibration using Monte Carlo simulation. Remote Sens. Lett. 2016, 7, 837–846. [Google Scholar] [CrossRef]
- Chander, G.; Markham, B. Revised Landsat-5 TM radiometric calibration procedures and postcalibration dynamic ranges. IEEE Trans. Geosci. Remote Sens. 2003, 41, 2674–2677. [Google Scholar] [CrossRef]
- He, T.; Liang, S.; Wang, D.; Shi, Q.; Goulden, M.L. Estimation of high-resolution land surface net shortwave radiation from AVIRIS data: Algorithm development and preliminary results. Remote Sens. Environ. 2015, 167, 20–30. [Google Scholar] [CrossRef]
- Lv, Y.; Cong, M.Y.; Zhao, Y.N.; Niu, K.Q.; Lu, Z.W. Research on real-time absolute radiometric calibration technology of infrared cameras. Infrared Laser Eng. 2022, 51, 106–119. [Google Scholar]
- Tian, F.; Fensholt, R.; Verbesselt, J.; Grogan, K.; Horion, S.; Wang, Y. Evaluating temporal consistency of long-term global NDVI datasets for trend analysis. Remote Sens. Environ. 2015, 163, 326–340. [Google Scholar] [CrossRef]
- Li, J.; Chen, X.; Tian, L.; Ding, J.; Song, Q.; Yu, Z. On the consistency of HJ-1A CCD1 and Terra/MODIS measurements for improved spatio-temporal monitoring of inland water: A case in Poyang Lake. Remote Sens. Lett. 2015, 6, 351–359. [Google Scholar] [CrossRef]
- Qiao, H.; Zhang, P.; Li, Z.; Liu, C. A New Geostationary Satellite-Based Snow Cover Recognition Method for FY-4A AGRI. IEEE J. Sel. Top. Appl. Earth Obs. Remote Sens. 2021, 14, 11372–11385. [Google Scholar] [CrossRef]
- Mishra, N.; Helder, D.; Angal, A.; Choi, J.; Xiong, X. Absolute Calibration of Optical Satellite Sensors Using Libya 4 Pseudo Invariant Calibration Site. Remote Sens. 2014, 6, 1327–1346. [Google Scholar] [CrossRef]
- Fawcett, D.; Bennie, J.; Anderson, K. Monitoring spring phenology of individual tree crowns using drone-acquired NDVI data. Remote Sens. Ecol. Conserv. 2021, 7, 227–244. [Google Scholar] [CrossRef]
- Weiss, E.; Marsh, S.E.; Pfirman, E.S. Application of NOAA-AVHRR NDVI time-series data to assess changes in Saudi Arabia’s rangelands. Int. J. Remote Sens. 2010, 22, 1005–1027. [Google Scholar] [CrossRef]
- Goodin, D.G.; Henebry, G.M. The effect of rescaling on fine spatial resolution NDVI data: A test using multi-resolution aircraft sensor data. Int. J. Remote Sens. 2002, 23, 3865–3871. [Google Scholar] [CrossRef]
- Fensholt, R.; Sandholt, I.; Proud, S.R.; Stisen, S.; Rasmussen, M.O. Assessment of MODIS sun-sensor geometry variations effect on observed NDVI using MSG SEVIRI geostationary data. Int. J. Remote Sens. 2010, 31, 6163–6187. [Google Scholar] [CrossRef]
- Fan, X.; Liu, Y. Multisensor Normalized Difference Vegetation Index Intercalibration: A comprehensive overview of the causes of and solutions for multisensor differences. IEEE Geosci. Remote Sens. Mag. 2018, 6, 23–45. [Google Scholar] [CrossRef]
- Teillet, P.; Staenz, K.; William, D. Effects of spectral, spatial, and radiometric characteristics on remote sensing vegetation indices of forested regions. Remote Sens. Environ. 1997, 61, 139–149. [Google Scholar] [CrossRef]
- Wang, Y.; Sun, X.; Huang, H.; Ti, R.; Liu, X.; Fan, Y. Study on Influencing Factors of the Information Content of Satellite Remote-Sensing Aerosol Vertical Profiles Using Oxygen A-Band. Remote Sens. 2023, 15, 948. [Google Scholar] [CrossRef]
- Cui, Z.; Ma, C.; Zhang, H.; Hu, Y.; Yan, L.; Dou, C.; Li, X.M. Vicarious Radiometric Calibration of the Multispectral Imager Onboard SDGSAT-1 over the Dunhuang Calibration Site, China. Remote Sens. 2023, 15, 2578. [Google Scholar] [CrossRef]



















| Aqua-MODIS | FY-4A/AGRI | |
|---|---|---|
| Orbit | Sun-synchronous | Geo-synchronization |
| Scanning mode | Whisk broom | Full-disc scanning |
| Area | 2330 × 2330 (km2) | Whole Earth |
| Spectral range/μm | 0.4~15.0 | 0.45~13.8 |
| Regression | Almost 1~2 d | 15 min |
| Spatial resolution/m | 250 m/500 m/1000 m | 500~4000 |
| Data | Aqua-MODIS | FY-4A/AGRI |
|---|---|---|
| Cross calibration | MYD021KM MYD03 | FY-4A/AGRI L1 FY-4A/AGRI L1 GEO |
| Cross-calibration coefficient verification | MYD021KM | FY-4A/AGRI L1 |
| Atmospheric correction | MCD19A2 MYD05 MYD07 | FY-4A/AGRI L1 |
| NDVI application | MYD09GA | Atmospheric corrected FY-4A/AGRI L1 |
| Band | SBAF |
|---|---|
| Red | 0.965 |
| NIR | 0.988 |
| Red | Near Infrared | |||
|---|---|---|---|---|
| Before | After | Before | After | |
| RMS | 0.43 | 0.12 | 0.25 | 0.03 |
| RMSE | 0.085 | 0.079 | 0.082 | 0.078 |
| Slope | t-Test | Degree of Change |
|---|---|---|
| <0 | p < 0.001 | Very significant degradation |
| p < 0.05 | Significant degradation | |
| p < 0.1 | No significant degradation | |
| >0 | p < 0.001 | Very significant improvement |
| p < 0.05 | Significant improvement | |
| p < 0.1 | No significant improvement | |
| p > 0.1 | Basically unchanged |
| Degree of Change | MODIS-NDVI (%) | FY-NDVI (%) | FY’-NDVI (%) |
|---|---|---|---|
| Very significant degradation | 0.04 | 0.71 | 0 |
| Significant degradation | 2.09 | 10.32 | 0.18 |
| No significant degradation | 2.23 | 2.97 | 1.44 |
| Very significant improvement | 0.51 | 0.07 | 0 |
| Significant improvement | 2.67 | 24.18 | 2.70 |
| No significant improvement | 2.26 | 14.32 | 25.57 |
| Basically unchanged | 90.35 | 46.69 | 70.11 |
Disclaimer/Publisher’s Note: The statements, opinions and data contained in all publications are solely those of the individual author(s) and contributor(s) and not of MDPI and/or the editor(s). MDPI and/or the editor(s) disclaim responsibility for any injury to people or property resulting from any ideas, methods, instructions or products referred to in the content. |
© 2023 by the authors. Licensee MDPI, Basel, Switzerland. This article is an open access article distributed under the terms and conditions of the Creative Commons Attribution (CC BY) license (https://creativecommons.org/licenses/by/4.0/).
Share and Cite
He, X.; Li, H.; Zhou, G.; Tian, Z.; Wu, L. Cross-Radiometric Calibration and NDVI Application Comparison of FY-4A/AGRI Based on Aqua-MODIS. Remote Sens. 2023, 15, 5454. https://doi.org/10.3390/rs15235454
He X, Li H, Zhou G, Tian Z, Wu L. Cross-Radiometric Calibration and NDVI Application Comparison of FY-4A/AGRI Based on Aqua-MODIS. Remote Sensing. 2023; 15(23):5454. https://doi.org/10.3390/rs15235454
Chicago/Turabian StyleHe, Xiaohui, Hongli Li, Guangsheng Zhou, Zhihui Tian, and Lili Wu. 2023. "Cross-Radiometric Calibration and NDVI Application Comparison of FY-4A/AGRI Based on Aqua-MODIS" Remote Sensing 15, no. 23: 5454. https://doi.org/10.3390/rs15235454
APA StyleHe, X., Li, H., Zhou, G., Tian, Z., & Wu, L. (2023). Cross-Radiometric Calibration and NDVI Application Comparison of FY-4A/AGRI Based on Aqua-MODIS. Remote Sensing, 15(23), 5454. https://doi.org/10.3390/rs15235454

