Improving Unmanned Aerial Vehicle Security as a Factor in Sustainable Development of Smart City Infrastructure: Automatic Dependent Surveillance–Broadcast (ADS-B) Data Protection
Abstract
1. Introduction
1.1. Motivation
1.2. State of the Art
1.3. Objectives and Contribution
2. Materials and Methods
2.1. Strengthening Smart City Infrastructure Through Enhanced UAV Security
- Logistics and Delivery. UAVs are widely used for delivering various goods such as medications, food, and essential items. This is particularly relevant in densely built urban areas or regions with limited accessibility. The use of UAVs helps reduce delivery times and lower transportation emissions, making cities more environmentally friendly. Figure 3 shows a fragment of a delivery scheme in urban conditions, where drones transport goods from distribution centers to end consumers;
- Infrastructure Monitoring. UAVs are utilized for regular inspections of urban facilities such as bridges, roads, buildings, and power grids. This enables the timely identification of defects, execution of repair work, and prevention of emergency situations. Such operations are more efficient and cost-effective compared to traditional methods.
- Emergency Response. In the event of natural disasters such as fires, floods, or earthquakes, UAVs promptly provide visual information to coordinate rescue operations. They can also deliver rescue equipment or medical supplies to hard-to-reach locations. A detailed description of one example of UAV usage for safety and rescue operations can be found in [26].
- Eco-Monitoring and Resource Management. AVs are actively used for monitoring environmental conditions, including air quality, water pollution levels, and waste management. They assist in collecting data for analysis and decision making to improve the environmental situation in the city. Numerous practical examples demonstrate the effectiveness of these tasks. One illustrative example is presented in [27].
2.2. Technological Foundations
- Aircraft position and other information are continuously transmitted without request from ground stations or other aircraft. This makes data transmission more efficient and instantaneous, which is crucial for ensuring air traffic safety and efficiency;
- ADS-B observation data are collected by aircraft onboard systems using, for example, GNSS;
- ADS-B provides observation data on air traffic, including three-dimensional position, speed, and identification;
- The ADS-B protocol is based on broadcasting observation data. In the context of the Automatic Dependent Surveillance–Broadcast (ADS-B) system, this means that information about an aircraft’s position, speed, altitude, and other parameters is broadcasted without being addressed to a specific recipient. Instead, these data are broadcasted to all receivers within the signal’s coverage area, allowing them to receive and analyze this information. This approach makes the system more efficient and enables the provision of publicly accessible air traffic data, which is important for airspace safety and efficiency;
- The data transmission channel operates at a frequency of 1090 MHz for communication between aircraft as well as between aircraft and ground stations.
2.3. Methodological Assumptions
- Information Theory and Coding: Utilizing methods grounded in information theory allows for the efficient embedding and extraction of hidden data without significant distortions to the primary signal;
- Digital Signal Processing (DSP): Digital signal processing methods, such as the discrete Fourier transform (DFT), enable the analysis and modification of frequency components of a signal for hiding information;
- Artificial Intelligence Technologies: Methods and technologies of artificial intelligence significantly enhance the efficiency of processes and the accuracy of results in accomplishing tasks;
- Steganography: Steganography methods are used to enhance the security of transmitted information, preventing unauthorized access to data.
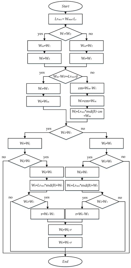
2.4. Method of Steganographic Embedding of an Identifier into the ADS-B Format Container
- Segmentation into blocks: The process involves dividing the signal into fragments corresponding to the ADS-B message format. The identifier will be embedded in the portion corresponding to the “ME” field, which will also be segmented based on the signal’s amplitude–frequency characteristics;
- Discrete Fourier Transform (DFT): This stage aims to transform the signal’s time representation into the frequency domain, computing its spectrum;
- Selection and transformation of signal «peaks»: At this stage, «peaks» of the spectrum are selected for information transmission. Each fragment is independently analyzed, and two «peaks» are used to transmit one bit of information. The magnitude of changes is proportional to the size of the largest ‘spike’, allowing adaptation to the signal’s energy level in each fragment, preventing audible distortions in quiet signal sections.
- Position in the masking area;
- Maximum distance from the «peak» to fmax;
- Fourier transform resolution [29].
- 1.
- Stage 1: Selection of spectrum ‘peaks’. At this stage, it is necessary to:
- Check that the selected ‘peaks’ are within the area masked by the chosen masker;
- Determine the rational placement of «peaks» as close as possible to fmax (maximum frequency);
- Check for the presence of ‘peaks’ at various distances from the masker.
- 2.
- Stage 2: Determining the expected difference in values Lrmax. At this stage, we check the condition that Lrmax should not be too large and should correspond to the signal power. We also adjust the power of the embedded changes in each signal fragment.
- 3.
- Stage 3: Checking the possibility of embedding changes. At this stage:
- We determine the maximum value of the ’spike’ intended for modification and the maximum difference in frequency between it and the masker;
- We check that the spectrum «peaks» meeting the specified conditions are present in the selected area.
|w1−w2| > yLrmax, for b = 0
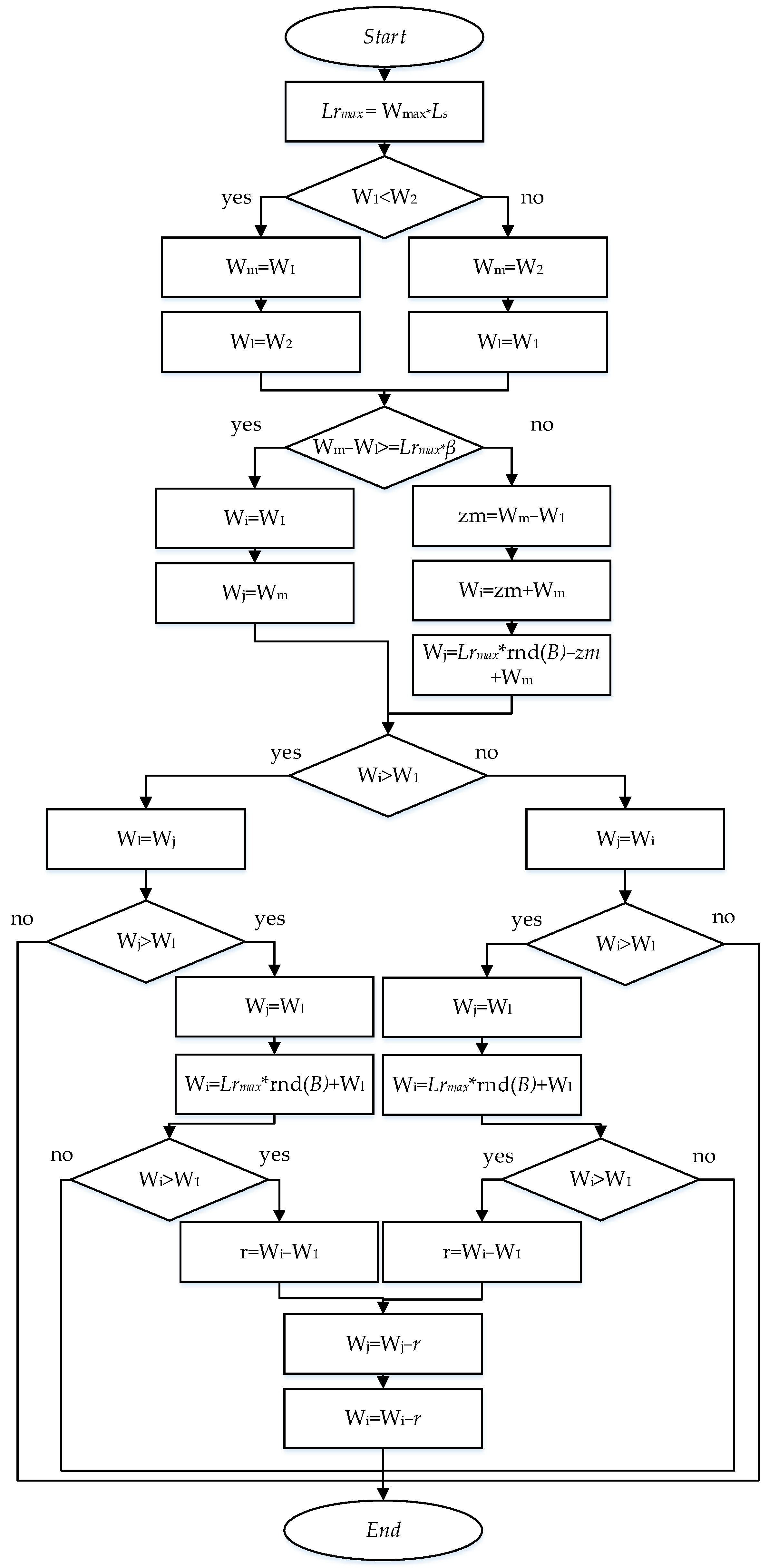
2.5. Evaluating Differences and Selecting Spectral Bands
- Finding the frequency of the spectrum peak with the highest value fmax;
- Creating an array of neighboring spectrum «peaks» located near fmax, at some distance dd from fmax. The values of dd can be set by the steganographic key or determined in advance. The order of adding spectrum «peaks» to the array can also be specified by the key;
- Choosing the first two spectrum «peaks» from the array that lie below the curve described by expression 9;
- Checking the number of found frequency bands that satisfy the criteria from step 3. If an insufficient number of bands is found, conduct additional search in the array.
2.6. Embedding Identifiers by Modifying the Values of Spectral Bands
3. Results
3.1. Implementing the Steganographic Embedding Method for ADS-B Format Identifiers
3.2. Experimental Results
4. Discussion
5. Conclusions
Author Contributions
Funding
Institutional Review Board Statement
Informed Consent Statement
Data Availability Statement
Conflicts of Interest
Abbreviations
| Abbreviation | Description |
| ADS-B | Automatic Dependent Surveillance–Broadcast |
| UAV | Unmanned Aerial Vehicle |
| MSE | Mean Squared Error |
| NMSE | Normalized Mean Squared Error |
| SNR | Signal-to-Noise Ratio |
References
- Dunlay, W.; Rakas, J. NextGen, the Next Generation Air Transportation System: Transforming Air Traffic Control from Ground-Based and Human-Centric to Satellite-Based and Airplane-Centric. TR News 2011, 276, 7–13. [Google Scholar]
- Kharchenko, V.; Kliushnikov, I.; Rucinski, A.; Fesenko, H.; Illiashenko, O. UAV Fleet as a Dependable Service for Smart Cities: Model-Based Assessment and Application. Smart Cities 2022, 5, 1151–1178. [Google Scholar] [CrossRef]
- Yang, W.; Wang, S.; Yin, X.; Wang, X.; Hu, J. A Review on Security Issues and Solutions of the Internet of Drones. IEEE Open J. Comput. Soc. 2022, 3, 96–110. [Google Scholar] [CrossRef]
- Li, X.; Yang, Y.; Sun, C.; Fan, Y. Investigation, Evaluation, and Dynamic Monitoring of Traditional Chinese Village Buildings Based on Unmanned Aerial Vehicle Images and Deep Learning Methods. Sustainability 2024, 16, 8954. [Google Scholar] [CrossRef]
- Zhao, R.; Huang, Y.; Luo, H.; Huang, X.; Zheng, Y. A Framework for Using UAVs to Detect Pavement Damage Based on Optimal Path Planning and Image Splicing. Sustainability 2023, 15, 2182. [Google Scholar] [CrossRef]
- Wang, J.; Tan, R.; Nie, L. A Steady-State Flight Control Algorithm Combining Stretching Ratio Coefficient and PID Control for UAVs in Uncertain Environments. Sustainability 2022, 14, 14678. [Google Scholar] [CrossRef]
- Mohsan, S.A.H.; Othman, N.Q.H.; Li, Y.; Alsharif, M.H.; Khan, M.A. Unmanned aerial vehicles (UAVs): Practical aspects, applications, open challenges, security issues, and future trends. Intell. Serv. Robot. 2023, 16, 109–137. [Google Scholar] [CrossRef] [PubMed]
- Illiashenko, O.; Kharchenko, V.; Babeshko, I.; Fesenko, H.; Di Giandomenico, F. Security-Informed Safety Analysis of Autonomous Transport Systems Considering AI-Powered Cyberattacks and Protection. Entropy 2023, 25, 1123. [Google Scholar] [CrossRef] [PubMed]
- Alghamdi, F.; Alshhrani, A.; Hamza, N. Effective Security Techniques for Automatic Dependent Surveillance-Broadcast (ADS-B). Int. J. Comput. Appl. 2018, 180, 23–28. [Google Scholar] [CrossRef]
- Habibi Markani, J.; Amrhar, A.; Gagné, J.-M.; Landry, R.J. Security Establishment in ADS-B by Format-Preserving Encryption and Blockchain Schemes. Appl. Sci. 2023, 13, 3105. [Google Scholar] [CrossRef]
- Wu, Z.; Shang, T.; Guo, A. Security Issues in Automatic Dependent Surveillance-Broadcast (ADS-B): A Survey. IEEE Access 2020, 8, 122147–122167. [Google Scholar] [CrossRef]
- Mohsen, R.M.; Naima, K. Analysis of vulnerabilities, attacks, countermeasures and overall risk of the Automatic Dependent Surveillance-Broadcast (ADS-B) system. Int. J. Crit. Infrastruct. Prot. 2017, 19, 16–31. [Google Scholar] [CrossRef]
- Hernandez-Castro, J.; Tapiador, J.; Palomar, E.; Romero-Gonzalez, A. Blind Steganalysis of Mp3stego. J. Inf. Sci. Eng. 2010, 26, 1787–1799. [Google Scholar]
- Yang, H.; Li, H.; Shen, X.S. Aircraft Location Verification. In Secure Automatic Dependent Surveillance-Broadcast Systems; Wireless Networks; Springer: Cham, Switzerland, 2023. [Google Scholar] [CrossRef]
- Krasuski, K.; Cwiklak, J.; Grzesik, N. Accuracy Assessment of Aircraft Positioning by Using the DGLONASS Method in the GBAS System. J. KONBiN 2018, 45, 97–124. [Google Scholar] [CrossRef]
- Strohmeier, M.; Lenders, V.; Martinovic, I. On the Security of the Automatic Dependent Surveillance-Broadcast Protocol. IEEE Commun. Surv. Tutor. 2013, 17, 1066–1087. [Google Scholar] [CrossRef]
- Duan, X.; Liu, N.; Gou, M.; Wang, W.; Qin, C. SteganoCNN: Image Steganography with Generalization Ability Based on Convolutional Neural Network. Entropy 2020, 22, 1140. [Google Scholar] [CrossRef]
- Wang, W.; Aguilar Sanchez, I.; Caparra, G.; McKeown, A.; Whitworth, T.; Lohan, E.S. A Survey of Spoofer Detection Techniques via Radio Frequency Fingerprinting with Focus on the GNSS Pre-Correlation Sampled Data. Sensors 2021, 21, 3012. [Google Scholar] [CrossRef] [PubMed]
- Gurer, G.; Dalveren, Y.; Kara, A.; Derawi, M. A Radio Frequency Fingerprinting-Based Aircraft Identification Method Using ADS-B Transmissions. Aerospace 2024, 11, 235. [Google Scholar] [CrossRef]
- Koziel, G. Steganographic algorithm of hiding information in sound based on Fourier transform and masking. Control Cybern. 2011, 40, 1231–1247. [Google Scholar]
- Semenov, S.; Zhang, M.; Yenhalychev, S.; Smidovych, L. Generalized model of the ADS-B unmanned aerial vehicle data transmission process in a steganographic system. ITSSI 2023, 4, 14–19. [Google Scholar] [CrossRef]
- Semenov, S.; Zhang, M.; Mozhaiev, O.; Kuchuk, N.; Tiulieniev, S.; Gnusov, Y.; Mozhaiev, M.; Strukov, V.; Onishchenko, Y.; Kuchuk, H. Construction of a model of steganographic embedding of the UAV identifier into ADS-B data. East.-Eur. J. Enterp. Technol. 2023, 5, 6–16. [Google Scholar] [CrossRef]
- Qiao, M.; Sung, A.; Liu, Q. Steganalysis of MP3Stego. In Proceedings of the 2009 International Joint Conference on Neural Networks, Atlanta, GA, USA, 14–19 June 2009; pp. 2566–2571. [Google Scholar] [CrossRef]
- Kuznietsov, O.; Kolomiitsev, O.; Nos, I.; Biesova, O.; Krykhovetskyi, H. Proposals to improve the information capabilities of coastal-based radar stations for surveillance of surface and air objects. Adv. Inf. Syst. 2024, 8, 48–56. [Google Scholar] [CrossRef]
- Perry, B.J.; Guo, Y.; Atadero, R.; van de Lindt, J.W. Streamlined bridge inspection system utilizing unmanned aerial vehicles (UAVs) and machine learning. Measurement 2020, 164, 108048. [Google Scholar] [CrossRef]
- Tuśnio, N.; Wróblewski, W. The Efficiency of Drones Usage for Safety and Rescue Operations in an Open Area: A Case from Poland. Sustainability 2022, 14, 327. [Google Scholar] [CrossRef]
- Mangewa, L.J.; Ndakidemi, P.A.; Munishi, L.K. Integrating UAV Technology in an Ecological Monitoring System for Community Wildlife Management Areas in Tanzania. Sustainability 2019, 11, 6116. [Google Scholar] [CrossRef]
- Król, R. Application of spread spectrum transmission in the aspect of radio communications security. Sci. J. Mil. Univ. Land Forces 2020, 195, 121–134. [Google Scholar] [CrossRef]
- Semenov, S.; Kolisnyk, T.; Oksana, S.; Roh, V. Intelligent extraction of the informative features for UAV motion modelling: Principles and techniques. In Proceedings of the 2023 13th International Conference on Dependable Systems, Services and Technologies (DESSERT), Athens, Greece, 13–15 October 2023; pp. 1–6. [Google Scholar] [CrossRef]
- ADS-B Implementation and Operations Guidance Document Edition 15.0-September 2022. Available online: https://www.icao.int/APAC/Documents/edocs/cns/AIGD%20Edition%2015.0.pdf (accessed on 25 November 2024).
- Oberst, U. The Fast Fourier Transform. SIAM J. Control Optim. 2007, 46, 496–540. [Google Scholar] [CrossRef]
- Principles for Ensuring the Sustainability of Infrastructures. Available online: https://www.undrr.org/media/78701 (accessed on 1 December 2024).














| Data Protection Type | Methods and Algorithms Used | Practical Feasibility |
|---|---|---|
| Cryptographic Protection | Symmetric and asymmetric encryption algorithms | +/− |
| Technical Positioning Solutions using Satellite Navigation | GPS, GLONASS, DGLONASS, EGNOS, GAGAN, SDCM | + |
| Signal Protection using Spectrum Expansion | Reconnaissance of and interference with radio, satellite and radio-navigation systems. System supervising the work of own troops in terms of passive radio-electronic defense. Reconnaissance and interference on the wide band. | + |
| Radio Frequency Identification | RFF, RBF, SVM | + |
| Steganographic Protection | LSB, DSSS | +/− |
| Frequency | Lmax | L1 | L2 | L3 | LP1 | LP12 | LP34 |
|---|---|---|---|---|---|---|---|
| 1090 MHz | 0.070 | 0.047 | 0.037 | 0.033 | 0.005 | 0.003 | 0.003 |
| 1030 MHz | 0.079 | 0.04 | 0.03 | 0.03 | 0.006 | 0.004 | 0.004 |
| Parameter | RTL-SDR (Budget-Friendly) |
|---|---|
| Receiver | RTL-SDR (RTL2832U) |
| Antenna | 1090/1030 MHz ADS-B/SSR |
| Software | dump1090 |
| Operating System | Windows/Linux |
| Sampling Rate | 2.048 MHz |
| FFT Window Size | 512 samples |
| Window Type | Hanning |
| Function Name | Brief Description of Function |
|---|---|
| embed_identifier_into_phase_spectrum (samples, identifier) | Embeds the identifier into the phase spectrum of the signal by converting the identifier string into binary format and modifying the phase spectrum |
| extract_identifier_from_phase_spectrum (samples, identifier_length): | Extracts the identifier from the phase spectrum of an audio signal. Takes an array of samples and the length of the identifier, reconstructs the identifier by converting binary values back into symbols. |
| ourier_transform (wav_file) | Performs Fourier transformation on the audio file, returning the frequencies and transformation values for each channel. |
| calculate_signal_distortion (initial_signal, modified_signal) | Takes two arguments: the original signal and the modified signal. Computes the following characteristics:
|
| Ls, % | MSE | NMSE | SNR | PSNR | AF | AD | MD | NAD |
|---|---|---|---|---|---|---|---|---|
| 1 | 7 × 10−6 | 1.3 × 10−3 | 29.0 | 99.9 | 1 | 1 × 10−3 | 0.06 | 0.02 |
| 10 | 9 × 10−6 | 1.7 × 10−3 | 27.6 | 98.5 | 1 | 1.6 × 10−3 | 0.06 | 0.03 |
| 20 | 2 × 10−5 | 4.3 × 10−3 | 23.6 | 94.5 | 1 | 2.8 × 10−3 | 0.06 | 0.06 |
| Method/Tool | MSE | NMSE | SNR | PSNR | AF | MD | AD | NAD |
|---|---|---|---|---|---|---|---|---|
| Developed | 2 × 10−5 | 4.3 × 10−3 | 23,6 | 94,5 | 1 | 2.8 × 10−3 | 0.006 | 0.06 |
| s-tools | 4 × 10−13 | 9 × 10−11 | 100 | 171 | 1 | 3 × 10−5 | 10−8 | 2 × 10−7 |
| mp3stego | 2 × 10−4 | 0.046 | 13.3 | 85.5 | 0.95 | 0.71 | 0.008 | 0.17 |
Disclaimer/Publisher’s Note: The statements, opinions and data contained in all publications are solely those of the individual author(s) and contributor(s) and not of MDPI and/or the editor(s). MDPI and/or the editor(s) disclaim responsibility for any injury to people or property resulting from any ideas, methods, instructions or products referred to in the content. |
© 2025 by the authors. Licensee MDPI, Basel, Switzerland. This article is an open access article distributed under the terms and conditions of the Creative Commons Attribution (CC BY) license (https://creativecommons.org/licenses/by/4.0/).
Share and Cite
Semenov, S.; Krupska-Klimczak, M.; Mazurek, P.; Zhang, M.; Chernikh, O. Improving Unmanned Aerial Vehicle Security as a Factor in Sustainable Development of Smart City Infrastructure: Automatic Dependent Surveillance–Broadcast (ADS-B) Data Protection. Sustainability 2025, 17, 1553. https://doi.org/10.3390/su17041553
Semenov S, Krupska-Klimczak M, Mazurek P, Zhang M, Chernikh O. Improving Unmanned Aerial Vehicle Security as a Factor in Sustainable Development of Smart City Infrastructure: Automatic Dependent Surveillance–Broadcast (ADS-B) Data Protection. Sustainability. 2025; 17(4):1553. https://doi.org/10.3390/su17041553
Chicago/Turabian StyleSemenov, Serhii, Magdalena Krupska-Klimczak, Patryk Mazurek, Minjian Zhang, and Olena Chernikh. 2025. "Improving Unmanned Aerial Vehicle Security as a Factor in Sustainable Development of Smart City Infrastructure: Automatic Dependent Surveillance–Broadcast (ADS-B) Data Protection" Sustainability 17, no. 4: 1553. https://doi.org/10.3390/su17041553
APA StyleSemenov, S., Krupska-Klimczak, M., Mazurek, P., Zhang, M., & Chernikh, O. (2025). Improving Unmanned Aerial Vehicle Security as a Factor in Sustainable Development of Smart City Infrastructure: Automatic Dependent Surveillance–Broadcast (ADS-B) Data Protection. Sustainability, 17(4), 1553. https://doi.org/10.3390/su17041553

