Evaluating the Performance and Practicality of a Multi-Parameter Assessment System with Design, Comparative Analysis, and Future Directions
Abstract
1. Introduction
2. Related Works
2.1. Environmental Monitoring, Performance Metrics, and Quality Assurance
2.2. Elucidating Research Gaps and Motivations
3. Material and Methods
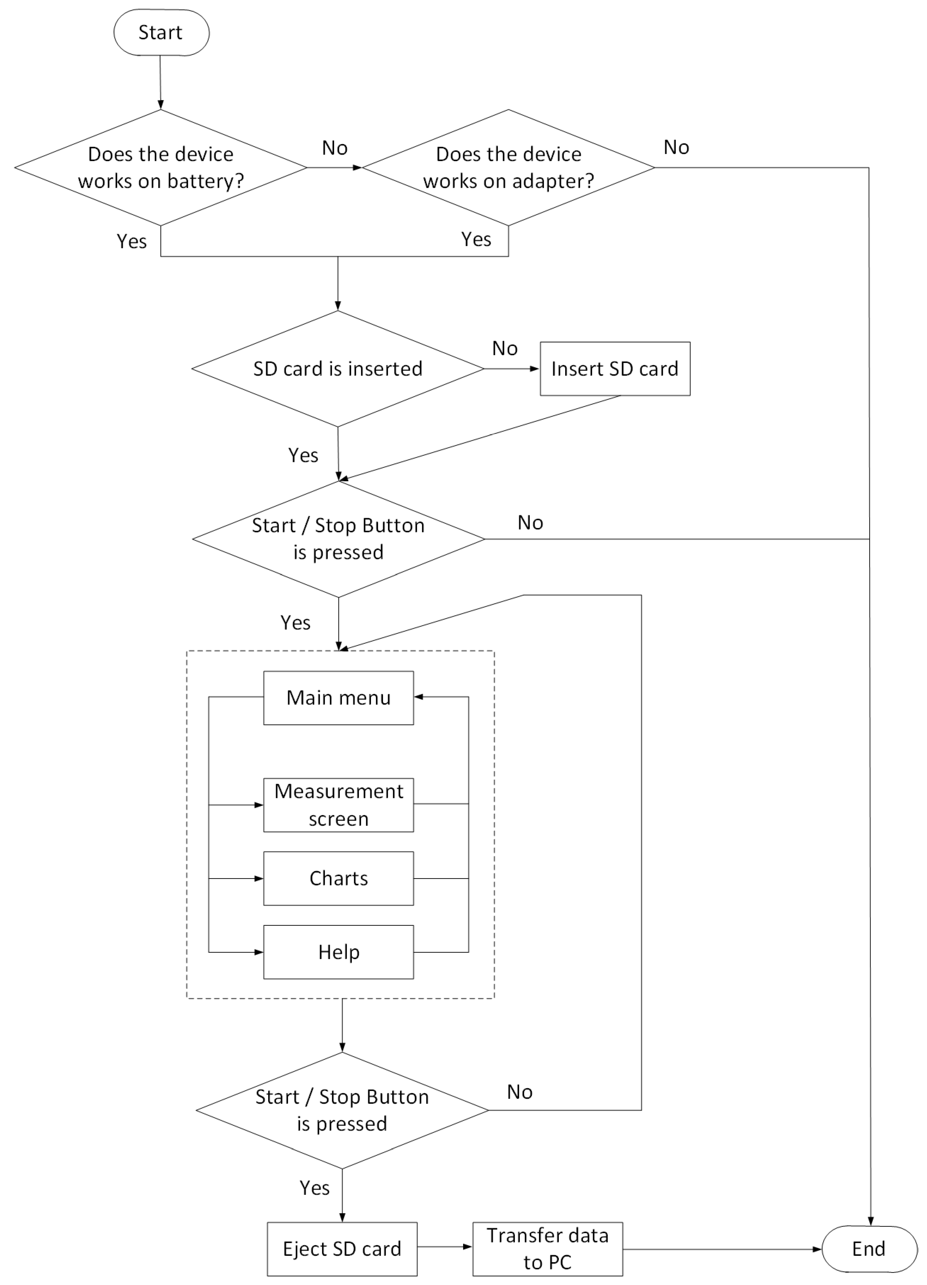
3.1. Overall Research Methodology Steps and Details
3.2. Hardware and Software Components of the Mobile Measurement System
3.3. Evaluation of the Proposed Device through Comparative Analysis
3.4. Data Collection for Evaluation of Device Accuracy
3.5. Determining Uncertainty and Quality Assurance
4. Results
5. Discussion
6. Conclusions
Author Contributions
Funding
Institutional Review Board Statement
Informed Consent Statement
Data Availability Statement
Conflicts of Interest
Abbreviations
| AAL | Ambient assisted living |
| ADC | Analog-to-digital converter |
| AP | Atmospheric pressure |
| AWS | Automatic weather station |
| CO | Carbon monoxide |
| CO2 | Carbon dioxide |
| CS | Compared system |
| CV | Coefficient of variation |
| GPS | Global positioning system |
| HC | Hydrocarbons |
| I2C | Inter-integrated circuit |
| IDE | Integrated development environment |
| IPCC | Intergovernmental Panel on Climate Change |
| IoT | Internet of things |
| LPG | liquefied petroleum gas |
| NOx | Nitrogen oxides |
| PS | Proposed system |
| PM | Particulate matter |
| QoS | Quality of service |
| RH | Relative humidity |
| RMSE | Root mean squared error |
| SD card | Secure digital card |
| SDHC | Secure Digital High Capacity |
| SOP | Standardized operating procedure |
| SOx | Sulfur oxides |
| SPI | Serial Peripheral Interface |
| SSE | Sum of squared errors |
| SSTO | Total sum of squares |
| TFT | Thin film transistor |
| TTL | transistor–transistor logic |
| TVOC | total volatile organic compounds |
| UART | Universal asynchronous receiver-transmitter |
| USB | Universal serial bus |
| VOC | Volatile organic compounds |
| WGS | World geodetic system |
Appendix A
| Listing A1. Listing of the program for a single-board microcomputer. | |
| #include <SDS011-select-serial.h> #include <Wire.h> #include “Adafruit_SGP30.h” #include <Adafruit_Sensor.h> #include “Adafruit_TSL2591.h” #include “DHT.h” #include <Adafruit_Sensor.h> #include “Adafruit_BMP3XX.h” #include <SPI.h> #include <SD.h> String sendThis = ““; //Declare and initialise the string we will send to Nextion String stringData; float p10,p25; SDS011 my_sds(Serial2); const int chipSelect = 5; //SPI chip select for SD card #define SEALEVELPRESSURE_HPA (1013.25) Adafruit_BMP3XX bmp; #define DHTPIN 7 //data pin for DHT22 sensor #define DHTTYPE DHT22 DHT dht(DHTPIN, DHTTYPE); Adafruit_SGP30 sgp; Adafruit_TSL2591 tsl = Adafruit_TSL2591(2591); //sample window for sound sensor const int sampleWindow = 50; // Sample window width in mS (50 mS = 20Hz) unsigned int sample; uint32_t getAbsoluteHumidity(float temperature, float humidity) { // approximation formula from Sensirion SGP30 Driver Integration chapter 3.15 const float absoluteHumidity = 216.7f * ((humidity/100.0f) * 6.112f * exp((17.62f * temperature)/(243.12f + temperature))/(273.15f + temperature)); // [g/m^3] const uint32_t absoluteHumidityScaled = static_cast<uint32_t>(1000.0f * absoluteHumidity); // [mg/m^3] return absoluteHumidityScaled; } void configureSensor(void){ tsl.setGain(TSL2591_GAIN_LOW); tsl.setTiming(TSL2591_INTEGRATIONTIME_300MS); tsl2591Gain_t gain = tsl.getGain(); switch(gain); } void setup() { Serial.begin(9600); Serial1.begin(9600); Serial2.begin(9600); if (!SD.begin(chipSelect)) { Serial.println(“Card failed, or not present”); // do not do anything more: while (1); } Serial.println(“card initialized.”); File dataFile = SD.open(“datalog.txt”, FILE_WRITE); if (dataFile) { dataFile.println(“Begin”); dataFile.close(); // print to the serial port too: Serial.println(“Begin”); } // if the file is not open, pop up an error: else { Serial.println(“error opening datalog.txt”); } Wire.begin(); bmp.begin_I2C(); // Set up oversampling and filter initialization bmp.setTemperatureOversampling(BMP3_OVERSAMPLING_8X); bmp.setPressureOversampling(BMP3_OVERSAMPLING_4X); bmp.setIIRFilterCoeff(BMP3_IIR_FILTER_COEFF_3); bmp.setOutputDataRate(BMP3_ODR_50_HZ); pinMode (A2, INPUT); pinMode (A7, INPUT); if (! sgp.begin()){ //Serial.println(“Sensor not found:(“); while (1); } dht.begin(); } int counter = 0; void loop() { //SGP30 read and check TVOC eCO2 H2 Ethanol measurement if (! sgp.IAQmeasure()) { //Serial.println(“Measurement failed”); return; } uint32_t a1=sgp.TVOC; uint32_t a2=sgp.eCO2; if (! sgp.IAQmeasureRaw()) { //Serial.println(“Raw Measurement failed”); return; } //H2 and Ethanol concentrations, according to the datasheet float h2ref=14055; float ethref=19831; float h2=sgp.rawH2; float eth=sgp.rawEthanol; float h21=0.4*exp((h2ref-h2)/512); float eth1=0.5*exp((ethref-eth)/512); float a3=h21; float a4=eth1; //Lux measurement TSL2591 float b1 = tsl.getLuminosity(TSL2591_VISIBLE); b1=b1/10; float c1 = dht.readTemperature(); float c2 = dht.readHumidity(); //dust sensor read SDS011 float d1; float d2; my_sds.read(&p25,&p10); d1=p25; d2=p10; //sound sensor unsigned long startMillis= millis(); // Start of sample window float peakToPeak = 0; // peak-to-peak level unsigned int signalMax = 0; //minimum value unsigned int signalMin = 1024; //maximum value // collect data for 50 mS while (millis() - startMillis < sampleWindow){ sample = analogRead(A2); //get reading from microphone if (sample < 1024) // toss out spurious readings { if (sample > signalMax) { signalMax = sample; // save just the max levels } else if (sample < signalMin) { signalMin = sample; // save just the min levels } } } peakToPeak = signalMax − signalMin; // max − min = peak-peak amplitude float db = map(peakToPeak,20,900,49.5,90); //calibrate for deciBels float e1=db; //MQ-135 NOx measure float RL = 20.1; float Ro = 10.0; float A = 116.6020682; float B = -2.769034857; float T1=c1; //temperature float H1=c2; //humidity float v = analogRead(A7)*(5.0/1023.0); float cf1=-0.03*T1-0.003*(H1-33)+0.0003*T1*T1+0.000025*T1*(H1 − 33); cf1=abs(cf1); float Rs = ((5.0/v) − 1)*(RL); float ratio1 = Rs/Ro; float ratio=ratio1/cf1; float f1 = A * pow(ratio, B); //NOx, ppm //MQ-135 SOx measure A=331.51; B=-0.974; float f2 = A * pow(ratio, B); f2=f2/100; //SOx, ppm //MQ-135 O3 measure float f3=9.4783 * pow(ratio, 2.3348);f3=f3/100000; //O3, ppm //MQ-9 CO measure A = 595; B = -2.24; float v1 = analogRead(A8)*(5.0/1023.0); float cf2=-0.02*T1-0.004*(H1-33)+0.0002*T1*T1+0.00004*T1*(H1-33); cf2=abs(cf2); Rs = ((5.0/v1)-1)*(RL); ratio1 = Rs/Ro; ratio=ratio1/cf2; float g1 = A * pow(ratio, B); //CO, ppm | //BM388 float altitude = bmp.readAltitude(SEALEVELPRESSURE_HPA); float Pressure = bmp.pressure/100; //hPa float Temperature = bmp.temperature; //Final String with all Data String cdata =String(Pressure)+”,”+String(a1)+”,”+String(a2)+”,”+String(a3)+”,”+String(a4)+”, ”+String(b1)+”,”+String(c1)+”,”+String(c2)+”,”+String(d1)+”, ”+String(d2)+”,”+String(e1)+”,”+String(f1)+”,”+String(f2)+”, ”+String(f3)+”,”+String(g1)+”,”; //SD Card File dataFile1 = SD.open(“datalog1.txt”, FILE_WRITE); if (dataFile1) { dataFile1.println(cdata); dataFile1.close(); // print to the serial port too: //Serial.println(cdata); } // if the file is not open, pop up an error: else { Serial.println(“error opening datalog1.txt”); } //Sender Arduino Board Code (Master) //Serial1.println(); //Serial1.println(cdata); cdata=““; // Printing the values on the Nextion //Page 1 values sendThis = “page1.t10.txt=“; sendThis+=(“\”“); //symbol “ sendThis.concat(a1); stringData=String(sendThis); Serial.print(stringData); Serial.write(0x22); //symbol “ Serial.write(0xff); Serial.write(0xff); Serial.write(0xff); //End of line sendThis = “page1.t11.txt=“; sendThis+=(“\”“); //symbol “ sendThis.concat(a2); stringData=String(sendThis); Serial.print(stringData); Serial.write(0x22); //symbol “ Serial.write(0xff); Serial.write(0xff); Serial.write(0xff); //End of line sendThis = “page1.t12.txt=“; sendThis+=(“\”“); //symbol “ sendThis.concat(a3); stringData=String(sendThis); Serial.print(stringData); Serial.write(0x22); //symbol “ Serial.write(0xff); Serial.write(0xff); Serial.write(0xff); //End of line sendThis = “page1.t13.txt=“; sendThis+=(“\”“); //symbol “ sendThis.concat(a4); stringData=String(sendThis); Serial.print(stringData); Serial.write(0x22); //symbol “ Serial.write(0xff); Serial.write(0xff); Serial.write(0xff); //End of line sendThis = “page1.t14.txt=“; sendThis+=(“\”“); //symbol “ sendThis.concat(d1); stringData=String(sendThis); Serial.print(stringData); Serial.write(0x22); //symbol “ Serial.write(0xff); Serial.write(0xff); Serial.write(0xff); //End of line sendThis = “page1.t15.txt=“; sendThis+=(“\”“); //symbol “ sendThis.concat(d2); stringData=String(sendThis); Serial.print(stringData); Serial.write(0x22); //symbol “ Serial.write(0xff); Serial.write(0xff); Serial.write(0xff); //End of line sendThis = “page1.t16.txt=“; sendThis+=(“\”“); //symbol “ sendThis.concat(f1); stringData=String(sendThis); Serial.print(stringData); Serial.write(0x22); //symbol “ Serial.write(0xff); Serial.write(0xff); Serial.write(0xff); //End of line sendThis = “page1.t17.txt=“; sendThis+=(“\”“); //symbol “ sendThis.concat(f2); stringData=String(sendThis); Serial.print(stringData); Serial.write(0x22); //symbol “ Serial.write(0xff); Serial.write(0xff); Serial.write(0xff); //End of line sendThis = “page1.t18.txt=“; sendThis+=(“\”“); //symbol “ sendThis.concat(f3); stringData=String(sendThis); Serial.print(stringData); Serial.write(0x22); //symbol “ Serial.write(0xff); Serial.write(0xff); Serial.write(0xff); //End of line sendThis = “page1.t19.txt=“; sendThis+=(“\”“); //symbol “ sendThis.concat(g1); stringData=String(sendThis); Serial.print(stringData); Serial.write(0x22); //symbol “ Serial.write(0xff); Serial.write(0xff); Serial.write(0xff); //End of line //Page 2 values sendThis = “page2.t4.txt=“; sendThis+=(“\”“); //symbol “ sendThis.concat(b1); stringData=String(sendThis); Serial.print(stringData); Serial.write(0x22); //symbol “ Serial.write(0xff); Serial.write(0xff); Serial.write(0xff); //End of line sendThis = “page2.t5.txt=“; sendThis+=(“\”“); //symbol “ sendThis.concat(c1); stringData=String(sendThis); Serial.print(stringData); Serial.write(0x22); //symbol “ Serial.write(0xff); Serial.write(0xff); Serial.write(0xff); //End of line sendThis = “page2.t6.txt=“; sendThis+=(“\”“); //symbol “ sendThis.concat(c2); stringData=String(sendThis); Serial.print(stringData); Serial.write(0x22); //symbol “ Serial.write(0xff); Serial.write(0xff); Serial.write(0xff); //End of line sendThis = “page2.t7.txt=“; sendThis+=(“\”“); //symbol “ sendThis.concat(e1); stringData=String(sendThis); Serial.print(stringData); Serial.write(0x22); //symbol “ Serial.write(0xff); Serial.write(0xff); Serial.write(0xff); //End of line sendThis = “page2.t9.txt=“; sendThis+=(“\”“); //symbol “ sendThis.concat(Pressure); stringData=String(sendThis); Serial.print(stringData); Serial.write(0x22); //symbol “ Serial.write(0xff); Serial.write(0xff); Serial.write(0xff); //End of line //Send to chart Page 3 sendThis = “add 2,0,”; sendThis.concat(round(e1)); stringData=String(sendThis); Serial.print(stringData); Serial.write(0xff); Serial.write(0xff); Serial.write(0xff); //End of line sendThis = “add 4,0,”; sendThis.concat(round(d1)); stringData=String(sendThis); Serial.print(stringData); Serial.write(0xff); Serial.write(0xff); Serial.write(0xff); //End of line delay(2000); //SGP_30 counter counter++; if (counter == 30) { counter = 0; uint16_t TVOC_base, eCO2_base; if (! sgp.getIAQBaseline(&eCO2_base, &TVOC_base)) { //Serial.println(“Failed to get baseline readings”); return; } // Serial.print(“****Baseline values: eCO2: 0x”); Serial.print(eCO2_base, HEX); // Serial.print(“ & TVOC: 0x”); Serial.println(TVOC_base, HEX); } } |
References
- Directive 2008/50/EC of the European Parliament and of the Council of 21 May 2008 on Ambient Air Quality and Cleaner Air for Europe. Available online: https://www.eea.europa.eu/policy-documents/directive-2008-50-ec-of (accessed on 11 May 2024).
- European Parliament, Resolution of 25 March 2021 on the Implementation of the Ambient Air Quality Directives, 2020/2091(INI). Available online: https://www.europarl.europa.eu/doceo/document/TA-9-2021-0107_EN.html (accessed on 11 May 2024).
- European Committee of the Regions, Opinion. Revision of the EU Ambient Air Quality Legislation, CdR 6180/2022. Available online: https://cor.europa.eu/en/our-work/Pages/OpinionTimeline.aspx?opId=CDR-6180-2022 (accessed on 11 May 2024).
- Stawowy, M.; Olchowik, W.; Rosiński, A.; Dąbrowski, T. The Analysis and Modelling of the Quality of Information Acquired from Weather Station Sensors. Remote Sens. 2021, 13, 693. [Google Scholar] [CrossRef]
- Mölder, M. A Mobile Platform for Measuring Air Pollution in Cities Using Gas Sensors. Master’s Thesis, KTH Skolan för Elektroteknik Och Datavetenskap, Stockholm, Sweden, 2018. [Google Scholar]
- Taştan, M. An IoT Based Air Quality Measurement and Warning System for Ambient Assisted Living. Eur. J. Sci. Technol. 2019, 16, 960–968. [Google Scholar] [CrossRef]
- Marinov, M.; Topalov, I.; Nikolova, B.; Nikolov, G.; Djamiykov, T. Smart Multisensor Node for Environmental Parameters Monitoring in Urban Areas. In Proceedings of the 2019 X National Conference with International Participation (ELECTRONICA), Sofia, Bulgaria, 16–17 May 2019; pp. 1–4. [Google Scholar]
- Esatbeyoglu, E.; Sass, A.; Cassebaum, O.; Schulze, S. Data Driven Air Quality Prediction based on Mobile Measurement. E3S Web Conf. 2019, 101, 03001. [Google Scholar] [CrossRef]
- Hernández-Rodríguez, E.; Schalm, O.; Martínez, A. Development of a Low-Cost Measuring System for the Monitoring of Environmental Parameters That Affect Air Quality for Human Health. J. Eng. Technol. Ind. Appl. 2020, 6, 13. [Google Scholar]
- Barot, V.; Kapadia, V.; Pandya, S. QoS Enabled IoT Based Low Cost Air Quality Monitoring System with Power Consumption Optimization. Cybern. Inf. Technol. 2020, 20, 122–140. [Google Scholar] [CrossRef]
- Solomon, P.; Vallano, D.; Lunden, M.; LaFranchi, B.; Blanchard, C.; Shaw, S. Mobile-platform measurement of air pollutant concentrations in California: Performance assessment, statistical methods for evaluating spatial variations, and spatial representativeness. Atmos. Meas. Tech. 2020, 13, 3277–3301. [Google Scholar] [CrossRef] [PubMed]
- Palamar, A.; Karpinski, M.; Palamar, M.; Halyna Osukhivska, H.; Mytnyk, M. Remote Air Pollution Monitoring System Based on Internet of Things. In Proceedings of the ITTAP’2022: 2nd International Workshop on Information Technologies: Theoretical and Applied Problems, Ternopil, Ukraine, 22–24 November 2022. [Google Scholar]
- Alili, I. The changes in percipation regime in Republic of Macedonia during the second half of 20-th century. Acad. Sci. J. Linguist. Lit. Educ. Cult. Idest 2009, 232–237. Available online: https://www.uni-sofia.bg/var/ezwebin_site/storage/original/application/b136755bb7a8c6dc4bf4c049e169cddd (accessed on 11 May 2024).
- Wang, C.; Liu, H.; Ji, H.; Wu, Y. A Design of Indoor Air-Quality Monitoring System. J. Phys. Conf. Ser. 2022, 2366, 012011. [Google Scholar] [CrossRef]
- Aashiq, M.; Kurera, W.; Thilekaratne, M.; Saja, A.; Rouzin, M.; Neranjan, N.; Yassin, H. An IoT based handheld environmental and air quality monitoring station. Acta IMEKO 2023, 12, 1–8. [Google Scholar] [CrossRef]
- Karnati, H. IoT-Based Air Quality Monitoring System with Machine Learning for Accurate and Real-time Data Analysis. arXiv 2023, arXiv:2307.00580. [Google Scholar]
- Eriyadi, M.; Notosudjono, D.; Setiana, H.; Yakin, M. Low-cost mobile air quality monitoring based on internet of things for factory area. Indones. J. Electr. Eng. Comput. Sci. 2023, 32, 545–554. [Google Scholar] [CrossRef]
- Hassani, A.; Castell, N.; Watne, Å.; Schneider, P. Citizen-operated mobile low-cost sensors for urban PM2.5 monitoring: Field calibration, uncertainty estimation, and application. Sustain. Cities Soc. 2023, 95, 104607. [Google Scholar] [CrossRef]
- Jayasree, G.; Anjali, G.; Saraswathi, D.; Shamshujeya, S. LoRa based smart city air quality monitoring system. Int. J. Creat. Res. Thoughts 2023, 11, e760–e766. [Google Scholar]
- Prabu, M.; Boomika, V.; Bala, S.; Prisha, G. Digital Air Quality Monitoring System. Int. J. Res. Publ. Rev. 2023, 4, 413–419. [Google Scholar] [CrossRef]
- Gayathri, S.; Alamelu, N.; Anuchiyadevi, K.; Arthi, M. IoT Based Air Pollution Monitoring System. Int. Res. J. Educ. Technol. 2023, 5, 494–497. [Google Scholar]
- Deepthi, G.; Krishna, C.; Vamsi, M.; Krishna, V. Solar based air quality monitoring using internet of things. ZKG Int. 2023, 8, 1784–1791. [Google Scholar]
- Raysoni, A.; Pinakana, S.; Mendez, E.; Wladyka, D.; Sepielak, K.; Temby, O. A Review of Literature on the Usage of Low-Cost Sensors to Measure Particulate Matter. Earth 2023, 4, 168–186. [Google Scholar] [CrossRef]
- Parajuli, A. Arduino Based Decibel Meter with Sound Sensor. Available online: https://iotprojectsideas.com/arduino-based-decibel-meter-with-sound-sensor (accessed on 3 January 2024).
- Correia, C.; Martins, V.; Matroca, B.; Santana, P.; Mariano, P.; Almeida, A.; Almeida, S.M. A Low-Cost Sensor System Installed in Buses to Monitor Air Quality in Cities. Int. J. Environ. Res. Public Health 2023, 20, 4073. [Google Scholar] [CrossRef] [PubMed]
- Taherdoost, H. Data Collection Methods and Tools for Research; A Step-by-Step Guide to Choose Data Collection Technique for Academic and Business Research Projects. Int. J. Acad. Res. Manag. 2021, 10, 10–38. [Google Scholar]
- Possolo, A. Simple Guide for Evaluating and Expressing the Uncertainty of NIST Measurement Results. In NIST Technical Note 1900; U.S. Department of Commerce, National Institute of Standards and Technology: Gaithersburg, MD, USA, 2015. [Google Scholar]








| Stage | Description |
|---|---|
| Define the Objective | Accuracy pertains to the device’s capability to accurately diagnose a specific condition. |
| Experimental Design | This involves determining the variables to measure and establishing control and experimental groups. |
| Sample Selection | Selecting samples that accurately represent the target population the device is intended for. |
| Ethical Considerations | Obtaining the necessary consent and ensuring privacy and data confidentiality are upheld throughout the process. |
| Data Collection Protocol | Providing precise instructions on device operation and data recording, typically following Standard Operating Procedures (SOP). |
| Data Recording | Employing suitable data formats and storage techniques to mitigate the risk of data loss or corruption. |
| Reproducibility | Designing the experiment in a manner that enables others to replicate it independently for result verification. |
| Data Validation | Validating against established references or ground truths, especially if accessible, to verify data accuracy. |
| Interpretation and Conclusion | Reflecting on study limitations and potential biases to draw meaningful conclusions. |
| Stage | Determining Uncertainty | Quality Assurance |
|---|---|---|
| Calibration | Verification through comparison with known references | Consistent calibration and maintenance schedules |
| Reproducibility | Assessment through measuring multiple samples | Adherence to Standard Operating Procedures (SOPs) |
| Inter-laboratory comparisons | Evaluation via comparison with reference methods | Utilization of quality control samples |
| Error analysis | Identification and quantification of potential errors | Documentation and ensuring traceability |
| Uncertainty calculation | Aggregation of uncertainties from various sources | Incorporation of user feedback and support provision |
| Stage | 1 | 2 | 3 | 4 | 5 | 6 | |
|---|---|---|---|---|---|---|---|
| Characteristic | |||||||
| AP, hPa | 1003.35 ± 0.05 | 1003.19 ± 0.05 | 1003.07 ± 0.03 | 1003.14 ± 0.04 | 1003.14 ± 0.02 | 1003.15 ± 0.05 | |
| TVOC, ppm | 21.23 ± 11.01 | 10.1 ± 3.2 | 8.5 ± 1.1 | 9.04 ± 1.53 | 36.61 ± 3.75 | 67.23 ± 6.29 | |
| eCO2, ppm | 0.8 ± 0.02 | 1.12 ± 0.01 | 2.01 ± 0.03 | 1.1 ± 0.01 | 0.94 ± 0.02 | 1.3 ± 0.02 | |
| H2, ppm | 0.12 ± 0.16 | 0.06 ± 0.005 | 0.05 ± 0.004 | 0.05 ± 0.002 | 0.05 ± 0.001 | 0.05 ± 0.003 | |
| Ethanol, ppm | 0.03 ± 0.01 | 0.04 ± 0.01 | 0.03 ± 0.01 | 0.03 ± 0.01 | 0.04 ± 0.01 | 0.04 ± 0.01 | |
| L, lux | 2141.85 ± 23.44 | 2209.87 ± 18.92 | 2262.62 ± 14.92 | 2313.18 ± 14.3 | 2369.79 ± 15.71 | 2402.04 ± 12.52 | |
| T, °C | 17.36 ± 1.15 | 15.91 ± 0.11 | 15.78 ± 0.16 | 16.14 ± 0.2 | 16.6 ± 0.13 | 16.83 ± 0.06 | |
| H, %RH | 46.47 ± 2.14 | 49.55 ± 0.32 | 50.25 ± 0.53 | 49.92 ± 0.56 | 49.51 ± 0.35 | 49.02 ± 0.22 | |
| PM2.5, µg/m3 | 5.89 ± 0.35 | 5.8 ± 0.27 | 5.66 ± 0.29 | 5.63 ± 0.24 | 5.83 ± 0.38 | 5.77 ± 0.4 | |
| PM10, µg/m3 | 19.93 ± 2.81 | 18.86 ± 2.47 | 17.34 ± 2.16 | 17.55 ± 2.21 | 17.22 ± 2.12 | 17.43 ± 2.2 | |
| N, dB | 57.84 ± 2.01 | 57.57 ± 1.35 | 58.03 ± 2.5 | 57.75 ± 2.11 | 57.55 ± 1.27 | 57.78 ± 1.44 | |
| NOx | 1.13 ± 4.16 | 0.14 ± 0.02 | 0.15 ± 0.03 | 0.15 ± 0.02 | 0.16 ± 0.02 | 0.17 ± 0.03 | |
| SOx | 0.47 ± 0.28 | 0.31 ± 0.02 | 0.32 ± 0.02 | 0.32 ± 0.02 | 0.33 ± 0.02 | 0.33 ± 0.02 | |
| O3 | 0.02 ± 0.009 | 0.03 ± 0.005 | 0.03 ± 0.005 | 0.03 ± 0.005 | 0.03 ± 0.005 | 0.02 ± 0.005 | |
| CO | 0.53 ± 2.12 | 0.07 ± 0.02 | 0.08 ± 0.02 | 0.08 ± 0.02 | 0.09 ± 0.02 | 0.09 ± 0.02 | |
| Stage | Characteristic | PM2.5, µg/m3 | PM10, µg/m3 | T, °C | H, %RH | AP, hPa | |
|---|---|---|---|---|---|---|---|
| System | |||||||
| 1 | PS | 6.51 ± 0.61 | 13.98 ± 0.84 | 14.6 ± 0.3 | 53.43 ± 0.24 | 1004.04 ± 0.03 | |
| CS | 5.62 ± 0.48 | 15.77 ± 0.73 | 14.81 ± 0.29 | 53.72 ± 0.24 | 1004.14 ± 0.03 | ||
| 2 | PS | 6.17 ± 0.64 | 6.97 ± 1.06 | 15.19 ± 0.26 | 54.85 ± 0.17 | 1003.85 ± 0.06 | |
| CS | 5.24 ± 0.31 | 8.92 ± 0.73 | 15.59 ± 0.23 | 55.2 ± 0.3 | 1003.94 ± 0.07 | ||
| 3 | PS | 5.7 ± 0.93 | 14.08 ± 1.74 | 16.36 ± 0.06 | 55.39 ± 0.24 | 1003.72 ± 0.06 | |
| CS | 4.89 ± 0.63 | 15.78 ± 0.97 | 16.89 ± 0.18 | 55.84 ± 0.19 | 1003.8 ± 0.02 | ||
| 4 | PS | 4.36 ± 0.88 | 10.58 ± 1.53 | 15.71 ± 0.38 | 54.72 ± 0.4 | 1003.5 ± 0.12 | |
| CS | 3.27 ± 0.63 | 12.75 ± 1.36 | 16.06 ± 0.25 | 55.22 ± 0.27 | 1003.59 ± 0.07 | ||
| 5 | PS | 4.18 ± 0.95 | 10.54 ± 1.21 | 15.51 ± 0.15 | 54.98 ± 0.36 | 1003.47 ± 0.09 | |
| CS | 3.38 ± 0.66 | 12 ± 0.8 | 15.79 ± 0.1 | 55.17 ± 0.19 | 1003.54 ± 0.05 | ||
| 6 | PS | 4.81 ± 0.73 | 11.24 ± 1.19 | 15.56 ± 0.28 | 54.85 ± 0.38 | 1003.51 ± 0.07 | |
| CS | 3.61 ± 0.57 | 12.87 ± 1.03 | 15.98 ± 0.19 | 55.29 ± 0.28 | 1003.65 ± 0.05 | ||
| Characteristic | PM2.5 | PM10 | Temperature | Humidity | Atmospheric Pressure | |
|---|---|---|---|---|---|---|
| Criteria | ||||||
| R2 | 0.79 | 0.91 | 0.91 | 0.87 | 0.96 | |
| SSE | 5.18 | 1.23 | 2.31 | 4.21 | 1.12 | |
| RMSE | 3.27 | 1.98 | 1.99 | 3.99 | 2.31 | |
| Publication/Year | [5] 2018 | [9] 2019 | [6] 2019 | [7] 2019 | [10] 2020 | [14] 2022 | [12] 2022 | [15] 2023 | [22] 2023 | PS | |
|---|---|---|---|---|---|---|---|---|---|---|---|
| Characteristic | |||||||||||
| Atmospheric pressure | N | N | N | Y | N | N | N | Y | Y | Y | |
| TVOC | N | Y | N | Y | N | Y | N | Y | N | Y | |
| CO2 | N | Y | Y | Y | N | N | Y | N | N | Y | |
| H2 | N | N | N | N | N | N | N | N | Y | Y | |
| Ethanol | N | N | N | N | N | Y | N | N | N | Y | |
| Illumination | N | Y | N | N | N | N | N | N | N | Y | |
| Temperature | N | Y | Y | Y | Y | Y | N | Y | Y | Y | |
| Humidity | N | Y | Y | Y | Y | Y | N | Y | Y | Y | |
| Particulate matter | N | Y | Y | Y | Y | Y | N | Y | Y | Y | |
| Noise | N | N | N | N | N | N | N | N | N | Y | |
| NOx | Y | N | Y | N | N | N | N | N | N | Y | |
| SOx | Y | N | N | Y | N | N | N | N | N | Y | |
| O3 | Y | N | N | Y | N | N | N | Y | N | Y | |
| CO | Y | N | N | Y | Y | N | Y | Y | N | Y | |
| Aspect | Description | Value/Ranges |
|---|---|---|
| Alignment and Evaluation | The device is compared with the appropriate measurement system. | Coefficient of determination: 0.79–0.96 |
| Routine Adjustment and Upkeep | Routine calibration and maintenance procedures are employed to ensure optimal operational conditions and precise measurements. | |
| Consistency and Accuracy | Numerous measurements are undertaken to assess the reproducibility or variability of the results. | Coefficient of variation (CV): 2–32% |
| Disturbances and Fault Assessment | Interferences are identified and corrected through error analysis and uncertainty calculations. | |
| External Influences | Environmental variables, such as fluctuations in temperature, humidity, and atmospheric conditions, are recognized as possible factors affecting measurements. | |
| Alignment and Uniform Sampling | To mitigate measurement variability and guarantee precision, uniform calibration protocols and sampling methods are upheld. | |
| Standard Operating Procedure (SOP) Development | A standardized operating procedure (SOP) is formulated for proper device utilization, encompassing startup protocols, sample manipulation, and data logging. | |
Disclaimer/Publisher’s Note: The statements, opinions and data contained in all publications are solely those of the individual author(s) and contributor(s) and not of MDPI and/or the editor(s). MDPI and/or the editor(s) disclaim responsibility for any injury to people or property resulting from any ideas, methods, instructions or products referred to in the content. |
© 2024 by the authors. Licensee MDPI, Basel, Switzerland. This article is an open access article distributed under the terms and conditions of the Creative Commons Attribution (CC BY) license (https://creativecommons.org/licenses/by/4.0/).
Share and Cite
Zlatev, Z.; Todorov, A.; Karadzhova, D.; Vasilev, M.; Veleva, P. Evaluating the Performance and Practicality of a Multi-Parameter Assessment System with Design, Comparative Analysis, and Future Directions. Sustainability 2024, 16, 4124. https://doi.org/10.3390/su16104124
Zlatev Z, Todorov A, Karadzhova D, Vasilev M, Veleva P. Evaluating the Performance and Practicality of a Multi-Parameter Assessment System with Design, Comparative Analysis, and Future Directions. Sustainability. 2024; 16(10):4124. https://doi.org/10.3390/su16104124
Chicago/Turabian StyleZlatev, Zlatin, Apostol Todorov, Dzheni Karadzhova, Miroslav Vasilev, and Petya Veleva. 2024. "Evaluating the Performance and Practicality of a Multi-Parameter Assessment System with Design, Comparative Analysis, and Future Directions" Sustainability 16, no. 10: 4124. https://doi.org/10.3390/su16104124
APA StyleZlatev, Z., Todorov, A., Karadzhova, D., Vasilev, M., & Veleva, P. (2024). Evaluating the Performance and Practicality of a Multi-Parameter Assessment System with Design, Comparative Analysis, and Future Directions. Sustainability, 16(10), 4124. https://doi.org/10.3390/su16104124

