E-Waste Management in Rwanda: A Situational and Capacity Need Assessment
Abstract
1. Introduction
- -
- Temperature exchange equipment: fridges, freezers, air conditioning, etc.
- -
- Screens, monitors, and equipment containing screens having a surface greater than 100 cm2: TVs, computer monitors, etc.
- -
- Lamp bulbs
- -
- Large equipment (any external dimension more than 50 cm): washing machines, dishwashers, cooking stove and oven, cookers, luminaries, large printers, copying equipment, large equipment in general, etc.
- -
- Small equipment (no external dimension more than 50 cm): vacuum cleaners, calculators, video cameras, cameras, wi-fi equipment, watches and clocks, smoke detectors, payment systems, etc.
- -
- Small IT and telecommunication equipment (no external dimension more than 50 cm): mobile phones, tablets, routers, laptops, GPSs, printers, etc.
2. Current Policies and Legal Framework in Rwanda
3. Study Area and the Secondary Cities Concept
4. Materials and Methods
4.1. Sampling
4.2. Data Analysis
- -
- Q1: Have you ever heard about Rwanda’s e-waste legislation?
- -
- Q2: Is it good to have legislation on e-waste?
- -
- Q3: Are you aware of the environmental hazards caused by discarded electronic equipment (e.g., computers, mobile phones)?
- -
- Q4: Are you aware that some electronic parts may be profitably recycled?
- -
- Q5: Do you know what e-waste or waste of electrical and electronic equipment is?
5. Results and Discussion
5.1. Limitations of the Study
5.2. Background Information of Respondents
5.3. Imports of Electrical and Electronic Equipment for the Period 2018–2021
5.4. Electrical and Electronic Equipment (EEE) in Households
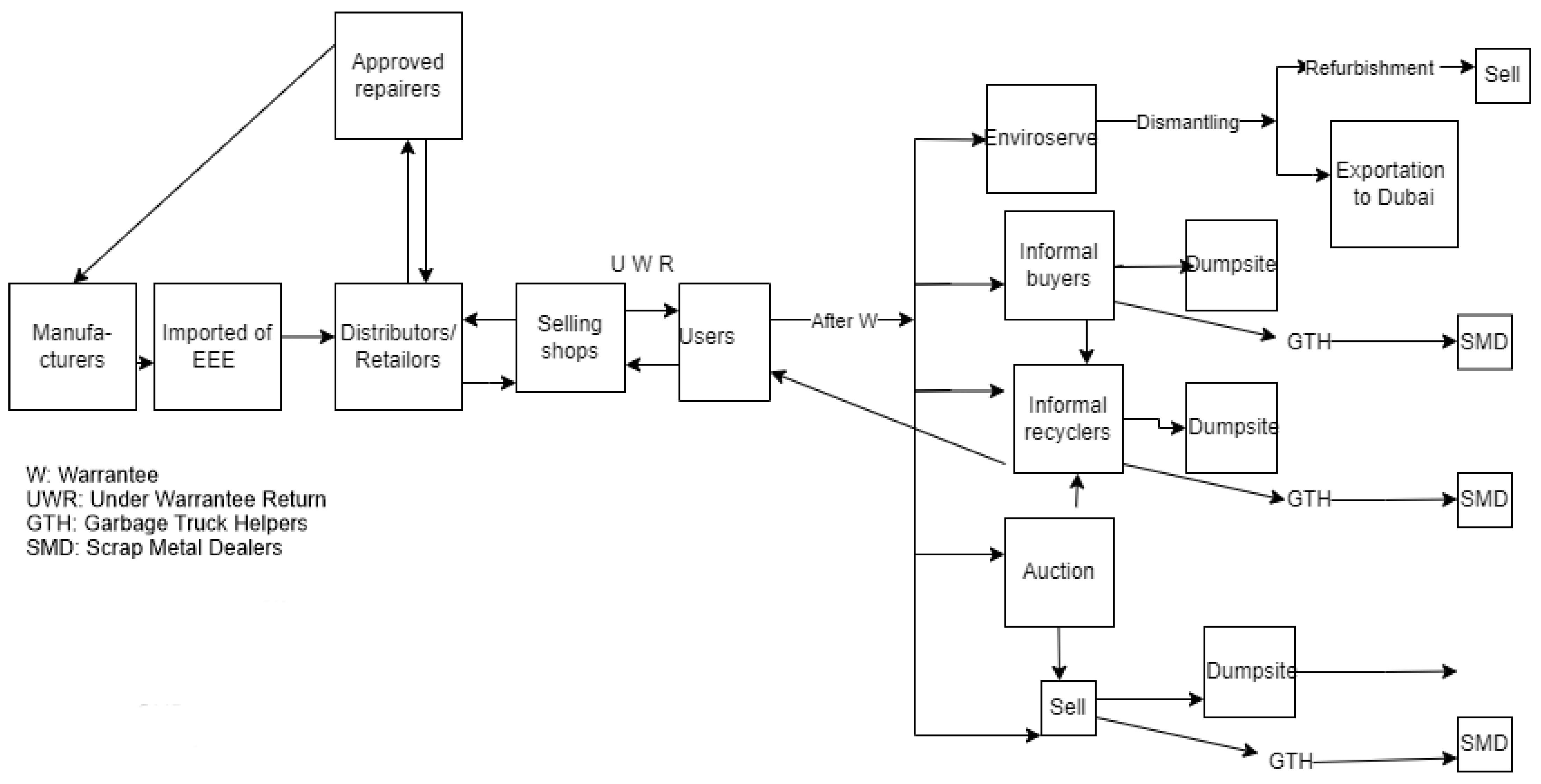
5.5. Value Chain of EEE in Rwanda
5.6. Current Operations and Practices
5.7. General Knowledge on E-Waste
5.8. Needs Identified by the Study
- Waste pickers, those involved in municipal waste collection and transportation (especially in the city of Kigali where waste collection is well organized), collect some e-wastes which are mixed with municipal waste and they sell them before arriving at the disposal site (the dumpsite). Those waste pickers must be trained regarding e-waste knowledge. They also must be informed about legal and safety requirements for the collection and transportation of this type of waste.
- Twelve per cent of interviewees are informal refurbishers/recyclers and are engaged in e-waste pretreatment (like dismantling). Residues from these operations, including hazardous wastes, are released into the environment. Even if a high number of them have been trained by Enviroserve, that sector is receiving many new members every time and new EEEs are entering the market; therefore, they should be regularly both trained on how to handle these wastes and be informed about legal requirements related to hazardous waste management.
- Both waste collectors and informal refurbishers/recyclers must deal with hazardous waste. Thus, skills in handling those hazardous wastes should be developed to avoid their impact (negative) on the health of waste collectors and informal refurbishers/recyclers. It is hereby advised to develop a document containing relevant skills or use an available e-waste training manual which has been developed by GIZ [40].
- Waste pickers are supposed to wear boots, nose masks, and gloves, but sometimes they do not put them on, claiming that it is very hot, they feel itchy, they lose their sense of touch, and they have difficulty in speaking, and informal refurbishers/recyclers do not put on personal safety equipment. Therefore, both of them should be informed on occupational safety risks. When asked about being trained, most of them expressed the need. An information booklet containing information on the equipment should be used, and their specifications and safety rules should be developed.
- Informal e-waste dealers, including informal refurbishers/recyclers, deal with e-waste manually, and in such working conditions, the risks of adverse health effects are likely to be very high. This should be addressed by capacity development measures.
- All visited organizations except Enviroserve lack a waste management plan, and there is a need to inform them about relevant requirements of legislation.
5.9. The Association between Background Information and Awareness Level on E-Waste
6. Conclusions and Recommendation
6.1. Conclusions
6.2. Specific Recommendations
- To organize awareness campaigns: This should be done through community engagement such as community work “umuganda” (it takes place every last Saturday of every month) mainly at the village level, and through mass media such as radio and television.
- To continue a very good initiative of Enviroserve Rwanda, which conducts training for informal repairers/recyclers.
- To include an e-waste management course in ICT programmes’ curricula, both in secondary schools and higher learning institutions.
- To match e-waste management with a ‘made in Rwanda’ initiative: Integrated Polytechnic Regional Centers (IPRCs) as technical schools should be involved in e-waste management, and as IPRCs are scattered right across Rwanda they will be assisting e-waste management in all districts.
- To look at taking back legislation based on the extended producer responsibility (EPR) principle, thereby legally requiring manufacturers and importers to finance the take back initiative and proper recycling of products placed on the national markets.
- Public institutions and companies should be encouraged to assess their estimated end of life (EoL) stock, as this will help to determine what their EoL strategy will be, and it will also help investors who are willing to invest in e-waste management.
- To provide incentives to encourage engagement with local communities in e-waste management.
- To provide incentives to encourage refurbishment and reuse before sending e-waste to Enviroserve: reuse and refurbishment extend the lifespan of products.
- To provide additional infrastructure for both the disposal and recycling of e-waste.
- To include informal repairers/recyclers in e-waste management initiatives.
- To conduct a study on the impact of e-waste on the economy in Rwanda.
- The GoR is recommended to rethink the policy instruments under the EPR approach.
- A disposal fee (DF) should be proposed on every sold item of EEE, and this generated money can be used to (1) provide subsidies to consumers to depose of their e-waste at designated drop-off points, (2) provide training to informal sector workers, and finally (3) provide subsidies to e-waste collectors/recyclers. A challenge here will be to agree on that disposal fee, and one of the proposals would be the monetary value of that particular e-waste.
- All public and private organizations should record their e-waste quantities.
- Further research could investigate the impact of e-waste on the economy.
Author Contributions
Funding
Institutional Review Board Statement
Informed Consent Statement
Acknowledgments
Conflicts of Interest
References
- Turaga, R.M.R.; Bhaskar, K.; Sinha, S.; Hinchliffe, D.; Hemkhaus, M.; Arora, R.; Chatterjee, S.; Khetriwal, D.S.; Radulovic, V.; Singhal, P.; et al. E-Waste Management in India: Issues and Strategies. J. Decis. Mak. Sage J. 2019, 44, 127–162. [Google Scholar] [CrossRef]
- Alblooshi, B.G.K.M.; Ahmad, S.Z.; Hussain, M.; Singh, S.K. Sustainable management of electronic waste: Empirical evidences from a stakeholders’ perspective. Bus. Strategy Environ. 2022, 31, 1856–1874. [Google Scholar] [CrossRef]
- Rwanda Environmental Management Authority (REMA). National E-Waste Management Policy for Rwanda. 2016. Available online: https://climateportal.rema.gov.rw/fileadmin/user_upload/Documents/Policy/NationalE-WasteManagementPolicyforRwanda.pdf (accessed on 20 November 2022).
- Poongodi Manickam, 2022. WEEE Directives: Managing E-Waste in the EU. Talema Group. Available online: https://talema.com/weee-directives-managing-e-waste-in-the-eu/ (accessed on 9 November 2022).
- Hamdan, S.; Saidan, M.N. Estimation of E-waste Generation, Residential Behavior, and Disposal Practices from Major Governorates in Jordan. Environ. Manag. 2020, 66, 884–898. [Google Scholar] [CrossRef] [PubMed]
- Mor, R.S.; Sangwan, K.S.; Singh, S.; Singh, A.; Kharub, M. E-waste management for environmental sustainability: An exploratory study. In Proceedings of the 28th CIRP Conference on Life Cycle Engineering, Jaipur, India, 10–12 March 2021; Volume 98, pp. 193–198. [Google Scholar] [CrossRef]
- Dzah, C.O.; Agyapong, J.W.; Apprey, M.T.; Agbevanu, K.; Kagbetor, P. Assessment of perceptions and practices of electronic waste management among commercial consumers in Ho, Ghana. Sustain. Environ. 2022, 8, 2048465. [Google Scholar] [CrossRef]
- Owusu-Twum, M.Y.; Kumi-Amoah, G.; Heve, W.K.; Lente, I.; Owusu, S.A.; Larbi, L.; Amfo-Otu, R. Electronic waste control and management in Ghana: A critical assessment of the law, perceptions and practices. Waste Manag. Res. 2022, 40, 1794–1802. [Google Scholar] [CrossRef]
- UNEP. E-Waste Volume I: Inventory Assessment Manual; United Nations Environment Protection: Nairobi, Kenya, 2007. [Google Scholar]
- UNEP. E-Waste Volume II: E-Waste Management Manual; United Nations Environment Protection: Nairobi, Kenya, 2007. [Google Scholar]
- European Parliament Briefing, 2015. In Understanding Waste Streams: Treatment of Specific Waste; European Parliamentary Research Service: Brussels, Belgium, 2015.
- Ilankoon, I.M.S.K.; Ghorbani, Y.; Chong, M.N.; Herath, G.; Moyo, T.; Petersen, J. E-waste in the international context—A review of trade flows, regulations, hazards, waste management strategies and technologies for value recovery. Waste Manag. 2018, 82, 258–275. [Google Scholar] [CrossRef] [PubMed]
- Needhidasan, S.; Samuel, M.; Chidambaram, R. Electronic waste—An emerging threat to the environment of urban India. J. Environ. Health Sci. Eng. 2014, 12, 36. [Google Scholar] [CrossRef] [PubMed]
- Bhutta, M.K.S.; Omar, A.; Yang, X. Electronic waste: A growing concern in today’s environment. Econ. Res. Int. 2011, 2011, 474230. [Google Scholar] [CrossRef]
- Amfo-Otu, R.; Bentum, J.K.; Omari, S. Assessment of soil contamination through e-waste recycling activities in Tema community one. Environ. Pollut. 2013, 2, 66. [Google Scholar] [CrossRef]
- Caravanos, J.; Clark, E.; Fuller, R.; Lambertson, C. Assessing worker and environmental chemical exposure risks at an e-waste recycling and disposal site in Accra, Ghana. J. Health Pollut. 2011, 1, 16–25. [Google Scholar] [CrossRef]
- Li, J.; Duan, H.; Shi, P. Heavy metal contamination of surface soil in electronic waste dismantling area: Site investigation and source-apportionment analysis. Waste Manag. Res. 2011, 29, 727–738. [Google Scholar]
- Manmohit, S.; Parteek, S.T.; Siby, J. Health risk assessment of the workers exposed to the heavy metals in e-waste recycling sites of Chandigarh and Ludhiana, Punjab, India. Chemosphere 2018, 203, 426–433. [Google Scholar]
- Ohajinwa, C.M.; Van Bodegom, P.M.; Osibanjo, O.; Xie, Q.; Chen, J.; Vijver, M.J.; Peijnenburg, W.J.G.M. Health risks of polybrominated diphenyl ethers (PBDEs) and metals at informal electronic waste recycling sites. Int. J. Environ. Res. Public Health 2019, 16, 906. [Google Scholar] [CrossRef] [PubMed]
- Rajesh, R.; Kanakadhurga, D.; Prabaharan, N. Electronic waste: A critical assessment on the unimaginable growing pollutant, legislations and environmental impacts. Environ. Chall. 2022, 7, 100507. [Google Scholar] [CrossRef]
- Aboelmaged, M. E-waste recycling behaviour: An integration of recycling habits into the theory of planned behavior. J. Clean. Prod. 2021, 278, 24182. [Google Scholar] [CrossRef]
- Bocken, N.M.; Short, S.W.; Rana, P.; Evans, S. A literature and practice review to develop sustainable business model archetypes. J. Clean. Prod. 2014, 65, 42–56. [Google Scholar] [CrossRef]
- Dhir, A.; Koshta, N.; Goyal, R.K.; Sakashita, M.; Almotairi, M. Behavioral reasoning theory (BRT) perspectives on E-waste recycling and management. J. Clean. Prod. 2021, 280, 124269. [Google Scholar] [CrossRef]
- Olakitan Ogungbuyi. Innocent Chidi Nnorom. Oladele Osibanjo. Mathias Schluep. E-Waste Africa Project of the Secretariat of the Basel Convention. UNEP. 2012. Available online: http://www.basel.int/Portals/4/Basel%20Convention/docs/eWaste/EwasteAfrica_Nigeria-Assessment.pdf (accessed on 8 June 2022).
- Official Gazette n° 15. 2021. National Land Use and Development Master Plan. Available online: https://lands.rw/fileadmin/user_upload/National_Land_Use_DevMaster_Plan_2020-2050.pdf (accessed on 23 April 2022).
- Naik, S.; Eswari, J.S. Electrical waste management: Recent advances challenges and future outlook. Total Environ. Res. Themes 2022, 1–2, 100002. [Google Scholar] [CrossRef]
- Guldmann, E.; Huulgaard, R. Barriers to circular business model innovation: A multiple-case study. J. Clean. Prod. 2020, 243, 118160. [Google Scholar] [CrossRef]
- Oteng-Ababio, M. Electronic waste management in Ghana—Issues and practices Curkovic, Sime. In Sustainable Development—Authoritative and Leading-Edge Content for Environmental Management; IntechOpen: Rijeka, Croatia, 2012; pp. 149–166. [Google Scholar] [CrossRef]
- Baldé, C.P.; Forti, V.; Kuehr, R.; Bel, G. The Global E-Waste Monitor 2020: Quantities, Flows and the Circular Economy Potential; United Nations University (UNU)/United Nations Institute for Training and Research (UNITAR)—Co-hosted SCYCLE Programme, International Telecommunication Union (ITU) & International Solid Waste Association (ISWA): Geneva, Switzerland, 2020. [Google Scholar]
- ITU. 2022. Ramping Up E-Waste Awareness in Rwanda. Available online: https://www.itu.int/hub/2022/06/e-waste-awareness-in-rwanda/ (accessed on 13 April 2022).
- Rwanda Utilities Regulatory Agency (RURA). Guidelines on the Management of Waste Disposal Site (Landfill); RURA: Kigali, Rwanda, 2001; Available online: https://www.rura.rw/fileadmin/board_decision/18_GUIDELINES_Landfill_03.pdf (accessed on 7 August 2022).
- Ministry of Health. National Community Health Strategic Plan; Ministry of Health: Kigali, Rwanda, 2013. Available online: https://www.moh.gov.rw/fileadmin/user_upload/Moh/Publications/Guidelines_Protocols/CHD_Documents/CHD-Strategic_plan.pdf (accessed on 1 September 2022).
- Ministry of Trade and Industry. E-Waste Inventory Study in Rwanda; Ministry of Trade and Industry: Kigali, Rwanda, 2015.
- Office of the Auditor General of State Finances, Rwanda. Performance Audit Report on Management of Solid and Liquid (Sewage) Waste in City of Kigali, Kigali-Rwanda. 2016. Available online: http://www.oag.gov.rw/fileadmin/user_upload/Performance_Reports/MANAGEMENT_OF_SOLID_AND_LIQUID__SEWAGE__IN_CITY_OF_KIGALI.pdf (accessed on 10 May 2022).
- Rwanda Environmental Management Authority (REAMA). State of Environment and Outlook Report 2021. 2021. Available online: https://www.rema.gov.rw/fileadmin/user_upload/Rwanda_SOER_-_Summary_for_Policy_Makers_Final-HR.pdf (accessed on 17 July 2022).
- World Bank Group. Reshaping Urbanization in Rwanda: Profiling Secondary Cities in Rwanda—Dynamics and Opportunities; World Bank: Washington, DC, USA, 2017; Available online: https://openknowledge.worldbank.org/handle/10986/29083 (accessed on 10 May 2022).
- National Institute of Statistics of Rwanda. The Fourth Population and Housing Census in Rwanda. 2012. Available online: http://microdata.statistics.gov (accessed on 20 June 2022).
- Global Green Growth Institute. National Roadmap for Green Secondary City Development; GGGI: Seoul, Republic of Korea, 2015. [Google Scholar]
- Cochran, W.G. Sampling Techniques, 2nd ed.; John Wiley and Sons, Inc.: New York, NY, USA, 1963. [Google Scholar]
- GIZ. E-Waste Training Manual; GIZ: Vienna, Austria, 2019. [Google Scholar]










| National Frameworks | |
|---|---|
| Short Name | Comment on the Provided Framework |
| Legislation and regulation | Rwanda has important WM-related legislation/regulations, including:
|
| Strategy/Policy |
|
| Guidelines and implementation procedures |
|
| Standards | DRS 276-2: E-Waste Management Standard. In addition, RSB has developed and published several standards for various EEE and a dedicated standard on e-waste management. |
| International Conventions Related to E-Waste Management | |
| Basel Convention | As a signatory to the Convention, the Government of Rwanda, through the Rwanda Environmental Management Authority (REMA), established the National Implementation Plan (NIP) of the Convention in 2013 in order to address issues related to transboundary movement of hazardous wastes and their disposal within the country. The NIP implementation has been underway since 2014 and ran until 2021. It outlines national priorities and targets, including establishment of repair centers for EEE and construction of an appropriate e-waste storage and recycling plant. |
| The Bamako Convention | Adopted under the auspices of the then Organisation of Africa Unity (OAU), the Convention prohibits hazardous waste imports into Africa and was adopted on 30 January 1991.The Convention also covers waste considered hazardous under the domestic laws of the state of import, export, or transit, including e-waste. |
| Huye | Muhanga | Nyagatare | Rubavu | Musanze | Rusizi | CoK | Total | |
|---|---|---|---|---|---|---|---|---|
| Population of the district (2012) [37] | 328,398 | 319,141 | 465,855 | 403,662 | 368,267 | 400,858 | 1,132,686 | 3,418,867 |
| Projected urban population | 339,236 | 329,673 | 481,229 | 416,983 | 380,420 | 414,087 | 1,608,414 | 3,970,042 |
| Urban population (2012) [38] | 52,768 | 50,608 | 47,480 | 149,209 | 102,082 | 63,258 | - | - |
| Projected urban population (2022) | 70,181 | 67,309 | 63,148 | 198,448 | 135,769 | 84,133 | 1,608,414 | 2,227,403 |
| Variable | Category | Total Number of Respondents | Percentage (%) |
|---|---|---|---|
| Gender | Male | 290 | 55.9 |
| Female | 229 | 44.1 | |
| Age (years) | 15–24 | 135 | 26 |
| 25–34 | 146 | 28.1 | |
| 35–44 | 139 | 26.8 | |
| 45–54 | 99 | 19.1 | |
| Educational level | No formal education | 25 | 4.8 |
| Primary | 86 | 16.6 | |
| Secondary | 180 | 34.7 | |
| Tertiary | 228 | 43.9 | |
| Occupation | Formal * | 221 | 42.6 |
| Informal ** | 171 | 32.9 | |
| Student | 43 | 8.3 | |
| Unemployed | 84 | 16.2 |
| Management Methods | General Public Consumers (384) | Informal Repairers (64) | Manufacturers/Distributors/ Retailers (43) | Collectors/Formal Repairers/Recyclers (4) | Private Higher Learning Institutions and Public Institutions (24) | Total |
|---|---|---|---|---|---|---|
| Bury | - | - | - | - | - | - |
| Burn | - | - | - | - | - | - |
| Donate | 12 (3.1%) | 3 (4.6%) | - | 1 (25%) | - | 16 (3.1%) |
| Anywhere | 15 (3.9%) | 1 (1.5%) | - | - | - | 16 (3.1%) |
| Dumpsite | 101 (26.3) | 25 (39.1) | - | - | 3 (12.5) | 129 (24.9%) |
| Dismantle | 5 (1.3% | 7 (10.9%) | - | 1 (25%) | - | 13 (2.5%) |
| Recycle | 20 (5.2%) | 5 (7%) | 1 (25%) | 3 (25%) | 28 (5.4%) | |
| Repair and reuse | 150 (39.1%) | 8 (12.5%) | 33 (76.7%) | 1 (25%) | 6 (25%) | 198 (38.1%) |
| Reselling | 69 (17.9) | 6 (9.4%) | - | - | - | 75 (14.4%) |
| Storage | 12 (3.1%) | 6 (14.1%) | - | - | 1 (4.2%) | 19 (3.7%) |
| Collected by Enviroserve | - | - | - | - | 8 (33.3%) | 8 (1.5%) |
| Auction | - | - | - | - | 3 | 3 (0.5%) |
| Selling to informal collectors | 3 (4.7%) | - | - | 3 (0.5%) | ||
| Export | - | - | 10 (23.3%) | 3 * | - | 11 (2.1%) |
| Variable | Have You Ever Heard about Rwanda’s E-Waste Legislation? | Is It Good to Have Legislation on a Legislation on E-Waste? | ||
|---|---|---|---|---|
| Yes | No | Yes | No | |
| General Public Consumers | 50 | 334 | 371 | 13 |
| Informal Repairers | 10 | 54 | 47 | 17 |
| Distributors/ Retailers | 1 | 42 | 41 | 2 |
| Formal Repairers/Recyclers | 1 | 3 | 4 | 0 |
| Private Higher Learning Institutions and Public Institutions | 2 | 22 | 24 | 0 |
| Total | 64 (12.3%) | 455 (87.7%) | 487 (93.8%) | 32 (6.2%) |
| Background Information | E-Waste Legislation Related Questions | E-Waste General Knowledge Related Questions | |||
|---|---|---|---|---|---|
| Q1 | Q2 | Q3 | Q4 | Q5 | |
| Age | 0.402 | 0.005 | 0.84 | 0.43 | 0.002 |
| Education | <0.001 | 0.001 | 0.001 | 0.01 | <0.001 |
| Gender | 0.025 | 0.35 | 0.16 | 0.01 | 0.03 |
Disclaimer/Publisher’s Note: The statements, opinions and data contained in all publications are solely those of the individual author(s) and contributor(s) and not of MDPI and/or the editor(s). MDPI and/or the editor(s) disclaim responsibility for any injury to people or property resulting from any ideas, methods, instructions or products referred to in the content. |
© 2023 by the authors. Licensee MDPI, Basel, Switzerland. This article is an open access article distributed under the terms and conditions of the Creative Commons Attribution (CC BY) license (https://creativecommons.org/licenses/by/4.0/).
Share and Cite
Kabera, T.; Nishimwe, H.; Mukurarinda, J. E-Waste Management in Rwanda: A Situational and Capacity Need Assessment. Sustainability 2023, 15, 12271. https://doi.org/10.3390/su151612271
Kabera T, Nishimwe H, Mukurarinda J. E-Waste Management in Rwanda: A Situational and Capacity Need Assessment. Sustainability. 2023; 15(16):12271. https://doi.org/10.3390/su151612271
Chicago/Turabian StyleKabera, Telesphore, Honorine Nishimwe, and Juvenal Mukurarinda. 2023. "E-Waste Management in Rwanda: A Situational and Capacity Need Assessment" Sustainability 15, no. 16: 12271. https://doi.org/10.3390/su151612271
APA StyleKabera, T., Nishimwe, H., & Mukurarinda, J. (2023). E-Waste Management in Rwanda: A Situational and Capacity Need Assessment. Sustainability, 15(16), 12271. https://doi.org/10.3390/su151612271

