Next Article in Journal
Analysis of the Evolution of Mangrove Landscape Patterns and Their Drivers in Hainan Island from 2000 to 2020
Next Article in Special Issue
Fusion Algorithm of the Improved A* Algorithm and Segmented Bézier Curves for the Path Planning of Mobile Robots
Previous Article in Journal
The Indonesian Digital Workforce Gaps in 2021–2025
Previous Article in Special Issue
A Strategy for Determining the Decommissioning Life of Energy Equipment Based on Economic Factors and Operational Stability
 
 
Font Type:
Arial Georgia Verdana
Font Size:
Aa Aa Aa
Line Spacing:
Column Width:
Background:
Article

Influence of Exhaust Temperature and Flow Velocity of Marine Diesel Engines on Exhaust Gas Boiler Heat Transfer Performance

1
School of Engineering, Ocean University of China, Qingdao 266100, China
2
Department of Automatic Control and Robotics, Faculty of Electrical Engineering, Automatics, Computer Science and Biomedical Engineering, AGH University of Science and Technology, Al. A. Mickiewicza 30, 30-059 Krakow, Poland
3
Department of Manufacturing Engineering and Automation Products, Opole University of Technology, 45-758 Opole, Poland
*
Authors to whom correspondence should be addressed.
Sustainability 2023, 15(1), 753; https://doi.org/10.3390/su15010753
Submission received: 3 November 2022 / Revised: 24 December 2022 / Accepted: 26 December 2022 / Published: 31 December 2022
(This article belongs to the Special Issue Recent Advances in Sustainability Development for Autonomous Systems)

Abstract

Due to the relatively cheap price of diesel, most Marine engines use diesel as Marine fuel, but its emissions contain a lot of carbon. To reduce carbon emissions, International Maritime Organization (IMO) has established an Energy Efficiency Design Index (EEDI) and Energy Efficiency Existing-Ship Index (EEXI). Currently, a popular way is to reduce EEDI by optimizing the heat transfer performance of exhaust gas boilers on new ships, but there is little research on the EEXI index of existing ships. For operating ships, the thermal conductivity of exhaust gas boiler materials and other parameters has been fixed, so the main factors affecting the heat transfer coefficient of the exhaust gas boiler are exhaust gas temperature and flow velocity. Therefore, this paper studies the influence of engine exhaust temperature and flow rate on boiler heat transfer coefficients and optimizes it to achieve the EEXI value required by IMO. Firstly, based on the conservation of mass and energy as the basic equation, a heat exchange model of the exhaust gas boiler is established by using the hybrid modeling method and lumped parameter method. Secondly, for the given boiler, since other parameters are basically unchanged, the input temperature and flow rate of the model are changed by the control variable method, and the temperature of the boiler outlet is simulated by the test algorithm. Through the simulation operation of an Aalborg OC-type boiler, the results show that when the exhaust gas flow velocity is 15 m/s, 17.2 m/s, 22.4 m/s and 25 m/s, respectively, the heat transfer coefficient at each flow velocity increases first and then slowly decreases with the increase of temperature, and there is an optimal temperature at each velocity, which is 230 °C, 227 °C, 225 °C and 224 °C, respectively. The innovation of this study lies in the research on the inlet temperature and flow rate of the exhaust gas boiler of the operating ship based on the EEXI, and the relevant results are obtained, which provides theoretical guidance for the operation management of the exhaust gas boiler of the operating ship.

1. Introduction

In order to reduce greenhouse gas emissions from ships, the International Maritime Organization (IMO) uses EEDI and EEXI to measure the energy efficiency of ships and reduce carbon emissions. So far, given the relatively cheap price of diesel, the vast majority of international and domestic transport vessels still use diesel engines as the main propulsion power plant [1]. With the increasing size and tonnage of large ships, the energy consumption of ships will increase significantly, and increasing attention will be paid to improving the heat utilization efficiency of ship systems [2,3]. On ships with low-speed two-stroke diesel engines as power devices, the exhaust temperature of the main engine can reach 250~380 °C, and this part of the heat has great potential for recycling [4].
Men et al. [5] proposed a new flue gas waste heat recovery system to improve boiler thermal efficiency and reduce nitrogen oxide emissions. Hinrichs et al. [6] developed a 3D model of pollutant generation and realized the numerical simulation of the real heating system of condensing boilers. Alex and Yang [7] studied the impact of low-temperature exhaust gas recirculation on diesel engine emissions, and they believed that 10% exhaust gas recirculation was effective in reducing NOx emissions and could improve the overall operational efficiency of ships. Lim et al. [8] found that applying a secondary organic Rankine cycle has a good effect on heat recovery in the process of diesel engine waste gas recovery. McCaffery et al. [9] studied the HFO combustion process of the auxiliary boiler when the ship is moored or the main engine operates at low power.
An exhaust gas boiler is a waste gas energy recovery device commonly used on ships. However, due to the limitation of ship space, the effective heat exchange zone of the boiler cannot be greatly increased. Therefore, the optimization of exhaust gas boiler structure and the increase of heat transfer coefficients have become important research directions for Marine exhaust gas boilers [10]. In terms of boiler structure optimization based on structural theory, Xie et al. [11] took the complex function composed of heat transfer rate and flow pressure drop as the objective to optimize the structure of the evaporator of the pressurized boiler. Feng et al. [12] established a mathematical model of a marine boiler consisting of an evaporator, superheater and economizer. By changing their dimensionless pipe diameter, the minimum weighted sum function based on entropy generation rate and power consumption was obtained, and the non-dominated sorting genetic algorithm (NSGA-II) was used to carry out multi-objective optimization of the boiler. Zhinov et al. [13] used Fluent and other software to conduct CFD flow simulation on two structural forms of the exhaust channel of a gas turbine unit with the exhaust gas boiler and obtained a scheme with better performance by comparing the results. Zhou et al. [14] proposed a curved zigzag spiral finned tube, compared with the traditional zigzag spiral finned tube. Zhang et al. [15] designed a new type of three-pressure ultra-low temperature smoke exhaust heat waste boiler. Lion [16] studied the use of waste heat recovery systems to recover energy from waste engines, so as to develop more efficient but also cleaner engines.
In terms of improving the heat transfer coefficient, Ahmad et al. [17] proposed a semi-empirical method for the theoretical modeling of the heat transfer coefficient. When the variation of the Prandtl number of two fluids is very small, the heat transfer coefficient can be expressed by the Reynolds number. Jiraroch and Anusorn [18] experimentally studied the heat transfer of wedge-shaped membrane fins in the riser of a cold model CFB boiler. Zhang et al. [19] studied the heat transfer of flue gas heat recovery devices by using a real-time measurement database and proposed a semi-experimental formula for the relationship between flue gas dew point temperature and heat transfer coefficient. Qin [20] developed an online prediction model to study the thermal efficiency of circulating fluidized bed boilers (CFB) and compared them through experiments. Wang et al. [21] proposed the application of gas-solid two-phase fluidization heat transfer technology in Marine exhaust gas boilers and suggested the choice of a bubble bed as the flow mode of the exhaust gas boiler. Fan [22] studied the thermal performance of superheaters of small pressurized boilers and analyzed the influence of overtemperature tube bursting. Yuan et al. [23] established the mathematical model and simulation model of the double-pressure steam Rankine cycle waste heat utilization system, studied the relationship between the performance parameters of the system and the main engine load and performed an exergy analysis of the double-pressure system. Guo [24] and Lv [25] used Matlab/Simulink to conduct a dynamic simulation of exhaust gas boilers and study the dynamic change process of boiler steam pressure, temperature and boiler water volume.
However, the above research did not study the heat transfer coefficient of the exhaust gas boiler of the operating ship. The ship personnel only carry out extensive management according to the boiler instruction manual, which cannot ensure that the heat transfer coefficient of the flue gas boiler is in the best state. Using an Aalborg OC boiler as an example and considering the requirements of ship EEXI and the influence of exhaust temperature and flow velocity on the heat transfer coefficient of exhaust gas boilers is carried out in this paper.

2. Objectives

The key objectives of this study are as follows: Section 3 is the method and mathematical model, Section 4 is the numerical case study, Section 5 is the analysis of the influence of exhaust temperature and flow velocity on heat transfer coefficient, and Section 6 is the calculation results and conclusions.

3. Materials and Methods

3.1. Aalborg OC Boiler

Aalborg OC boiler is a vertical smoke tube boiler with combined fuel and exhaust gas, and its structure is shown in Figure 1. The exhaust gas from the Marine diesel engine enters the boiler from the exhaust gas inlet, and the waste heat of the exhaust gas is mainly transferred to the heating furnace water on the water side of the smoke pipe by forced convection, and then steam is generated. The exhaust gas to complete the heat exchange is discharged from the exhaust gas outlet of the boiler. Its main parameters are shown in Table 1.

3.2. Factors Affecting Heat Transfer Coefficient

In order to make use of waste heat as much as possible, when the structural parameters of the exhaust gas boiler have been determined, it is hoped to increase the heat transfer coefficient to improve the EEOI of the ship. The main factors affecting the heat transfer coefficient are exhaust gas temperature, exhaust gas flow velocity, material properties of heat exchange wall, chemical composition of exhaust gas, boiler water level, boiler working pressure, boiler scaling and heat loss. For a given boiler, materials have been determined, and the coefficient of thermal conductivity λ is a constant value. The content of C, H, O and S of heavy oil has little difference, and the composition of flue gas is similar, which has little influence on the heat exchange efficiency of boiler. Other influencing factors should be treated according to normal water level, 0.5 mpa working pressure and no dirt. Heat loss is inevitable, mainly including exhaust gas inlet box heat loss, exhaust gas outlet box heat loss, exhaust gas loss and boiler furnace heat loss.
The exhaust gas temperature will directly determine the temperature inside and outside the smoke pipe, and then determine the heat transfer temperature difference in the heat transfer process. When the water in the exhaust gas boiler is in the nucleated boiling state, its heat transfer efficiency is the highest [26]. In the nucleated boiling zone, the greater the heat transfer temperature difference, the greater the heat transfer heat, so the exhaust gas temperature is an important factor affecting the heat transfer coefficient of the boiler. The flow velocity of exhaust gas affects the flow of exhaust gas. The flow is large, the available heat is more, the heat exchange is easier, and the flue gas distribution is more uniform. On the other hand, the velocity has a direct impact on the surface heat transfer coefficient, which increases with the increase in gas flow rate [27]. Under the condition that the heat transfer temperature difference is unchanged, the larger the heat transfer coefficient is, the greater the heat transfer is, and the heat transfer is faster, so it is also an important influencing factor.
In summary, this paper mainly studies the influence of exhaust temperature and flow velocity on boiler heat transfer coefficient.

3.3. Heat Transfer Coefficient Calculation of Smoke Pipe

The exhaust gas flows in the flue pipe in the form of turbulence, which is dominated by turbulent forced convection heat transfer. For smooth heat exchange tubes, the commonly used correlations in heat transfer are:

3.3.1. Prandtl Number

Prandtl number is one of the parameters used to calculate the heat transfer coefficient of flue gas, which reflects the contrasting relationship between momentum diffusion capacity and heat diffusion capacity of fluid [4].
P r f = μ f c p , f λ f
where, c p , f is the specific constant pressure heat capacity of flue gas, kJ/(kg·K); μ f is the dynamic viscosity of flue gas, Pa·s; λ f flue gas thermal conductivity, W/(m·K).

3.3.2. Reynolds Number

Reynolds number is a measure of the ratio of inertial force to viscous force and is one of the parameters used to calculate the heat transfer coefficient of flue gas [4].
R e f = ρ f U f d i μ f
where, ρ f is the smoke density, kg/m3; U f is the flue gas flow velocity, m/s.

3.3.3. Gnielinski Formula

Gnielinski formula is the correlation formula with the highest calculation accuracy so far. This formula will be used to calculate the heat transfer coefficient of flue gas convection. Gnielinski formula is expressed as follows [5]:
N u f = f i P r f 8 ( R e f 1000 ) 1 + 12.7 f i 8 ( P r f 2 3 1 ) [ 1 + ( d l ) 2 3 ] c t
where, for gas:
c t = ( T f T w ) 0.45 , T f T w = 0.5 ~ 1.5
According to Filonenko’s formula:
f i = ( 1.82 l g R e f 1.64 ) 2
The scope of application of Formula (3) is as follows: R e f = 2300 ~ 10 6 , P r f = 0.6 ~ 10 5 .

3.3.4. Heat Transfer Coefficient

For circular tubes, the heat transfer coefficient is calculated by applying the following formula [6]:
k c = 1 1 k a d o d i + d o 2 λ w l n d o d i + 1 k b
where   d i , d o are the diameters inside and outside the circle in mm, respectively; λ w is the thermal conductivity of pipe wall, W/(m·K); k a is the forced convection heat transfer coefficient on the flue gas side, W/(m2·K); k b is the convective heat transfer coefficient of boiling phase transition on the water side, W/(m2·K).
According to the design and working parameters of Aalborg OC exhaust gas boiler, it can be known through calculation that the inlet temperature and flow velocity range of exhaust gas and the range of Reynolds number and Prandtl number of exhaust gas flowing in the smoke pipe are shown in Table 2.
According to the range of R e f and P r f , the calculation formula of k a is chosen as follows [6]:
k a = N u f λ f d i
where, λ f is the thermal conductivity of exhaust gas, W/(m·K); N u f is the Nusselt number, which represents the dimensionless temperature gradient of the fluid on the wall surface. It is calculated using Gnielinski formula, and the applicable range is R e f = 2300 ~ 10 6 ,     P r f = 0.6 ~ 10 5 .
The calculation formula of k b is as follows:
k b = 0.1124 Δ τ 2.33 p 0.5
where Δ τ is the wall superheat,   ° C ; p is absolute pressure, Pa (applicable to the pool boiling range of 100~4000 kPa).

3.4. Heat Exchange Calculation

For the Marine exhaust gas boiler, the heat transfer in the flue pipe is mainly by convection heat transfer. Therefore, heat exchange amount in the heat transfer process can be calculated by Newton cooling formula, whose formula is as follows [5]:
Q = S k c Δ t m
where S is the heat transfer zone, m 2 ; k c is the forced convection heat transfer coefficient, W/ m 2 · K ; Δ t m is the logarithmic heat transfer temperature difference, °C.
The boiler is a heat exchanger with phase transition, and the logarithmic heat transfer temperature difference is calculated as follows [5]:
Δ t m = 1 h b h w h s h w Δ t m 1 + h s h b h s h w Δ t m 2
Among them,
Δ t m 1 = ( t 1 t 3 ) ( t t 4 ) ln t 1 t 3 t t 4
Δ t m 2 = ( t t 4 ) ( t 2 t 4 ) ln t t 4 t 2 t 4
t = t 1 ( t 1 t 2 ) ( h b h w ) h s h w
where h s , h b and h w are the specific enthalpy of saturated steam, saturated water and water supply, kJ/(kg·K), respectively. t 1 and t 2 are the inlet and outlet temperature, °C; t 3 , and t 4 are boiler feed water temperature and saturated water temperature, respectively, °C.

3.5. Boiler Heat Exchange Simulation Model

Based on the mixed modeling method and combined with lumped parameter method, the boiler is divided into four modules: exhaust gas inlet zone, smoke pipe heat exchange zone, outlet zone and steam/water zone for modeling. The modular modeling method can make the simulation process more intuitive and improve the accuracy of the model [28]. The modular modeling method can make the simulation process more intuitive and improve the model’s accuracy. The module division of the boiler is shown in Figure 2.

3.5.1. Conservation of Mass in Smoke Pipe Zone

Since the inlet and outlet zones of the smoke pipe are equal, the following equation can be obtained from the continuity equation of fluid mechanics:
ρ g 1 v g 1 = ρ g 2 v g 2
where ρ g 1 and ρ g 2 are the density of inlet and outlet exhaust gas in the heat exchange zone of the smoke pipe, kg/m3; v g 1 and v g 2 are the inlet and outlet exhaust gas flow velocity in the heat exchange zone of the smoke pipe, m/s.

3.5.2. Conservation of Energy in Smoke Pipe Zone

The exhaust gas entering the smoke pipe is heat exchanged with the metal pipe wall, and part of the heat enters the steam and water zone. The heat exchanged by exhaust gas is discharged from the outlet of the smoke pipe. The energy conservation equation is as follows:
ρ g 1 g L 2 + p 2 + ρ g 1 v g 1 2 2 = ρ g 1 g L 3 + p 3 + ρ g 1 v g 2 2 2 + β l d ρ g v g 1 2 2
where L 2 and L 3 are the inlet and outlet positions of the smoke pipe, respectively; m. p 2 and p 3 are the exhaust gas pressure at inlet and outlet of smoke pipe, respectively; Pa. β is the loss coefficient along the path and is related to Reynolds number, where β = 0.3164 R e 0.25 ; l and d are the length and diameter of the smoke pipe, respectively, m.
The simulation model of the heat transfer zone of the smoke pipe is shown in Figure 3.

3.5.3. Conservation of Mass in Steam Water Zone

Because only the heat transfer coefficient of the exhaust gas boiler is studied, it is simplified in the modeling of the steam water zone of the exhaust gas boiler. It is only necessary to obtain the evaporation amount through the conservation of mass and energy, and then obtain the required heat transfer coefficient and other parameters.
Assume that the boiler is at normal working water level and the boiler pressure is normal (0.5 mpa), so the water supply mass is equal to the steam discharge mass, namely:
m w = m s
where m w is the mass flow rate of feed water (feed water temperature is 60 °C), kg/h; m s is the mass discharge of steam, that is, the evaporation of the boiler, kg/h.

3.5.4. Conservation of Energy in Steam Water Zone

Assuming that all the pipe wall heat is transferred to water and steam, the energy conservation equation is as follows [6]:
Q c = D ( h s h w )
where D is evaporation, kg/h; h s is the vapor-specific enthalpy under this parameter, kJ/kg; h w is the specific enthalpy of water supply, kJ/kg.
The simulation model of the steam and water zone is shown in Figure 4.

3.5.5. Integral Model of Exhaust Gas Boiler

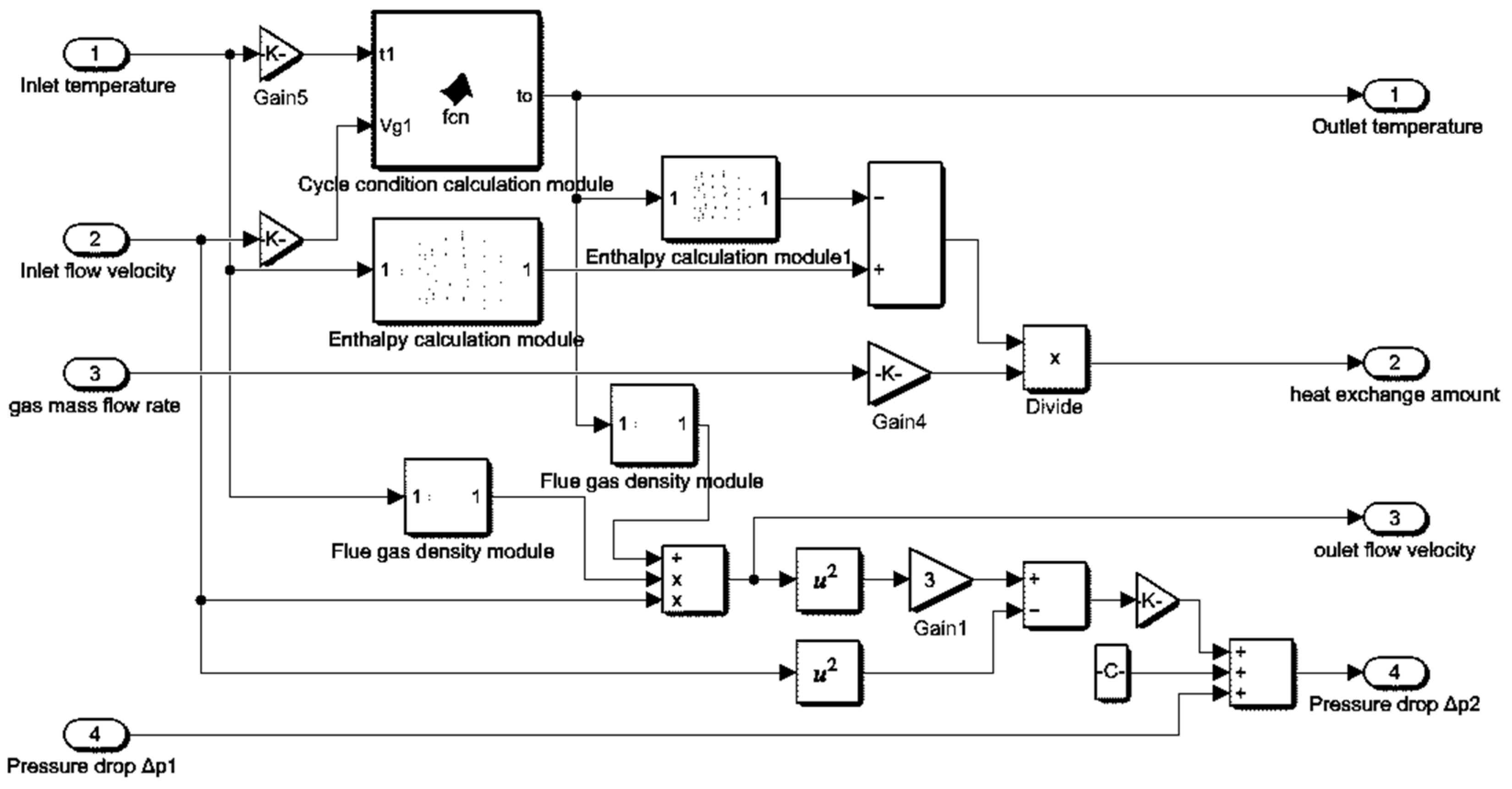
The whole simulation model of the exhaust gas boiler is obtained by connecting the above models with certain rules.
Input parameters:   t 0 and V g .
Output parameter: D, η s , k, t o and V g o .
The integral simulation model of exhaust gas boiler is shown in Figure 5.

4. Numerical Case Study

For an Aalborg OC-type boiler, the relevant fixed parameters were input into the simulation model, and the input parameters of the model (i.e., the inlet temperature and flow rate of the exhaust gas) were changed by the control variable method to conduct a numerical simulation. The heat transfer coefficient, heat exchange efficiency and evaporation of the exhaust gas boiler could be obtained, and then these parameters were imported to Matlab to analyze the results.

4.1. Smoke Pipe Heat Transfer Coefficient Numerical Simulation

4.1.1. Heat Transfer Coefficient on Flue Gas Side of Smoke Pipe

The exhaust gas entering the flue pipe transfers heat to the metal wall. The calculation results of the relationship between the convective heat transfer coefficient on the flue gas side and the temperature and flow velocity changes at the inlet of the boiler exhaust gas are shown in Figure 6. Figure 6a shows the heat transfer coefficient on the flue gas side as a function of temperature when the inlet exhaust gas flow velocities are 15 m/s, 17.2 m/s, 22.4 m/s and 25 m/s. Figure 6b shows the results of the flue gas side heat transfer coefficient changing with the flow velocity when the inlet exhaust gas temperatures are 175 °C, 190 °C, 265 °C and 280 °C.
The results show that the heat transfer coefficient decreases with the increase of exhaust gas temperature but increases with the increase of exhaust gas flow rate. Both are approximately expressed as the change relation of the first order function, and the corresponding change in amplitude is basically the same under different flow velocities, and the change in amplitude is large. This shows that the temperature and velocity of exhaust gas have an important influence on the heat transfer coefficient of the flue gas side.

4.1.2. Heat Transfer Coefficient on the Water Side of the Smoke Pipe

The metal walls of the smoke pipe gain heat from the exhaust gas and then raise the temperature of the wall, which acts as a heating wall to heat the water and boil it. The calculation results of the relationship between the boiling phase transition convective heat transfer coefficient at the water side and the temperature and flow velocity changes of the exhaust gas inlet of the boiler are shown in Figure 7. Figure 7a is the result of the boiling heat transfer coefficient on the water side as a function of temperature when inlet exhaust gas flow velocities are 15 m/s, 17.2 m/s, 22.4 m/s and 25 m/s, while Figure 7b is the result of boiling heat transfer coefficient on the water side as a function of flow velocity when inlet exhaust gas temperatures are 175 °C, 190 °C, 265 °C and 280 °C.
The results show that the boiling heat transfer coefficient at the water side increases exponentially with the increase of exhaust gas temperature because the higher the inlet exhaust gas temperature, the hotter the wall superheat. The boiling heat transfer coefficient at the water side has a 2.33 power relationship with the wall superheat. On the other hand, the boiling heat transfer coefficient at the water side varies little with the flow velocity of the exhaust gas, so it can be concluded that the inlet exhaust gas temperature of the boiler has the main influence on the boiling heat transfer coefficient at the water side.

4.2. Heat Transfer Efficiency Numerical Simulation

In order to more intuitively explain the change rule of heat transfer efficiency, three kinds of boiler working conditions are selected for numerical simulation, respectively: (1) Design evaporation capacity conditions, the inlet temperature is 193 °C, the flow Velocity is 17.4 m/s; (2) Maximum pressure drop condition, the inlet temperature is 235 °C and the flow velocity is 24.2 m/s. (3) Maximum evaporation capacity condition, the inlet temperature is 265 °C and the flow velocity is 22.7 m/s. Figure 8 and Figure 9 show the simulation results.
The simulation results in Figure 8 show that with the increase in the flow velocity, the heat transfer efficiency first increases and then slowly decreases after reaching the maximum value. In addition, the larger the inlet temperature, the larger the inlet velocity corresponding to the maximum value of the heat transfer efficiency. The simulation results in Figure 9 show that, with the increase of temperature, the heat transfer efficiency first increases significantly, then slows down, reaches the maximum value, and finally slowly decreases, and the change of heat transfer efficiency is small with different inlet flow rates. In general, the change in inlet velocity caused by the change in heat transfer efficiency is small (about 0.5–1%). The inlet temperature has a great influence on the heat transfer efficiency, and the variation range is about 10–13%.

4.3. Evaporation Capacity Numerical Simulation

Evaporation capacity is one of the important working parameters of the boiler. At the same time, evaporation capacity reflects the actual utilization of the exhaust heat of the exhaust gas boiler and plays an important role in evaluating the heat transfer capacity of the boiler. Figure 10 shows the simulation results of the boiler’s evaporation capacity.
The simulation results show that under the same boiler inlet and outlet temperatures, the heat transfer amount of the exhaust gas boiler increases with the increase of exhaust gas inlet velocity and flow rate, and the heat transfer amount and exhaust gas flow rate are approximately a linear function. However, the increase in flow velocity changes the heat transfer coefficient and also changes the temperature difference of convective heat transfer. Therefore, the relationship between evaporation capacity and flow velocity is not strictly a linear function.
When the inlet velocity is constant, the change of inlet temperature changes the qualitative temperature of the exhaust gas, so the physical parameters of the exhaust gas side of the smoke pipe also change, and the change law is complex and cannot be described uniformly. Meanwhile, the change of physical parameters has a great impact on the heat transfer coefficient, so the relationship curve between the evaporation capacity and the inlet velocity of the exhaust gas is approximately an arc curve, which increases with the increase of temperature. The larger the flow velocity, the more “straight” the arc.

4.4. Case Study

For an Aalborg OC-boiler, under the design evaporation capacity, the exhaust inlet temperature is 193 °C, the exhaust flow rate is 99,845 kg/h and the corresponding inlet flow velocity is about 17.4 m/s. Under the condition of maximum evaporation, the exhaust gas inlet temperature is 265 °C, the exhaust gas flow rate is 114,765 kg/h, and the corresponding inlet flow velocity is about 22.7 m/s. Considering the tropical and winter conditions, it is necessary to increase the range of temperature and flow velocity to match different conditions, so the inlet temperature range is set at 175~280 °C, and the step size is 0.25 °C in the simulation model. The inlet velocity range is 15~25 m/s, the step is 0.05 m/s, and the corresponding exhaust gas flow range is 73,645~151,495 kg/h.
Comparing the simulation results of evaporation capacity with boiler design data can reflect the simulation accuracy of the model to a certain extent. The simulation results of evaporation capacity are shown in Figure 11, and the comparison between simulation results and design parameters is shown in Table 3.
According to the data in Table 3, under the designed evaporation capacity condition and the maximum evaporation capacity condition, the difference between the simulation results of the model and the design value is small, and the relative error is less than 5%, which verifies the accuracy of the simulation model.

5. Analysis of Influence of Exhaust Temperature and Flow Velocity on Heat Transfer Coefficient

The simulation results of the relationship between the heat transfer coefficient of the exhaust gas boiler and the variation of the inlet temperature and flow velocity of the boiler are shown in Figure 12.
Figure 12a shows that when the inlet temperature of exhaust gas is fixed, the value of the heat transfer coefficient increases with the increase of the flow velocity because the Reynolds number is proportional to the 0.8 power of the flow velocity. Meanwhile, the change in the flow velocity will also cause a change in other physical parameters. In addition, the variation amplitude of the heat transfer coefficient corresponding to different temperatures is not equal, but the overall variation range is large, that is to say, about 20~30 W/(m2·K).
Figure 12b shows that when the inlet flow velocity of exhaust gas is constant, the heat transfer coefficient first increases substantially with the increase of temperature, then the increase slows down and reaches the maximum value, and finally slowly decreases to a certain value. Each flow velocity has the best temperature to make the heat transfer coefficient reach the maximum value.

6. Conclusions

In this paper, the factors affecting the heat transfer coefficient of Marine exhaust gas boilers are analyzed. The inlet temperature and flow velocity of the exhaust gas boilers are taken as the main variable parameters, and the mathematical model and Matlab/Simulink simulation model of the exhaust gas boiler based on an Aalborg OC-type boiler are established. Through the analysis of the simulation results, the main conclusions are as follows:
(1) The heat transfer coefficient is affected by both inlet temperature and flow velocity of exhaust gas, and both have strong effects. The heat transfer coefficient increases with the flow velocity of the exhaust gas inlet. When the flow velocity increases from 15 m/s to 25 m/s, the heat transfer coefficient corresponding to different temperatures increases by about 20–30 W/(m2·K). With the increase in temperature, the heat transfer coefficient first increases and then slowly decreases. There is an optimal temperature to make the heat transfer coefficient reach the maximum value. The span from the minimum to the maximum value of the heat transfer coefficient is about 10~15 W/(m2·K).
(2) The relationship between boiler evaporation capacity and exhaust gas inlet temperature and flow rate is approximately a first-order function. Compared with the influence of flow rate, the influence of exhaust gas temperature on evaporation capacity is greater. The simulation accuracy of the model for evaporation capacity is high, and the relative error is less than 5%.
(3) For the Aalborg OC boiler, the results show that when the exhaust gas flow velocity is 15 m/s, 17.2 m/s, 22.4 m/s and 25 m/s, respectively, the heat transfer coefficient at each flow velocity increases first and then slowly decreases with the increase of temperature, and there is an optimal temperature at each velocity, which is 230 °C, 227 °C, 225 °C and 224 °C, respectively.

Author Contributions

Conceptualization, D.J. and Z.L.; methodology, H.Y., Z.W. and Z.L.; software, A.G.; validation, A.G., G.K. and Z.W.; formal analysis, Z.L., G.K. and H.Y.; investigation, D.J.; resources, G.K.; data curation, Z.L.; writing—original draft preparation, Z.L., A.G. and D.J.; writing—review and editing, G.K.; visualization, Z.W.; supervision, H.Y., A.G. and D.J.; project administration, G.K.; funding acquisition, A.G., D.J. and G.K. All authors have read and agreed to the published version of the manuscript.

Funding

The research leading to these results has received funding from the Norwegian Financial Mechanism 2014–2021 under Project Contract No 2020/37/K/ST8/02748.

Institutional Review Board Statement

Not applicable.

Informed Consent Statement

Not applicable.

Data Availability Statement

Not applicable.

Acknowledgments

Authors would like to express sincere thanks to the reviewers.

Conflicts of Interest

The authors declare no conflict of interest.

References

  1. Zhao, Y. Analysis of the method of improving the thermal efficiency of marine auxiliary boiler. Sci. Technol. Innov. 2015, 13, 144–146. [Google Scholar]
  2. Jha, S.K. Emerging technologies: Impact on shipbuilding. Marit. Aff. J. Natl. Marit. Found. India 2016, 12, 78–88. [Google Scholar] [CrossRef]
  3. Wang, Y.; Cao, Q.; Liu, L.; Wu, Y.; Liu, H.; Gu, Z.; Zhu, C. A review of low and zero carbon fuel technologies: Achieving ship carbon reduction targets. Sustain. Energy Technol. Assess. 2022, 54, 102762. [Google Scholar] [CrossRef]
  4. Dig, V.; Eilif, P. A review of waste heat recovery technologies for maritime applications. Energy Convers. Manag. 2016, 111, 315–328. [Google Scholar]
  5. Men, Y.; Liu, X.; Zhang, T. Performance research and application of the vapor pump boiler equipped with flue gas recirculation system. Energy Convers. Manag. 2022, 254, 115201. [Google Scholar] [CrossRef]
  6. Jorn, H.; Stefan, S.; Heinz, P. 3D modeling framework and investigation of pollutant formation in a condensing gas boiler. Fuel 2021, 300, 120916. [Google Scholar]
  7. Alex, O.; Yang, J.; Jose, S. Numerical and Experimental Study on the Impact of Mild Cold EGR on Exhaust Emissions in a Biodiesel Fueled Diesel Engine. J. Eng. Gas Turbines Power 2021, 143, 135–142. [Google Scholar]
  8. Lim, T.; Choi, Y.; Hwang, D. Optimal working fluids and economic estimation for both double stage organic Rankine cycle and added double stage organic Rankine cycle used for waste heat recovery from liquefied natural gas fueled ships. Energy Convers. Manag. 2021, 242, 114323. [Google Scholar] [CrossRef]
  9. McCaffery, C.; Zhu, H.; Karavalakis, G.; Durbin, T.; Miller, J.; Johnson, K. Sources of air pollutants from a Tier 2 ocean-going container vessel: Main engine, auxiliary engine, and auxiliary boiler. Atmos. Environ. 2021, 245, 118023. [Google Scholar] [CrossRef]
  10. Qian, Z. Thoughts on energy saving and emission reduction of marine auxiliary boiler. Intern. Combust. Engine Parts 2021, 19, 92–93. [Google Scholar]
  11. Xie, Z.; Feng, H.; Chen, L. Constructal design for supercharged boiler evaporator. Int. J. Heat Mass Transf. 2019, 138, 571–579. [Google Scholar] [CrossRef]
  12. Feng, H.; Chen, L.; Xie, Z. Multi-objective constructal design for a marine boiler considering entropy generation rate and power consumption. Energy Rep. 2022, 8, 1519–1527. [Google Scholar] [CrossRef]
  13. Zhinov, A.; Shevelev, D.; Karyshev, K. The numerical research of the gas flow in the exhaust duct of the gas turbine with a waste heat boiler. Ain Shams Eng. J. 2018, 9, 1325–1334. [Google Scholar] [CrossRef]
  14. Zhou, H.; Liu, T.; Cheng, F. Heat transfer and pressure drop performance evaluation of twisted and bent fins when steam flows through the tubes. Int. J. Heat Mass Transf. 2022, 184, 122333. [Google Scholar] [CrossRef]
  15. Zhang, W.; Zeng, Z.; Hou, S.; Zheng, W. Design of waste heat boiler of ultra-low exhaust temperature for marine diesel engine. Ship Eng. 2017, 39, 25–29. [Google Scholar]
  16. Lion, S.; Vlaskos, I.; Taccani, R. A review of emissions reduction technologies for low and medium speed marine Diesel engines and their potential for waste heat recovery. Energy Convers. Manag. 2020, 207, 112553. [Google Scholar] [CrossRef]
  17. Faraj, A.; Faraj, J.; Harika, E.; Hachem, F.; Khaled, M. Development of a new method for estimating the overall heat transfer coefficient of heat exchangers–Validation in automotive applications. Case Stud. Therm. Eng. 2021, 28, 101434. [Google Scholar] [CrossRef]
  18. Somjun, J.; Chinsuwan, A. Heat transfer on wedged membrane fin water wall tubes of CFB boilers. Energy Procedia 2017, 138, 56–62. [Google Scholar] [CrossRef]
  19. Zhang, W.; Wang, S.; Mu, L.; Jamshidnia, H.; Zhao, X. Investigation of the forced-convection heat-transfer in the boiler flue-gas heat recovery units employing the real-time measured database. Energy 2022, 238, 121715. [Google Scholar] [CrossRef]
  20. Qin, N.; Li, R.J. Online simplified model and experimental comparison of CFB boiler thermal efficiency. Appl. Therm. Eng. 2020, 171, 115021. [Google Scholar] [CrossRef]
  21. Wang, J.; Fan, H.; Shi, J.; Sun, G.; Wu, J.; Yang, H. Research on application of fluidized bed heat exchanger in wast heat boiler on marine. Ship Sci. Technol. 2021, 43, 52–57. [Google Scholar]
  22. Fan, S. The Study on Thermodynamic Properties and the Analysis of Tube Rupture in the Superheater of Supercharged Boiler. Master’s Thesis, Harbin Engineering University, Harbin, China, 2013. [Google Scholar]
  23. Yuan, Q. Modeling and Optimization of Waste Heat Recovery System for Large Container Ship Diesel Engine. Master’s Thesis, Wuhan University of Technology, Wuhan, China, 2020. [Google Scholar]
  24. Guo, L. Study on the Modeling and Simulation of Large Oil Tankers Auxiliary Boiler System. Master’s Thesis, Dalian Maritime University, Dalian, China, 2013. [Google Scholar]
  25. Lv, B. Modeling of Marine Independent Exhaust Gas Boiler and Control Simulation Research. Master’s Thesis, Dalian Maritime University, Dalian, China, 2019. [Google Scholar]
  26. Longo, G.; Mancin, S.; Righetti, G.; Zilio, C. Local heat transfer coefficients of R32 and R410A boiling inside a brazed plate heat exchanger (BPHE). Appl. Therm. Eng. 2022, 215, 118930. [Google Scholar] [CrossRef]
  27. Ebadian, M.; Lin, C. A review of high-heat-flux heat removal technologies. J. Heat Transf. 2011, 133, 110801. [Google Scholar] [CrossRef]
  28. Bø, T.; Johansen, T.; Dahl, A.; Miyazaki, M.; Pedersen, E.; Rokseth, B.; Mathiesen, E. Real-time marine vessel and power plant simulation. In Proceedings of the International Conference on Offshore Mechanics and Arctic Engineering, St. John’s, NL, Canada, 31 May–5 June 2015; American Society of Mechanical Engineers: New York, NY, USA, 2015; Volume 56475, p. V001T01A007. [Google Scholar]
Figure 1. Basic structure of Aalborg OC boiler combined boiler.
Figure 1. Basic structure of Aalborg OC boiler combined boiler.
Sustainability 15 00753 g001
Figure 2. Model partitioning diagram.
Figure 2. Model partitioning diagram.
Sustainability 15 00753 g002
Figure 3. Simulink simulation model of smoke pipe heat transfer zone.
Figure 3. Simulink simulation model of smoke pipe heat transfer zone.
Sustainability 15 00753 g003
Figure 4. Simulink simulation model of steam and water zone.
Figure 4. Simulink simulation model of steam and water zone.
Sustainability 15 00753 g004
Figure 5. Integral model of exhaust gas boiler.
Figure 5. Integral model of exhaust gas boiler.
Sustainability 15 00753 g005
Figure 6. Relationship between (a) heat transfer coefficient and inlet temperature and (b) heat transfer coefficient and velocity of exhaust gas.
Figure 6. Relationship between (a) heat transfer coefficient and inlet temperature and (b) heat transfer coefficient and velocity of exhaust gas.
Sustainability 15 00753 g006
Figure 7. Relationship between (a) water side heat transfer coefficient and exhaust inlet temperature and (b) water side heat transfer coefficient and flow velocity.
Figure 7. Relationship between (a) water side heat transfer coefficient and exhaust inlet temperature and (b) water side heat transfer coefficient and flow velocity.
Sustainability 15 00753 g007
Figure 8. Relation curve between heat transfer efficiency and inlet velocity.
Figure 8. Relation curve between heat transfer efficiency and inlet velocity.
Sustainability 15 00753 g008
Figure 9. Relation curve between heat transfer efficiency and inlet temperature.
Figure 9. Relation curve between heat transfer efficiency and inlet temperature.
Sustainability 15 00753 g009
Figure 10. Evaporation capacity simulation result.
Figure 10. Evaporation capacity simulation result.
Sustainability 15 00753 g010
Figure 11. Simulation results of evaporation.
Figure 11. Simulation results of evaporation.
Sustainability 15 00753 g011
Figure 12. Simulation results of the relationship between (a) heat transfer coefficient and exhaust inlet temperature and (b) heat transfer coefficient and flow rate.
Figure 12. Simulation results of the relationship between (a) heat transfer coefficient and exhaust inlet temperature and (b) heat transfer coefficient and flow rate.
Sustainability 15 00753 g012
Table 1. Parameters of Aalborg OC boiler.
Table 1. Parameters of Aalborg OC boiler.
Designed steam pressure0.7 MPaExhaust heat transfer zone525   m 2
Working steam pressure0.5 MPaDesigned exhaust gas flow99,845 kg/h
Designed feed water temperature60 °CDesigned exhaust gas temperature193 °C
Maximum evaporation capacity3215 kg/hSmoke pipe diameter/thickness45/1.5 (mm)
Designed evaporation capacity900 kg/hSmoke Pipe length4.06 m
Table 2. Range of temperature, flow velocity, R e f and P r f of boiler exhaust gas inlet.
Table 2. Range of temperature, flow velocity, R e f and P r f of boiler exhaust gas inlet.
Boiler inlet temperature range175~280 °C
Reynolds   number   R e f
24,440~56,200
Boiler inlet flow velocity range15~25 m/s
Prandtl   number   P r f
0.7338~0.7358
Table 3. Comparison of simulation results and design parameters.
Table 3. Comparison of simulation results and design parameters.
ParameterDesign Evaporation Capacity ConditionsMaximum Evaporation Capacity Condition
Design temperature (°C)193265
Designed exhaust gas flow (kg/h)99,845114,765
Evaporation capacity (kg/h)900 (0.5 MPa)3215 (0.5 MPa)
Simulation results of evaporation capacity (kg/h)918.63084
Relative error (%)2.074.25
Disclaimer/Publisher’s Note: The statements, opinions and data contained in all publications are solely those of the individual author(s) and contributor(s) and not of MDPI and/or the editor(s). MDPI and/or the editor(s) disclaim responsibility for any injury to people or property resulting from any ideas, methods, instructions or products referred to in the content.

Share and Cite

MDPI and ACS Style

Jiang, D.; Yu, H.; Wang, Z.; Glowacz, A.; Królczyk, G.; Li, Z. Influence of Exhaust Temperature and Flow Velocity of Marine Diesel Engines on Exhaust Gas Boiler Heat Transfer Performance. Sustainability 2023, 15, 753. https://doi.org/10.3390/su15010753

AMA Style

Jiang D, Yu H, Wang Z, Glowacz A, Królczyk G, Li Z. Influence of Exhaust Temperature and Flow Velocity of Marine Diesel Engines on Exhaust Gas Boiler Heat Transfer Performance. Sustainability. 2023; 15(1):753. https://doi.org/10.3390/su15010753

Chicago/Turabian Style

Jiang, Dezhi, Haoxian Yu, Zhihan Wang, Adam Glowacz, Grzegorz Królczyk, and Zhixiong Li. 2023. "Influence of Exhaust Temperature and Flow Velocity of Marine Diesel Engines on Exhaust Gas Boiler Heat Transfer Performance" Sustainability 15, no. 1: 753. https://doi.org/10.3390/su15010753

APA Style

Jiang, D., Yu, H., Wang, Z., Glowacz, A., Królczyk, G., & Li, Z. (2023). Influence of Exhaust Temperature and Flow Velocity of Marine Diesel Engines on Exhaust Gas Boiler Heat Transfer Performance. Sustainability, 15(1), 753. https://doi.org/10.3390/su15010753

Note that from the first issue of 2016, this journal uses article numbers instead of page numbers. See further details here.

Article Metrics

Back to TopTop