Effect of Saturation Degree on Mechanical Behaviors of Shallow Unsaturated Expansive Soils
Abstract
1. Introduction
2. Materials and Methods
2.1. Materials
2.1.1. Testing Soils
2.1.2. Preparation of Specimens
2.2. Test Methods
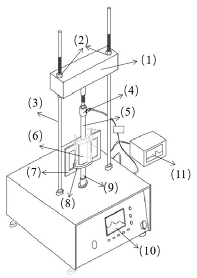
2.2.1. Uniaxial Tensile and Unconfined Compression Tests
2.2.2. Direct Shear Test
3. Test Results
3.1. Effect of Saturation Degree on Uniaxial Tensile Strength of Specimens
3.2. Effect of Saturation Degree on Unconfined Compressive Strength of Specimens
3.3. Effect of Saturation Degree on Shear Strength of Specimens
4. Mechanism Analysis
4.1. Mechanistic Analysis of Changes in Uniaxial Tensile Strength of Specimens
4.2. Mechanistic Analysis of Changes in Unconfined Compressive Strength of Specimens
4.3. Mechanistic Analysis of Changes in Shear Strength of Specimens
5. Conclusions
- (1)
- The uniaxial tensile strength, unconfined compressive strength, cohesive force, and internal friction angle of the expansive soils first increased and then decreased with the increase in saturation degree.
- (2)
- When the saturation degree increased from 18.7% to 57.1%, the uniaxial tensile strength increased by about 11 times. When the saturation degree increased from 57.1% to 80.3%, it decreased by about 42%.
- (3)
- The saturation degrees from 18.7% to 50%, the unconfined compressive strength, cohesive force, and internal friction angle increased by about 3.24 times, 2.34 times, and 0.52 times, respectively. The saturation degrees from 50% to 80.3% decreased by about 51.4%, 36%, and 50%, respectively.
- (4)
- The change in hydrophilic mineral composition and pore structure is one of the important reasons for the mechanical behavior change in expansive soils.
Author Contributions
Funding
Institutional Review Board Statement
Informed Consent Statement
Data Availability Statement
Conflicts of Interest
References
- Gullà, G.; Mandaglio, M.C.; Moraci, N. Effect of weathering on the compressibility and shear strength of a natural clay. Can. Geotech. J. 2006, 43, 618–625. [Google Scholar] [CrossRef]
- Zhao, Y. Transient stability analysis method and sensitivity study of unsaturated soil slopes under consideration of rainfall conditions. Arab. J. Geosci. 2021, 14, 1179. [Google Scholar] [CrossRef]
- Xu, W.H.; Kang, Y.F.; Chen, L.C.; Wang, L.Q.; Qin, C.B.; Zhang, L.T.; Liang, D.; Wu, C.Z.; Zhang, W.G. Dynamic assessment of slope stability based on multi-source monitoring data and ensemble learning approaches: A case study of Jiuxianping landslide. Geol. J. 2022, 1–19. [Google Scholar] [CrossRef]
- Hou, T.S.; Xu, G.L.; Shen, Y.J.; Wu, Z.Z.; Zhang, N.N.; Wang, R. Formation mechanism and stability analysis of the Houba expansive soil landslide. Eng. Geol. 2013, 161, 34–43. [Google Scholar] [CrossRef]
- Zhang, J.R.; Niu, G.; Li, X.C.; Sun, D.A. Hydro-mechanical behavior of expansive soils with different dry densities over a wide suction range. Acta Geotech. 2020, 15, 265–278. [Google Scholar] [CrossRef]
- Xiao, J.; Yang, H.P.; Zhang, J.H.; Tang, X.Y. Properties of Drained Shear Strength of Expansive Soil Considering Low Stresses and Its Influencing Factors. Int. J. Civ. Eng. 2018, 16, 1389–1398. [Google Scholar] [CrossRef]
- Cokca, E.; Erol, O.; Armangil, F. Effects of compaction moisture content on the shear strength of an unsaturated clay. Geotech. Geol. Eng. 2004, 22, 285–297. [Google Scholar] [CrossRef]
- Vanapalli, S.K.; Fredlund, D.G.; Pufahl, D.E.; Clifton, A.W. Model for the prediction of shear strength with respect to soil suction. Can. Geotech. J. 1996, 33, 379–392. [Google Scholar] [CrossRef]
- Çokça, E.; Tilgen, H.P. Shear strength-suction relationship of compacted Ankara clay. Appl. Clay Sci. 2010, 49, 400–404. [Google Scholar] [CrossRef]
- Abeykoon, T.; Trofimovs, J. Shear strength of unsaturated expansive soils from queensland natural slopes. Int. J. GEOMATE 2021, 20, 53–60. [Google Scholar] [CrossRef]
- Liu, K.; Ye, W.J.; Jing, H.J. Shear strength and damage characteristics of compacted expansive soil subjected to wet–dry cycles: A multi-scale study. Arab. J. Geosci. 2021, 14, 2866. [Google Scholar] [CrossRef]
- Duan, M.; Jiang, C.B.; Yin, W.M.; Yang, K.; Li, J.Z.; Liu, Q.J. Experimental study on mechanical and damage characteristics of coalunder true triaxial cyclic disturbance. Eng. Geol. 2021, 295, 106445. [Google Scholar] [CrossRef]
- Miao, L.C.; Liu, S.Y.; Lai, Y.M. Research of soil-water characteristics and shear strength features of Nanyang expansive soil. Eng. Geol. 2002, 65, 261–267. [Google Scholar] [CrossRef]
- Yavari, N.; Tang, A.M.; Pereira, J.M.; Hassen, G. Effect of temperature on the shear strength of soils and the soil-structure interface. Can. Geotech. J. 2016, 53, 1186–1194. [Google Scholar] [CrossRef]
- Tang, L.; Cong, S.Y.; Geng, L.; Liang, X.Z.; Gan, F. The effect of freeze-thaw cycling on the mechanical properties of expansive soils. Cold Reg. Sci. Technol. 2018, 145, 197–207. [Google Scholar] [CrossRef]
- Elkady, T.Y.; Al-Mahbashi, A.M. Effect of solute concentration on the volume change and shear strength of compacted natural expansive clay. Environ. Earth Sci. 2017, 76, 483. [Google Scholar] [CrossRef]
- Hajjat, J.; Al-Jeznawi, D.; Sánchez, M.; Avila, G. Effects of Drying and Soil-Base Interface on the Behavior of an Expansive Soil Mixture. Geotech. Geol. Eng. 2020, 38, 4637–4649. [Google Scholar] [CrossRef]
- Liu, Y.B.; Lebedev, M.; Zhang, Y.H.; Wang, E.Y.; Li, W.P.; Liang, J.B.; Feng, R.H.; Ma, R.P. Micro-Cleat and Permeability Evolution of Anisotropic Coal During Directional CO2 Flooding: An In Situ Micro-CT Study. Nat. Resour. Res. 2022, 31, 2805–2818. [Google Scholar] [CrossRef]
- Huang, Z.; Wei, B.X.; Zhang, L.J.; Chen, W.; Peng, Z.M. Surface Crack Development Rules and Shear Strength of Compacted Expansive Soil Due to Dry-Wet Cycles. Geotech. Geol. Eng. 2019, 37, 2647–2657. [Google Scholar] [CrossRef]
- Zhai, Q.; Rahardjo, H.; Satyanaga, A.; Dai, G.L. Estimation of unsaturated shear strength from soil-water characteristic curve. Acta Geotech. 2019, 14, 1977–19904. [Google Scholar] [CrossRef]
- Zhai, Q.; Dai, G.L.; Zhao, X.L. Effect of soil-water characteristic curve on shear strength of unsaturated sandy soils. Chin. J. Geotech. Eng. 2020, 42, 1341–1349. (In Chinese) [Google Scholar] [CrossRef]
- Phanikumar, B.R.; Raju, E.R. Compaction and strength characteristics of an expansive clay stabilised with lime sludge and cement. Soils Found. 2020, 60, 129–138. [Google Scholar] [CrossRef]
- Chenarboni, H.A.; Lajevardi, S.H.; MolaAbasi, H.; Zeighami, E. The effect of zeolite and cement stabilization on the mechanical behavior of expansive soils. Constr. Build. Mater. 2021, 272, 121630. [Google Scholar] [CrossRef]
- Jain, A.K.; Jha, A.K.; Shivanshi. Geotechnical behaviour and micro-analyses of expansive soil amended with marble dust. Soils Found. 2020, 60, 737–751. [Google Scholar] [CrossRef]
- Singh, P.; Dash, H.K.; Samantaray, S. Effect of silica fume on engineering properties of expansive soil. Mater. Today Proc. 2020, 33, 5035–5040. [Google Scholar] [CrossRef]
- Kang, Y.F.; Fan, J.Y.; Jiang, D.Y.; Li, Z.Z. Influence of Geological and Environmental Factors on the Reconsolidation Behavior of Fine Granular Salt. Nat. Resour. Res. 2021, 30, 805–826. [Google Scholar] [CrossRef]
- Ding, L.Q.; Vanapalli, S.K.; Zou, W.L.; Han, Z.; Wang, X.Q. Freeze-thaw and wetting-drying effects on the hydromechanical behavior of a stabilized expansive soil. Constr. Build. Mater. 2021, 275, 122162. [Google Scholar] [CrossRef]
- Kushwaha, S.S.; Kishan, D.; Dindorkar, N. Stabilization of expansive soil using eko soil enzyme for Highway Embankment. Mater. Today Proc. 2018, 5, 19667–19679. [Google Scholar] [CrossRef]
- Divya, V.; Asha, M.N. Performance Evaluation of Bio-Stabilized Soils in Pavements. Recent Trends Civ. Eng. 2021, 77, 523–529. [Google Scholar] [CrossRef]
- Agarwal, P.; Kaur, S. Effect of Bio-enzyme stabilization on unconfined compressive strength of expansive soil. Int. J. Res. Eng. Technol. 2014, 3, 30–33. [Google Scholar]
- Patel, U.; Singh, S.; Chaudhari, S. Effect of Bio-enzyme TerraZyme on Compaction, Consistency Limits and Strength Characteristics of Expansive Soil. Int. Res. J. Eng. Technol. 2015, 5, 1602–1605. [Google Scholar]
- Soltani, A.; Deng, A.; Taheri, A.; Mirzababaei, M. A sulphonated oil for stabilisation of expansive soils. Int. J. Pavement Eng. 2019, 20, 1285–1298. [Google Scholar] [CrossRef]
- Liu, Q.B.; Xiang, W.; Zhang, W.F.; Cui, D.S. Experimental study on the modification of swelling soil by ionic soil curing agent. Rock Soil Mech. 2009, 30, 2286–2290. (In Chinese) [Google Scholar] [CrossRef]
- Rabab’ah, S.; Ai Hattamleh, O.; Aldeeky, H.; Alfoul, B.A. Effect of glass fiber on the properties of expansive soil and its utilization as subgrade reinforcement in pavement applications. Case Stud. Constr. Mater. 2021, 14, e00485. [Google Scholar] [CrossRef]
- Hasan, H.; Dang, L.; Khabbaz, H.; Fatahi, B.; Terzaghi, S. Remediation of Expansive Soils Using Agricultural Waste Bagasse Ash. Procedia Eng. 2016, 143, 1368–1375. [Google Scholar] [CrossRef]
- Soğancı, A.S. The Effect of Polypropylene Fiber in the Stabilization of Expansive Soils. Int. J. Geol. Environ. Eng. 2015, 104, 994–997. [Google Scholar] [CrossRef]
- Bekhiti, M.; Trouzine, H.; Rabehi, M. Influence of waste tire rubber fibers on swelling behavior, unconfined compressive strength and ductility of cement stabilized bentonite clay soil. Constr. Build. Mater. 2019, 208, 304–314. [Google Scholar] [CrossRef]
- Nitin, T.; Neelima, S.; Anand, J.P. Strength and durability assessment of expansive soil stabilized with recycled ash and natural fibers. Transp. Geotech. 2021, 29, 100556. [Google Scholar] [CrossRef]
- Arvind, K.; Baljit, S.W.; Asheet, B. Influence of Fly Ash, Lime, and Polyester Fibers on Compaction and Strength Properties of Expansive Soil. J. Mater. Civ. Eng. 2007, 19, 242–248. [Google Scholar] [CrossRef]
- Nitin, T.; Neelima, S.; Meghna, S. Micro-mechanical performance evaluation of expansive soil biotreated with indigenous bacteria using MICP method. Sci. Rep. 2021, 11, 10324. [Google Scholar] [CrossRef]
- Sun, D.A.; Matsuoka, H.; Xu, Y.F. Collapse Behavior of Compacted Clays in Suction-Controlled Triaxial Tests. Geotech. Test. J. 2004, 27, 362–370. [Google Scholar] [CrossRef]
- Sun, D.A.; Matsuoka, H.; Cui, H.B.; Xu, Y.F. Three-dimensional elasto-plastic model for unsaturated compacted soils with different initial densities. Int. J. Numer. Anal. Methods Geomech. 2003, 27, 1079–1098. [Google Scholar] [CrossRef]
- Sun, D.A.; Sheng, D.C.; Cui, H.B.; Sloan, S.W. A density-dependent elastoplastic hydro-mechanical model for unsaturated compacted soils. Int. J. Numer. Anal. Methods Geomech. 2007, 31, 1257–1279. [Google Scholar] [CrossRef]
- Zhai, Q.; Rahardjo, H.; Satyanaga, A.; Dai, G.L. Estimation of tensile strength of sandy soil from soil–water characteristic curve. Acta Geotech. 2020, 15, 3371–3381. [Google Scholar] [CrossRef]
- Wang, X.; Cui, J.; Wu, Y.; Zhu, C.Q.; Wang, X.Z. Mechanical properties of calcareous silts in a hydraulic fill island-reef. Mar. Georesources Geotechnol. 2020, 39, 1–14. [Google Scholar] [CrossRef]
- Zhai, Q.; Rahardjo, H.; Satyanaga, A.; Dai, G.L.; Zhuang, Y. Framework to estimate the soil-water characteristic curve for soils with different void ratios. Bull. Eng. Geol. Environ. 2020, 79, 4399–4409. [Google Scholar] [CrossRef]
- Wu, Y.; Wang, X.; Shen, J.H.; Cui, J.; Zhu, C.Q.; Wang, X.Z. Experimental Study on the Impact of Water Content on the Strength Parameters of Coral Gravelly Sand. J. Mar. Sci. Eng. 2020, 8, 634. [Google Scholar] [CrossRef]
- Wu, Y.; Cui, J.; Li, N.; Wang, X.; Wu, Y.H.; Guo, S.Y. Experimental study on the mechanical behavior and particle breakage characteristics of hydraulic filled coral sand on a coral reef island in the South China Sea. Rock Soil Mech. 2020, 41, 3181. [Google Scholar] [CrossRef]
- Hassanizadeh, S.M.; Celia, M.A.; Dahle, H.K. Dynamic effect in the capillary pressure–saturation relationship and its impacts on unsaturated flow. Vadose Zone J. 2002, 1, 38–57. [Google Scholar] [CrossRef]
- Li, J.; Wu, X.Y.; Hou, L. Physical, Mineralogical, and Micromorphological Properities of Expansive Soil Treated at Different Temperature. J. Nanomater. 2014, 2014. [Google Scholar] [CrossRef]
- Yu, X.P.; Xiao, H.B.; Li, Z.Y.; Qian, J.F.; Luo, S.P.; Su, H. Experimental Study on Microstructure of Unsaturated Expansive Soil Improved by MICP Method. Appl. Sci. 2022, 12, 2076–3417. [Google Scholar] [CrossRef]
- Chang, J.; Yang, H.P.; Xiao, J.; Xu, Y.F. Soil-water chemical tests and action mechanism of acid rain infiltration into expansive soil. Chin. J. Geotech. Eng. 2022, 44, 1483–1492. (In Chinese) [Google Scholar] [CrossRef]
- Li, Y.Z.; Wang, S.M.; Zou, J.W.; Wang, H.; Li, H.; Wu, N. Correlation Research between Shear Strength and Moisture Content of Swelling Mudstone. Sci. Technol. Eng. 2021, 21, 2857–2864. (In Chinese) [Google Scholar]
- Wei, J.; Shi, B.L.; Li, J.L.; Li, S.S.; He, X.B. Shear strength of purple soil bunds under different soil water contents and dry densities: A case study in the Three Gorges Reservoir Area, China. CATENA 2018, 166, 124–133. [Google Scholar] [CrossRef]
- Dai, Z.J.; Chen, S.X.; Li, J. Physical model test of seepage and deformation characteristics of shallow expansive soil slope. Bull. Eng. Geol. Environ. 2020, 79, 4063–4078. [Google Scholar] [CrossRef]



















| Specific Gravity | Liquid Limit /% | Plastic Limit /% | Plasticity Index | Free Expansion Rate /% |
|---|---|---|---|---|
| 2.80 | 59.11 | 24.68 | 34.43 | 42.8 |
Publisher’s Note: MDPI stays neutral with regard to jurisdictional claims in published maps and institutional affiliations. |
© 2022 by the authors. Licensee MDPI, Basel, Switzerland. This article is an open access article distributed under the terms and conditions of the Creative Commons Attribution (CC BY) license (https://creativecommons.org/licenses/by/4.0/).
Share and Cite
Li, J.; Xu, H.; Chen, L.; Li, B.; Liang, D.; Ren, S.; Zhang, S.; Wang, J. Effect of Saturation Degree on Mechanical Behaviors of Shallow Unsaturated Expansive Soils. Sustainability 2022, 14, 14617. https://doi.org/10.3390/su142114617
Li J, Xu H, Chen L, Li B, Liang D, Ren S, Zhang S, Wang J. Effect of Saturation Degree on Mechanical Behaviors of Shallow Unsaturated Expansive Soils. Sustainability. 2022; 14(21):14617. https://doi.org/10.3390/su142114617
Chicago/Turabian StyleLi, Jinpeng, Hong Xu, Lichuan Chen, Boyi Li, Dan Liang, Shicong Ren, Shilei Zhang, and Jun Wang. 2022. "Effect of Saturation Degree on Mechanical Behaviors of Shallow Unsaturated Expansive Soils" Sustainability 14, no. 21: 14617. https://doi.org/10.3390/su142114617
APA StyleLi, J., Xu, H., Chen, L., Li, B., Liang, D., Ren, S., Zhang, S., & Wang, J. (2022). Effect of Saturation Degree on Mechanical Behaviors of Shallow Unsaturated Expansive Soils. Sustainability, 14(21), 14617. https://doi.org/10.3390/su142114617
