Next Article in Journal
Collective or Individual? What Types of Tourism Reduce Economic Inequality in Peripheral Regions?
Next Article in Special Issue
Optimal Installation Location of Escape Route Signs at T-Type Intersections
Previous Article in Journal
Carbon Price Forecasting Based on Improved CEEMDAN and Extreme Learning Machine Optimized by Sparrow Search Algorithm
Previous Article in Special Issue
Weighting the Attributes of Human-Related Activities for Fire Safety Measures in Historic Villages
 
 
Font Type:
Arial Georgia Verdana
Font Size:
Aa Aa Aa
Line Spacing:
Column Width:
Background:
Article

Simulation of Indoor Fire Dynamics of Residential Buildings with Full-Scale Fire Test

1
Fire Protection Technology Center, Korea Conformity Laboratories, Samcheok 25913, Korea
2
Department of Fire Safety, Kyungil University, Gyeongsan 38428, Korea
3
Department of Architectural Engineering, Kangwon National University, Samcheok 25913, Korea
*
Authors to whom correspondence should be addressed.
Sustainability 2021, 13(9), 4897; https://doi.org/10.3390/su13094897
Submission received: 17 March 2021 / Revised: 24 April 2021 / Accepted: 25 April 2021 / Published: 27 April 2021

Abstract

:
Along with simulated firefighting training, the development of virtual training systems and associated content has recently drawn attention as an alternative method for advanced firefighting training. In particular, to develop virtual training content, it is important to understand the combustion characteristics of indoor combustible materials and appropriately simulate their behavior. In this study, seven types of building fires were selected. From these types, indoor combustible materials of residential buildings were analyzed, and combustion tests were performed for each of three types of combustible materials. Furthermore, three types of indoor spaces, determined according to the combination of indoor combustible materials they contained, were divided into full-scale compartments, and a full-scale fire test was performed using this setup. Finally, the heat release rate and smoke production release of individual combustible materials and the room test were measured over time, and a fire dynamics simulation (FDS) was performed. As a result, it was confirmed that an effective evaluation of the occurrence and spread of fire indoors in buildings is possible through full-scale fire tests and FDS simulations. It is expected that simulation can be used as firefighting training content in the future by applying indoor combustible data and implementing complex and various fire development conditions.

1. Introduction

In the process of urbanization, the height and overall size of buildings are increasing due to overpopulation and efficient use of land in cities. At the same time, emphasis is placed on the functional aspects of buildings, and demand for versatility, durability, convenience of maintenance, and earthquake resistance in structures is increasing, leading to more stringent management and regulation of these aspects. In addition to these various changes and improvements in the construction of buildings, fire safety is a critical performance requirement. Because fires occurring in modern buildings can become large-scale, complex disasters, it is difficult to predict the spread of potential fires. Furthermore, it is difficult to determine the scope of damage after a fire has been suppressed, and given the likely extensive scale of damage, taking the appropriate after-measures and restoration work is challenging. Therefore, there has been an increasing focus on ensuring fire safety and reducing damage in modern buildings with high potential risks as described above, using representative means such as fire-resistant design, firefighting equipment, evacuation plans, and fire suppression [1,2].
In terms of fire suppression, reducing the damage caused by fires in different types of buildings is completely dependent on social infrastructure for fire response and firefighting capabilities. However, general countermeasures against fire prepared by individuals, groups, organizations, and the government, as well as initial response measures, face significant challenges in terms of responses to complex or new types of fires. This is because of the difficulties arising from the variety of buildings and the limitations of reproducing fire events. For example, there are practical limitations in reproducing full-scale fires to conduct fire response training in large-scale firefighting targets such as high-rise buildings, multi-use facilities, and underground stations. In addition, high training costs are required for this type of real-life training and there are other practical limitations, such as the number of training scenarios that can be performed and the development of relevant programs.
In this regard, it is necessary to develop a new concept for firefighting training systems capable of reproducing various types of real fires with relatively low training costs and high reproducibility. These systems include virtual reality (e.g., VR, AR, MR) training content to overcome temporal, spatial, and cost constraints. The main training content is outlined in Table 1. Virtual reality training has the advantages of preventing direct exposure to hazards when the actual situation is highly dangerous, suitability for the artificial reproduction of the fire event, and enabling repeated training for various scenarios at a low cost. In particular, firefighting education and training content for firefighters has been developed with a focus on training information and motivation, but the ability to reproduce a realistic fire situation remains relatively basic. In addition, the existing content has not created with sufficient data to simulate a wide range of fire situations such as building type, fire cause, and fire characteristics (heat release, smoke production, and spread) for firefighting training. Therefore, there have been limitations in the ability of virtual firefighting training to test capabilities for making decisions in fire situations and taking appropriate countermeasures according to scenario and setting [3,4,5,6].
Heat release rate (HRR) and smoke production release (SPR) are the key parameters used to analyze fire situations. These are important factors in estimating the extent and scale of a fire, and are considerably affected by the type of building where the fire occurred, indoor conditions, and combustible materials in the space. Therefore, to investigate indoor fire characteristics, it is necessary to obtain fire test data according to the combustible materials, setting, and layout of the target space. In addition, a simulation considering a fire situation based on the acquired data is also required. More specifically, a fire test for combustible materials and a full-scale fire test in a full-scale space containing combustible materials should be performed [7,8,9]. In this study, to better understand the quantitative indoor fire characteristics of residential buildings, a full-scale fire test and a combustible materials fire test were conducted under conditions similar to real fire situations. Based on these tests, we aim to analyze the fire characteristics of residential building types with the highest frequency of fire occurrence. Finally, the study aims to verify the possibility of applying the results obtained to fire suppression training with various fire scenarios in a fire dynamics simulation (FDS) [10,11].

2. Materials and Methods

2.1. Selection of Representative Combustible Materials

In order to investigate the fire characteristics of indoor spaces, we first need to classify the representative combustible materials and analyze combustion characteristics based on actual fire statistics. In this study, classification was performed considering the frequency of fire occurrence, human casualties, and fire damage based on the national fire data system of the National Fire Agency for a recent period of 10 years (2008–2017), in South Korea. Based on the statistical data, the frequency of fire, human damage, and fire damage were classified, as were 20 types of buildings. In addition, after analyzing the fire risk assessment, a questionnaire on fire risk by building type and major combustibles was conducted with 30 firefighters. Seven representative building types were identified for this classification. Among the building types, a questionnaire survey (duplicate responses allowed) was conducted on the types of buildings that were considered to have a high fire risk to determine the combustibles inside the building. The results of the classification of building types and combustible materials for residential buildings are outlined in Table 2 [12,13].
There are eight representative combustible materials for residential buildings and, for the classification of housing types, an on-site survey was conducted of 10 households living in an apartment with 66–115.4 m2 per household that takes up 59.6% of the apartment. Through a survey of apartment plan design, amount of combustible material, and arrangement of combustible materials in the space, it was found that these spaces included mattresses, electric pads, sofas, drawers, desks, chairs, and TVs. In this study, tests were performed with (1) desks and chairs, (2) mattresses and electric pads, and (3) sofas [14,15].

2.2. Representative Test Method with Combustible Materials

Fire tests for the representative combustible materials were performed using the furniture calorimeter test, using the test equipment specified in the ISO 9705 room corner test guidelines [16]. Room corner test equipment measures the heat release rate, smoke generation rate, oxygen consumption, carbon monoxide, and carbon dioxide generation of building materials to evaluate the fire propagation potential and safety, and it is equipment that can be used as a furniture calorimeter. The dimensions of the furniture calorimeter hood are 3 m × 3 m × 1 m (W × L × H), the inner diameter of the duct is 400 mm, and the length of the duct is 4.8 m. The fire product collected through the hood is removed through a filter to remove impurities, and then a sampling pump is operated to calculate the heat emission amount of the fire product from which the impurities have been removed by FTIR (gas analyzer). To ignite the representative combustible materials, a cotton ball soaked with 30 mL of heptane was used. In the case of furniture products such as chairs, sofas, and mattresses, the initial ignition was performed at joints where fires could easily develop. Table 3 shows the dimensions and materials of combustible items used in the test [17,18]. During the fire test, combustible materials were placed underneath the furniture calorimeter hood, the smoke produced by ignition was collected in the hood, and the SPR and HRR of the combustion products were measured. A conceptual diagram of the furniture calorimeter is shown in Figure 1.

2.3. Overview of Full-Scale Fire Test

In the full-scale fire test, three combinations of the representative combustible materials shown in Table 3 were selected. As shown in Figure 2, the test was conducted in a test room with dimensions of 3.6 m in length, 2.4 m in width, and 2.4 m in height (door size 2.0 m in height, 0.8 m in width). Semi-non-combustible board insulation (80 mm) and MDF plywood (12 mm) were used to build the interior finish of the test room similar to that of an apartment house. The installation area of the finishing material in the test room was 31.6 m2, and it was installed in all places except the front wall of the test room. Internal insulation was constructed inside the test room, and the space was finished with plywood as shown in Figure 2, resulting in construction identical to the internal wall of a residential building. The combustible materials were placed close to the wall inside the constructed space, and a cotton ball soaked with 30 mL of heptane was used to ignite the combustible materials. The test was planned to proceed until either the combustible materials fully burned out, or the heat release rate exceeded 1000 kW, which is the criterion for flashover [19,20].

2.4. Measurement of Heat Release Rate and Smoke Production Release

The HRR in a fire is proportional to the fire intensity, and it is an important parameter in calculating the scale of the fire [20]. To calculate the HRR, oxygen consumption was measured during the combustion of the materials, and the HRR was calculated in reverse. The calculation was based on the assumption that, during the combustion of the combustible materials, 13.1 MJ/kg of heat is released with reference to oxygen. To calculate the HRR of the furniture calorimeter using the oxygen consumption method described above, the following equation was used. In addition, by measuring the peak heat release rate, we aimed to analyze the instant heat generated per surface area unit of each combustible material [16].
q ˙ = E 1 V 298 x 0 2 a   Φ ˙   Φ α 1 + 1 E 1 E C 3 H 8 q ˙ b
where,
  • q ˙   = HRR (kW);
  • q b   = HRR of ignition source (kW);
  • E   = HRR per volume of oxygen (kJ/m3);
  • E 1   = 17.2 × 103 kJ/m3 (25 °C) in case of test specimen combustion;
  • E C 3 H 8 = 16.8 × 103 kJ/m3 (25 °C) in the case of propane gas combustion;
  • Φ   = Oxygen consumption coefficient, calculated as Equation (2), below:
    = x o 2 0 ( 1 x c o 2 x o 2 1 x c o 2 0 x o 2 0 1 x c o 2 x o 2
    • V ˙ 298   = Volumetric flow rate of exhaust duct gas calculated under the conditions of atmospheric pressure and 25 °C (m3/s);
    • α   = Expansion coefficient from the chemical reaction of oxygen-consumed air ( α   = 1.105 at combustion of test specimen);
    • x 0 2   a = Mole fraction of oxygen, including oxygen in the atmosphere, calculated as Equation (3), below:
      x 0 2 a = x o 2 0 1 x H 2 O a
      • x 0 2 0 = Initial mole fraction of oxygen analyzer;
      • x c o 2 0 = Initial mole fraction of carbon dioxide analyzer;
      • x c o 2 = Initial mole fraction of carbon dioxide analyzer during the test; and
      • x H 2 0 a = Mole fraction of vapor in the atmosphere.
The SPR from the fire can be obtained by multiplying the optical density (k), measured using a lamp and photoelectric device installed at a distance of approximately 5 m from the smoke-collecting hood, by the flow rate of the exhaust gas, measured using the gas temperature in the exhaust duct, as shown in the equation below.
R i n s t   = k V ˙ s
k = 1 L l n I 0 I
where:
  • R i n s t = Instantaneous rate of change of smoke (m2/s);
  • V ˙ s   = Exhaust flow rate under gas temperature in exhaust duct (m3/s);
  • k = Optical density measured using a photoelectric device (m−1);
  • l0 = light intensity for a beam of parallel light rays measured in a smoke-free environment with a detector having the same spectral sensitivity as the human eye (m−1);
  • l = light intensity for a parallel light beam having traversed a certain length of smoky environment (m−1); and
  • L = length of beam through smoky environment (m).

2.5. Fire Simulation of Combustible Materials

Through the combustible materials fire test, the fire characteristics and patterns of the combustible materials were evaluated, and through the test room fire test, the fire characteristics and patterns of the internal space were measured when a combustible material fire occurred in the test room. To analyze the flame propagation and heat release rates inside the residential space according to the combustible materials, based on the measured data, FDS modeling of the fire development towards flashover was performed as shown in Figure 3. In this case, the sofa was placed in the room marked with a red square, and the mattress/electric pad and desk/chair pairs were placed in the room marked with a blue square in Figure 3. As for the flame propagation model used in the analysis, between the complex pyrolysis model and simple ignition model, the former was selected. In the complex pyrolysis model, the pyrolysis process of combustible materials suitable for fire propagation is directly analyzed according to the combustible materials involved, which is the research focus of this study. The evaporation of combustible fuel according to the heat transmitted to solid combustible materials is also analyzed. Table 4 summarizes the properties of the combustible materials used in the modeling [21].

3. Results

3.1. Results of Combustible Materials Tests

3.1.1. Combustible Materials (Desk and Chair) Fire Test

Figure 4 shows the HRR of the desk and chair over time. The HRR of the desk and chair increased approximately 50 s after the start of ignition, reached 111 kW in 150 s, and then decreased to 47 kW at approximately 480 s. Then, the HRR increased to 182 kW from 600 s to 720 s, and the peak HRR of 191 kW was measured at approximately 960 s. Thereafter, HRR decreased to 31 kW at approximately 1200 s. Figure 5 shows the SPR of the desk and chair. The SPR increased approximately 50 s after ignition, decreased after reaching 1.9 m2/s at 150 s, decreased to 0.4 m2/s at approximately 480 s, and then remained constant. Thereafter, it increased sharply to 3.1 m2/s at approximately 1200 s. Figure 6 shows the combination of the desk and chair. The average, peak, and total heat release, and the SPR of the desk and chair are outlined in Table 5. The average HRR of the desk and chair was 78 kW, the peak HRR was 191 kW, and the total heat release (THR) during the measurement period was 138 MJ. The average SPR was 0.55 m2/s, the peak SPR was 3.1 m2/s, and the total smoke production (TSP) during the measurement period was 984.6 m2.

3.1.2. Combustible Materials (Mattress and Electric Pad) Fire Test

Considering the mixed use of mattresses and electric pads in typical South Korean residences, a mattress and electric pad were used together in the combustible materials tests. Figure 7 shows the HRR of the mattress and electric pad over time. During the measurement period, the HRR began to sharply increase 120 s after the start of ignition, and the peak HRR was measured at 724.7 kW at approximately 240 s, after which HRR decreased to 600.3 kW at 360 s. After that, the HRR rapidly decreased, falling to 23.3 kW at approximately 480 s. Figure 8 shows the SPR of the mattress and electric pad over time. During the measurement period, SPR began to increase rapidly 120 s after the ignition, and the peak SPR was measured as 15.2 m2/s at approximately 240 s. Thereafter, it rapidly decreased beginning at approximately 360 s, and decreased further to 1.5 m2/s at approximately 480 s. Figure 9 shows the combustion of the mattress at different times. The average, peak, and total heat release, and the SPR of the mattress and electric pad are shown in Table 6. The average HRR of the mattress and electric pad was 164 kW, the peak HRR was 725 kW, and the THR during the measurement period was 121 MJ. The average SPR was 3.5 m2/s, the peak SPR was 15.2 m2/s, and the TSP was 2260 m2.

3.1.3. Combustible Materials (Sofa) Fire Test

Figure 10 shows the HRR of the sofa over time. During the measurement period, the HRR increased at 120 s after the start of ignition, and the peak HRR of 728.6 kW was measured at approximately 150 s. Thereafter, it was measured at 239.4 kW at approximately 720 s, then it decreased to 91 kW at approximately 970 s. Figure 11 presents the SPR of the sofa over time. During the measurement period the SPR increased sharply until 150 s after ignition, the peak SPR of 8.8 m2/s was measured at 150 s, after which the SPR rapidly decreased to 1.5 m2/s at 400 s. Thereafter, it decreased to 0.4 m2/s at approximately 1440 s. Figure 12 shows the combustion of the sofa over time. Table 7 outlines the average, peak, and total heat release, and the SPR of the sofa. The average HRR of the sofa was 89 kW, the peak HRR was 729 kW, and the THR during the measurement period was measured to be 226 MJ. The average SPR was 0.6 m2/s, the peak SPR was 8.9 m2/s, and a TSP of 1638 m2 was measured.

3.2. Results of Full-Scale Fire Tests

3.2.1. Test Room with Desk and Chair

A fire test was conducted after placing a desk and chair in the test room, a space with dimensions of 3.6 m in length, 2.4 m in width, and 2.4 m in height. Figure 13 and Figure 14 show the HRR and SPR over time in the test room. The HRR increased at approximately 120 s after ignition and reached 100 kW in 300 s, then gradually decreased to 33 kW at 680 s. Thereafter, the HRR increased rapidly and the peak HRR was measured as 4983 kW at 960 s. Smoke production increased after ignition, reaching 2.2 m²/s at 100 s, then small increases and decreases continuously occurred until the SPR decreased to 0.33 m²/s at 680 s. Then, it gradually increased up to 940 s, after which it sharply increased at approximately 950 s, when the peak SPR of 20.1 m²/s was measured. Thereafter, the SPR decreased sharply to 0.1 m²/s due to fire extinguishing. Table 8 shows the mean, peak, and total heat release, and the SPR measured in a test room with a chair and desk placed inside. Figure 15 shows the fire aspect of the test room (chair and desk) over time.

3.2.2. Test Room with Mattress and Electric Pad

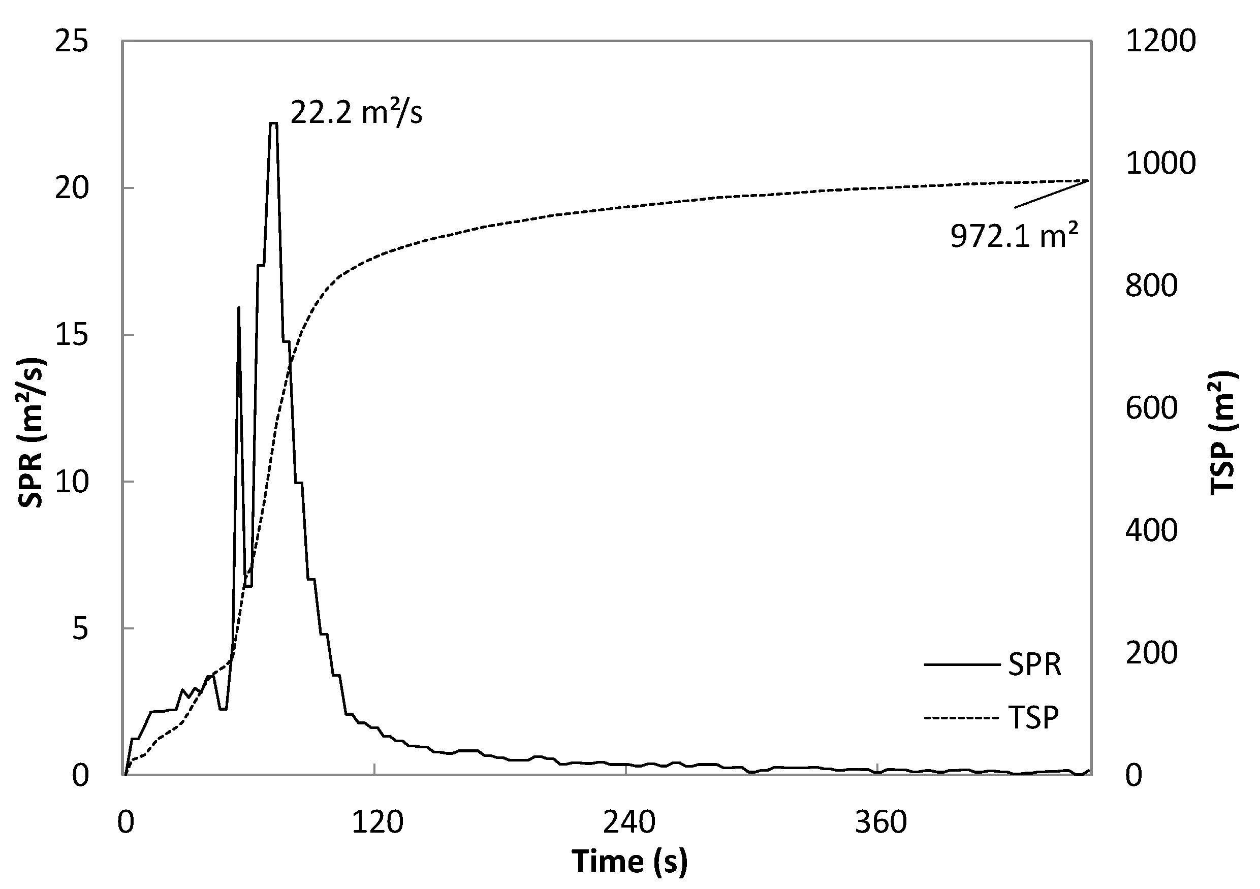
Figure 16 and Figure 17 show the HRR and SPR over time measured from a test room experiment with a mattress and electric pad placed inside. During the measurement period, the HRR increased after ignition, and the peak HRR was measured as 7033 kW at approximately 80 s. The SPR increased rapidly, similarly to the HRR, and the peak SPR was measured as 22.2 m²/s at 70 s. Table 9 shows the average, peak, and total heat release, and the SPR measured in a test room with a mattress and electric pad. Figure 18 shows the fire aspect of the test room (mattress and electric pad) over time.

3.2.3. Test Room with Sofa

Figure 19 and Figure 20 show the HRR and SPR over time measured from a test room experiment with a sofa. During the measurement period, the peak HRR of 1124 kW was measured approximately 50 s after ignition. In the case of SPR, smoke was rapidly produced and increased sharply at approximately 40 s, and the peak SPR was measured as 6.8 m²/s at 70 s. Table 10 shows the average, peak, and total heat release, and the SPR measured in a test room with a sofa. Figure 21 shows the fire aspect of the test room (sofa) over time.

3.3. Comparison of HRR Measurements between Combustible Materials and Test Room Fire Tests

Figure 22 and Figure 23 show comparisons of the HRR values measured from the combustible materials fire tests and test room experiments, respectively. In the combustible materials fire tests, in terms of the fire dynamics pattern, rapid combustion occurred at 240 s for the mattress and electric pad (729 kW), 150 s for the sofa (724 kW), and 960 s for the desk and chair (191 kW). In the test room experiment, in terms of the fire dynamics pattern, rapid combustion occurred at 70 s for the mattress and electric pad (7063 kW), 50 s for the sofa (1124 kW), and 940 s for the desk and chair (4938 kW).
As a result of performing the fire test using the same mattress and electric pad, sofa, and desk and chair, the combustion rate of the test room fire test was measured to be faster than that of the combustible materials fire test. The spread of a fire depends on how quickly the flame propagates from the point of ignition to the combustible material. The combustion rate of the flammable fire test depends on the combustible material, and when radiant heat increases, it expands to combustion at points other than the ignition point. In the test room fire test, the radiant heat could not escape to the outside at the same time as the flame propagation to the interior wall finish, and the combustion spread more rapidly than the fire test of the flammable material itself.

3.4. FDS Modeling

3.4.1. Fire Development from Ignition of Desk and Chair

The desk and chair were set as the combustible materials and flashover FDS modeling was performed. Figure 24 shows the behavior over time. For approximately 800 s from the start of the fire, flame propagation was observed mainly around the desk and chair, but from 900 s, the desk and chair had ignited and flashover occurred at 1000 s. Similarly, the HRR was maintained at 200 kW before the flame propagated to the adjacent combustible materials, but after the propagation to the adjacent combustible materials and flashover occurred, a peak HRR of 3500 kW was modeled in the FDS, as shown in Figure 25.

3.4.2. Fire Development from Ignition of Mattress and Electric Pad

The mattress and electric pad were set as the combustible materials and flashover FDS modeling was performed. Figure 26 shows the fire behavior over time. HRR was continuously maintained at 50 kW from the initial stage of ignition to 1000 s after the fire occurred. The flame spread only on the mattress and the electric pad, and the fire did not spread to the entire room. Even though the mattress, desk set, and sofa all had the same ventilation conditions and initial ignition source (area: 0.3 m × 0.3 m, fire intensity: 50 kW), no fire from the spread of flames occurred in all rooms. Considering the influence of the shape of the combustible material and the strength of the initial ignition source, analysis suggests that the surface temperature of the initial ignition source did not reach the ignition temperature, so that flame propagation and fire development did not happen.

3.4.3. Fire Development from Ignition of Sofa

The sofa was set as the combustible material and flashover FDS modeling was performed. Figure 27 shows the HRR and fire behavior of the sofa over time. For approximately 100 s from the start of the fire, flame propagation was observed mainly around the sofa, but from 150 s, the sofa was ignited, and flashover occurred at 240 s. Similarly, HRR was maintained at 500 kW before the flame propagated to the adjacent combustible materials, but after the flame propagated to the adjacent combustible materials and flashover occurred, a peak HRR of 6600 kW was presented in modeling, as shown in Figure 28. The reason that the peak was initially high in the modeling is that it sa influenced by the results of the main combustible fire test and the combustible material around the sofa in the modeling.

4. Discussion

The peak heat release rates of the representative combustible materials were measured as 728 kW for the sofa, 725 kW for the mattress and electric pad, and 191 kW for the desk and chair. The time to reach the fire peak was 150 s for the sofa, 240 s for the mattress and electric pad, and 960 s for the desk and chair. Thus, among the combustible materials investigated, the sofa is considered to be the highest fire risk. In the test room fire tests with combustible materials, the fire propagation rate was measured as 50 s for the sofa, 70 s for the mattress and electric pad, and 940 s for the desk and chair. The heat release rate was measured as 1124 kW for the sofa, 7063 kW for the mattress and electric pad, and 493 kW for the desk and chair. In the case of the sofa, the fire propagation rate and heat release rate increased so rapidly that the test was discontinued partway through for safety reasons.
In the FDS, the physical property information and analysis conditions of each combustible material and interior finishing material were set identically. Comparing the FDS and test room fire test results reveals several maximum HRR and fire spread characteristics. When ignited at the desk and chair, about 3500 kW and 4900 kW were measured in the full-scale test and the FDS, respectively. However, the time to reach the maximum HRR was in the range of 15 to 18 min. In the case of the sofa, we measured about 1100 kW and 6600 kW in the full-scale test and FDS, respectively, and the time to reach the maximum HRR was in the range of 1 to 4 min. There was an influence of the difference in the size of the space applied to the real-scale fire test and the space applied to the FDS setting. The combustible material and the interior finish were the same, but the FDS set to a relatively large space had greater HRR and time measurements. However, in the case of the mattresses and electric pads, there was no fire spread in the FDS. In the case of an FDS in which the cause of ignition was set as an electric field board, and the case of ignition in a room test using cotton balls, the opposite results were shown. As a result of conducting room tests and FDS for Korean apartment dwellings, the HRR and SPR for each ignition point and combustible material can be used as firefighting training content. Previously, the focus was on dispatch after a fire, rescue of lives, fire suppression, and on-site monitoring. However, specific training alternatives or simulations for smoke, flame spread, and fire duration are difficult. As training content, it is necessary to virtually implement various buildings and indoor environments, and the simulation of complex fire situations is also required. In order to effectively utilize the results of this study, a database of fire tests for combustible materials and finishing materials is needed, so these measurements can be reflected in the FDS setting.
In the case of the existing paper, the basic data of FDS modeling were used by using only the data measured in a single combustible fire test. The fire pattern and fire characteristics at the initial stage of a building fire were accurately evaluated through the test room fire test, based on the single combustible fire test. It is considered that there is a difference in that the measured data were applied to the FDS modeling and reliability was secured in the FDS result value. Firefighting training requires the establishment of tactics according to the signs of abnormalities occurring at the fire site and fire growth in order to ensure that firefighters have accurate understanding of the fire situation. When applied to virtual training education based on FDS and the full-scale fire test performed in this paper, it was possible to realize flash over, smoke spread and fire growth similar to an actual fire situation in various spatial conditions.

5. Conclusions

In this study, the inherent fire characteristics of a residential building and the fire characteristics in a test room were evaluated according to the material characteristics of representative combustible materials (desk and chair; mattress and electric pad; and a sofa) by conducting full-scale fire tests. Based on the measurements, the fire characteristics in the full-scale room space were analyzed using FDS.
(1)
As a result of the fire tests using the same mattress and electric pad, sofa, and desk and chair, the combustion rate of the test room fire test was measured to be faster than that of the combustible materials fire test. The results indicate that the combustion rate of the combustible materials fire test varied depending on the materials involved, while the combustion rate of the test room fire test depended on the presence or absence of wall finishes and smoke layer heat radiation in the test room.
(2)
Modeling was performed with an FDS (fire dynamics simulator) in order to analyze indoor flame propagation and heat release in residential buildings according to combustibles using the fire test measurement data. As a result of the analysis, in the case of a combination of a desk and a chair in the model space, it propagated to all room fires after 1000 s, and the maximum amount of heat dissipation was measured as 3500 Kw. In the case of the sofa, it propagated to all room fires after 240 s, and the maximum heat dissipation was measured as 6600 Kw.
(3)
For more effective content derivation and firefighting training, it is necessary to pre-recognize fire situations and to experiment with and analyze complex fire growth. Through the full-scale fire test and simulation of this study, the fire characteristics of the indoor combustibles of a building were identified. The results of this study will be applied to the review and simulated virtual training of incumbent firefighters targeting residential buildings, and will be used for firefighting training content development through additional supplementation.

Author Contributions

Conceptualization, H.-J.K. and M.-H.M.; methodology, H.-J.K.; software, S.-G.M. and S.-C.K.; test and data curation, H.-J.K.; writing—original draft preparation, M.-H.M. and W.-J.P.; writing—review and editing, W.-J.P.; visualization, S.-G.M. and S.-C.K.; project administration, H.-J.K. All authors have read and agreed to the published version of the manuscript.

Funding

This work was supported by research funding for R&D projects (No. 2018-NFA002-005-01010000-2020) by the National Fire Agency (NFA) which was funded by the Korean government.

Institutional Review Board Statement

Not applicable.

Informed Consent Statement

Not applicable.

Data Availability Statement

The data used in this study are available from the corresponding author upon request.

Conflicts of Interest

The authors declare no conflict of interest.

References

  1. Yang, G.G. Improvement of the command system at the disaster site for effective countermeasures for disasters: Centered on comparison with USA. J. Soc. Sci. (Kyung Hee Univ.) 2008, 34, 81–104. [Google Scholar]
  2. Bink, M.L.; Injurgio, V.J.; James, D.R.; Miller, I.I.; John, T. Training Capability Data for Dismounted Soldier Training System; United States Army Research Institute for the Behavioral and Social Sciences: Alexandria, VA, USA, 2015. [Google Scholar]
  3. Ragan, E.D.; Bowman, D.A.; Kopper, R.; Stinson, C.; Scerbo, S.; McMahan, R.P. Effects of field of view and visual complexity on virtual reality training effectiveness for a visual scanning task. IEEE Trans. Vis. Comput. Graph. 2015, 21, 794–807. [Google Scholar] [CrossRef] [PubMed]
  4. Chae, J. Study on firefighting education and training applying virtual reality. Fire Sci. Eng. 2018, 32, 108–115. [Google Scholar] [CrossRef]
  5. St. Julien, T.U.; Shaw, C.D. Firefighter command training virtual environment. In Proceedings of the 2003 Conference on Diversity in Computing, Atlanta, GA, USA, 15–18 October 2003; pp. 30–33. [Google Scholar]
  6. Barrero, D.; Abanto, J.; Hardy, J.P.; Reggio, M. Serious Colorful Fluid Dynamics in Fire Simulation. In Proceedings of the 43rd AIAA Aerospace Sciences Meeting and Exhibit 2005, Reno, NV, USA, 10–13 January 2005; pp. 10339–10350. [Google Scholar]
  7. Ren, A.; Chen, C.; Shi, J.; Zou, L. Application of virtual reality technology to evacuation simulation in fire disaster. In Proceedings of the 2006 International Conference on Computer Graphics & Virtual Reality, CGVR 2006, Las Vegas, NV, USA, 26–29 June 2006. [Google Scholar]
  8. Buchanan, A.H. Fire Engineering Design Guide; Centre for Advanced Engineering, University of Canterbury: Christchurch, New Zealand, 2001. [Google Scholar]
  9. Magnusson, S.E.; Thelandersson, S. Temperature—Time Curves of Complete Process of Fire Development. In Bulletin of Division of Structural Mechanics and Concrete Construction; Bulletin 16; Lund Institute of Technology: Lund, Sweden, 1970. [Google Scholar]
  10. Forney, G.P.; Madrzykowski, D.; McGrattan, K.B.; Sheppard, L. Understanding fire and smoke flow through modeling and visualization. IEEE Comput. Graph. Appl. 2003, 23, 6–13. [Google Scholar] [CrossRef]
  11. Baker, G.; Collier, P.; Wade, C.; Spearpoint, M.; Fleischmann, C.M.; Frank, K.; Sazegara, S. A comparison of a priori modelling predictions with experimental results to validate a design fire generator submodel. In Proceedings of the Fire and Materials; Interscience Communications: San Francisco, CA, USA, 2013; pp. 449–460. [Google Scholar]
  12. Chung, E.S. A Study on the Development of Risk Index for the Fire Risk Assessment of the Buildings; Myeongji University Graduate School: Yong-In, Korea, 2009. [Google Scholar]
  13. NFA. National Fire Information Center Fire Statistics Yearbook 2010~2019; National Fire Agency: Sejong, Korea, 2019. [Google Scholar]
  14. Kim, D.E.; Seo, D.G.; Kwon, Y.J. A Study on the Combustible Materials DATA BASE of a Residential Facilities. J. Korean Soc. Hazard. Mitig. 2013, 13, 23–28. [Google Scholar]
  15. Park, J.S. A study on the current status and characteristics of fire in the context of deaths in apartment houses. J. Korean Soc. Hazard. Mitig. 2019, 19, 253–260. [Google Scholar] [CrossRef]
  16. International Organization for Standardization. ISO 9705:1993(E) International Standard—Fire Tests—Full Scale Room Test. for Surface Products; International Organization for Standardization: Geneva, Switzerland, 1993. [Google Scholar]
  17. Parker, W.J. Calculations of the heat release rate by oxygen consumption for various applications. NASA STI/Recon Tech. Rep. N 1982, 83, 10304. [Google Scholar]
  18. Särdqvist, S. Initial fires. In RHR, Smoke Production and CO Generation from Single Items and Room Fire Tests; LUTVDG/TVBB--3070—SE; Department of Fire Safety Engineering and Systems Safety of Lund University: Lund, Sweden, 1993; p. 3070. [Google Scholar]
  19. Quinitere, J.G. Principle of Fire Behavior; Delmar Publishers: Albany, NY, USA, 1998; pp. 159–161. [Google Scholar]
  20. Babrauskas, V.; Babrauskas, V. Combustion of Mattresses Exposed to Flaming Ignition Sources: Part. 1. Full-Scale Tests and Hazard Analysis; National Institute of Standards and Technology: Gaithersburg, WA, USA, 1977. [Google Scholar]
  21. Wang, X. Fire Dynamics Simulator (FDS) Pyrolysis Model Analysis of Heavy Goods Vehicle Fires in Road Tunnels; University of Canterbury: Christchurch, New Zealand, 2017. [Google Scholar]
Figure 1. Furniture calorimeter conceptual diagram.
Figure 1. Furniture calorimeter conceptual diagram.
Sustainability 13 04897 g001
Figure 2. Interior finish of test room: (a) Without finish; (b) Insulation; (c) Plywood finish.
Figure 2. Interior finish of test room: (a) Without finish; (b) Insulation; (c) Plywood finish.
Sustainability 13 04897 g002
Figure 3. FDS modeling of the fire development towards flashover.
Figure 3. FDS modeling of the fire development towards flashover.
Sustainability 13 04897 g003
Figure 4. HRR of desk and chair.
Figure 4. HRR of desk and chair.
Sustainability 13 04897 g004
Figure 5. SPR of desk and chair.
Figure 5. SPR of desk and chair.
Sustainability 13 04897 g005
Figure 6. Combustion of desk and chair: (a) Ignition; (b) 240 s; (c) 720 s; (d) 840 s.
Figure 6. Combustion of desk and chair: (a) Ignition; (b) 240 s; (c) 720 s; (d) 840 s.
Sustainability 13 04897 g006
Figure 7. HRR of mattress and electric pad.
Figure 7. HRR of mattress and electric pad.
Sustainability 13 04897 g007
Figure 8. SPR of mattress and electric pad.
Figure 8. SPR of mattress and electric pad.
Sustainability 13 04897 g008
Figure 9. Combustion of mattress and electric pad: (a) Ignition; (b) 240 s; (c) 720 s; (d) 840 s.
Figure 9. Combustion of mattress and electric pad: (a) Ignition; (b) 240 s; (c) 720 s; (d) 840 s.
Sustainability 13 04897 g009
Figure 10. HRR of sofa.
Figure 10. HRR of sofa.
Sustainability 13 04897 g010
Figure 11. SPR of sofa.
Figure 11. SPR of sofa.
Sustainability 13 04897 g011
Figure 12. Combustion of sofa: (a) Ignition; (b) 120 s; (c) 240 s; (d) 360 s.
Figure 12. Combustion of sofa: (a) Ignition; (b) 120 s; (c) 240 s; (d) 360 s.
Sustainability 13 04897 g012
Figure 13. HRR in compartment fire experiment with desk and chair.
Figure 13. HRR in compartment fire experiment with desk and chair.
Sustainability 13 04897 g013
Figure 14. SPR in compartment fire experiment with desk and chair.
Figure 14. SPR in compartment fire experiment with desk and chair.
Sustainability 13 04897 g014
Figure 15. Fire aspect of test room with desk and chair: (a) Ignition; (b) 400 s; (c) 940 s; (d) 960 s.
Figure 15. Fire aspect of test room with desk and chair: (a) Ignition; (b) 400 s; (c) 940 s; (d) 960 s.
Sustainability 13 04897 g015
Figure 16. HRR of mattress and electric pad.
Figure 16. HRR of mattress and electric pad.
Sustainability 13 04897 g016
Figure 17. SPR of mattress and electric pad.
Figure 17. SPR of mattress and electric pad.
Sustainability 13 04897 g017
Figure 18. Fire aspect of test room with desk and chair: (a) Ignition; (b) 80 s; (c) 100 s; (d) 120 s.
Figure 18. Fire aspect of test room with desk and chair: (a) Ignition; (b) 80 s; (c) 100 s; (d) 120 s.
Sustainability 13 04897 g018
Figure 19. HRR of sofa in test room.
Figure 19. HRR of sofa in test room.
Sustainability 13 04897 g019
Figure 20. SPR of sofa in test room.
Figure 20. SPR of sofa in test room.
Sustainability 13 04897 g020
Figure 21. Fire aspect of test room with sofa: (a) Ignition; (b) 60 s; (c) 150 s; (d) 160 s.
Figure 21. Fire aspect of test room with sofa: (a) Ignition; (b) 60 s; (c) 150 s; (d) 160 s.
Sustainability 13 04897 g021
Figure 22. HRR in combustible materials tests.
Figure 22. HRR in combustible materials tests.
Sustainability 13 04897 g022
Figure 23. HRR in the compartment fire experiments.
Figure 23. HRR in the compartment fire experiments.
Sustainability 13 04897 g023
Figure 24. Fire behavior over time until flashover (desk and chair): (a) Ignition; (b) 400 s; (c) 800 s; (d) 900 s; (e) 1000 s; (f) 1100 s.
Figure 24. Fire behavior over time until flashover (desk and chair): (a) Ignition; (b) 400 s; (c) 800 s; (d) 900 s; (e) 1000 s; (f) 1100 s.
Sustainability 13 04897 g024
Figure 25. HRR of desk and chair in FDS.
Figure 25. HRR of desk and chair in FDS.
Sustainability 13 04897 g025
Figure 26. Fire behavior over time until flashover (mattress and electric pad): (a) Ignition; (b) 200 s; (c) 400 s; (d) 600 s; (e) 8000 s; (f) 1000 s.
Figure 26. Fire behavior over time until flashover (mattress and electric pad): (a) Ignition; (b) 200 s; (c) 400 s; (d) 600 s; (e) 8000 s; (f) 1000 s.
Sustainability 13 04897 g026
Figure 27. Fire behavior over time until flashover (sofa): (a) Ignition; (b) 100 s; (c) 200 s; (d) 300 s; (e) 400 s; (f) 500 s.
Figure 27. Fire behavior over time until flashover (sofa): (a) Ignition; (b) 100 s; (c) 200 s; (d) 300 s; (e) 400 s; (f) 500 s.
Sustainability 13 04897 g027
Figure 28. HRR of sofa in FDS.
Figure 28. HRR of sofa in FDS.
Sustainability 13 04897 g028
Table 1. Domestic and overseas training content.
Table 1. Domestic and overseas training content.
TypeContentProviders (Source)
South KoreaFire Incident Commander Training SimulatorUCF-IST
Incident Command and Control SimulationNational Fire Academy
Emergency 5Monte Cristo Multimedia
Fire Department 3Sixteen Tons Entertainment
USACommand Training SimulationAdams Group
Integrated Command Training SimulationKorea Soft Space Inc.
Disaster Field Team Unit Tactical SimulationMaxOn Soft
XVRXVR Simulation
Table 2. Selection of representative fire types.
Table 2. Selection of representative fire types.
TypeSelection FacilitiesResponse RateCombustible Materials
1Factory facilities100%HVAC system, electric heater, welding cutter
2Terminal Facilities93.5%Boxes, trash cans, construction materials
3Medical facility80.6%AC system, dryers, refrigerators
4Warehouse80.6%Sandwich panels, Styrofoam, waste paper
5Accommodation facilities80.6%Bed, mattress, wardrobe, TV, drawers, closet, sofa, storage closet
6Apartment house87.1%
7Single house74.2%
Table 3. Specifications of combustible materials 1.
Table 3. Specifications of combustible materials 1.
TypeMaterialsMass (kg)W × L × H (mm)
TablePB, MDF401200 × 700 × 720
ChairWood, PU8420 × 480 × 820
MattressFabric, Sponge341000 × 2000 × 250
Electric PadLeatherette4980 × 1900
SofaPVC, Sponge11.5710 × 760 × 770
1 PB: particle board; MDF: medium density fiberboard; PU: polyurethane; PVC: polyvinyl chloride.
Table 4. Properties of combustible materials.
Table 4. Properties of combustible materials.
MDFFoamGypsumCarpet
Conductivity (W/m⋅K)0.300.050.480.16
Specific heat (kJ/kg·K)1.701.00.842.0
Density (kg/m3)750401440750
Reference Temperature (°C)280300-290
Heat of reaction (kJ/mol)800800-22,300
Heat of combustion (kJ)30,00030,000-2000
Ignition Temperature °C)330390-390
HRRPUA (kW/m2)250280-280
Table 5. Average, peak, and total HRR and SPR of desk and chair.
Table 5. Average, peak, and total HRR and SPR of desk and chair.
TypeHRRTemperatureSPR
Average78 kW41 °C0.6 m2/s
Peak191 kW191 °C3.1 m2/s
Total138 MJ-984.6 m2
Table 6. Average, peak, and total HRR and SPR of mattress and electric pad.
Table 6. Average, peak, and total HRR and SPR of mattress and electric pad.
TypeHRRTemperatureSPR
Average164 kW65 °C3.5 m2/s
Peak725 kW152 °C15.2 m2/s
Total121 MJ-2260 m2
Table 7. Average, peak, and total HRR and SPR of sofa.
Table 7. Average, peak, and total HRR and SPR of sofa.
TypeHRRTemperatureSPR
Average89 kW42 °C0.6 m2/s
Peak728 kW170 °C8.9 m2/s
Total226 MJ-1638.3 m2
Table 8. Average, peak, and total HRR and SPR of desk and chair.
Table 8. Average, peak, and total HRR and SPR of desk and chair.
TypeHRRTemperatureSPR
Average121 kW38 °C1.2 m2/s
Peak4938 kW586 °C20.1 m2/s
Total183 MJ-1835.3 m2
Table 9. Average, peak, and total HRR and SPR of mattress and electric pad.
Table 9. Average, peak, and total HRR and SPR of mattress and electric pad.
TypeHRRTemperatureSPR
Average272 kW64 °C1.3 m2/s
Peak7063 kW586 °C22.2 m2/s
Total201 MJ 972.1 m2
Table 10. Average, peak, and total HRR and SPR of sofa.
Table 10. Average, peak, and total HRR and SPR of sofa.
TypeHRRTemperatureSPR
Average196 kW16 °C0.5 m2/s
Peak1124 kW148 °C6.8 m2/s
Total32 MJ-379.1 m2
Publisher’s Note: MDPI stays neutral with regard to jurisdictional claims in published maps and institutional affiliations.

Share and Cite

MDPI and ACS Style

Moon, M.-H.; Kim, H.-J.; Min, S.-G.; Kim, S.-C.; Park, W.-J. Simulation of Indoor Fire Dynamics of Residential Buildings with Full-Scale Fire Test. Sustainability 2021, 13, 4897. https://doi.org/10.3390/su13094897

AMA Style

Moon M-H, Kim H-J, Min S-G, Kim S-C, Park W-J. Simulation of Indoor Fire Dynamics of Residential Buildings with Full-Scale Fire Test. Sustainability. 2021; 13(9):4897. https://doi.org/10.3390/su13094897

Chicago/Turabian Style

Moon, Min-Ho, Hyung-Jun Kim, Su-Gyeong Min, Sung-Chan Kim, and Won-Jun Park. 2021. "Simulation of Indoor Fire Dynamics of Residential Buildings with Full-Scale Fire Test" Sustainability 13, no. 9: 4897. https://doi.org/10.3390/su13094897

APA Style

Moon, M.-H., Kim, H.-J., Min, S.-G., Kim, S.-C., & Park, W.-J. (2021). Simulation of Indoor Fire Dynamics of Residential Buildings with Full-Scale Fire Test. Sustainability, 13(9), 4897. https://doi.org/10.3390/su13094897

Note that from the first issue of 2016, this journal uses article numbers instead of page numbers. See further details here.

Article Metrics

Back to TopTop