Exploring Factors Influencing E-Bike Adoption Among Filipino Commuters: An Integrated Diffusion of Innovation and Technology Acceptance Model
Abstract
1. Introduction
- Examine the effects of DOI innovation attributes (relative advantage, compatibility, complexity, trialability, and observability) on the perceived usefulness (PU) and perceived ease of use (PEOU) of e-bikes.
- Analyze the impact of TAM constructs (PU and PEOU) on behavioral intention (BI) and actual usage behavior (UB).
- Investigate the influence of external factors (government policies, infrastructure availability, social influence, and public awareness) on PU, PEOU, and BI.
- Assess the overall predictive power of the integrated TAM-DOI model in explaining behavioral intention and e-bike adoption in the Philippine setting.
2. Conceptual Framework
2.1. Theory of Acceptance Model
2.2. Diffusion of Innovation Theory
2.3. Integration of Theory of Acceptance Model and Diffusion of Innovation Theory
- DOI innovation attributes influence PU and PEOU. Users are more likely to find e-bikes useful and easy to use when they offer clear benefits, fit their lifestyle, are easy to try, and are widely observable.
- PU and PEOU influence Behavioral Intention (BI), aligning with TAM’s core assumptions that technology perceived as useful and easy to use leads to higher adoption intent.
- External factors impact PU, PEOU, and BI. Policy support, infrastructure availability, social influence, and public awareness campaigns can shape user perceptions and intentions toward e-bikes.
- BI strongly predicts actual Usage Behavior (UB), as individuals who intend to use e-bikes are more likely to integrate them into their commuting habits.
2.4. Determinants of Behavioral Intention and Usage Behavior for E-Bike
3. Materials and Methods
3.1. Setting
3.2. Sampling
3.3. Instrumentation
3.4. Structural Equation Modeling
4. Results
4.1. Profile of Demographics
4.1.1. Age
4.1.2. Gender
4.1.3. Employment
4.1.4. Monthly Income
4.1.5. E-Bike Familiarity
4.2. Initial SEM Result
4.3. Final SEM Result
5. Discussion
5.1. Relative Adavantage and Perceived Usefulness
5.2. Relative Advantage and Percceived Ease of Use
5.3. Complexity and Perceived Usefulness
5.4. Complexity and Perceived Ease of Use
5.5. Trialability and Perceived Usefulness
5.6. Trialability and Perceived Ease of Use
5.7. Observability, Perceived Usefulness, and Perceived Ease of Use
5.8. Observability and Perceived Ease of Use
5.9. Compatibility, Perceived Usefulness, and Perceived Ease of Use
5.10. Government Policies and Perceived Usefulness
5.11. Infrastructure and Perceived Ease of Use
5.12. Perceived Usefulness and Perceived Ease of Use
6. Conclusions
6.1. Theoretic Implications
- This study confirms that perceived usefulness (PU) and perceived ease of use (PEOU) are strong predictors of behavioral intention, consistent with TAM-based studies on mobility technology [8,9]. Similar results were observed in Yasir et al. [86] and Huang et al. [15], where PU and PEOU significantly shaped e-bike adoption. However, unlike studies [5,87] conducted in regions with more developed infrastructure, the present study found that government policies did not significantly impact perceived usefulness. This suggests that in developing contexts, weak policy implementation and limited infrastructure may dilute the effectiveness of government interventions, a point also highlighted by Shaheen et al. [14] in their study on sustainable transportation adoption.
- This study highlights the interconnectedness of innovation characteristics, technological perceptions, and external motivators in shaping adoption behavior. While past research often treated TAM and DOI constructs separately [17,40,44,59], this study demonstrates that innovation attributes, such as trialability and observability, directly influence users’ perceptions of e-bike usefulness and ease of use. These findings are consistent with Moore and Benbasat [88], who emphasized that trialability enhances perceived utility by reducing uncertainty. However, this study found that trialability did not significantly affect PEOU, contrasting with the findings of Zhang et al. [5], where trialability played a critical role in shaping ease-of-use perceptions. This discrepancy suggests that in the Philippine setting, users may already perceive e-bikes as intuitive, making trialability more relevant to usefulness than usability.
- The present study provides empirical evidence from the Philippines, a country with distinct urban mobility challenges, offering a culturally and contextually nuanced understanding of e-bike adoption. Unlike research conducted in Western and highly urbanized Asian cities (e.g., China and Japan), where infrastructure and policy support are well-developed, the findings suggest that social influence and public awareness play a more critical role in adoption. This aligns with Ajzen’s [87] Theory of Planned Behavior and the work of Taylor and Todd [89], which highlight the importance of peer influence in shaping behavioral intentions in developing economies. This study’s insights into infrastructure challenges also align with Pojani and Stead [90], who found that inadequate infrastructure acts as a barrier to sustainable transport adoption in emerging markets.
6.2. Practical Implications
- Investments in bike lanes, charging stations, and secure parking are critical for reducing operational barriers and enhancing ease of use. Local governments should prioritize these projects to create a supportive environment for e-bike users.
- Public campaigns emphasizing the economic, environmental, and practical benefits of e-bikes are essential to address skepticism and build public interest. Success stories and testimonials from current users should be leveraged to reinforce perceived usefulness.
- Strengthening government policies, such as subsidies, tax incentives, and financial assistance for e-bike purchases, can enhance their appeal, particularly for low- and middle-income commuters. Visible policy initiatives, such as partnerships with manufacturers and infrastructure improvements, can further reinforce public confidence in e-bikes.
- Manufacturers should develop e-bike models tailored to the commuting needs of Filipinos. Compact, lightweight designs for urban users and robust, long-range models for suburban areas can cater to diverse requirements.
- Partnerships with influencers, community leaders, and local organizations can amplify social acceptance of e-bikes, encouraging broader adoption. Public events, e-bike demonstrations, and shared systems integrated into urban transportation hubs can further promote e-bike visibility and usability.
6.3. Recommendation and Future Studies
- The findings are specific to Metro Manila and NCR and may not apply to rural or semi-urban areas with different commuting patterns and conditions.
- This study’s cross-sectional design only captures data at one point in time, limiting its ability to track changes in perceptions and behavior over time.
- Self-reported survey responses may be influenced by social desirability bias, where respondents provide favorable answers rather than their true experiences.
- While this study included external variables like government policies and infrastructure, other factors such as cultural norms, environmental awareness, and technological advancements were not explored.
- This study did not consider the long-term adoption and sustained use of e-bikes, which could evolve due to future challenges or changing circumstances.
Funding
Institutional Review Board Statement
Informed Consent Statement
Data Availability Statement
Conflicts of Interest
References
- Alvaira, W.; Bello, E.; Cueva, L.; Daguman, H.; Del Rosario, N.; Jayona, A.; Perante-Calina, L. MetroPolice: An Analysis of Metro Manila’s Impediments From and Progress Towards Sustainable Urban Development. Master’s Thesis, University of the Philippines Diliman, Quezon, Philippines, 25 May 2022. [Google Scholar]
- Gaspar, R.M.; Prasetyo, Y.T.; Mariñas, K.A.; Persada, S.F.; Nadlifatin, R. Exploring Consumers’ Intention to Use Bikes and E-Scooters during the COVID-19 Pandemic in the Philippines: An Extended Theory of Planned Behavior Approach with a Consideration of Pro-Environmental Identity. Sustainability 2023, 15, 5193. [Google Scholar] [CrossRef]
- Machedon-Pisu, M.; Borza, P.N. Are personal electric vehicles sustainable? A hybrid E-bike case study. Sustainability 2019, 12, 32. [Google Scholar] [CrossRef]
- Saculsan, P.G.; Mori, A. Why developing countries go through an unsustainable energy transition pathway? The case of the Philippines from a political economic perspective. J. Sustain. Res. 2020, 2, e200012. [Google Scholar]
- Zhang, X.; Lim, E.S.; Chen, M. Promoting Sustainable Urban Mobility: Factors Influencing E-Bike Adoption in Henan Province, China. Sustainability 2024, 16, 10136. [Google Scholar] [CrossRef]
- Chonsalasin, D.; Champahom, T.; Jomnonkwao, S.; Karoonsoontawong, A.; Runkawee, N.; Ratanavaraha, V. Exploring the influence of Thai government policy perceptions on electric vehicle adoption: A measurement model and empirical analysis. Smart Cities 2024, 7, 2258–2282. [Google Scholar] [CrossRef]
- Ravishankar, K.; Subramani, A.K.; Akbar Jan, N.; Ramkumar, C. Examining the Factors Influencing the Intention to Use Electric Bikes by Young Adults: Using Extended Theory of Planned Behavior Model. Asian J. Bus. Res. 2023, 13, 65–85. [Google Scholar] [CrossRef]
- Davis, F.D.; Bagozzi, R.P.; Warshaw, P.R. Technology acceptance model. J. Manag. Sci. 1989, 35, 982–1003. [Google Scholar]
- Rogers, E.M. The diffusion of innovations perspective. In Taking Care: Understanding and Encouraging Self-Protective Behavior; Cambridge University Press: Cambridge, UK, 1987; pp. 79–94. [Google Scholar]
- Houghton, L.; Kerr, D. Diffusion of innovation theory and the problem of context for inter-organizational information systems: The example of feral information systems. In Inter-Organizational Information Systems and Business Management: Theories for Researchers; IGI Global: Hershey, PA, USA, 2012; pp. 209–221. [Google Scholar]
- Carter, P.E.; Thatcher, J.B.; Chudoba, K.M.; Marett, K. Post-acceptance intentions and behaviors: An empirical investigation of information technology use and innovation. J. Organ. End User Comput. (JOEUC) 2012, 24, 1–20. [Google Scholar] [CrossRef]
- Soon, K.W.K.; Lee, C.A.; Boursier, P. A study of the determinants affecting adoption of big data using integrated Technology Acceptance Model (TAM) and diffusion of innovation (DOI) in Malaysia. Int. J. Appl. Bus. Econ. Res. 2016, 14, 17–47. [Google Scholar]
- Min, S.; So, K.K.F.; Jeong, M. Consumer adoption of the Uber mobile application: Insights from diffusion of innovation theory and technology acceptance model. In Future of Tourism Marketing; Routledge: London, UK, 2021; pp. 2–15. [Google Scholar]
- Shaheen, S.; Martin, E.; Cohen, A. Public bikesharing and modal shift behavior: A comparative study of early bikesharing systems in North America. Int. J. Transp. 2013, 1, 35–54. [Google Scholar] [CrossRef]
- Huang, G.; Zhang, W.; Xu, D. How do technology-enabled bike-sharing services improve urban air pollution? Empirical evidence from China. J. Clean. Prod. 2022, 379, 134771. [Google Scholar] [CrossRef]
- Venkatesh, V.; Bala, H. Technology acceptance model 3 and a research agenda on interventions. Decis. Sci. 2008, 39, 273–315. [Google Scholar] [CrossRef]
- Wu, B.; Chen, X. Continuance intention to use MOOCs: Integrating the technology acceptance model (TAM) and task technology fit (TTF) model. Comput. Hum. Behav. 2017, 67, 221–232. [Google Scholar] [CrossRef]
- Greenhalgh, T.; Robert, G.; Macfarlane, F.; Bate, P.; Kyriakidou, O.; Peacock, R. Storylines of research in diffusion of innovation: A meta-narrative approach to systematic review. Soc. Sci. Med. 2005, 61, 417–430. [Google Scholar] [CrossRef] [PubMed]
- Yunior, M.C.; Augustine, Y. The Influence of Social Influence, Relative Advantage, User Satisfaction on Cloud-Based E-Learning with Behavioral Intention as a Mediating Variable. Technium Soc. Sci. J. 2024, 56, 36. [Google Scholar]
- Rexfelt, O.; Hiort af Ornäs, V. Consumer acceptance of product-service systems: Designing for relative advantages and uncertainty reductions. J. Manuf. Technol. Manag. 2009, 20, 674–699. [Google Scholar] [CrossRef]
- Bhattacherjee, A.; Limayem, M.; Cheung, C.M. User switching of information technology: A theoretical synthesis and empirical test. Inf. Manag. 2012, 49, 327–333. [Google Scholar] [CrossRef]
- Bandara, U.C.; Amarasena, T.S.M. Impact of relative advantage, perceived behavioural control and perceived ease of use on intention to adopt with solar energy technology in Sri Lanka. In Proceedings of the 2018 International Conference and Utility Exhibition on Green Energy for Sustainable Development (ICUE), Phuket, Thailand, 24–26 October 2018; IEEE: Piscataway, NJ, USA, 2018; pp. 1–9. [Google Scholar]
- Lai, P.C. The literature review of technology adoption models and theories for the novelty technology. JISTEM-J. Inf. Syst. Technol. Manag. 2017, 14, 21–38. [Google Scholar] [CrossRef]
- Sun, J. Why different people prefer different systems for different tasks: An activity perspective on technology adoption in a dynamic user environment. J. Am. Soc. Inf. Sci. Technol. 2012, 63, 48–63. [Google Scholar] [CrossRef]
- Jashapara, A.; Tai, W.C. Understanding the complexity of human characteristics on e-learning systems: An integrated study of dynamic individual differences on user perceptions of ease of use. Knowl. Manag. Res. Pract. 2006, 4, 227–239. [Google Scholar] [CrossRef]
- Almahamid, S.O.U.D.; Mcadams, A.C.; Al Kalaldeh, T.A.H.E.R.; MO’TAZ, A.S.E. The relationship between perceived usefulness, perceived ease of use, perceived information quality, and intention to use e-government. J. Theor. Appl. Inf. Technol. 2010, 11, 30–44. [Google Scholar]
- Bakı, R.; Bırgoren, B.; Aktepe, A. A meta analysis of factors affecting perceived usefulness and perceived ease of use in the adoption of e-learning systems. Turk. Online J. Distance Educ. 2018, 19, 4–42. [Google Scholar]
- Changchun, G.; Haider, M.J.; Akram, T. Investigation of the effects of task technology fit, attitude and trust on intention to adopt mobile banking: Placing the mediating role of trialability. Int. Bus. Res. 2017, 10, 77–91. [Google Scholar] [CrossRef]
- Banerjee, P.; Wei, K.K.; Ma, L. Role of trialability in B2B e-business adoption: Theoretical insights from two case studies. Behav. Inf. Technol. 2012, 31, 815–827. [Google Scholar] [CrossRef]
- Hayes, K.J.; Eljiz, K.; Dadich, A.; Fitzgerald, J.A.; Sloan, T. Trialability, observability and risk reduction accelerating individual innovation adoption decisions. J. Health Organ. Manag. 2015, 29, 271–294. [Google Scholar] [CrossRef]
- Liu, S.; Wang, L. User liaisons’ perspective on behavior and outcome control in IT projects: Role of IT experience, behavior observability, and outcome measurability. Manag. Decis. 2014, 52, 1148–1173. [Google Scholar] [CrossRef]
- Lee, K.; Sener, I.N. E-bikes toward inclusive mobility: A literature review of perceptions, concerns, and barriers. Transp. Res. Interdiscip. Perspect. 2023, 22, 100940. [Google Scholar]
- Ismail, H.A. Intention to use smartphone through perceived compatibility, perceived usefulness, and perceived ease of use. JDM (J. Din. Manaj.) 2016, 7, 1–10. [Google Scholar] [CrossRef]
- Faqih, K.M. The influence OF perceived usefulness, social influence, internet self-efficacy and compatibility ON USERS’INTENTIONS to adopt e-learning: Investigating the moderating effects OF culture. IJAEDU-Int. E-J. Adv. Educ. 2020, 5, 300–320. [Google Scholar] [CrossRef]
- Sitinjak, C.; Simic, V.; Babaee Tirkolaee, E.; Bacanin, N.; Simanullang, W.F.; Fajar, R. Uncovering pathways towards sustainable transportation: Investigating factors influencing societal acceptance of end-of-life vehicle management in Indonesia. Waste Manag. Res. 2024; Epub ahead of print. [Google Scholar] [CrossRef] [PubMed]
- Gumasing, M.J.J.; Prasetyo, Y.T.; Ong, A.K.S.; Persada, S.F.; Nadlifatin, R. Analyzing the service quality of E-Trike Operations: A new sustainable transportation infrastructure in Metro Manila, Philippines. Infrastructures 2022, 7, 69. [Google Scholar] [CrossRef]
- Karpurapu, S.; Saikumar, K.; Kocharla, L.; Rao, P.S.; Govathoti, S. Scalable Innovative Factors for Shaping Consumer Intentions on Electric Two-Wheelers Adoptions. Scalable Comput. Pract. Exp. 2024, 25, 4507–4517. [Google Scholar] [CrossRef]
- Trung, N.T.; Urmee, T. Electrifying Vietnam’s streets: Identifying the determinants of electric two-wheelers uptake. Transp. Res. Part D Transp. Environ. 2024, 129, 104116. [Google Scholar] [CrossRef]
- Jaiswal, D.; Kaushal, V.; Kant, R.; Singh, P.K. Consumer adoption intention for electric vehicles: Insights and evidence from Indian sustainable transportation. Technol. Forecast. Soc. Chang. 2021, 173, 121089. [Google Scholar] [CrossRef]
- Bokolo, A.J. Examining the adoption of sustainable eMobility-sharing in smart communities: Diffusion of innovation theory perspective. Smart Cities 2023, 6, 2057–2080. [Google Scholar] [CrossRef]
- Zuev, D.; Zuev, D. Introduction: Towards an understanding of e-bike mobility in China. In Urban Mobility in Modern China; Springer Nature: Berlin/Heidelberg, Germany, 2018; pp. 1–13. [Google Scholar]
- Zabiulla, M.; Sahu, P.K.; Bandhu Majumdar, B. Exploring the factors influencing electric bicycle adoption: A survey among future adopters in India. Transp. Res. Rec. 2024, 2678, 03611981231220565. [Google Scholar] [CrossRef]
- Al-Adwan, A.S. Investigating the drivers and barriers to MOOCs adoption: The perspective of TAM. Educ. Inf. Technol. 2020, 25, 5771–5795. [Google Scholar] [CrossRef]
- Kalayou, M.H.; Endehabtu, B.F.; Tilahun, B. The applicability of the modified technology acceptance model (TAM) on the sustainable adoption of eHealth systems in resource-limited settings. J. Multidiscip. Healthc. 2020, 13, 1827–1837. [Google Scholar] [CrossRef]
- Gumasing, M.J.J.; Ramos, E.D.R.; Corpuz, J.N.C.; Ofianga, A.J.B.; Palad, J.M.R.; Urbina, L.G.B.; Mascariola, M.M.; Ong, A.K.S. Factors Influencing the Adoption of Electric Jeepneys: A Philippine Perspective. World Electr. Veh. J. 2024, 15, 284. [Google Scholar] [CrossRef]
- Kapousizis, G.; Sarker, R.; Ulak, M.B.; Geurs, K. User acceptance of smart e-bikes: What are the influential factors? A cross-country comparison of five European countries. Transp. Res. Part A Policy Pract. 2024, 185, 104106. [Google Scholar] [CrossRef]
- Gumasing, M.J.J.; Ong, A.K.S.; Sy, M.A.P.C.; Prasetyo, Y.T.; Persada, S.F. A machine learning ensemble approach to predicting factors affecting the intention and usage behavior towards online groceries applications in the Philippines. Heliyon 2023, 9, e20644. [Google Scholar] [CrossRef] [PubMed]
- Gumasing, M.J.J.; Carrillo, G.Z.D.V.; Guzman, D.M.A.A.; Suñga, C.A.R.; Tan, S.Y.B.; Mascariolam, M.M.; Ongm, A.K.S. Investigating user-centric factors influencing smartwatch adoption and user experience in the Philippines. Sustainability 2024, 16, 5401. [Google Scholar] [CrossRef]
- Gumasing, M.J.J.; Niro, R.H.A. Antecedents of real estate investment intention among Filipino Millennials and Gen Z: An extended theory of planned behavior. Sustainability 2023, 15, 13714. [Google Scholar] [CrossRef]
- D’Acunto, D. The Future of E-Mobility; Springer Nature: Berlin/Heidelberg, Germany, 2024. [Google Scholar]
- Popov, A.I.; Ravi, Y. Conceptualization of Service Loyalty in Access-Based Services in Micromobility: A Case of e-Scooter Sharing Services. Master’s Thesis, Linköping University, Linköping, Sweden, 2020. [Google Scholar]
- Jaiswal, D.; Kant, R.; Singh, P.K.; Yadav, R. Investigating the role of electric vehicle knowledge in consumer adoption: Evidence from an emerging market. Benchmarking Int. J. 2022, 29, 1027–1045. [Google Scholar] [CrossRef]
- Sharma, H.; Kovid, R.K.; Tewari, A.; Singh, T.P.; Choudhury, T. Would ecological and technological consciousness shape e-vehicle purchase intentions? Insights from an emerging market. Socio-Ecol. Pract. Res. 2024, 6, 55–67. [Google Scholar] [CrossRef]
- Li, R.; Krishna Sinniah, G.; Li, X. The factors influencing resident’s intentions on e-bike sharing usage in China. Sustainability 2022, 14, 5013. [Google Scholar] [CrossRef]
- Zhou, M.; Long, P.; Kong, N.; Zhao, L.; Jia, F.; Campy, K.S. Characterizing the motivational mechanism behind taxi driver’s adoption of electric vehicles for living: Insights from China. Transp. Res. Part A Policy Pract. 2021, 144, 134–152. [Google Scholar] [CrossRef]
- Hussain, S.; Fangwei, Z.; Siddiqi, A.F.; Ali, Z.; Shabbir, M.S. Structural equation model for evaluating factors affecting quality of social infrastructure projects. Sustainability 2018, 10, 1415. [Google Scholar] [CrossRef]
- Celik, I.; Sahin, I.; Aydin, M. Reliability and Validity Study of the Mobile Learning Adoption Scale Developed Based on the Diffusion of Innovations Theory. Online Submiss. 2014, 2, 300–316. [Google Scholar] [CrossRef][Green Version]
- McConnell, E.S.; Corazzini, K.N.; Lekan, D.; Bailey, D.E.; Sloane, R.; Landerman, L.R.; Champagne, M.T. Diffusion of innovations in long-term care measurement battery. Res. Gerontol. Nurs. 2012, 5, 64–76. [Google Scholar] [CrossRef]
- Nehme, E.K.; Perez, A.; Ranjit, N.; Amick, B.C., III; Kohl, H.W., III. Behavioral theory and transportation cycling research: Application of Diffusion of Innovations. J. Transp. Health 2016, 3, 346–356. [Google Scholar] [CrossRef]
- Papadomichelaki, X.; Mentzas, G. e-GovQual: A multiple-item scale for assessing e-government service quality. Gov. Inf. Q. 2012, 29, 98–109. [Google Scholar] [CrossRef]
- Hoque, A.S.M.M. Does government support policy moderate the relationship between entrepreneurial orientation and Bangladeshi SME performance? A SEM approach. Int. J. Bus. Econ. Manag. Stud. 2018, 6, 37–59. [Google Scholar]
- Hess, T.J.; McNab, A.L.; Basoglu, K.A. Reliability generalization of perceived ease of use, perceived usefulness, and behavioral intentions. MIS Q. 2014, 38, 1–28. [Google Scholar] [CrossRef]
- Alsabawy, A.Y.; Cater-Steel, A.; Soar, J. Determinants of perceived usefulness of e-learning systems. Comput. Hum. Behav. 2016, 64, 843–858. [Google Scholar] [CrossRef]
- Kulviwat, S.; Bruner, G.C., II; Al-Shuridah, O. The role of social influence on adoption of high tech innovations: The moderating effect of public/private consumption. J. Bus. Res. 2009, 62, 706–712. [Google Scholar] [CrossRef]
- Sohail, M.T. A PLS-SEM approach to determine farmers’ awareness about climate change mitigation and adaptation strategies: Pathway toward sustainable environment and agricultural productivity. Environ. Sci. Pollut. Res. 2023, 30, 18199–18212. [Google Scholar] [CrossRef] [PubMed]
- Chen, W.; Shi, Y.; Fan, L.; Huang, L.; Gao, J. Influencing factors of public satisfaction with covid-19 prevention services based on structural equation modeling (Sem): A study of Nanjing, China. Int. J. Environ. Res. Public Health 2021, 18, 13281. [Google Scholar] [CrossRef]
- Hair, J.F., Jr.; Matthews, L.M.; Matthews, R.L.; Sarstedt, M. PLS-SEM or CB-SEM: Updated guidelines on which method to use. Int. J. Multivar. Data Anal. 2017, 1, 107–123. [Google Scholar] [CrossRef]
- Ahmad, R.; ul Haq, A. Quantifying the Impact of Measurement Errors in Consistent Linear Partial Least Squares Structural Equation Modelling: A Monte Carlo Investigation. Irasd J. Econ. 2023, 5, 905–923. [Google Scholar] [CrossRef]
- Cheung, G.W.; Cooper-Thomas, H.D.; Lau, R.S.; Wang, L.C. Reporting reliability, convergent and discriminant validity with structural equation modeling: A review and best-practice recommendations. Asia Pac. J. Manag. 2024, 41, 745–783. [Google Scholar] [CrossRef]
- Haji-Othman, Y.; Yusuff, M.S.S. Assessing reliability and validity of attitude construct using partial least squares structural equation modeling. Int. J. Acad. Res. Bus. Soc. Sci. 2022, 12, 378–385. [Google Scholar] [CrossRef] [PubMed]
- Henseler, J.; Ringle, C.M.; Sarstedt, M. A new criterion for assessing discriminant validity in variance-based structural equation modeling. J. Acad. Mark. Sci. 2015, 43, 115–135. [Google Scholar] [CrossRef]
- Lim, W.M. A typology of validity: Content, face, convergent, discriminant, nomological and predictive validity. J. Trade Sci. 2024, 12, 155–179. [Google Scholar] [CrossRef]
- Sathyanarayana, S.; Mohanasundaram, T. Fit indices in structural equation modeling and confirmatory factor analysis: Reporting guidelines. Asian J. Econ. Bus. Account. 2024, 24, 561–577. [Google Scholar]
- Taylor, A. The next generation: Technology adoption and integration through internal competition in new product development. Organ. Sci. 2010, 21, 23–41. [Google Scholar] [CrossRef]
- Wan, Z.; Wang, Y.; Haggerty, N. Why people benefit from e-learning differently: The effects of psychological processes on e-learning outcomes. Inf. Manag. 2008, 45, 513–521. [Google Scholar] [CrossRef]
- Rose, E.J. Investigating Resource-Constrained Populations: Developing Design Approaches to Support Agency and Reciprocity. Ph.D. Thesis, University of Washington, Seattle, WA, USA, 2011. [Google Scholar]
- Hook, K.; Ametaj, A.; Cheng, Y.; Serba, E.G.; Henderson, D.C.; Hanlon, C.; Ng, L.C. Psychotherapy in a resource-constrained setting: Understanding context for adapting and integrating a brief psychological intervention into primary care. Psychotherapy 2021, 58, 557. [Google Scholar] [CrossRef] [PubMed]
- Lazard, A.J.; Watkins, I.; Mackert, M.S.; Xie, B.; Stephens, K.K.; Shalev, H. Design simplicity influences patient portal use: The role of aesthetic evaluations for technology acceptance. J. Am. Med. Inform. Assoc. 2016, 23, e157–e161. [Google Scholar] [CrossRef]
- Lee, J.; Lee, D.; Moon, J.; Park, M.C. Factors affecting the perceived usability of the mobile web portal services: Comparing simplicity with consistency. Inf. Technol. Manag. 2013, 14, 43–57. [Google Scholar] [CrossRef]
- Oluyinka, S.; Cusipag, M. Trialability and purposefulness: Their role towards Google classroom acceptance following educational policy. Acta Inform. Pragensia 2021, 10, 172–191. [Google Scholar] [CrossRef]
- Republic Act No. 9513: Department of Energy Philippines. Republic Act No. 9513|Department of Energy Philippines. (n.d.). Available online: https://doe.gov.ph/sites/default/files/pdf/issuances/20081216-ra-09513-gma.pdf (accessed on 23 January 2025).
- McCann, L.; Gedikoglu, H.; Broz, B.; Lory, J.; Massey, R. Effects of observability and complexity on farmers’ adoption of environmental practices. J. Environ. Plan. Manag. 2015, 58, 1346–1362. [Google Scholar] [CrossRef]
- Corti, F.; Iacono, S.D.; Astolfi, D.; Pasetti, M.; Vasile, A.; Reatti, A.; Flammini, A. A comprehensive review of charging infrastructure for Electric Micromobility Vehicles: Technologies and challenges. Energy Rep. 2024, 12, 545–567. [Google Scholar] [CrossRef]
- Reggiani, G.; Salomons, A.M.; Sterk, M.; Yuan, Y.; O’Hern, S.; Daamen, W.; Hoogendoorn, S. Bicycle network needs, solutions, and data collection systems: A theoretical framework and case studies. Case Stud. Transp. Policy 2022, 10, 927–939. [Google Scholar] [CrossRef]
- Pucher, J.; Buehler, R. Making cycling irresistible: Lessons from the Netherlands, Denmark and Germany. Transp. Rev. 2008, 28, 495–528. [Google Scholar] [CrossRef]
- Yasir, A.; Hu, X.; Ahmad, M.; Alvarado, R.; Anser, M.K.; Işık, C.; Choo, A.; Ausaf, A.; Khan, I.A. Factors affecting electric bike adoption: Seeking an energy-efficient solution for the post-COVID era. Front. Energy Res. 2022, 9, 817107. [Google Scholar] [CrossRef]
- Ajzen, I. The theory of planned behavior: Frequently asked questions. Hum. Behav. Emerg. Technol. 2020, 2, 314–324. [Google Scholar] [CrossRef]
- Moore, G.C.; Benbasat, I. Development of an instrument to measure the perceptions of adopting an information technology innovation. Inf. Syst. Res. 1991, 2, 192–222. [Google Scholar] [CrossRef]
- Taylor, S.; Todd, P.A. Understanding information technology usage: A test of competing models. Inf. Syst. Res. 1995, 6, 144–176. [Google Scholar] [CrossRef]
- Pojani, D.; Stead, D. Sustainable urban transport in the developing world: Beyond megacities. Sustainability 2015, 7, 7784–7805. [Google Scholar] [CrossRef]



| Construct | Items | Measures | References |
|---|---|---|---|
| Relative Advantage (RA) | RA1 | Using an e-bike saves me time compared to other transportation modes. | [57,58,59] |
| RA2 | E-bikes are more cost-effective than other modes of transportation. | ||
| RA3 | E-bikes contribute to reducing environmental pollution. | ||
| RA4 | E-bikes offer greater convenience for daily commuting. | ||
| Complexity (CO) | CO1 | Learning to use an e-bike is difficult for me. | [57,58,59] |
| CO2 | Operating an e-bike seems complicated. | ||
| CO3 | Maintaining an e-bike requires too much effort. | ||
| CO4 | Charging and managing an e-bike’s battery is challenging. | ||
| Trialability (TR) | TR1 | I can easily try an e-bike before making a purchase decision. | [57,58,59] |
| TR2 | I have the opportunity to test an e-bike to see if it meets my needs. | ||
| TR3 | Experimenting with an e-bike would help me decide whether to adopt it. | ||
| TR4 | Trying an e-bike reduces the risks of making the wrong purchase. | ||
| Observability (OB) | OB1 | I often see other people using e-bikes effectively. | [57,58,59] |
| OB2 | The benefits of using an e-bike are visible to me. | ||
| OB3 | I can observe how others enjoy the convenience of e-bikes. | ||
| OB4 | The effectiveness of e-bikes is easy to notice in my community. | ||
| Perceived Compatibility (PC) | PC1 | E-bikes fit well with my lifestyle and commuting habits. | [57,58,59] |
| PC2 | Using an e-bike is compatible with my values and priorities. | ||
| PC3 | E-bikes align with my transportation needs. | ||
| PC4 | E-bikes suit my cultural and social preferences. | ||
| Government Policies (GP) | GP1 | Subsidies or incentives make e-bikes more appealing to me. | [60,61] |
| GP2 | Government regulations encourage the use of e-bikes. | ||
| GP3 | Policies supporting sustainable transportation influence my interest in e-bikes. | ||
| GP4 | Tax benefits or financial aid increase my likelihood of adopting an e-bike. | ||
| Infrastructure (IF) | IF1 | Bike lanes make it easier for me to consider using an e-bike. | [60,61] |
| IF2 | The availability of charging stations makes e-bike usage convenient. | ||
| IF3 | Safe parking spaces for e-bikes encourage me to use them. | ||
| IF4 | Proper infrastructure supports my decision to adopt an e-bike. | ||
| Perceived Usefulness (PU) | PU1 | Using an e-bike would improve my commuting efficiency. | [62,63] |
| PU2 | E-bikes would enhance my overall transportation experience. | ||
| PU3 | E-bikes would reduce the stress of daily commuting. | ||
| PU4 | E-bikes are beneficial for my transportation needs. | ||
| Perceived Ease of Use (PEOU) | PEOU1 | I find e-bikes easy to use. | [62,63] |
| PEOU2 | Using an e-bike would require minimal effort. | ||
| PEOU3 | Learning to operate an e-bike would be straightforward. | ||
| PEOU4 | It would be simple to maintain and manage an e-bike. | ||
| Social Influence (SI) | SI1 | My friends or family members encourage me to use an e-bike. | [48,49,64] |
| SI2 | People in my community support the use of e-bikes. | ||
| SI3 | Positive opinions about e-bikes influence my interest in using them. | ||
| SI4 | Peer pressure motivates me to consider e-bikes as a transportation option. | ||
| Public Awareness (PA) | PA1 | Campaigns promoting e-bikes inform me of their benefits. | [65,66] |
| PA2 | I am aware of how e-bikes contribute to environmental sustainability. | ||
| PA3 | Public information has influenced my interest in e-bikes. | ||
| PA4 | Awareness programs help me understand the advantages of e-bikes. | ||
| Behavioral Intention (BI) | BI1 | I intend to use an e-bike in the future. | [47,48,49] |
| BI2 | I would actively recommend e-bikes to others. | ||
| BI3 | I plan to incorporate e-bikes into my daily transportation routine. | ||
| BI4 | I am likely to adopt an e-bike soon. | ||
| Usage Behavior (UB) | UB1 | I regularly use an e-bike for commuting or leisure. | [47,48,49] |
| UB2 | I actively integrate e-bikes into my daily transportation habits. | ||
| UB3 | I have replaced other modes of transportation with an e-bike. | ||
| UB4 | I frequently use an e-bike for short-distance travel. |
| Category | Sub-Category | Percentage |
|---|---|---|
| Age | 18–24 | 15% |
| 25–34 | 45% | |
| 35–44 | 30% | |
| 45 and above | 10% | |
| Gender | Male | 55% |
| Female | 45% | |
| Employment Status | Full time employed | 60% |
| Part time/self-employed | 10% | |
| Retirees/unemployed | 10% | |
| Student | 20% | |
| Income Level/ Allowances | Below Php 20,000 | 30% |
| Php 20,000–40,000 | 20% | |
| Php 40,000–60,000 | 40% | |
| Php 60,000 above | 10% | |
| E-Bike Familiarity | Users | 30% |
| Non-users but familiar | 40% | |
| Non-users and unfamiliar | 30% |
| Construct | Item | Mean | S.D. | F.L. (≥0.7) | α (≥0.7) | C.R. (≥0.7) | A.V.E. (≥0.5) |
|---|---|---|---|---|---|---|---|
| Relative Advantage (RA) | RA1 | 3.31 | 1.07 | 0.88 | 0.916 | 0.897 | 0.685 |
| RA2 | 3.20 | 1.08 | 0.79 | ||||
| RA3 | 3.59 | 1.05 | 0.81 | ||||
| RA4 | 3.72 | 0.97 | 0.83 | ||||
| Complexity (CO) | CO1 | 3.54 | 1.06 | 0.86 | 0.931 | 0.927 | 0.761 |
| CO2 | 3.55 | 1.08 | 0.88 | ||||
| CO3 | 3.87 | 0.92 | 0.87 | ||||
| CO4 | 3.82 | 1.09 | 0.88 | ||||
| Trialability (TR) | TR1 | 3.94 | 1.05 | 0.86 | 0.891 | 0.872 | 0.630 |
| TR2 | 3.93 | 1.16 | 0.81 | ||||
| TR3 | 3.74 | 1.13 | 0.77 | ||||
| TR4 | 3.68 | 1.09 | 0.73 | ||||
| Observability (OB) | OB1 | 3.69 | 1.04 | 0.91 | 0.951 | 0.943 | 0.806 |
| OB2 | 3.79 | 0.95 | 0.88 | ||||
| OB3 | 3.66 | 0.91 | 0.92 | ||||
| OB4 | 3.62 | 1.09 | 0.88 | ||||
| Perceived Compatibility (PC) | PC1 | 3.56 | 1.02 | 0.79 | 0.880 | 0.873 | 0.632 |
| PC2 | 4.11 | 1.23 | 0.78 | ||||
| PC3 | 3.90 | 1.01 | 0.81 | ||||
| PC4 | 3.83 | 1.02 | 0.80 | ||||
| Government Policies (GP) | GP1 | 3.72 | 1.06 | 0.89 | 0.931 | 0.911 | 0.719 |
| GP2 | 3.85 | 1.07 | 0.86 | ||||
| GP3 | 3.27 | 1.09 | 0.84 | ||||
| GP4 | 3.41 | 1.02 | 0.80 | ||||
| Infrastructure (IF) | IF1 | 3.53 | 1.06 | 0.84 | 0.920 | 0.913 | 0.723 |
| IF2 | 3.23 | 1.06 | 0.86 | ||||
| IF3 | 3.64 | 0.91 | 0.87 | ||||
| IF4 | 3.58 | 1.08 | 0.83 | ||||
| Perceived Usefulness (PU) | PU1 | 3.49 | 1.03 | 0.81 | 0.932 | 0.904 | 0.701 |
| PU2 | 3.47 | 0.94 | 0.83 | ||||
| PU3 | 3.69 | 1.01 | 0.85 | ||||
| PU4 | 3.56 | 1.03 | 0.86 | ||||
| Perceived Ease of Use (PEOU) | PEOU1 | 3.55 | 1.13 | 0.88 | 0.931 | 0.919 | 0.740 |
| PEOU2 | 3.88 | 1.19 | 0.85 | ||||
| PEOU33 | 3.59 | 1.02 | 0.85 | ||||
| PEOU4 | 3.40 | 1.04 | 0.86 | ||||
| Social Influence (SI) | SI1 | 3.58 | 1.02 | 0.81 | 0.891 | 0.877 | 0.640 |
| SI2 | 3.49 | 1.08 | 0.78 | ||||
| SI3 | 3.27 | 1.06 | 0.82 | ||||
| SI4 | 3.68 | 0.91 | 0.79 | ||||
| Public Awareness | PA1 | 3.56 | 1.02 | 0.89 | 0.944 | 0.926 | 0.757 |
| PA2 | 3.47 | 1.06 | 0.87 | ||||
| PA3 | 3.49 | 0.91 | 0.84 | ||||
| PA4 | 3.67 | 1.03 | 0.88 | ||||
| Behavioral Intention (BI) | BI1 | 3.54 | 1.06 | 0.92 | 0.931 | 0.922 | 0.750 |
| BI2 | 3.48 | 1.01 | 0.88 | ||||
| BI3 | 3.49 | 0.98 | 0.85 | ||||
| BI4 | 3.65 | 1.02 | 0.81 | ||||
| Usage Behavior (UB) | UB1 | 3.56 | 1.02 | 0.92 | 0.952 | 0.940 | 0.770 |
| UB2 | 3.47 | 1.01 | 0.88 | ||||
| UB3 | 3.48 | 0.97 | 0.87 | ||||
| UB4 | 3.64 | 1.06 | 0.90 |
| BI | CO | GP | IF | OB | PA | PC | PEOU | PU | RA | SI | TR | UB | |
|---|---|---|---|---|---|---|---|---|---|---|---|---|---|
| BI | 0.866 | ||||||||||||
| CO | 0.450 | 0.873 | |||||||||||
| GP | 0.165 | 0.348 | 0.848 | ||||||||||
| IF | 0.408 | 0.331 | 0.211 | 0.850 | |||||||||
| OB | 0.400 | 0.212 | 0.201 | 0.240 | 0.898 | ||||||||
| PA | 0.561 | 0.256 | 0.431 | 0.384 | 0.175 | 0.870 | |||||||
| PC | 0.601 | 0.781 | 0.751 | 0.432 | 0.321 | 0.561 | 0.795 | ||||||
| PEOU | 0.510 | 0.623 | 0.654 | 0.825 | 0.123 | 0.389 | 0.667 | 0.860 | |||||
| PU | 0.437 | 0.531 | 0.565 | 0.653 | 0.708 | 0.199 | 0.811 | 0.781 | 0.838 | ||||
| RA | 0.576 | 0.656 | 0.640 | 0.673 | 0.497 | 0.727 | 0.786 | 0.657 | 0.560 | 0.873 | |||
| SI | 0.448 | 0.611 | 0.527 | 0.446 | 0.329 | 0.585 | 0.752 | 0.711 | 0.611 | 0.711 | 0.800 | ||
| TR | 0.491 | 0.720 | 0.608 | 0.698 | 0.526 | 0.676 | 0.575 | 0.544 | 0.571 | 0.723 | 0.321 | 0.794 | |
| UB | 0.487 | 0.690 | 0.681 | 0.675 | 0.600 | 0.657 | 0.473 | 0.632 | 0.452 | 0.432 | 0.455 | 0.541 | 0.893 |
| BI | CO | GP | IF | OB | PA | PC | PEOU | PU | RA | SI | TR | UB | |
|---|---|---|---|---|---|---|---|---|---|---|---|---|---|
| BI | |||||||||||||
| CO | 0.486 | ||||||||||||
| GP | 0.325 | 0.410 | |||||||||||
| IF | 0.433 | 0.381 | 0.525 | ||||||||||
| OB | 0.558 | 0.212 | 0.650 | 0.643 | |||||||||
| PA | 0.458 | 0.233 | 0.501 | 0.674 | 0.402 | ||||||||
| PC | 0.346 | 0.322 | 0.419 | 0.507 | 0.465 | 0.622 | |||||||
| PEOU | 0.206 | 0.513 | 0.339 | 0.510 | 0.576 | 0.528 | 0.427 | ||||||
| PU | 0.324 | 0.634 | 0.416 | 0.434 | 0.659 | 0.685 | 0.293 | 0.320 | |||||
| RA | 0.330 | 0.416 | 0.245 | 0.519 | 0.471 | 0.334 | 0.447 | 0.202 | 0.411 | ||||
| SI | 0.216 | 0.459 | 0.404 | 0.310 | 0.376 | 0.376 | 0.376 | 0.476 | 0.276 | 0.376 | |||
| TR | 0.486 | 0.604 | 0.521 | 0.334 | 0.259 | 0.359 | 0.559 | 0.359 | 0.359 | 0.359 | 0.459 | ||
| UB | 0.525 | 0.610 | 0.406 | 0.219 | 0.371 | 0.471 | 0.471 | 0.371 | 0.471 | 0.271 | 0.371 | 0.341 |
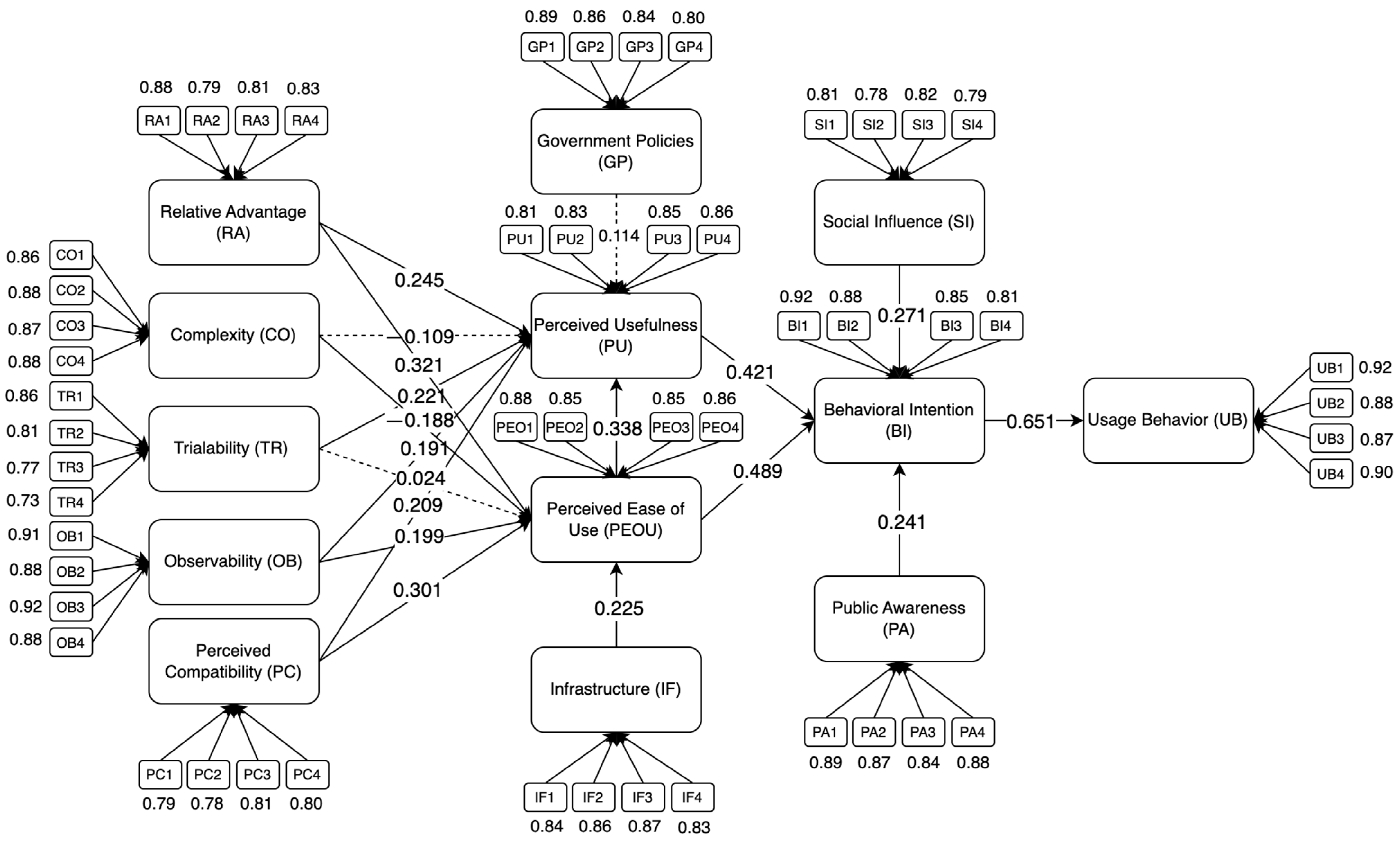
| No | Relationship | Beta Coefficient | p-Value | Result | Significance | Hypothesis |
|---|---|---|---|---|---|---|
| 1 | RA→PU | 0.246 | <0.001 | Positive | Significant | Do not reject |
| 2 | RA→PEOU | 0.322 | 0.001 | Positive | Significant | Do not reject |
| 3 | CO→PU | −0.109 | 0.511 | Negative | Not Significant | Reject |
| 4 | CO→PEOU | −0.188 | 0.031 | Positive | Significant | Do not reject |
| 5 | TR→PU | 0.221 | 0.002 | Positive | Significant | Do not reject |
| 6 | TR→PEOU | 0.024 | 0.241 | Positive | Not Significant | Reject |
| 7 | OB→PU | 0.192 | 0.041 | Positive | Significant | Do not reject |
| 8 | OB→PEOU | 0.201 | 0.002 | Positive | Significant | Do not reject |
| 9 | PC→PU | 0.211 | 0.003 | Positive | Significant | Do not reject |
| 10 | PC→PEOU | 0.302 | <0.001 | Positive | Significant | Do not reject |
| 11 | GP→PU | 0.114 | 0.401 | Positive | Not Significant | Reject |
| 12 | IF→PEOU | 0.225 | 0.003 | Positive | Significant | Do not reject |
| 13 | PEOU→PU | 0.339 | 0.001 | Positive | Significant | Do not reject |
| 14 | PU→BI | 0.423 | <0.001 | Positive | Significant | Do not reject |
| 15 | PEOU→BI | 0.489 | <0.001 | Positive | Significant | Do not reject |
| 16 | SI→BI | 0.272 | 0.002 | Positive | Significant | Do not reject |
| 17 | PA→BI | 0.244 | 0.003 | Positive | Significant | Do not reject |
| 18 | BI→UB | 0.653 | <0.001 | Positive | Significant | Do not reject |
Disclaimer/Publisher’s Note: The statements, opinions and data contained in all publications are solely those of the individual author(s) and contributor(s) and not of MDPI and/or the editor(s). MDPI and/or the editor(s) disclaim responsibility for any injury to people or property resulting from any ideas, methods, instructions or products referred to in the content. |
© 2025 by the author. Published by MDPI on behalf of the World Electric Vehicle Association. Licensee MDPI, Basel, Switzerland. This article is an open access article distributed under the terms and conditions of the Creative Commons Attribution (CC BY) license (https://creativecommons.org/licenses/by/4.0/).
Share and Cite
Gumasing, M.J.J. Exploring Factors Influencing E-Bike Adoption Among Filipino Commuters: An Integrated Diffusion of Innovation and Technology Acceptance Model. World Electr. Veh. J. 2025, 16, 113. https://doi.org/10.3390/wevj16020113
Gumasing MJJ. Exploring Factors Influencing E-Bike Adoption Among Filipino Commuters: An Integrated Diffusion of Innovation and Technology Acceptance Model. World Electric Vehicle Journal. 2025; 16(2):113. https://doi.org/10.3390/wevj16020113
Chicago/Turabian StyleGumasing, Ma. Janice J. 2025. "Exploring Factors Influencing E-Bike Adoption Among Filipino Commuters: An Integrated Diffusion of Innovation and Technology Acceptance Model" World Electric Vehicle Journal 16, no. 2: 113. https://doi.org/10.3390/wevj16020113
APA StyleGumasing, M. J. J. (2025). Exploring Factors Influencing E-Bike Adoption Among Filipino Commuters: An Integrated Diffusion of Innovation and Technology Acceptance Model. World Electric Vehicle Journal, 16(2), 113. https://doi.org/10.3390/wevj16020113
