Study on Mechanical Behavior of Hollow-Core Slab Bridge with Pinned Reinforcement
Abstract
1. Introduction
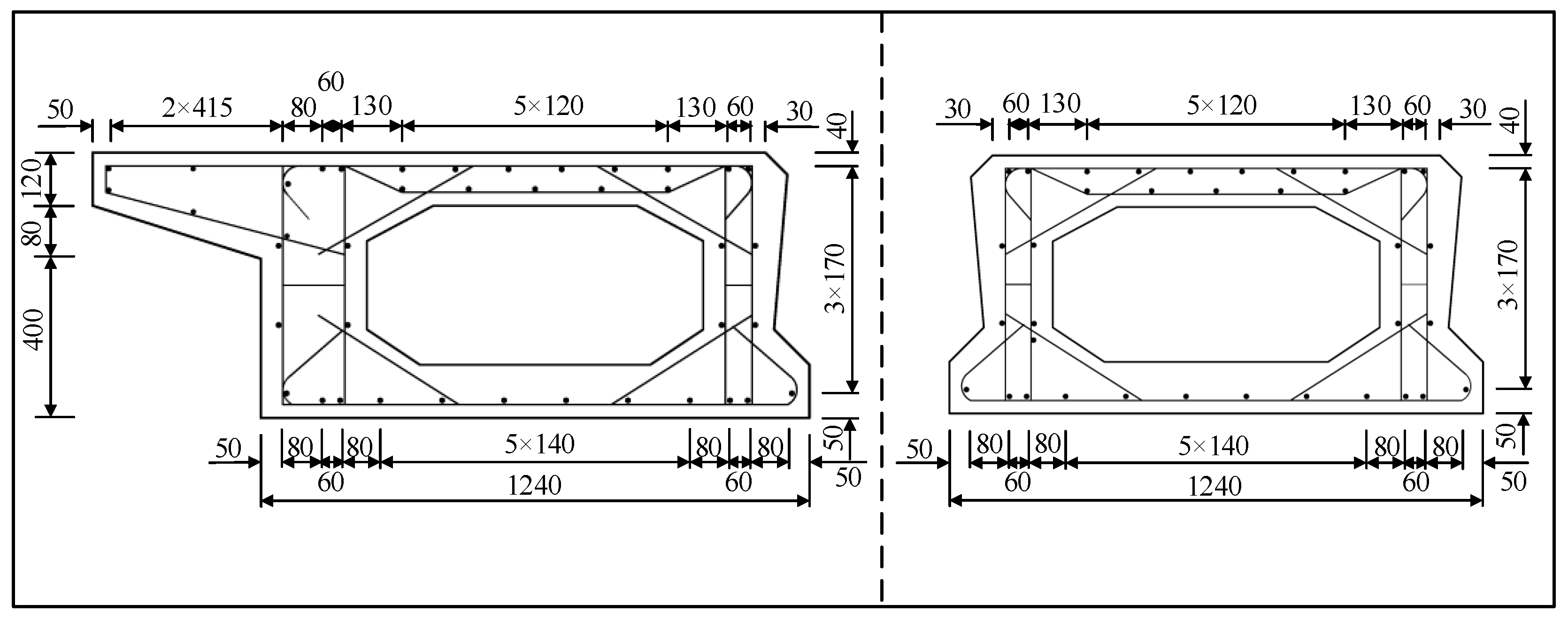
2. Experimental Program of Specimens
2.1. Specimens Design
2.2. Test Procedure
2.3. Experimental Results
3. Numerical Analyses of Specimens
3.1. FE Model
3.2. Ontogenetic Relationship of Materials
3.2.1. Concrete
3.2.2. Reinforcement
3.2.3. Interface
3.3. Comparison of Experimental Results and Analysis Results
4. Numerical Analyses of Bridges
4.1. FE Model
4.2. Material Parameters
4.3. Result of Simulation
4.3.1. Hollow-Core Slab Bridges with Conventional Reinforcement
4.3.2. Hollow-Core Slab Bridges with Pinned Reinforcement and Grooves
4.4. Comparison of Different Bridges
4.4.1. Bearing Capacity and Failure Mode
4.4.2. Reinforcement Stress
4.4.3. Relative Displacement
4.4.4. Interface Crack Height and Width
5. Conclusions
- (1)
- The failure of the static load test and finite element analysis of the beam with deep joints is the cracking of the interface between the joint and the loaded segment. With the load increase, the cracking extends to the bottom of the pavement layer. According to the cracking situation, the force transmission mechanism of the joint can be divided into two stages: the uncracked stage and the cracked stage. In the uncracked stage, the joint surface mainly transfers load, and the stress of the tensile reinforcement at this position is minor. In the cracked stage, the bonding force of the joint surface at the cracking location disappears, and the bonding force between the reinforcement and concrete and the reaction force of the concrete column jointly transfer the load.
- (2)
- Compared with the results of finite element analysis and statical load test, the stress and relative deflection of reinforcement are the same, and the maximum error of load penetrating crack is 12.2%. The failure of the finite element model is mainly the cracking of the interface between the joint and the hollow-core slab. Before the crack penetration load, the joint surface presents the stress distribution of tension in the lower part and compression in the upper part, and the height of the tension zone increases gradually with the increase in load.
- (3)
- A finite element model of a 10 m span assembled hollow-core slab bridge is established using material parameters of the beam segment with deep joint to study the bridge’s force transfer performance and damage evolution. The results show that the failure of hollow-core slab bridge starts from the joint interface at the load location, and with the load increase, the damage to the joint appears, and the damage range of convention reinforcement hollow-core slab bridge under ultimate load is 3–7 m. The cracking develops along the height and longitudinal directions with the load increase, and the cracking height can reach 600 mm. The cracking length of the convention reinforcement joint and pinned reinforcement joint hollow-core slab bridge can get 4 and 2 m. The damage to the joint interface is most profound at the load location, where the interface cracking height, crack width, and relative deflection are the largest, and they decrease with the increase of distance from the load location. The stress of the tensile reinforcement in the hinge joint shows a trend of rapid growth, slow growth, and growth with the load increase.
- (4)
- Analysis of the bearing capacity, joint reinforcement stress, relative deflection, cracking height, and crack width of hollow-core slab bridges with different joints shows that the pinned reinforcement bridges have better mechanical behavior, and the ultimate load is increased by 62.79% compared with the conventional reinforcement bridges. Compared with the conventional reinforcement hollow slab bridge, when the load reached 400 kN, the stress and relative deflection of the pin-connected steel hollow slab bridge hinge joint tensioned reinforcement decreased by 96.77% and 97.58%, respectively; when the hollow slab bridge hinge joint interface cracking height developed to 600 mm, the load of the pin-connected steel hollow slab bridge increased by 34.88%; when the crack width reaches 0.01 mm, its load increases by 40.74%. Therefore, the hinge joint form of pin jointed reinforcement with groove can improve the interface bond, delay the development of hinge joint interface cracks, enhance the transverse force transfer performance of the hinge joint and the integrity of the hollow slab bridge, and then improve the force performance of the hollow slab bridge.
- (5)
- In fact, we do not find suitable results from other scholars to compare. In our subsequent study, we will continue to investigate the mechanical properties of other forms of hollow slab bridges and analyze them in comparison with the two bridges in this paper. Meanwhile, it is challenging to conduct load tests due to the large size of full-size bridges, so this study needs tests for full-size bridges. We will complete this work in a future study.
Author Contributions
Funding
Institutional Review Board Statement
Informed Consent Statement
Data Availability Statement
Conflicts of Interest
References
- Zhao, Y.; Cao, X.; Zhou, Y.; Wang, G.; Tian, R. Lateral Load Distribution for Hollow Slab Bridge: Field Test Investigation. Int. J. Concr. Struct. Mater. 2020, 14, 22. [Google Scholar] [CrossRef]
- Liu, H.; Wang, X.; Tan, G.; He, X.; Luo, G. System Reliability Evaluation of Prefabricated RC Hollow Slab Bridges Considering Hinge Joint Damage Based on Modified AHP. Appl. Sci. 2019, 9, 4841. [Google Scholar] [CrossRef]
- Jiang, C.; Xiong, W.; Wang, Z.; Cai, C.; Yang, J. Transverse Connectivity and Durability Evaluation of Hollow Slab Bridges Using Surface Damage and Neural Networks: Field Test Investigation. Appl. Sci. 2023, 13, 4851. [Google Scholar] [CrossRef]
- Hällmark, R.; White, H.; Collin, P. Prefabricated Bridge Construction across Europe and America. Practice Periodical on Structural Design and Construction. Pract. Period. Struct. Des. Constr. 2012, 17, 82–92. [Google Scholar] [CrossRef]
- Mcdermott, M.R. Shear Capacity of Hollow-Core Slabs with Concrete Filled Cores. Ph.D. Thesis, University of Minnesota, Minneapolis, MN, USA, 2018. [Google Scholar]
- Martucci, D.; Civera, M.; Surace, C. Bridge monitoring: Application of the extreme function theory for damage detection on the I-40 case study. Eng. Struct. 2023, 279, 115573. [Google Scholar] [CrossRef]
- Wang, F.M.; Kang, S.Z.; Cai, Y.C.; Li, X.L. Destructive test study of a prestressed concrete hollow slab beam bridge. In Condition, Reliability, and Resilience Assessment of Tunnels and Bridges; ASCE: Reston, VA, USA, 2011; pp. 57–64. [Google Scholar]
- Hussein, H.H.; Sargand, S.M.; Khoury, I. Field investigation of ultra-high performance concrete shear key in an adjacent box-girder bridge. Struct. Infrastruct. Eng. 2019, 15, 663–678. [Google Scholar] [CrossRef]
- Dan, D.; Zhao, Y.; Wen, X.; Jia, P. Evaluation of lateral cooperative working performance of assembled beam bridge based on the index of strain correlation coefficient. Adv. Struct. Eng. 2018, 22, 1062–1072. [Google Scholar] [CrossRef]
- Zhang, J.; Yi, T.H.; Qu, C.X.; Li, H.N. Detecting Hinge Joint Damage in Hollow Slab Bridges Using Mode Shapes Extracted from Vehicle Response. J. Perform. Constr. Facil. 2022, 36, 4021109. [Google Scholar] [CrossRef]
- Zhang, J.Q.; Leng, Y.L.; Cheng, S.S.; He, H.F. Numerical Analysis on Changing Regularity of Transverse Load Distributions with Different Crack Lengthens of Plate-Girder Hinge Joint. J. Highw. Transp. Res. Dev. 2014, 8, 40–44. [Google Scholar] [CrossRef]
- Jin, H.; Jiang, H.; Jiang, R.; Zhan, H.; Xu, Y. Strengthening Hollow Core Concrete Bridges with Deficient Transverse Hinge Joints with a Steel and Concrete Composite Anchorage System. Transp. Res. Rec. 2020, 2674, 68–78. [Google Scholar] [CrossRef]
- Brunesi, E.; Bolognini, D.; Nascimbene, R. Evaluation of the shear capacity of precast-prestressed hollow core slabs: Numerical and experimental comparisons. Mater. Struct. 2015, 48, 1503–1521. [Google Scholar] [CrossRef]
- Zhao, S.F. Disease Mechanism Analysis on Hinge Joints of Assembly Type Hollow Plate Girder Bridge and Prevention Measures. J. China Harb. Eng. 2010, 4, 15–17. (In Chinese) [Google Scholar]
- He, W.; He, R.; Zhao, S. Analysis of integral loading properties of assembled prestressed concrete hollow slab bridge affected by hinge concrete. In Design, Construction, Rehabilitation, and Maintenance of Bridges; ASCE: Reston, VA, USA, 2011; pp. 144–150. [Google Scholar]
- Barbieri, D.M.; Chen, Y.; Mazzarolo, E.; Briseghella, B.; Tarantino, A.M. Longitudinal Joint Performance of a Concrete Hollow Core Slab Bridge. Transp. Res. Rec. J. Transp. Res. Board 2018, 41, 863081195. [Google Scholar] [CrossRef]
- Liu, J.; Jing, T.; Qiu, T. Influnence of Bridge Deck Pavement and Hinge Joints Damage on Transverse Load distribution of Void Slab Bridge. In Proceedings of the 2016 International Conference on Civil, Transportation and Environment, Guangzhou, China, 30–31 January 2016. [Google Scholar]
- Di, J.; Sun, Y.; Yu, K.; Liu, L.; Qin, F. Experimental investigation of shear performance of existing PC hollow slab. Eng. Struct. 2020, 211, 110451. [Google Scholar] [CrossRef]
- Liu, L.; Wang, L.; Xiao, Z. Comparison of flexural capacity of different hollow slab beams with/without pavement layer reinforced by steel plates. Multidiscip. Model. Mater. Struct. 2022, 18, 95–110. [Google Scholar] [CrossRef]
- Zhu, P.; Ma, Z.J.; Cao, Q.; French, C.E. Fatigue evaluation of transverse U-bar joint details for accelerated bridge construction. J. Bridge Eng. 2012, 17, 191–200. [Google Scholar] [CrossRef]
- Yuan, J.; Graybeal, B. 019 Full-scale testing of shear key details for precast concrete box-beam bridges. J. Bridge Eng. 2016, 21, 4016043. [Google Scholar] [CrossRef]
- Li, L.; Ma, Z.; Griffey, M.E.; Oesterle, R.G. Improved longitudinal joint details in decked bulb tees for accelerated bridge construction: Concept development. J. Bridge Eng. 2010, 15, 327–336. [Google Scholar] [CrossRef]
- Hanna, K.E.; Morcous, G.; Tadros, M.K. Adjacent box girders without internal diaphragms or posttensioned joints. PCI J. 2011, 56, 51–64. [Google Scholar] [CrossRef]
- Ye, J.; Liu, J.; Yu, B.; Fu, Y.X. Experiment on Shear Property of Hinge Joints of Concrete Hollow Slab. J. Highw. Transp. Res. Dev. 2013, 30, 33–39. (In Chinese) [Google Scholar]
- Tang, X.X.; Xu, Y.; Zou, C.J.; Chen, F. Numerical Analysis of Reasonable Hinge Joints Size of Reinforced Concrete Hinged Plates. Adv. Mater. Res. 2011, 163–167, 1180–1185. [Google Scholar] [CrossRef]
- Tang, X.X.; Xu, Y.; Xu, Z.; Li, L.L. Experimental Study of Ultimate Bearing Capacity of Hinged Plates with Different Configuration Hinge Joints. Adv. Mater. Res. 2011, 163–167, 1186–1191. [Google Scholar] [CrossRef]
- Yuan, Z.H.; Ma, C.; Yang, S.Y.; Wang, P.Z. Performance Study of RC Hollow Core Slab with Cracks Based on Extended Finite Element Method (XFEM). In CICTP 2020; ASCE: Reston, VA, USA, 2020; pp. 1106–1118. [Google Scholar]
- Xiang, C.S.; Dang, C.; Zhou, Y. Hinge Joint Damage Identification Method of Hollow Slab Bridge based on Hinge Joint Damage Degree. J. Disaster Prev. Mitig. Eng. 2022, 42, 99–109. (In Chinese) [Google Scholar]
- Moreno-Padilla, V.; Albajar-Molera, L. Short span prestressed hollow core slabs bridge decks modeling. Inf. Constr. 2014, 66, m009. [Google Scholar] [CrossRef]
- Dan, D.; Xu, Z.; Zhang, K.; Yan, X. Monitoring index of transverse collaborative working performance of assembled beam bridges based on transverse modal shape. Int. J. Struct. Stab. Dyn. 2019, 19, 1950086. [Google Scholar] [CrossRef]
- Gui, S.R.; Liu, L.; Wan, S. Effect of Simplified Modeling Method on Mechanical Performance of Hollow Slab Bridge. J. Highw. Transp. Res. Dev. 2014, 31, 50–57, 66. (In Chinese) [Google Scholar]
- Chen, J.H.; Li, X.; Zhu, Q.; Bian, H.W.; Dong, X. Experimental research on mechanical behavior and strengthening technologies of joints in hollow-core slab bridge. Structures 2023, 49, 223–239. [Google Scholar] [CrossRef]
- Zhang, Y.; Zhao, B.; Li, R.; Du, X. Monotonic and low cycle fatigue testing and research for HRB400 steel. Eng. Mech. 2016, 33, 121–129. (In Chinese) [Google Scholar]
- Huang, W.K.; Wu, Q.X.; Wang, Q. Mechanical property of improved hinge joint junction surface in prefabricated voided slab bridge. J. Traffic Transp. Eng. 2022, 22, 169–181. (In Chinese) [Google Scholar]





























| Parameter | Elastic Modulus (N/mm2) | Poisson’s Ratio | Expansion Angle | Eccentricity | fb/fc | Kc | Sticky Parameters |
|---|---|---|---|---|---|---|---|
| Value | 29,791 | 0.20 | 30 | 0.10 | 1.10 | 0.67 | 0.0001 |
| Parameter | Elastic Modulus (N/mm2) | Poisson’s Ratio | Bulk Density (N/mm3) | Damping Ratio |
|---|---|---|---|---|
| Value | 200,000 | 0.30 | 7.698 × 10−5 | 0.01 |
| Specimens | Cracking Load (kN) | Crack Penetration Load (kN) | Ultimate Load (kN) | ||||
|---|---|---|---|---|---|---|---|
| Experimental Results | Analysis Results | Error | Experimental Results | Analysis Results | Error | Analysis Results | |
| SCM | 130 | 60 | 2.17 | 205 | 230 | 0.89 | 380 |
| SPH | 180 | 120 | 1.50 | 280 | 300 | 0.93 | 640 |
| Average value | - | - | 1.8 | - | - | 0.91 | - |
| Standard deviation | - | - | 0.3 | - | - | 0.02 | - |
| Coefficient of variation | - | - | 0.3 | - | - | 0.03 | - |
| Bridge | Joint Form | Normal Stiffness Modulus (N/mm3) | Tangential Stiffness Modulus (N/mm3) | Tensile Strength (N/mm2) | Fracture Energy (N/mm) |
|---|---|---|---|---|---|
| BCM | Conventional reinforcement | 15,000 | 150 | 1.20 | 0.72 |
| BPH | Pinned reinforcement and grooves | 15,000 | 150 | 0.25 | 0.72 |
| Bridge | Joint Form | Cracking Load (kN) | Ultimate Load (kN) |
|---|---|---|---|
| BCM | Conventional reinforcement | 140 | 430 |
| BPH | Pinned reinforcement and grooves | 180 | 680 |
Disclaimer/Publisher’s Note: The statements, opinions and data contained in all publications are solely those of the individual author(s) and contributor(s) and not of MDPI and/or the editor(s). MDPI and/or the editor(s) disclaim responsibility for any injury to people or property resulting from any ideas, methods, instructions or products referred to in the content. |
© 2023 by the authors. Licensee MDPI, Basel, Switzerland. This article is an open access article distributed under the terms and conditions of the Creative Commons Attribution (CC BY) license (https://creativecommons.org/licenses/by/4.0/).
Share and Cite
Chen, J.; Li, X.; Zhu, Q. Study on Mechanical Behavior of Hollow-Core Slab Bridge with Pinned Reinforcement. Materials 2023, 16, 4949. https://doi.org/10.3390/ma16144949
Chen J, Li X, Zhu Q. Study on Mechanical Behavior of Hollow-Core Slab Bridge with Pinned Reinforcement. Materials. 2023; 16(14):4949. https://doi.org/10.3390/ma16144949
Chicago/Turabian StyleChen, Jihao, Xin Li, and Qian Zhu. 2023. "Study on Mechanical Behavior of Hollow-Core Slab Bridge with Pinned Reinforcement" Materials 16, no. 14: 4949. https://doi.org/10.3390/ma16144949
APA StyleChen, J., Li, X., & Zhu, Q. (2023). Study on Mechanical Behavior of Hollow-Core Slab Bridge with Pinned Reinforcement. Materials, 16(14), 4949. https://doi.org/10.3390/ma16144949

