Hydrogen Production from the LOHC Perhydro-Dibenzyl-Toluene and Purification Using a 5 µm PdAg-Membrane in a Coupled Microstructured System
Abstract
1. Introduction
2. Materials and Methods
2.1. Reactor
2.2. Membrane Separator
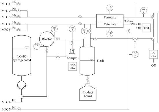
2.3. Test Rig and Experimental Procedure
2.3.1. Membrane Characterization
2.3.2. Coupling of Reactor and Membrane Separator
2.4. Analysis of Product Liquid
2.5. Analysis of Product Gas
3. Results and Discussion
3.1. Membrane Characterization
3.2. Coupling of Reactor and Membrane Separator
3.2.1. Membrane Degradation and Regeneration Behavior
3.2.2. Impurity Measurements
4. Conclusions
Author Contributions
Funding
Acknowledgments
Conflicts of Interest
References
- Preuster, P.; Alekseev, A.; Wasserscheid, P. Hydrogen Storage Technologies for Future Energy Systems. Annu. Rev. Chem. Biomol. Eng. 2017, 8, 445–471. [Google Scholar] [CrossRef] [PubMed]
- Teichmann, D.; Arlt, W.; Wasserscheid, P.; Freymann, R. A future energy supply based on Liquid Organic Hydrogen Carriers (LOHC). Energy Environ. Sci. 2011, 4, 2767–2773. [Google Scholar] [CrossRef]
- Bruckner, N.; Obesser, K.; Bosmann, A.; Teichmann, D.; Arlt, W.; Dungs, J.; Wasserscheid, P. Evaluation of Industrially Applied Heat-Transfer Fluids as Liquid Organic Hydrogen Carrier Systems. ChemSusChem 2014, 7, 229–235. [Google Scholar] [CrossRef]
- Markiewicz, M.; Zhang, Y.Q.; Bosmann, A.; Bruckner, N.; Thoming, J.; Wasserscheid, P.; Stolte, S. Environmental and health impact assessment of Liquid Organic Hydrogen Carrier (LOHC) systems—Challenges and preliminary results. Energy Environ. Sci. 2015, 8, 1035–1045. [Google Scholar] [CrossRef]
- Arlt, W.; Obermeier, J. Machbarkeitsstudie. Wasserstoff und Speicherung im Schwerlastverkehr. 2018. Available online: https://www.encn.de/fileadmin/user_upload/Studie_Wasserstoff_und_Schwerlastverkehr_WEB.pdf (accessed on 17 September 2019).
- Do, G.; Preuster, P.; Aslam, R.; Bosmann, A.; Muller, K.; Arlt, W.; Wasserscheid, P. Hydrogenation of the liquid organic hydrogen carrier compound dibenzyltoluene—Reaction pathway determination by H-1 NMR spectroscopy. React. Chem. Eng. 2016, 1, 313–320. [Google Scholar] [CrossRef]
- Leinweber, A.; Muller, K. Hydrogenation of the Liquid Organic Hydrogen Carrier Compound Monobenzyl Toluene: Reaction Pathway and Kinetic Effects. Energy Technol. 2018, 6, 513–520. [Google Scholar] [CrossRef]
- Luschtinetz, T.; Sklarow, A.; Gulden, J. Degradation Effects on PEM Fuel Cells Supplied with Hydrogen from a LOHC System. Appl. Mech. Mater. 2016, 839, 165–169. [Google Scholar] [CrossRef]
- Preuster, P.; Papp, C.; Wasserscheid, P. Liquid Organic Hydrogen Carriers (LOHCs): Toward a Hydrogen -free Hydrogen Economy. Acc. Chem. Res. 2017, 50, 74–85. [Google Scholar] [CrossRef]
- Basile, A.; Iulianelli, A.; Longo, T.; Liguori, S.; De Falco, M. Pd-based selective membrane state-of-the-art. In Membrane Reactors for Hydrogen Production Processes; Springer: Berlin/Heidelberg, Germany, 2011; pp. 21–55. [Google Scholar]
- Marrelli, L.; De Falco, M.; Iaquaniello, G. Integration of selective membranes in chemical processes: Benefits and examples. In Membrane Reactors for Hydrogen Production Processes; Springer: Berlin/Heidelberg, Germany, 2011; pp. 1–19. [Google Scholar]
- McLeod, L.; Degertekin, F.; Fedorov, A. Determination of the rate-limiting mechanism for permeation of hydrogen through microfabricated palladium–silver alloy membranes. J. Membr. Sci. 2009, 341, 225–232. [Google Scholar] [CrossRef]
- Okazaki, J.; Tanaka, D.A.P.; Tanco, M.A.L.; Wakui, Y.; Mizukami, F.; Suzuki, T.M. Hydrogen permeability study of the thin Pd–Ag alloy membranes in the temperature range across the α–β phase transition. J. Membr. Sci. 2006, 282, 370–374. [Google Scholar] [CrossRef]
- Paglieri, S.; Way, J. Innovations in palladium membrane research. Sep. Purif. Methods 2002, 31, 1–169. [Google Scholar] [CrossRef]
- Tucho, W.; Venvik, H.; Stange, M.; Walmsley, J.; Holmestad, R.; Bredesen, R. Effects of thermal activation on hydrogen permeation properties of thin, self-supported Pd/Ag membranes. Sep. Purif. Technol. 2009, 68, 403–410. [Google Scholar] [CrossRef]
- Ward, T.L.; Dao, T. Model of hydrogen permeation behavior in palladium membranes. J. Membr. Sci. 1999, 153, 211–231. [Google Scholar] [CrossRef]
- Yun, S.; Oyama, S.T. Correlations in palladium membranes for hydrogen separation: A review. J. Membr. Sci. 2011, 375, 28–45. [Google Scholar] [CrossRef]
- Wunsch, A.; Mohr, M.; Pfeifer, P. Intensified LOHC-Dehydrogenation Using Multi-Stage Microstructures and Pd-Based Membranes. Membranes 2018, 8, 112. [Google Scholar] [CrossRef]
- Auer, F.; Blaumeiser, D.; Bauer, T.; Bösmann, A.; Szesni, N.; Libuda, J.; Wasserscheid, P. Boosting the activity of hydrogen release from liquid organic hydrogen carrier systems by sulfur-additives to Pt on alumina catalysts. Catal. Sci. Technol. 2019, 9, 3537–3547. [Google Scholar] [CrossRef]
- Boeltken, T.; Belimov, M.; Pfeifer, P.; Peters, T.A.; Bredesen, R.; Dittmeyer, R. Fabrication and testing of a planar microstructured concept module with integrated palladium membranes. Chem. Eng. Process. 2013, 67, 136–147. [Google Scholar] [CrossRef]
- Cholewa, M.; Zehner, B.; Kreuder, H.; Pfeifer, P. Optimization of membrane area to catalyst mass in a microstructured membrane reactor for dehydrogenation of methylcyclohexane. Chem. Eng. Process. 2018, 125, 325–333. [Google Scholar] [CrossRef]
- Peters, T.; Stange, M.; Bredesen, R. Fabrication of palladium-based membranes by magnetron sputtering. In Palladium Membrane Technology for Hydrogen Production, Carbon Capture and Other Applications; Elsevier: Amsterdam, The Netherlands, 2015; pp. 25–41. [Google Scholar]
- De Falco, M. Membrane Reactors Modeling. In Membrane Reactors for Hydrogen Production Processes; Springer: Berlin/Heidelberg, Germany, 2011; pp. 79–102. [Google Scholar]
- Aslam, R.; Khan, M.H.; Ishaq, M.; Müller, K. Thermophysical Studies of Dibenzyltoluene and Its Partially and Fully Hydrogenated Derivatives. J. Chem. Eng. Data 2018, 63, 4580–4587. [Google Scholar] [CrossRef]
- Aslam, R.; Minceva, M.; Muller, K.; Arlt, W. Development of a liquid chromatographic method for the separation of a liquid organic hydrogen carrier mixture. Sep. Purif. Technol. 2016, 163, 140–144. [Google Scholar] [CrossRef]
- Chen, W.H.; Hsia, M.H.; Chi, Y.H.; Lin, Y.L.; Yang, C.C. Polarization phenomena of hydrogen-rich gas in high-permeance Pd and Pd-Cu membrane tubes. Appl. Energy 2014, 113, 41–50. [Google Scholar] [CrossRef]
- Jorschick, H.; Dürr, S.; Preuster, P.; Bösmann, A.; Wasserscheid, P. Operational Stability of a LOHC-Based Hot Pressure Swing Reactor for Hydrogen Storage. Energy Technol. 2019, 7, 146–152. [Google Scholar] [CrossRef]
- Jorschick, H.; Preuster, P.; Durr, S.; Seidel, A.; Muller, K.; Bosmann, A.; Wasserscheid, P. Hydrogen storage using a hot pressure swing reactor. Energy Environ. Sci. 2017, 10, 1652–1659. [Google Scholar] [CrossRef]











© 2020 by the authors. Licensee MDPI, Basel, Switzerland. This article is an open access article distributed under the terms and conditions of the Creative Commons Attribution (CC BY) license (http://creativecommons.org/licenses/by/4.0/).
Share and Cite
Wunsch, A.; Berg, T.; Pfeifer, P. Hydrogen Production from the LOHC Perhydro-Dibenzyl-Toluene and Purification Using a 5 µm PdAg-Membrane in a Coupled Microstructured System. Materials 2020, 13, 277. https://doi.org/10.3390/ma13020277
Wunsch A, Berg T, Pfeifer P. Hydrogen Production from the LOHC Perhydro-Dibenzyl-Toluene and Purification Using a 5 µm PdAg-Membrane in a Coupled Microstructured System. Materials. 2020; 13(2):277. https://doi.org/10.3390/ma13020277
Chicago/Turabian StyleWunsch, Alexander, Tatjana Berg, and Peter Pfeifer. 2020. "Hydrogen Production from the LOHC Perhydro-Dibenzyl-Toluene and Purification Using a 5 µm PdAg-Membrane in a Coupled Microstructured System" Materials 13, no. 2: 277. https://doi.org/10.3390/ma13020277
APA StyleWunsch, A., Berg, T., & Pfeifer, P. (2020). Hydrogen Production from the LOHC Perhydro-Dibenzyl-Toluene and Purification Using a 5 µm PdAg-Membrane in a Coupled Microstructured System. Materials, 13(2), 277. https://doi.org/10.3390/ma13020277

