The Applicability of the Standard DIN EN ISO 3690 for the Analysis of Diffusible Hydrogen Content in Underwater Wet Welding
Abstract
1. Introduction
- Tensile stresses are present which approach the yield strength;
- The material features a microstructure that is susceptible to HIC;
- A critical amount of soluble hydrogen is present, which can diffuse within the lattice.
- Mercury method (HG): The hydrogen is collected in a Y-tube over a liquid in which it will not dissolve, usually mercury, at 25 °C ± 5 °C.
- Measurement with a thermal conductivity detector (TCD):
- ⚬
- Carrier gas hot extraction (CGHE) method: Hydrogen is extracted within a short period of time at a (suggested) temperature of 400 °C. The hydrogen is continuously collected and measured until all the diffusible hydrogen is quantified.
- ⚬
- Long-term desorption (LTD) method: The sample is placed in a suitable container, which is purged with inert gas and sealed against the atmosphere. The collection of hydrogen is done at lower temperatures (usually 45 to 100 °C) for longer time spans (as compared to CGHE).
- Glycerin method: This method works like the mercury method, but uses glycerin, which is not toxic. However, the method is not recommended to be used, since glycerin can solve hydrogen.
1.1. Normalization of Diffusible Hydrogen Content
- The diffusible hydrogen content HD represents the effused volume of hydrogen normalized by the weight difference of the specimen before and after welding. This means that the referenced mass is the deposited weld metal (Figure 1) and, thus, the unit of HD is mL/100 g of weld metal.
- The diffusible hydrogen content HF represents the effused volume of hydrogen normalized by the total mass of the molten material (Figure 1). This includes both the molten base metal and the deposited weld metal. To use HF, the penetration depth of the weldment must be known. This means that etched micrographs of every sample need to be evaluated (ideally from both sides, to see changes in the penetration profile). The proposed unit of HF is ppm (with respect to the mass of the molten material).
1.2. Number of Samples and Sample Dimensions
1.3. Time Periods Permitted for the Welding and Cleaning/Breaking Process
1.4. Time, Temperature, and Method Defined for the Analysis
2. Materials and Methods
2.1. Wet Welding Process
- Welding power source: AMT 400 E-UW (AMT GmbH, Aachen, Germany);
- Electrode: Aquaweld (DIN 2302-E 38 0 Z RB 2 UW 20 fr [32]) (Kjellberg Finsterwalde Elektroden und Zusatzwerkstoffe GmbH, Finsterwalde, Germany);
- Target arc voltage: 30 V;
- Welding current: 160 A;
- Welding speed: 0.20 m/min;
- Water depth: 0.5 m;
- Polarity: direct current (DC) minus;
- Base metal: S235JR (polished).
2.2. Normalization of the Measured Hydrogen Concentration
2.3. Welding of the Samples
2.4. Time Limitations Defined Regarding the Welding and Cleaning Process
2.5. Time, Temperature, and Method Defined for the Analysis
3. Results
3.1. Normalization of the Hydrogen Concentration
3.2. Time Limitations Defined Regarding the Welding and Cleaning/Breaking Process
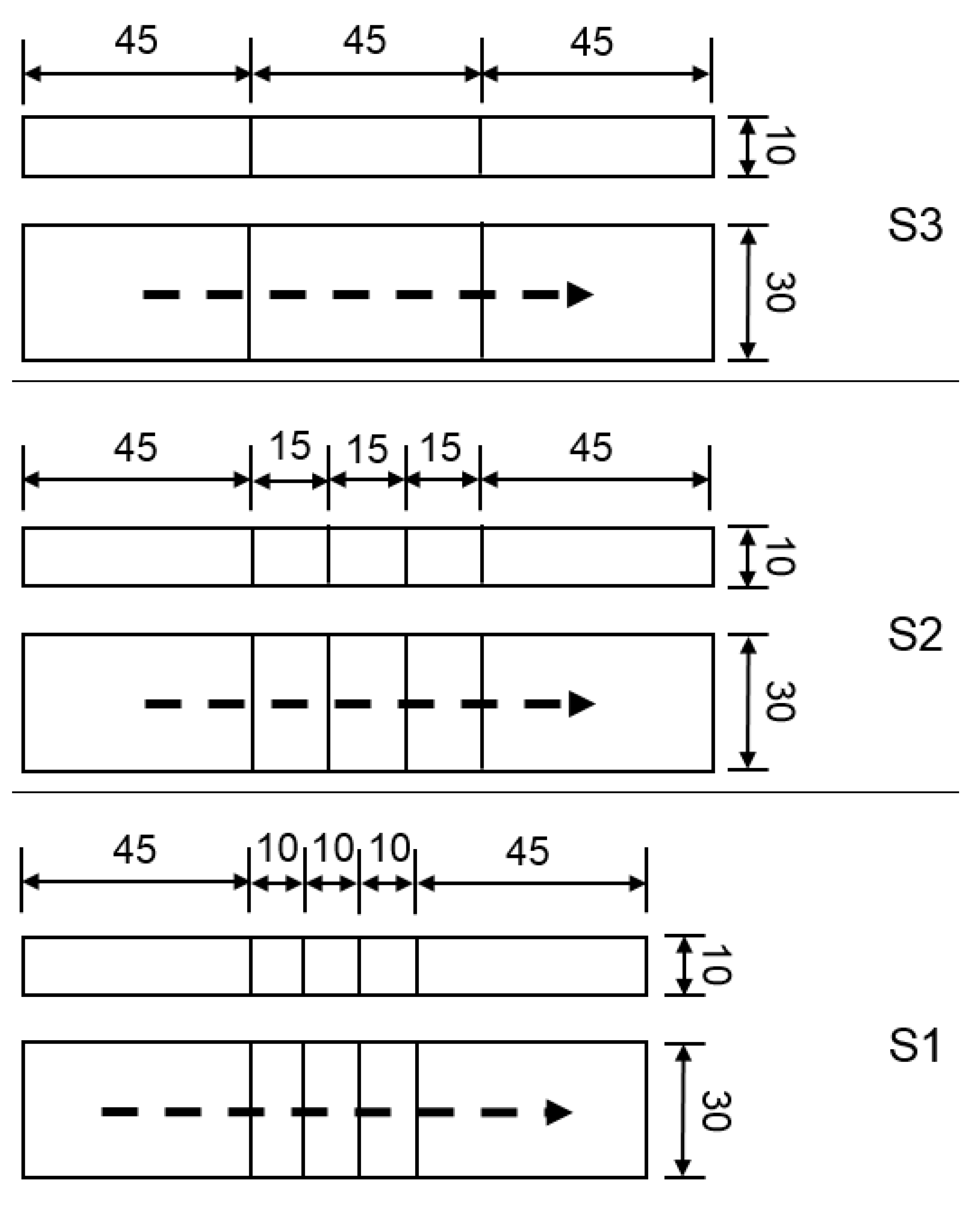
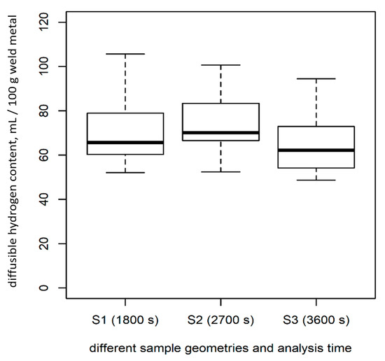
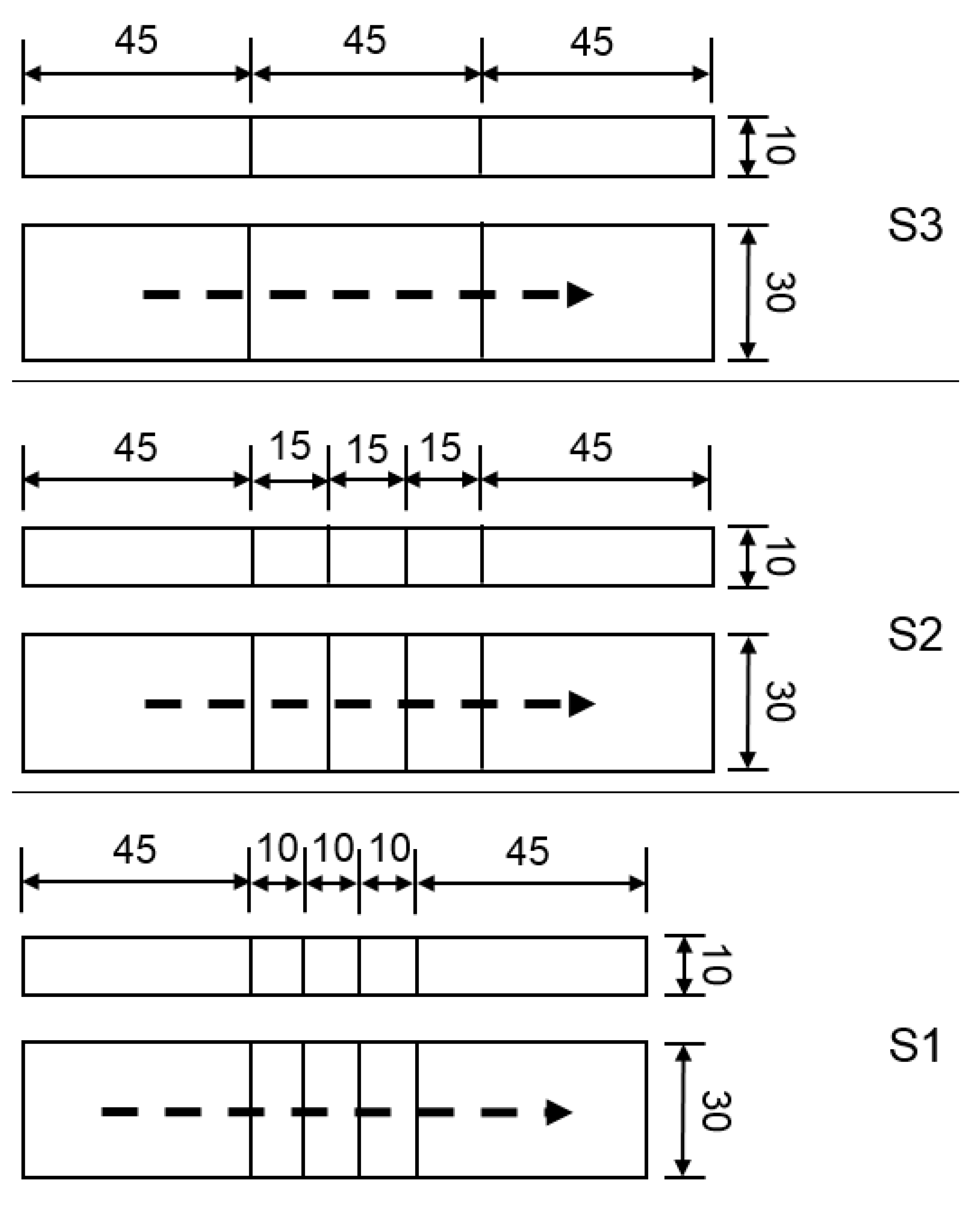
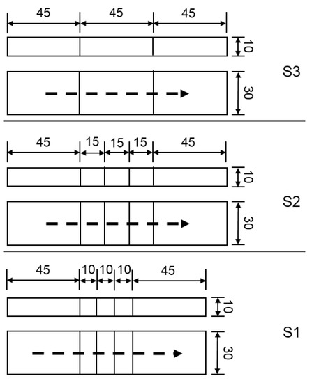
3.3. Analyses Regarding the Sample’s Dimensions and the Number of Samples Welded Simultaneously
3.4. Time, Temperature, and Methods Defined for the Analysis
4. Discussion
4.1. Normalization of the Measurement Hydrogen Concentration
4.2. Time Limitations Defined Regarding the Welding and Cleaning/Breaking Process
4.3. Sample Dimensions and Time for Analysis
4.4. Analysis Temperature for CGHE
4.5. Analysis Method
4.6. Recommendations
5. Conclusions
- The time between the extinguishing of the arc and cooling in liquid nitrogen significantly influences the measured diffusible hydrogen content in welded samples.
- For DIN EN ISO 3690:2018 [9] sample C, up to three samples can be taken simultaneously in one welding step without significantly affecting the results.
- Different sample geometries need different timespans to release all the diffusible hydrogen during measurement. For DIN EN ISO 3690:2018 [9] sample C, 30 min at 400 °C is suitable.
- The hydrogen analysis methods using thermal conductivity detectors (long-term desorption and carrier gas hot extraction) differ in results. Long-term desorption leads to lower mean values.
Author Contributions
Funding
Conflicts of Interest
References
- Hassel, T. Systematische Untersuchung von Lichtbogenprozessen für das Nasse Elektrodenschweißen unter Wasser in Tiefen Größer 20 Meter: Abschlussbericht zu IGF-Vorhaben 16777 N. Forschungsvereinigung Schweißen und verwandte Verfahren e.V. des DVS; Universität Hannover, Institut für Werkstoffkunde: Garbsen, Germany, 2013. [Google Scholar]
- Lippold, J.C. Welding Metallurgy and Weldability; John Wiley & Sons: Hoboken, NJ, USA, 2014. [Google Scholar]
- Deutscher Verband für Schweisstechnik e.V. Merkblatt DVS 1818—Ausführung von Lichtbogenschweißarbeiten in Nasser Umgebung; DVS-Verlag GmbH: Düsseldorf, Germany, 2017. [Google Scholar]
- Yushchenko, K.A.; Gretskii, Y.Y.; Maksimov, S.Y. Study of physicometallurgical peculiarities of wet arc welding of structural steels. In Proceedings of the Underwater Wet Welding and Cutting, International Seminar and Workshop, TWI North, Middlesbrough, UK, 17–18 April 1997; Woodhead Publishing Ltd.: Cambridge, UK, 1997; pp. 6–30. [Google Scholar]
- Fydrych, D.; Łabanowski, J.; Rogalski, G. Weldability of high strength steels in wet welding conditions. Pol. Marit. Res. 2013, 20, 67–73. [Google Scholar] [CrossRef]
- ISO–International Organization for Standardization. ISO 3690:2018-07: Welding and Allied Processes – Determination of Hydrogen Content in Arc Weld Metal; Beuth Verlag GmbH: Berlin, Germany, 2018. [Google Scholar]
- AWS–American Welding Society. ANSI/AWS A4.3-93:R2006:1993: Standard Methods for Determination of the Diffusible Hydrogen Content of Martensitic, Bainitic, and Ferritic Steel Weld Metal Produced by Arc Welding; Beuth Verlag GmbH: Berlin, Germany, 1993. [Google Scholar]
- JIS–Japanese Standard Association. JIS Z 3113:1975: Method for Measurement of Hydrogen Evolved from Deposited Metal; Japanese Standards Association: Tokyo, Japan, 1975. [Google Scholar]
- DIN—Deutsches Institut für Normung e. V. DIN EN ISO 3690:2018-12: Schweißen und Verwandte Prozesse—Bestimmung des Wasserstoffgehaltes im Lichtbogenschweißgut; Beuth Verlag GmbH: Berlin, Germany, 2018. [Google Scholar]
- Ando, S.; Asahina, T.; Ando, S.; Asahina, T. A Study on the Metallurgical Properties of Steel Welds with Underwater Gravity Welding. In Underwater Welding, Proceedings of the International Conference, Trondheim, Norway, 27–28 June 1983; Under the auspices of the International Institute of Welding; International Institute of Welding by Pergamon: Oxford, UK, 1983; pp. 255–261. [Google Scholar]
- Bartzsch, J. Untersuchungen zu Metallurgischen und Physikalischen Vorgängen beim Schweissen unter Extremen Bedingungen; Habilitationsschrift, TU Clausthal; Papierflieger: Clausthal-Zellerfeld, Germany, 2002. [Google Scholar]
- Pitrun, M.; Nolan, D.; Dunne, D. Diffusible hydrogen content in rutile flux-cored arc welds as a function of the welding parameters. Weld. World 2004, 1, 12–13. [Google Scholar] [CrossRef]
- Da Silva, W.C.D.; Ribeiro, L.F.; Bracarense, A.Q.; Pessoa, E.C.P. Effect of the Hydrostatic Pressure in the Diffusible Hydrogen at the Underwater Wet Welding. In Proceedings of the ASME 31st International Conference on Ocean, Offshore and Arctic Engineering; OMAE2012-83002 No. 44939; ASME: New York, NY, USA, 2012; pp. 1–8. [Google Scholar]
- Świerczyńska, A.; Fydrych, D.; Rogalski, G. Diffusible hydrogen management in underwater wet self-shielded flux cored arc welding. Int. J. Hydrog. Energy 2017, 42, 24532–24540. [Google Scholar] [CrossRef]
- Fydrych, D.; Świerczyńska, A.; Rogalski, G. Effect of Underwater Wet Welding Conditions on the Diffusible Hydrogen Content in Deposited Metal. Metall. Ital. 2015, 11/12, 47–52. [Google Scholar]
- Kong, X.; Li, C.; Zou, Y.; Zhang, J.; Hu, Y.; Wang, J.; Qaddoumi, N.; Koh, S.-K.; Devlin, J. Measurement and Analysis of the Diffusible Hydrogen in Underwater Wet Welding Joint. MATEC Web Conf. 2016, 39, 03004. [Google Scholar] [CrossRef]
- Kussike, S.M. Hydrophobierung von Stabelektroden für das “nasse” Lichtbogenhandschweißen unter Wasser. Ph.D. Thesis, Leibniz Universität, Hannover, Germany, 2015. [Google Scholar]
- Garašić, I.; Kralj, S.; Kožuh, Z. Investigation into cold cracking in underwater wet welding of API 5L X70 steel. Trans. FAMENA 2009, 33, 3. [Google Scholar]
- Gooch, T.G. Properties of underwater welds. Part 1: Procedural Trials. Metal. Constr. 1983, 3, 164–167. [Google Scholar]
- Hamkens, J.H. Unterwassernaßschweißen mit selbstschützenden Fülldrahtelektroden. Ph.D. Thesis, Leibniz Universität, Hannover, Germany, 1991. [Google Scholar]
- Fydrych, D.; Rogalski, G. Effect of underwater local cavity welding method conditions on diffusible hydrogen content in deposited metal. Weld. Int. 2013, 27, 196–202. [Google Scholar] [CrossRef]
- Thier, H.; Eisenbeis, C. Schweißen des Stahls S 355 J 2 G 3(Fe E 355) ohne Vorwärmung—Ermittlung einer Meßmethode zur schnellen und zuverlässigen Bestimmung sehr kleiner Wasserstoffgehalte. In Forschungsbericht der Europäischen Kommission; Europäische Kommission: Luxembourg, 1998. [Google Scholar]
- Sievers, E.R.; Müller, L. Laserschweißen Innovativer, Hochfester Stähle unter dem Aspekt Wasserstoff und Rissanfälligkeit (LaHRissa); Gemeinsamer Abschlussbericht zum BMBF-FH3-Verbundprojekt; FH Gelsenkirchen: Gelsenkirchen, Hamburg, Germany, 2007. [Google Scholar]
- Abreu, L.C.; Modenesi, P.J.; Villani-Marques, P. Comparative study of methods for determining the diffusible hydrogen content in welds. Weld. Int. 1995, 9, 26–31. [Google Scholar] [CrossRef]
- DIN—Deutsches Institut für Normung e. V. DIN 8572:1981-03: Bestimmung des diffusiblen Wasserstoffs im Schweissgut; Beuth Verlag GmbH: Berlin, Germany, 1981. [Google Scholar]
- Kannengiesser, T.; Tiersch, N. Comparative Study between Hot Extraction Methods and Mercury Method—A National Round Robin Test. Weld. World 2010, 54, 108–114. [Google Scholar] [CrossRef]
- Fydrych, D.; Łabanowski, J. Determining diffusible hydrogen amounts using the mercury method. Weld. Int. 2012, 26, 697–702. [Google Scholar] [CrossRef]
- Zhang, Y.; Jia, C.; Zhao, B.; Hu, J.; Wu, C. Heat input and metal transfer influences on the weld geometry and microstructure during underwater wet FCAW. J. Mater. Process. Technol. 2016, 238 (Suppl. C), 373–382. [Google Scholar] [CrossRef]
- Salmi, S.; Rhode, M.; Jüttner, S.; Zinke, M. Hydrogen determination in 22MnB5 steel grade by use of carrier gas hot extraction technique. Weld. World 2015, 59, 137–144. [Google Scholar] [CrossRef]
- Hecht-Linowitzki, V.; Klett, J.; Hassel, T. Automated Underwater Arc Welding. In Proceedings of the Symposium on Automated Systems and Technologies, Hannover, Germany, 13–14 October 2016; pp. 21–26. [Google Scholar]
- Klett, J.; Hecht-Linowitzki, V.; Grünzel, O.; Schmidt, E.; Maier, H.J.; Hassel, T. Effect of the water depth on the hydrogen content in SMAW wet welded joints. SN Appl. Sci. 2020, 2, 1269. [Google Scholar] [CrossRef]
- DIN–Deutsches Institut für Normung e. V. DIN 2302:2018-03: Schweißzusätze -Umhüllte Stabelektroden zum Lichtbogenhandschweißen von unlegierten Stählen und Feinkornstählen in nasser Überdruckumgebung Einteilung; Beuth-Verlag GmbH: Berlin, Germany, 2018. [Google Scholar]
- DIN—Deutsches Institut für Normung e. V. DIN EN ISO 17639: Zerstörende Prüfung von Schweißverbindungen an Metallischen Werkstoffen—Makroskopische und Mikroskopische Untersuchungen von Schweißnähten; Beuth Verlag GmbH: Berlin, Germany, 2013. [Google Scholar]
- Hassel, T.; Hecht-Linowitzki, V.; Kussike, S.M.; Rehfeldt, D.; Bach, F.-W. Systematic investigation into wet arc welding under water with covered stick electrodes. Weld. Cut. 2015, 14, 48–53. [Google Scholar]
- Escobar, D.P.; Depover, T.; Duprez, L.; Verbeken, K.; Verhaege, M. Combined thermal desorption spectroscopy, differential scanning calorimetry, scanning electron microscopy and X-ray diffraction study of hydrogen trapping in cold deformed TRIP steel. Acta Mater. 2012, 60, 2593–2605. [Google Scholar]
- Gunarajan, V.; Murugan, N. Prediction and optimization of weld bead volume for the submerged arc process Part 1. Weld. Res. Suppl. 2000, 79, 286–294. [Google Scholar]












| Manufacturer | Designation of Electrode | Target Voltage | Abbreviation |
|---|---|---|---|
| Hydroweld Ltd. (Sutton Coldfield, UK) | Hydroweld FS | 28 V | FS |
| Broco Inc. (Ontario, CA, USA) | Broco EasyTouch | 28 V | ET |
| Broco Inc. (Ontario, CA, USA) | Broco SoftTouch | 28 V | ST |
| ESAB AB (Göteborg, Sweden) | Arcair Sea-Weld | 33 V | SW |
| Speciality Welds Ltd. (Rawfolds, UK) | Barracuda Gold | 31 V | BG |
| Voestalpine Böhler Welding GmbH (Düsseldorf, Germany) | Phoenix Nautica 20 | 30 V | PN |
| Kjellberg Finsterwalde Elektroden und Zusatzwerkstoffe GmbH (Finsterwalde, Germany) | Aquaweld | 30 V | AW |
| Mean Value | Variance | |
|---|---|---|
| S1 | 71.75 | 16.65 |
| S2 | 66.21 | 9.65 |
| S3 | 54.13 | 5.93 |
© 2020 by the authors. Licensee MDPI, Basel, Switzerland. This article is an open access article distributed under the terms and conditions of the Creative Commons Attribution (CC BY) license (http://creativecommons.org/licenses/by/4.0/).
Share and Cite
Klett, J.; Wolf, T.; Maier, H.J.; Hassel, T. The Applicability of the Standard DIN EN ISO 3690 for the Analysis of Diffusible Hydrogen Content in Underwater Wet Welding. Materials 2020, 13, 3750. https://doi.org/10.3390/ma13173750
Klett J, Wolf T, Maier HJ, Hassel T. The Applicability of the Standard DIN EN ISO 3690 for the Analysis of Diffusible Hydrogen Content in Underwater Wet Welding. Materials. 2020; 13(17):3750. https://doi.org/10.3390/ma13173750
Chicago/Turabian StyleKlett, Jan, Thomas Wolf, Hans Jürgen Maier, and Thomas Hassel. 2020. "The Applicability of the Standard DIN EN ISO 3690 for the Analysis of Diffusible Hydrogen Content in Underwater Wet Welding" Materials 13, no. 17: 3750. https://doi.org/10.3390/ma13173750
APA StyleKlett, J., Wolf, T., Maier, H. J., & Hassel, T. (2020). The Applicability of the Standard DIN EN ISO 3690 for the Analysis of Diffusible Hydrogen Content in Underwater Wet Welding. Materials, 13(17), 3750. https://doi.org/10.3390/ma13173750

