Accuracy of Eddy-Current and Radar Methods Used in Reinforcement Detection
Abstract
1. Introduction
2. Accuracy and Possibilities of Non-Destructive Testing
2.1. Electromagnetic Method
2.2. Radar Method
2.3. Combination of Electromagnetic and Radar Methods
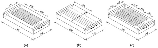
3. Tested Specimens
3.1. Autoclaved Areated Concrete (AAC) Precast Lintels
3.2. Lightweight Concrete Specimens
4. Applied Test Equipment
5. Testing Locations
5.1. AAC Precast Lintels
5.2. Lightweight Concrete Specimens
6. Test Results
6.1. AAC Precast Lintels (AAC)
6.1.1. Stirrups Tests
6.1.2. Tests on Longitudinal Rebars
6.2. Lightweight Concrete Specimens (Tests with Concret Cover 20 mm)
6.2.1. Tests Using a 20 mm Cover
6.2.2. Tests Using Covers of Variable Thickness
7. Discussion of Results
7.1. AAC Precast Lintels
7.1.1. Stirrups Tests
7.1.2. Tests on Longitudinal Rebars
7.2. Lightweight Concrete Specimens
8. Conclusions
- a)
- while detecting the cover with thickness < 20 mm, errors in determining the number and diameter of rebars can be expected regardless of the used test equipment,
- b)
- while detecting the reinforcement at a depth > 20 mm, the employed equipment can correctly determine the number of rebars if the spacing is greater than 20 mm.
- c)
- NDT equipment is not suitable for detecting the reinforcement in support zones of beams and slabs, and in joints where reinforcement is the densest, and
- d)
- this equipment is perfect for detecting the longitudinal reinforcement in slabs, and stirrups in beams.
Author Contributions
Acknowledgments
Conflicts of Interest
References
- Malhorta, V.M.; Carino, N.J. Handbook on Nondestructive Testing of Concrete, 2nd ed.; CRC Press LCC, ASTM International: Boca Raton, FL, USA; London, UK; New York, NY, USA; Washington, DC, USA, 2004. [Google Scholar]
- Bungey, J.H.; Millard, S.G.; Grantham, M.G. Testing of Concrete in Structures, 4th ed.; Taylor & Francis: London, UK; New York, NY, USA, 2006. [Google Scholar]
- Drobiec, Ł.; Jasiński, R.; Piekarczyk, A. Diagnostic Testing of Reinforced Concrete Structures; Methodology, Field Tests, Laboratory Tests of Concrete and Steel; Wydawnictwo Naukowe PWN: Warszawa, Poland, 2013. (In Polish) [Google Scholar]
- Hoła, J.; Schabowicz, K. State-of-the-art non-destructive methods for diagnostic testing of building structures–anticipated development trends. Arch. Civ. Mech. Eng. 2010, 10, 5–18. [Google Scholar] [CrossRef]
- Drobiec, Ł. Diagnosis of Industrial Structures; Materiały Budowlane No 2015/2; Sigma-Not: Warsaw, Poland, 2015; pp. 32–34. [Google Scholar]
- Zima, B.; Rucka, M. Detection of debonding in steel bars embedded in concrete using guided wave propagation. Diagnostyka 2016, 3, 27–34. [Google Scholar]
- Hoła, J.; Bień, J.; Schabowicz, K. Non-destructive and semi-destructive diagnostics of concrete structures in assessment of their durability. Bull. Pol. Acad. Sci. 2015, 63, 87–96. [Google Scholar] [CrossRef]
- Ma, X.; Liu, H.; Wang, M.L.; Birken, R. Automatic detection of steel rebar in bridge decks from ground penetrating radar data. J. Appl. Geophys. 2018, 158, 93–102. [Google Scholar] [CrossRef]
- ISO/IEC. Guide 99:2007 International Vocabulary of Metrology—Basic and General Concepts and Associated Terms; ISO: Geneva, Switzerland, 2007. [Google Scholar]
- Chady, T.; Frankowski, P.K. Electromagnetic evaluation of reinforced concrete structure. In Proceedings of the AIP Conference, Denver, CO, USA, 15–20 July 2013; Volume 32, pp. 1355–1362. [Google Scholar]
- Drobiec, Ł.; Górski, M.; Krzywoń, R.; Kowalczyk, R. Comparison of non-destructive electromagnetic methods of reinforcement detection in RC structures. In Proceedings of the Challenges for Civil Construction (CCC 2008), Porto, Portugal, 16–18 April 2008. [Google Scholar]
- Ombres, L.; Verre, S. Shear performance of FRCM strengthened RC beams. ACI Spec. Publ. 2018, 324, 7.1–7.22. [Google Scholar]
- Micelli, F.; Cascardi, A.; Marsano, M. Seismic strengthening of a theatre masonry building by using active FRP wires. Brick and Block Masonry—Trends, Innovations and Challenges. In Proceedings of the 16th International Brick and Block Masonry Conference, Padova, Italy, 26–30 June 2016; pp. 753–761. [Google Scholar]
- Sivasubramanian, K.; Jaya, K.P.; Neelemegam, M. Covermeter for identifying cover depth and rebar diameter in high strength concrete. Int. J. Civ. Struct. Eng. 2013, 3, 557–563. [Google Scholar]
- Lachowicz, J.; Rucka, M. Application of GPR method in diagnostics of reinforced concrete structures. Diagnostyka 2015, 16. [Google Scholar]
- Lachowicz, J.; Rucka, M. 3-D finite-difference time-domain modelling of ground penetrating radar for identification of rebars in complex reinforced concrete structures. Arch. Civ. Mech. Eng. 2018, 18, 1228–1240. [Google Scholar] [CrossRef]
- Agred, K.; Klysz, G.; Balayssac, J.P. Location of reinforcement and moisture assessment in reinforced concrete with a double receiver GPR antenna. Constr. Build. Mater. 2018, 188, 1119–1127. [Google Scholar] [CrossRef]
- Shaw, M.R.; Millard, S.G.; Molyneaux, T.C.K.; Taylor, M.J.; Bungey, J.H. Location of steel reinforcement in concrete using ground penetrating radar and neural networks. Ndt E Int. 2005, 38, 203–212. [Google Scholar] [CrossRef]
- Chang, C.W.; Lin, C.H.; Lien, H.S. Measurement radius of reinforcing steel bar in concrete using digital image GPR. Constr. Build. Mater. 2009, 23, 1057–1063. [Google Scholar] [CrossRef]
- Shihab, S.; Al-Nuaimy, W. Radius estimation for cylindrical objects detected by ground penetrating radar. Subsurf. Sens. Technol. Appl. 2005, 6, 151–166. [Google Scholar] [CrossRef]
- Ristic, A.V.; Petrocacki, D.; Govedarica, M. A New Method to Simultaneously Estimate the Radius of a Cylindrical Object and the Wave Propagation Velocity from GPR Data. Comput. Geosci. 2009, 35, 1620–1630. [Google Scholar] [CrossRef]
- Idi, B.Y.; Kamarudin, M.N. Utility Mapping with Ground Penetrating Radar: An Innovative Approach. J. Am. Sci. 2011, 7, 644–649. [Google Scholar]
- Zanzi, L.; Arosio, D. Sensitivity and accuracy in rebar diameter measurements from dual-polarized GPR data. Constr. Build. Mater. 2013, 48, 1293–1301. [Google Scholar] [CrossRef]
- Mechbal, Z.; Khamlichi, A. Determination of concrete rebars characteristics by enhanced postprocessing of GPR scan raw data. Ndt E Int. 2017, 89, 30–39. [Google Scholar] [CrossRef]
- Wei, J.S.; Hashim, M.; Marghany, M. New approach for extraction of subsurface cylindrical pipe diameter and material type from ground penetrating radar image. In Proceedings of the 1st Asian Conference on Remote Sensing (ACRS 2010), Hanoi, Vietnam, 1–5 November 2010; Volume 2, pp. 1187–1193. [Google Scholar]
- Alhsanat, M.B.; Wan Hussin, W.M.A. A New Algorithm to Estimate the Size of an Underground Utility via Specific Antenna. In Proceedings of the PIERS, Marrakesh, Maroko, 20–23 March 2011; pp. 1868–1870. [Google Scholar]
- Wiwatrojanagul, P.; Sahamitmongkol, R.; Tangtermsirikul, S.; Khamsemanan, N. A new method to determine locations of rebars and estimate cover thickness of RC structures using GPR data. Constr. Build. Mater. 2017, 140, 257–273. [Google Scholar] [CrossRef]
- Wiwatrojanagul, P.; Sahamitmongkol, R.; Tangtermsirikul, S. A method to detect lap splice in reinforced concrete using a combination of covermeter and GPR. Constr. Build. Mater. 2018, 173, 481–494. [Google Scholar] [CrossRef]
- Drobiec, Ł.; Jasiński, R.; Mazur, W. Precast lintels made of autoclaved aerated concrete—Test and theoretical analyses. Cem. Wapno Beton 2017, 5, 339–413. [Google Scholar]
- Mazur, W.; Drobiec, Ł.; Jasiński, R. Research of Light Concrete Precast Lintels. Procedia Eng. 2016, 161, 611–617. [Google Scholar] [CrossRef]
- Mazur, W.; Drobiec, Ł.; Jasiński, R. Research and numerical investigation of masonry—AAC precast lintels interaction. Procedia Eng. 2017, 193, 385–392. [Google Scholar] [CrossRef]
- Mazur, W.; Jasiński, R.; Drobiec, Ł. Shear Capacity of the Zone of Supporting of Precast Lintels Made of AAC. IOP Conf. Ser. Mater. Sci. Eng. 2019, 471, 052070. [Google Scholar] [CrossRef]
- EN 1992-1-1. Eurocode 2: Design of Concrete Structures—Part 1-1: General Rules and Rules for Buildings; European Committee for Standardization (CEN): Brussels, Belgium, 2004. [Google Scholar]
- JCGM 100:2008. Evaluation of Measurement Data. Guide to the Expression of Uncertainty in Measurement; Joint Committee for Guides in Metrology: Sevres, France, 2008. [Google Scholar]
- EN 13670:2011. Execution of Concrete Structures; European Committee for Standardization (CEN): Brussels, Belgium, 2011. [Google Scholar]























| Measuring Point no. | Cover Measured with the Method, mm | |||
|---|---|---|---|---|
| Direct Method, cobs | Electromagnetic Device (1) | Electromagnetic Device (2) | Radar Device (3) | |
| 1 | 30.1 | 27 | 28.9 | 27 |
| 2 | 28.1 | 28 | 28.6 | 27 |
| 3 | 28.3 | 28 | 29.1 | 27 |
| 4 | 28.2 | 28 | 28.1 | 27 |
| 5 | 29.1 | 27 | 28.6 | 28 |
| 6 | 27.3 | 27 | 28.2 | 27 |
| 7 | 27.9 | 27 | 28.7 | 27 |
| 8 | 26.9 | 28 | 28.3 | 27 |
| 9 | 28.3 | 27 | 28.4 | 27 |
| 10 | 28.2 | 27 | 28.6 | 27 |
| 11 | 29.0 | 28 | 28.7 | 28 |
| Average cover, cobs: | 28.3 | 27 | 28.6 | 27 |
| Nominal cover, cnom: | 15 mm ≤ cnom ≤ 25 mm | |||
| Calibration uncertainties Δcobs | 0.1 | 1.0 | 0.1 | 1.0 |
| Standard deviation, s: | 0.87 | 0.52 | 0.30 | 0.40 |
| Standard deviation of the mean value | 0.3 | 0.2 | 0.1 | 0.1 |
| Standard deviation of the calibration | 0.1 | 0.6 | 0.1 | 0.6 |
| Standard uncertainty | 0.3 | 1 | 0.1 | 1 |
| Result with standard uncertainty | 28.3 ± 0.3 | 27 ± 1 | 28.6 ± 0.1 | 27 ± 1 |
| Maximum uncertainty | 0.9 | 1 | 0.4 | 1 |
| Result with maximum uncertainty | 28.3 ± 0.9 | 27 ± 1 | 28.6 ± 0.4 | 27 ± 1 |
| Minimum cover cmin | 27.4 | 26 | 28.2 | 26 |
| Measuring Point no. | Cover Measured with the Method, mm | |||
|---|---|---|---|---|
| Direct Method, cobs | Electromagnetic Device (1) | Electromagnetic Device | Radar Device (3) | |
| 1 | 29.1 | 30 | 26.2 | 31 |
| 2 | 28.8 | 32 | 27.3 | 30 |
| 3 | 28.7 | 35 | 28.1 | 31 |
| 4 | 29.2 | 37 | 28.4 | 32 |
| 5 | 29.1 | 30 | 26.2 | 31 |
| 6 | 28.9 | 32 | 27.3 | 30 |
| 7 | 29.2 | 35 | 28.1 | 31 |
| 8 | 30.9 | 37 | 28.4 | 32 |
| Average cover, cobs: | 29.2 | 34 | 27.5 | 31 |
| Nominal cover, cnom: | 15 mm ≤ cnom ≤ 25 mm | |||
| Calibration uncertainties Δcobs | 0.1 | 1.0 | 0.1 | 1.0 |
| Standard deviation, s: | 0.70 | 2.9 | 0.9 | 0.8 |
| Standard deviation of the mean value, | 0.2 | 1.0 | 0.3 | 0.3 |
| Standard deviation of the calibration | 0.1 | 0.6 | 0.1 | 0.6 |
| Standard uncertainty | 0.3 | 1 | 0.3 | 0.6 |
| Result with standard uncertainty | 29.2 ± 0.3 | 34 ± 1 | 27.5 ± 0.3 | 31 ± 0.6 |
| Maximum uncertainty | 0.8 | 4 | 1.1 | 2 |
| Result with maximum uncertainty | 29.2 ± 0.8 | 34 ± 4 | 27.5 ± 1.1 | 31 ± 2 |
| Minimum cover cmin | 28.4 | 30 | 26.4 | 29 |
| Geometry of Models | Results from Tests Conducted with the Equipment (1), (2) or (3) | |||||||||||
|---|---|---|---|---|---|---|---|---|---|---|---|---|
| Reinforcement Diameter (mm) | Number of Rebars nnom | Rebar Spacing anom, mm | Reinforcement Cover cnom, mm | øobs, mm | nobs, mm | cobs, mm | ||||||
| (1) | (2) | (3) * | (1) | (2) | (3) | (1) | (2) | (3) | ||||
| 10 | 3 | 20 | 20 | 8 | 8 | 11.9 | 2 | 1 | 3 | 25 | 20 | 22 |
| 30 | 8 | 10 | 11.8 | 3 | 3 | 3 | 20 | 19.3 | 22 | |||
| 40 | 10 | 9 | 11.5 | 3 | 3 | 3 | 21 | 19.3 | 21 | |||
| 16 | 3 | 20 | 20 | 30 | 17 | 18.8 | 2 | 3 | 3 | 25 | 15.5 | 22 |
| 30 | 16 | 15 | 18.2 | 3 | 3 | 3 | 18 | 16.4 | 21 | |||
| 40 | 20 | 14 | 17.8 | 3 | 3 | 3 | 20 | 16.5 | 20 | |||
| 20 | 3 | 20 | 20 | 20 | 19 | 23.3 | 3 | 3 | 3 | 25 | 15 | 22 |
| 30 | 20 | 19 | 23.1 | 3 | 3 | 3 | 18 | 15.4 | 20 | |||
| 40 | 20 | 18 | 22.8 | 3 | 3 | 3 | 22 | 18.3 | 20 | |||
| Geometry of Models | Results from Tests Conducted with the Equipment (1), (2) or (3) | |||||||||||
|---|---|---|---|---|---|---|---|---|---|---|---|---|
| Reinforcement Diameter (mm) | Number of Rebars nnom | Rebar Spacing anom, mm | Reinforcement Cover cnom, mm | øobs, mm | nobs, mm | cobs, mm | ||||||
| (1) | (2) | (3) * | (1) | (2) | (3) | (1) | (2) | (3) | ||||
| 10 | 3 | 20 | 10 | 6 | 14 | 12.0 | 3 | 2 | 1 | 11 | 7.8 | 11 |
| 30 | 12 | 13 | 11.9 | 3 | 3 | 3 | 12 | 9.7 | 12 | |||
| 40 | 10 | 12 | 11.6 | 3 | 3 | 3 | 11 | 9.7 | 11 | |||
| 16 | 3 | 20 | 24 | 30 | 17 | 18.9 | 2 | 3 | 3 | 32 | 19.5 | 23 |
| 30 | 16 | 16 | 18.8 | 3 | 3 | 3 | 27 | 19.8 | 24 | |||
| 40 | 16 | 14 | 18.2 | 3 | 3 | 3 | 24 | 21.9 | 23 | |||
| 20 | 3 | 20 | 40 | 20 | 20 | 23.4 | 2 | 1 | 2 | 48 | 29 | 38 |
| 30 | 20 | 18 | 23.2 | 3 | 3 | 3 | 47 | 33.5 | 40 | |||
| 40 | 20 | 17 | 22.7 | 3 | 3 | 3 | 35 | 33.1 | 41 | |||
© 2019 by the authors. Licensee MDPI, Basel, Switzerland. This article is an open access article distributed under the terms and conditions of the Creative Commons Attribution (CC BY) license (http://creativecommons.org/licenses/by/4.0/).
Share and Cite
Drobiec, Ł.; Jasiński, R.; Mazur, W. Accuracy of Eddy-Current and Radar Methods Used in Reinforcement Detection. Materials 2019, 12, 1168. https://doi.org/10.3390/ma12071168
Drobiec Ł, Jasiński R, Mazur W. Accuracy of Eddy-Current and Radar Methods Used in Reinforcement Detection. Materials. 2019; 12(7):1168. https://doi.org/10.3390/ma12071168
Chicago/Turabian StyleDrobiec, Łukasz, Radosław Jasiński, and Wojciech Mazur. 2019. "Accuracy of Eddy-Current and Radar Methods Used in Reinforcement Detection" Materials 12, no. 7: 1168. https://doi.org/10.3390/ma12071168
APA StyleDrobiec, Ł., Jasiński, R., & Mazur, W. (2019). Accuracy of Eddy-Current and Radar Methods Used in Reinforcement Detection. Materials, 12(7), 1168. https://doi.org/10.3390/ma12071168

