Abstract
Fluid flow and heat transfer in porous media have been extensively studied due to their importance in numerous industrial and environmental applications. This review provides a comprehensive analysis of numerical and experimental approaches, presenting a multiscale perspective that bridges molecular, pore, and macroscopic levels. This study emphasizes the importance of understanding the underlying principles governing these processes, as this knowledge is essential for optimizing and innovating applications ranging from energy systems to environmental engineering. The review synthesizes key theoretical frameworks, including Darcy’s law, the Brinkman equation, and volume-averaging methods, offering a robust foundation for interpreting complex interactions in porous media. A novel aspect of this work is the integration of experimental and numerical insights to address challenges such as heterogeneity, anisotropy, and scale effects, demonstrating their complementary roles in advancing this field. Additionally, the review highlights emerging methodologies, including advanced pore-scale modeling, the lattice Boltzmann method, and machine learning, as transformative tools for overcoming existing limitations and exploring future directions. By identifying critical knowledge gaps and proposing innovative solutions, this article serves as a vital resource for researchers and practitioners, fostering interdisciplinary approaches and paving the way for cutting-edge advancements in the study of fluid flow and heat transfer in porous media.
1. Introduction
Fluid flow and heat transfer in porous media is a fascinating and complex phenomenon; its representation and simulation carry out wide-ranging applications in many engineering and scientific fields [1,2]. Porous media are solid materials that contain interconnected pores, which can be filled with gas or fluid. The fluid flow and heat transfer in porous media are governed by complex interactions between the solid matrix, the fluid phase, and the boundary conditions [3]. Therefore, understanding and predicting fluid flow and heat transfer in porous media is essential for designing and optimizing the performance of many engineering systems. This topic has garnered significant attention over the years, with researchers using numerical and experimental methods to study the phenomenon. The foundation of this field was laid by Henry Darcy in 1855, whose experiments on water flow through sand filters resulted in the formulation of Darcy’s law, a fundamental principle describing the relationship between fluid velocity, pressure gradient, and medium permeability [4].
Numerical simulations, such as computational fluid dynamics (CFD), can provide detailed insights into the flow and heat transfer characteristics at different scales [5,6]. Experimental studies, including laboratory experiments and field measurements, can provide reliable data for validating and calibrating the numerical models, as well as for characterizing the properties of the porous media [7,8,9].
The importance of studying fluid flow and heat transfer in porous media is underscored by its many applications. Geological formations, fuel cells, biological systems, and chemical reactors are just a few examples of applications where fluid flow in porous media plays an important role. For instance, modeling these reactions allows us to optimize the flow rate and improve the efficiency of heat exchangers. Furthermore, developing sustainable energy technologies like carbon capture and storage requires a deep understanding of the fluid flow and heat transfer in porous media [10,11,12].
This review is structured to provide a comprehensive overview of the fundamental principles and methodologies governing fluid flow and heat transfer in porous media, focusing on multiscale modeling, experimental techniques, and numerical approaches. While specific geometries and effects are essential in understanding particular applications, this review aims to provide a broader framework applicable across various systems to identify key challenges and guide future research.
While this review provides a broad framework for fluid flow and heat transfer in porous media, it does not focus on specific configurations or phenomena such as Hall effects in magnetohydrodynamics, natural convection in stratified porous media, or thermophoresis in free convection. Specialized geometries, including inclined surfaces or vertical strata, are also beyond the scope of this work but remain important for targeted studies and applications.
This review article provides a detailed synthesis of the numerical and experimental methods used to study fluid flow and heat transfer in porous media, offering perspectives that connect foundational principles to cutting-edge advancements. Unlike previous reviews, this work emphasizes the integration of insights across multiple scales—ranging from the molecular to the macroscopic—highlighting their significance for understanding the complexity of porous systems. It also underscores the critical role of combining experimental and numerical approaches, presenting a cohesive framework that bridges theory with practical applications. By addressing challenges such as heterogeneity, anisotropy, and scale effects, the review identifies current knowledge gaps and proposes future-oriented solutions, including the application of advanced pore-scale modeling techniques and machine learning. Through its forward-looking analysis, this article aims to guide researchers toward innovative applications and optimization strategies in fields such as renewable energy, biotechnology, and beyond.
2. Theory and Background
2.1. Fundamental Principles Governing Fluid Flow and Heat Transfer in Porous Media
Flow phenomena in porous media can be considered at different scales [4,13]. A general classification is presented in Figure 1, which illustrates four distinct scales: the molecular scale, where atomic-level interactions such as dissolution and precipitation occur; the pore scale, which captures processes like fluid flow and localized phase distributions within the porous matrix; the Representative Elementary Volume (REV) scale, encompassing heterogeneities within statistically averaged volumes, along with sub-REV features; and the field scale (or plot scale), which addresses macroscopic applications in larger domains. This multiscale framework provides a foundation for understanding fluid flow and heat transfer processes in porous media.
Figure 1.
A multiscale classification of porous media processes across four scales: the field scale (kilometers to meters) focuses on large-scale applications; the REV scale (meters to millimeters) includes representative volume heterogeneities and sub-REV features; the pore scale (millimeters to micrometers) captures processes such as fluid flow and dissolution–precipitation; and the molecular scale (nanometers) addresses interactions at the atomic level. This framework highlights the interconnected nature of these scales in porous media systems [14].
At the molecular scale, the focus is on intermolecular processes—specifically, the motion and collisions of individual molecules within the fluid phases. This scale is particularly valuable for determining the chemical and physical properties of fluids. By averaging molecular quantities over a certain volume, macroscopic properties such as density, pressure, and temperature emerge. These averaged quantities are utilized at the continuum scale, where they are continuously defined in space.
The pore scale involves resolving the spatial distribution of phases and interfaces within the porous medium. Advanced laboratory techniques, such as X-ray or neutron tomography, have significantly evolved over the past decades, enabling high-resolution scans with enhanced spatial and temporal detail. These advancements provide critical insights into the internal structure of porous media. The high-resolution images, along with artificially generated geometries, serve as inputs for pore-scale models that compute flow fields and transport phenomena within the pore spaces.
Despite the detailed information available at the molecular and pore scales, many practical applications require models that consider average quantities over a larger volume. This leads to the concept of the REV scale, which is the focus of our work. The REV is a volume over which properties of the porous medium can be statistically averaged, resulting in effective parameters that characterize the medium at a larger scale. The size of the REV is critical; it must be large enough that further increases or decreases in the averaging volume do not significantly change the averaged properties.
The lower limit of the REV size is constrained by microscopic variability—if the averaging volume is too small, fluctuations in the averaged quantities become significant due to local heterogeneities. Conversely, the upper limit is determined by the need to capture essential structural details—if the REV is too large, important macroscopic heterogeneities may be overlooked, leading to a loss of resolution of the considered structures. The REV scale can be further subdivided into the laboratory scale, involving samples of meters or less, and the field scale, which pertains to larger applications ranging from tens of meters to kilometers.
The field scale extends the principles of the REV scale to larger, real-world applications such as aquifers, reservoirs, and remediation projects. While REV-scale research emphasizes averaged quantities within a representative volume, field-scale studies incorporate multiple REVs to account for large-scale heterogeneity and anisotropy, addressing practical challenges like boundary effects and dynamic environmental conditions. This transition allows for the development of predictive models and optimization strategies for large-scale engineering and environmental applications.
The selection of the appropriate modeling scale depends on the spatial extent of the application and the specific problem being addressed. In larger-scale models, it is essential to accurately account for processes occurring at smaller scales. This is typically achieved by employing averaged or effective quantities, although this approach often results in some loss of information regarding the distribution of properties within the averaging volume.
Fluid dynamical systems can be mathematically modeled at different scales using appropriate equations. On the microscopic scale, Hamilton’s equations describe the system with great detail at the level of individual molecular particles. At the mesoscopic scale, the Boltzmann equation provides an intermediate description that balances detail and abstraction. At the macroscopic scale, the Navier–Stokes equations are used to model the continuum behavior of fluids, where microscopic details are effectively averaged out. This hierarchy of models, illustrated in Figure 2, demonstrates that physical systems can be described at various levels of detail, each employing mathematical formulations suitable for capturing the essential physics at that scale.
Figure 2.
A unified representation of fluid dynamics across scales, from microscopic particle dynamics to macroscopic continuum flow. The diagram illustrates the governing equations—Hamilton’s, Boltzmann, and Navier–Stokes—and their computational approaches.
Fluid flow and heat transfer in porous media are governed by a set of fundamental theories, which play an important role in determining the macroscopic and microscopic behavior of the system. In general, at a macroscopic scale, the porous medium can be treated as a continuum material with macroscopic properties, such as porosity, permeability, and thermal conductivity. The fluid flow is described by the Navier–Stokes equations, modified to account for the presence of the solid matrix. These equations can be simplified using Darcy’s law, which relates the fluid velocity to the pressure gradient. For incompressible flow, Darcy’s law can be written as follows:
where is the volumetric flow rate per unit area (flux), often used interchangeably with ; is the permeability of the porous medium; is the dynamic viscosity of the fluid; and is the fluid pressure.
In the creeping flow or Darcy regime, fluid flow is controlled via a viscous term, while the distribution of velocity is obtained via local geometry. This kind of flow happens for very low Reynolds numbers that are calculated by averaging the diameters of grains, i.e., less than one [15,16]. Darcy׳s law was later found to be limited in accuracy and only valid for low-velocity flows that are incompressible and isothermal. Further research brought forth the Dupuit–Forchheimer extension to Darcy׳s law. This addition to Darcy׳s law defines the form drag’s effect on the flow, which is represented by the inertial resistance coefficient ( in Equation (2)). The following equation describes viscous and inertial effects. The second sentence of the right-hand part of this equation describes inertial resistance that is non-linear and affects higher velocity flows, but it varies concerning pore size, internal structure, and porosity [17,18].
where represents the Forchheimer number, which quantifies the deviation from Darcy’s law due to inertial effects at higher flow velocities. The term denotes the kinematic viscosity of the fluid, describing its resistance to deformation under shear forces. The permeability characterizes the ease with which the fluid flows through the porous medium and is influenced by the medium’s pore geometry and structure. The velocity, , is the Darcy velocity, also referred to as the superficial velocity, defined as the volumetric flow rate per unit cross-sectional area (), where includes both the solid and void regions of the medium. The coefficient , known as the inertial resistance coefficient or Forchheimer coefficient, accounts for the inertial drag effects that become significant at higher velocities in porous structures. Lastly, is the body force vector, representing external forces like gravity or acceleration that influence fluid motion.
The Darcy velocity, as a macroscopic measure, averages the flow rate across the total area of the porous medium, effectively embedding the influence of porosity (). It is related to the intrinsic velocity, , which describes the actual flow rate within the void spaces of the medium, through the relationship , where is the porosity of the medium, representing the fraction of the total volume occupied by voids. This distinction highlights that the intrinsic velocity is a localized measure of flow within the pore space, while the Darcy velocity simplifies the macroscopic description by averaging the flow over the entire cross-sectional area. Using Darcy velocity avoids the explicit inclusion of porosity in the Forchheimer equation while still accounting for its effects implicitly, making it a practical choice for macroscopic flow modeling in porous media.
Flows in porous media are defined as being in one of three ranges, which are determined from the Reynolds number of the flow. They are laminar, non-linear laminar (the transition between the Darcy regime, where viscous effects dominate, to the Forchheimer regime, where inertial effects dominate), and turbulent ranges [17]. Several methods for calculating the Reynolds number as a criterion for flows in porous media have been proposed. Oosthuizen et al. [19] and Boomsma and Poulikakos [20] used the square root of permeability to calculate the Reynolds number value in the porous medium as shown in Equation (3); this use is best acceptable with low porous medium porosity. Non-linear laminar flow occurs in the ReK range of 1–10 that is calculated based on the permeability value [17]. Boomsma and Poulikakos [21] and Bonnet et al. [22] used mean pore diameter to calculate the Reynolds number in the porous medium as shown in Equation (4). Using the pore size as the length scale has been found to be more accurate since permeability and inertial resistance are dependent on pore size [23].
where and used for Reynolds number computed using the square root of permeability and particle diameter. As previously discussed, solving the Navier–Stokes (NS) equations for fluid flow in porous media can be challenging, and approximate solutions are often sought by focusing on the dominant forces under specific flow conditions. For single-phase flow in porous media, the primary forces are the viscous forces within the fluid layers and the inertial forces resulting from the interaction between the fluid flow and the solid matrix. In the low-pressure gradient regime, viscous forces dominate, leading to a linear relationship between the pressure gradient and the volume-averaged velocity, as illustrated in Figure 3. By neglecting inertial forces in this regime, the NS equations simplify to the Stokes equation. Further volume averaging of the Stokes equation yields Darcy’s law, which governs flow in this viscous-dominated region. Consequently, the low-pressure gradient regime is commonly referred to as the Darcy regime in porous media research [24].
Figure 3.
Typical flow regimes in porous media. Pressure gradient versus velocity in porous media, showing Darcy and non-Darcy flow. The red line represents viscous contribution, while the green line includes inertial effects.
As the pressure gradient increases, the inertial forces between the fluid and the solid matrix become more significant and cause a non-linear relationship between the pressure gradient and the fluid velocity. Stokes law and, in effect, Darcy’s law fail in this regime since they do not account for the increased influence of inertial effects at the higher pressures. Thus, it is necessary to properly understand these flow regimes and the regions in a porous domain where they occur to apply the proper equation.
2.2. Different Types of Porous Media and Their Properties
Porous media can be classified into different types based on their geometrical and physical properties. The most common types of porous media are packed beds, fibrous media, and foam-like structures. Packed beds consist of randomly packed spherical or cylindrical particles, which can be homogeneous or heterogeneous in size and shape. Fibrous media are composed of randomly oriented fibers, such as paper, textiles, or felt, and are often used as filters or insulation materials. Foam-like structures are characterized by interconnected voids and thin walls and are found in materials such as ceramic foams and metal foams. The hydrodynamic and thermal properties of porous media depend on their geometrical characteristics, such as porosity, permeability, and tortuosity, as well as their physical properties, such as thermal conductivity, specific heat capacity, and surface tension. Porosity is defined as the ratio of the volume of voids to the total volume of the porous medium. Different porosity categories are presented in Figure 4.
Figure 4.
Different porosity amounts of the porous matrix [25].
The permeability of a porous medium is determined by the available routes in the structure of that medium where fluids will have the opportunity to pass through (see Figure 5). Different parameters play a role in characterizing the permeability of porous media. They are porosity, the shape of voids, the size of voids, and voids’ connectedness. Fluids can soak more readily into porous layers within porous media that are more permeable.
Figure 5.
Porosity and permeability illustration.
Fluid pathways in porous media are often complex and elongated, as demonstrated in Figure 6, which shows the normalized velocity field () for a porous medium with a porosity factor of 70%. This complexity, quantified by tortuosity, increases flow resistance, reducing permeability and impacting heat and mass transfer. Understanding and optimizing tortuosity is essential for enhancing the performance of porous media-based systems, such as heat exchangers and filtration devices. Advanced modeling techniques, like the lattice Boltzmann method (LBM), provide precise insights into these transport phenomena, enabling the design of more efficient systems.
Figure 6.
A 2D schematic of tortuous stream tubes through the unsaturated porous rocks [13].
2.3. Mathematical Models Used to Study Fluid Flow and Heat Transfer in Porous Media
To study fluid flow and heat transfer in porous media, mathematical models can be developed based on the fundamental principles outlined in Section 2.1. These models can range from simple analytical solutions to complex numerical simulations. One commonly used mathematical model for fluid flow in porous media is the Brinkman equation, which is a modified version of the Navier–Stokes equations that includes a viscous drag term due to the presence of the solid matrix. The Brinkman equation can be written as follows:
where is the fluid velocity; is the fluid density; is the fluid pressure; is the dynamic viscosity of the fluid; and is the permeability of the porous medium.
For heat transfer in porous media, a widely used model is the volume-averaging method, which involves averaging the properties of the fluid and the solid matrix over a representative volume element (RVE) of the porous medium. Volumetric averaging theories are used to solve macroscopic conservation equations for a REV of porous media. These equations implicitly account for microstructures using phenomenological parameters such as porosity, pore size, specific surface area, tortuosity, permeability, relative permeability, effective diffusivity/thermal conductivity, and effective reaction rate [26]. To describe fluid flow on a macroscopic scale, Darcy, Brinkman-extended Darcy, or the Forchheimer-extended Darcy equation is adopted, in which permeability is used to represent the flow capacity of porous media [27,28].
In contrast to macroscopic representative methods, pore-scale models operate at the microscopic scale, directly solving transport processes within realistic porous structures [29]. These models explicitly capture the detailed geometry of porous media, eliminating the need for predefined phenomenological parameters. By resolving the microscopic structure, pore-scale models offer detailed distributions of critical variables and establish a direct connection between complex transport processes and the underlying porous structures. This enables a deeper understanding of the intricate relationships between structure, processes, and performance. Advances in imaging technologies, numerical algorithms, and computational capabilities have significantly propelled the development of pore-scale modeling over the past decades, making it an essential tool for studying transport phenomena in porous media [30,31,32].
A possible approach for simulating heat transfer in porous media is the local thermal non-equilibrium (LTNE) model, which accounts for the temperature difference between the fluid and the solid phases [33]. The LTNE model can be written as follows:
where and are the fluid and solid temperatures, respectively; and are the fluid and solid densities, respectively; and are the fluid and solid specific heat capacities, respectively; and are the fluid and solid thermal conductivities, respectively; and is the interfacial heat transfer coefficient.
Another possible equation that can be used for heat transfer in porous media is the local thermal equilibrium (LTE) model, which assumes that the fluid and solid temperatures are equal at each point in the domain. The LTE model can be written as follows:
where is the average temperature of the fluid and solid phases; and are the effective density and specific heat capacity of the porous medium, respectively; is the effective thermal conductivity of the porous medium; and is a heat source or sink term. The effective properties are obtained by applying mixing rules like the ones used in the LTNE model.
Heat transfer in porous media can be studied using LTE and LTNE models. The LTE model assumes that the fluid and solid temperatures are equal at each point in the domain, while the LTNE model allows for a temperature difference between the fluid and solid phases. The LTE model is simpler and requires only one equation to describe the average temperature of the porous medium, while the LTNE model is more realistic and requires two equations to describe the fluid and solid temperatures separately. The LTE model is valid when the heat transfer between the fluid and solid phases is fast compared to the heat transfer within each phase, while the LTNE model is valid when the heat transfer between the fluid and solid phases is slow compared to the heat transfer within each phase. The choice of the model depends on the thermal properties of the fluid and solid, the pore geometry, and the flow regime [34,35].
Chen et al. [28] conducted a comprehensive study on pore-scale modeling to understand complex transport phenomena in porous media. They identified four critical components that determine the effectiveness and efficiency of pore-scale modeling, as depicted in Figure 7. The first component involves accurately capturing the geometric characteristics and spatial distribution of porous structures, which serve as the foundation for understanding transport processes. The second component emphasizes the development of robust physicochemical models and advanced numerical techniques for solving the governing equations that describe the behavior of fluids and species within the porous network. The third component focuses on analyzing the spatial and temporal evolution of variables at the pore scale, offering valuable insights into the underlying mechanisms and the influence of structural and interfacial properties on transport phenomena. Lastly, the results from pore-scale modeling, or their upscaled representations at the continuum scale, can be utilized to optimize porous structures, tailor physicochemical properties, and refine operating conditions. These strategies aim to enhance, suppress, or control transport processes, ultimately leading to improved system performance.
Figure 7.
Implementation processes and roles of pore-scale modeling. This figure illustrates the steps from digitalizing porous structures to applying pore-scale modeling methods, such as LBM, to simulate various processes. The results provide pore-scale distributions, which are then used to optimize structure, control processes, and improve performance at the continuum scale [28].
3. Experimental Methods
Experimental methods are widely used to study fluid flow and heat transfer in porous media due to their ability to capture detailed information about the flow behavior and temperature distribution in porous materials [36,37]. In this section, we provide an overview of some commonly used experimental techniques, their advantages and limitations, and examples of experimental studies and their findings.
3.1. Pore-Scale and Macroscopic Techniques: Advantages and Limitations
Experimental methods are indispensable for exploring fluid flow and heat transfer in porous media. These approaches can be classified into macroscopic techniques, which evaluate system-level properties, and pore-scale techniques, which provide detailed insights into flow behavior within individual pores. Macroscopic techniques, such as pressure drop and thermal conductivity measurements, are practical and widely used for assessing bulk properties. These methods offer valuable data for validating numerical models but lack the resolution to capture the intricacies of pore-scale interactions [38,39].
Pore-scale visualization techniques address this limitation by using advanced imaging technologies. X-ray computed tomography (XCT) [40] reconstructs three-dimensional structures of porous media with resolutions ranging from micrometers to nanometers, making it invaluable for studying multiphase flow and validating models. Similarly, focused ion beam–scanning electron microscopy (FIB-SEM) [41] provides high-resolution 3D reconstructions by sequentially milling and imaging layers, revealing critical details like pore connectivity and tortuosity. Electron tomography [42] further enhances pore-scale studies by offering nanoscale insights into complex structures.
Experimental methods excel at capturing real-world data and validating computational models, enabling detailed exploration of fluid and thermal phenomena. However, high-resolution techniques are often expensive, time-intensive, and require precise control over boundary conditions. Some, like FIB-SEM, are destructive, limiting their applicability to dynamic studies. Despite these challenges, integrating experimental data with numerical simulations enhances the reliability and depth of research. Advances in imaging technology and data analysis, including machine learning, are overcoming traditional limitations, making experimental methods increasingly powerful for studying porous media.
3.2. Key Mechanistic Factors Governing Fluid Flow and Heat Transfer in Porous Media
Porosity, the void fraction within a porous medium, critically governs fluid storage and transport dynamics. While increased porosity enhances fluid infiltration, it may compromise the medium’s structural integrity [43]. Variations in porosity create heterogeneity that shapes flow paths and thermal transfer processes, emphasizing the need for precise characterization. Advanced techniques like X-ray computed tomography (XCT) offer high-resolution porosity mapping, supporting both pore-scale and macroscopic modeling. Complementary methods, such as mercury intrusion porosimetry, further quantify porosity across diverse materials.
Permeability measures the ease of fluid flow through a porous medium and is governed by pore size, shape, and connectivity. Foundational models like Darcy’s law and its extensions, such as the Forchheimer equation, describe flow behavior across various regimes. High permeability promotes efficient fluid transport, while low permeability impedes flow. Advanced experimental methods, including oscillatory flow techniques and μCT-based analyses combined with numerical simulations, enable precise quantification of permeability in complex porous structures [44].
Thermal conductivity in porous media depends on the thermal properties of both the fluid and solid phases, their spatial arrangement, and their interaction. Effective thermal conductivity is particularly important in systems such as geothermal energy and fuel cells. Measurements using steady-state and transient methods validate numerical predictions, while volume-averaging methods help bridge the microscale and macroscale thermal behaviors.
Tortuosity, the ratio of the actual flow path length to the straight-line distance, represents the complexity of fluid pathways within the porous matrix. Greater tortuosity increases resistance to flow and affects heat transfer rates. Advances in digital reconstruction and numerical modeling, particularly using LBM and pore-network methods, allow detailed incorporation of tortuosity into predictive frameworks, highlighting its significance in transport phenomena [45].
Specific surface area, which quantifies the surface area per unit volume, is pivotal in enhancing heat and mass transfer processes. Porous media characterized by high specific surface areas, such as fibrous or foam structures, significantly improve fluid–solid interactions, adsorption, and catalytic reactions. Techniques such as Brunauer–Emmett–Teller (BET) analysis provide reliable measurements that are essential for integrating this parameter into numerical models. Experimental methods for assessing specific surface area often involve gas adsorption techniques that can accurately reflect the surface characteristics of porous materials.
Pore size distribution is the distribution of pore sizes that influences flow regimes, permeability, and capillary behavior. Larger pores typically allow easier fluid flow, while smaller pores enhance capillary forces and retention. Experimental tools, such as mercury intrusion porosimetry and μCT imaging, combined with numerical simulations, provide insights into how pore size variations affect overall transport phenomena.
Anisotropy, the directional dependence of properties like permeability or thermal conductivity, and heterogeneity, the spatial variability of structural features, are essential factors in understanding porous media. Anisotropic properties create preferential flow and thermal paths, which can significantly impact the efficiency of industrial processes. Capturing these characteristics in experiments and models enables a more accurate representation of real-world porous systems.
3.3. Examples of Experimental Studies and Their Findings
Experimental studies have played a vital role in advancing our understanding of fluid flow and heat transfer in porous media. In this section, we provide a more detailed discussion of some key experimental studies and their findings.
Rakpakdee et al. [46] examined the effects of a magnetic field on the heat transfer and flow resistance of a magnetic fluid flowing through a rectangular duct with and without a porous medium (See Figure 8). This study found that combining a magnetic field and a ceramic foam resulted in a synergistic enhancement of heat transfer at low flow rates. The results showed that the pressure drop in the porous medium is higher than in the non-porous medium, and the performance evaluation criterion for the porous medium is higher than for the non-porous medium. This study proposes predictive formulas for the Nusselt number and performance evaluation criterion.
Figure 8.
Schematic of the closed-loop system for magnetic fluid heat transfer and flow resistance under a magnetic field. The system includes a tank with water and ferromagnetic nanoparticles, a pump, a cooling/heating system maintaining 25 °C, a flow sensor, a test section with thermocouples, and a power supply generating a magnetic field. Measurements of heat transfer and pressure drop are recorded by a data logger [46].
Amani et al. [47] studied forced convective heat transfer in a porous metal foam pipe under constant heat flux and magnetic field, as shown in Figure 9. Results indicated that using nanofluid enhanced convective heat transfer compared to pure water. A nanofluid is a colloidal suspension of nanoparticles in a base fluid, and it can enhance the thermal properties of cooling fluid. The highest heat exchange increment occurred at a 2% weight fraction of nanoparticles dispersed in the base liquid at Re = 200 and a magnetic field of 0.02 T. This study also established a new relationship to predict the Nusselt number based on the Prandtl number, Reynolds number, concentration, and magnetic field strength.
Figure 9.
Experimental setup for studying nanofluid convection in a heated metal foam tube under a magnetic field. The system includes two reservoirs, a cooling unit, a pump, and a test section with electromagnets and temperature sensors. The metal foam, made via casting with space holders, features high porosity, surface area, and permeability, enhancing heat transfer and nanofluid mixing. It is isotropic and homogeneous [47].
Guo et al. [48] discussed the use of microcomputed tomography (μCT) technique to investigate the impact of pore structure on displacement efficiency and oil-cluster morphology. Displacement efficiency is a term used in oil recovery to measure how much oil can be extracted from a reservoir by injecting a displacing fluid such as water or gas. It is calculated as the ratio of the volume of oil displaced by the injected fluid to the volume of oil initially in place. This study found that displacement efficiency is affected by the pore structure, and larger pore sizes result in higher displacement efficiency. The results also indicate that the size and morphology of oil clusters depend on the pore structure, with larger pores producing larger oil clusters.
Tian et al. [49] experimentally studied fluid flow and heat transfer characteristics of a power-law type non-Newtonian fluid in three-dimensional structured packed beds of spheres in a square cross-section duct. Cubic arrays of spheres are shown in Figure 10. This study verifies the relationship between pressure drop and flow velocity, discusses flow regime boundaries and critical Reynolds number, evaluates local convection heat transfer coefficient, and introduces the thermal efficiency concept. The thermal efficiency concept is defined to evaluate the flow and heat transfer characteristics of the power-law fluid in the structured packed beds. It is computed as the ratio of the heat transfer rate to the pressure drop power. Higher thermal efficiency means better performance of the packed bed. The findings are useful for optimal packed bed design, and further research is needed for different structured configurations.
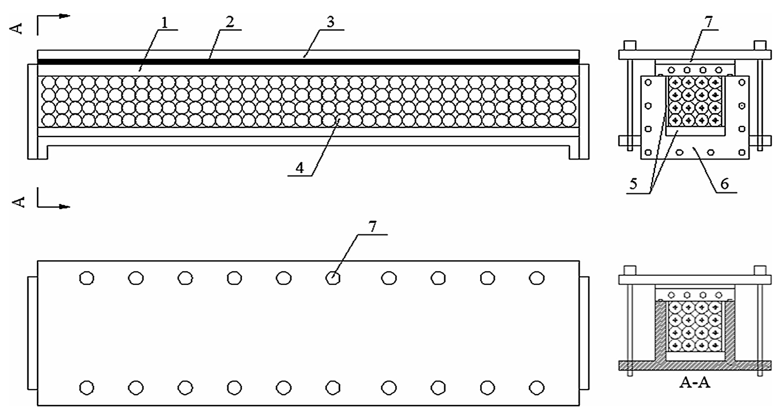
Figure 10.
A schematic structure diagram of the test part, consisting of (1) a copper heater, (2) an asbestos board, (3) a stainless-steel plate, (4) mono-size copper balls in a structured simple cubic (SC) configuration, (5) insulation materials, (6) flanges, and (7) threaded holes. The test part measures 550 mm in length and features a packed bed of 13.55 mm diameter copper balls, arranged in a 4 × 4 array with 11 layers along the flow direction [49].
Xie et al. [50] investigated the pore structure of ultra-low permeability sandstone reservoirs using X-ray computed tomography. This study developed a digital core model and a three-dimensional pore network model to characterize geometric and topological features. Figure 11 shows a three-dimensional display of the pore space for four core samples (S1, S2, S3, and S4), with pores being color-coded by connectivity: blue for all pores, green for connected pores, and red for unconnected pores. The analysis examined parameters such as pore throat radius, coordination number, shape factor, connectivity function, fractal dimension, and plane porosity. The authors identified disconnected pores as the primary cause of ultra-low permeability, with pore throat radii ranging from 0.27 μm to 1.29 μm and fractal dimensions fluctuating between 1.05 and 1.5. Using the maximum ball method, they calculated an average of 37.725% disconnected pores, significantly restricting fluid flow within the reservoirs.
Figure 11.
Three-dimensional display of the pore space image for four ultra-low permeability sandstone core samples (S1, S2, S3, and S4). Pores are color-coded: blue for all pores, green for connected pores, and red for unconnected pores. This figure highlights pore connectivity, heterogeneity, and the role of fractures in influencing permeability [50].
Some samples showed better permeability due to fractures enhancing connectivity. For instance, sample S2 exhibited a permeability of 0.75 mD despite low coordination numbers and throat radii, attributed to structural and gravel-edge fractures. These fractures create fluid pathways and improve porosity and connectivity, essential for oil and gas production. Additionally, fractures enable acidic fluids like organic acid and CO2 to interact with rock minerals, dissolving material and forming dissolution pores through diagenesis. This enhances permeability, storage capacity, and recovery potential. The findings provide valuable insights for resource estimation, development planning, productivity prediction, and recovery optimization in similar reservoirs.
In the following, Table 1 highlights experimental investigations into fluid flow and heat transfer in porous media, focusing on methodologies, findings, and diverse applications. It emphasizes the role of structural properties in shaping flow and thermal behavior across various engineering fields and environmental systems.
Table 1.
Summary of experimental studies on fluid flow and heat transfer in porous media.
Experimental studies have significantly advanced our understanding of the complex interactions governing fluid flow and heat transfer in porous media. They have identified key parameters, which critically influence flow dynamics and thermal transport. These experiments also provide essential datasets for validating and calibrating numerical simulations, bridging theory with practical applications. However, the inherent heterogeneity and multiscale nature of porous media pose challenges to the generalization of results. Future research should prioritize the development of advanced experimental techniques, including high-resolution imaging and real-time monitoring, to capture the intricate, dynamic behavior of porous systems with greater precision and reproducibility. Such innovations will enable deeper insights and more accurate models for diverse engineering and environmental applications.
4. Numerical Methods
Numerical approaches have been widely employed to simulate phenomena in porous media. These methods are generally categorized into three main groups. The first group includes traditional CFD methods, such as the finite volume method (FVM), finite element method (FEM), and finite difference method (FDM). These techniques solve the Navier–Stokes equations by discretizing them and applying suitable boundary conditions [61,62]. The second category involves the pore-network model (PNM), which simplifies the complex structures of porous media into artificial networks. In these networks, large void spaces are represented as pores, and the narrow passages connecting them are modeled as throats. Despite its abstraction of real porous structures, PNM is computationally efficient and effective for studying transport processes [63,64]. For example, the invasion–percolation process, commonly used in PNM, simulates the gradual displacement of one fluid by another in a porous medium under capillary forces. This process identifies the pores and throats with the least resistance to flow, based on their geometries and fluid wetting properties. It is particularly valuable for understanding transport phenomena in scenarios such as oil extraction, pollutant migration, drying, and waste management [65,66]. The third group includes mesoscopic numerical methods like LBM. LBM, with its kinetic approach, excels in handling complex boundary conditions and has become increasingly popular for modeling multiphase flows and fluid dynamics in porous media [67,68].
4.1. Conventional CFD Approaches
The FDM is a numerical technique commonly used for solving partial differential equations governing fluid flow and heat transfer in porous media [69,70]. In FDM, the domain of interest is discretized into a grid, and the partial differential equations are converted into algebraic equations using finite difference approximations [71]. The algebraic equations are then solved iteratively using numerical algorithms such as the Gauss–Seidel method or the successive over-relaxation method. One advantage of FDM is its simplicity and computational efficiency, but its accuracy is limited by the size of the grid and the order of approximation used [72,73].
The FVM is a numerical method used to evaluate elliptic, parabolic, or hyperbolic partial differential equations based on conservation laws [74]. The FVM is a powerful numerical approach for solving complex partial differential equations that describe fluid flow and heat transfer phenomena in porous media [75]. In FVM, the domain of interest is discretized into a set of control volumes, and the conservation laws are expressed in integral form over each control volume. The resulting equations are then solved numerically using numerical algorithms such as the SIMPLE algorithm or the PISO algorithm [76,77]. FVM has the advantage of being conservative and able to handle complex geometries, but it requires more computational resources than FDM.
The FEM is a numerical technique to obtain an approximate solution for problems. It involves discretizing the domain of interest into elements and expressing the equations in weak form over each element. The resulting equations are then solved numerically using algorithms like Newton–Raphson or conjugate gradient [78,79]. FEM handles irregular geometries and provides accurate solutions but requires more computational resources compared to FDM or FVM [80]. The FEM is a powerful approach that is widely used in various commercial software such as NASTRAN and ANSYST, which enable efficient and accurate analysis of different types of engineering problems, including structural mechanics, fluid dynamics, heat transfer, and electromagnetics [81].
4.1.1. General Framework
Conventional CFD approaches involve discretizing governing equations for fluid flow and heat transfer, such as the Navier–Stokes equations and energy equations, over computational grids. These equations are expressed in various forms depending on the numerical method applied.
The continuity equation, which ensures mass conservation, can be written as follows:
The general transport equation for a conserved quantity , including the pressure gradient term, is expressed as follows:
where:
: density of the fluid,
: conserved scalar quantity (e.g., velocity components, temperature),
: velocity vector,
: diffusion coefficient,
: pressure,
: source term for .
The energy equation, describing the conservation of energy, is expressed as follows:
where:
: total energy per unit mass,
: thermal conductivity,
: temperature,
: source term for energy.
4.1.2. Finite Difference Method (FDM)
The FDM approximates derivatives in the transport equations using Taylor series expansions. For example, a first-order derivative and a second-order derivative can be approximated as follows:
where represents the value of at grid point , and is the grid spacing.
Additionally, truncation errors in FDM for a central difference scheme can be expressed as follows:
4.1.3. Finite Volume Method (FVM)
The FVM integrates the transport equation over a control volume and applies the divergence theorem. For a one-dimensional control volume, the discretized form is expressed as follows:
where n is the unit normal vector to the control surface.
Stability of time-dependent FVM simulations is governed by the Courant–Friedrichs–Lewy condition as follows:
4.1.4. Finite Element Method (FEM)
The FEM represents the governing equations in their weak form. For a one-dimensional problem, the weak form of the transport equation can be expressed as follows:
where is the weighting function. Using shape functions , the final system of equations is expressed as follows:
4.2. Lattice Boltzmann Method (LBM)
The LBM is a relatively new numerical technique that has gained popularity in recent years for solving fluid flow and heat transfer problems in porous media [82]. LBM is based on a kinetic approach, where the fluid flow and heat transfer are modeled using a set of distribution functions. The distribution functions are then solved iteratively using numerical algorithms such as the single-relaxation-time or the multiple-relaxation-time models [83,84,85]. LBM has the advantage of being able to handle complex geometries and provide accurate solutions. However, LBM also has some disadvantages, such as requiring more memory and computational resources than FDM and FVM, being less efficient for low Reynolds number flows, and having difficulties in modeling compressible flows [86,87,88].
Guo and Zhao [89] presented an LBE model that can be used to solve the generalized Navier–Stokes equations. The evolution equation is expressed as follows:
where
In these equations, is the distribution function of the -th discrete velocity, which describes the probability of finding a fluid particle with velocity at position and time . The parameter is the time step, and is the relaxation time, which controls how fast the distribution function approaches its equilibrium value . The equilibrium distribution function depends on the weight coefficient , the fluid density , the fluid velocity , the speed of sound in the lattice , and the identity matrix . The term represents the effect of an external force on the distribution function, and is the porosity, which accounts for the presence of solid obstacles in the fluid domain.
It noted the porosity is included in both the equilibrium distribution function and the force term in this model. Particularly, as , both and reduce to the standard ones. In addition, with these definitions, the discrete errors induced by the forcing term are removed. As in the standard LBE, the density and velocity of flow are defined as follows:
4.3. Examples of Numerical Studies
Numerical methods have been used in a wide range of applications to study fluid flow and heat transfer in porous media. A few selected studies presented the following:
Shamsoddini-Lori and Vafai [90] presented a numerical study of the thermal and hydraulic performance of a microchannel heat sink with periodic vertical ribs of different shapes and materials on the sidewalls. The numerical method that has been used in this article is the FEM. The authors used COMSOL Multiphysics software to implement FEM and solve the transport equations for mass, momentum, and energy in the solid, fluid, and porous domains. The authors use the Darcy–Brinkman–Forchheimer model to simulate the transport in the porous ribs and compare the results with the solid ribs and the smooth microchannel. The effects of the rib height, porosity, Darcy number, and Reynolds number on the heat transfer, pressure drop, and figure of merit are investigated. Figure 12 shows the case study in this research.
Figure 12.
A microchannel unit shown as the computational case study with two vertical solid walls, a base, and ribs on the sidewalls [90]. Geometry parameters, specifications, and different arrangements, including rectangular ribs, elliptical ribs, triangular ribs, forward triangular ribs, and backward triangular ribs, have been investigated.
The results show that the porous ribs can enhance the heat transfer and reduce the pumping power compared to the solid ribs and the smooth microchannel, especially at low inlet velocities. The optimal rib shape is found to be the forward triangular rib, which has the highest figure of merit among all cases. The article provides a comprehensive analysis of the fluid flow and heat transfer characteristics of microchannel heat sinks with porous ribs and offers some useful insights for designing efficient cooling systems for high heat flux applications.
The figure of merit as a criteria parameter is a dimensionless parameter that evaluates the performance of a microchannel heat sink by considering both the heat transfer and the pressure drop. It is defined as the ratio of the heat transfer coefficient to the pumping power, as follows:
where h is the heat transfer coefficient and is the pumping power. A higher figure of merit indicates a better performance of the microchannel heat sink, as it means more heat is transferred with less pumping power required. The figure of merit can be used to compare different designs of microchannel heat sinks and optimize their geometry and operating conditions [91,92].
Alruwaili et al. [93] conducted a pore-scale numerical simulation to investigate conjugate heat transfer and turbulent flow over stochastic open-cell metal foams in a composite porous-fluid system. Figure 13 illustrates the non-dimensional temperature distributions for the fluid and solid phases at different Reynolds numbers and blockage ratios. Using the finite volume method and a realizable - turbulence model, this study explored the effects of Reynolds number, blockage ratio, and flow interactions at the porous-fluid interface on heat transfer performance. The results demonstrated that higher Reynolds numbers and increased blockage ratios enhance convective heat transfer by amplifying turbulence and flow mixing within the foam. The concept of penetration cooling length was introduced to quantify thermal performance, revealing that flow leakage decreases with increasing blockage ratios, leading to improved heat transfer rates. This study provides valuable insights into optimizing porous systems for thermal management applications.
Figure 13.
Visualization of fluid and solid-phase temperature distributions in a composite porous-fluid system at different Reynolds numbers and penetration gamma angles. (a–c) Non-dimensional fluid temperature contours show the development of penetrating cooling length, semi-cooled and non-cooled segments, and the wake region downstream of the porous interface. (d–f) Non-dimensional solid temperature contours illustrate heat dissipation within the stochastic open-cell metal foam. Higher Reynolds numbers enhance turbulence, resulting in better penetration of cooling into the porous medium and increased thermal mixing [93].
Javaherdeh et al. [94] investigated the effects of magnetic field and nanoparticle volume fractions on the forced convection flow and heat transfer of a nanofluid in a 2D channel partially filled with porous media as shown in Figure 14. They used the lattice Boltzmann method, which is a powerful approach to simulate complex geometries and fluid–solid interactions, to model the flow, temperature, and magnetic fields. They also considered the temperature-dependent properties of the nanofluid by using a new correlation based on experimental data. The result shows that the step approximation used for the porous medium’s complex boundaries is reliable. Step approximation is a way of simplifying the complex boundaries of porous media by using rectangular or cubic cells to represent the solid and fluid regions. By raising the nanoparticle volume fraction, the average temperature and velocity at the outlet of the channel increase, and the average Nusselt number increases dramatically. The increase in the Hartmann number leads to a slow growth of the average Nusselt number, although the outlet average temperature and velocity show a little drop. Their study provides useful insight into the physics of nanofluid flow and heat transfer in porous media under a magnetic field.
Figure 14.
Geometry of a channel partially filled with a porous medium (ε = 0.74), where a cold Al2O3–water nanofluid flows under a uniform vertical magnetic field. The channel has heated top and bottom walls at constant temperature, with a specified inlet velocity profile. The porous medium consists of non-ordered solid particles of varying sizes and shapes. The channel aspect ratio is AC/AB = 4 [94].
In general, the choice of numerical method depends on the specific problem being studied and the computational resources available. FDM is often used for simple problems with regular geometries, while FVM and FEM are used for more complex problems with irregular geometries [95]. LBM is a relatively new method that is gaining popularity due to its ability to handle complex geometries and provide accurate solutions, but it requires significant computational resources.
Nabipour et al. [96] proposed a computationally efficient approach for modeling flow in complex porous media by integrating multiscale digital rock physics with deep learning techniques. Figure 15 illustrates the 2D and 3D representations of binary (upper row) and normalized Euclidean Distance Transform (EDT) subvolumes (lower row) derived from registered images at different resolutions (high resolution (HR), medium resolution (MR), and low resolution (LR)). These serve as input data for the multiscale Convolutional Neural Network (CNN) model. Regarding the HR image, the corresponding MR and LR volumes exhibit a successive increase in voxel size and loss of resolution of smaller pores.
Figure 15.
Two- and three-dimensional visualizations of binary (top row) and normalized EDT (bottom row) subvolumes derived from registered HR, MR, and LR images (left to right). The transition from HR to LR illustrates the increasing voxel size and loss of fine pore details, emphasizing the resolution trade-off in the multiscale CNN model [96].
This study significantly improved the trade-off between resolution and field of view, enabling permeability predictions at scales beyond direct numerical simulation feasibility. Their CNN model achieved an R² value over 0.96, ensuring high accuracy across resolutions. Transfer learning further enhanced model robustness, making it applicable to various porous media. Additionally, their approach drastically reduced computational time, making large-scale porous media analysis more feasible. The integration of multiscale imaging with CNN allows accurate permeability predictions for larger volumes, reducing computational costs while maintaining predictive accuracy. This technique provides a promising avenue for enhancing digital rock physics and permeability estimation across various porous media scales.
Vasheghani Farahani and Mousavi Nezhad [97] investigated the effect of flow regime and pore structure on the flow signatures in porous media using the lattice Boltzmann method. They simulated three-dimensional fluid flow through two cubic porous media with the same porosity but different packing configurations: simple cubic and randomly packed (See Figure 16). They analyzed the probability density functions of the pore velocity fields at different Reynolds numbers, covering Stokes, laminar, and turbulent flow regimes. They found that the flow signatures in porous media are influenced by both the inertial and viscous forces, and they vary depending on the pore structure’s tortuosity and geometric heterogeneity. The flow signatures in porous media are the characteristics of the fluid flow at the pore scale, such as the velocity distribution, pressure gradient, and flow regime. They also found that the distribution of the velocities in porous media cannot be described by a single probability density function model regardless of the pore structure and flow regime. Their study provides fundamental insights into the pore-scale transport phenomena in porous media.
Figure 16.
Geometries of the (a) regular SC-packed and (b) irregular randomly packed porous structures. Fluid flows in the x-direction, and constant velocity (yellow) and pressure (blue) boundary conditions are considered at the inlet and outlet boundaries, respectively [97].
Table 2 outlines key numerical studies on fluid flow and heat transfer in porous media, showcasing advanced computational methods and their findings. It highlights the predictive power of simulations in addressing complex phenomena and optimizing systems for energy and industrial applications.
Table 2.
Summary of some key numerical studies.
Numerical methods are crucial for exploring fluid flow and heat transfer in porous media, offering insights into complex phenomena across various applications. Each method has strengths and limitations in handling geometry, boundary conditions, multiphase flow, and external effects. Recent advancements have enhanced modeling accuracy and efficiency. While these methods have expanded the scope of porous media research, challenges remain in computational cost and validation. Future efforts should focus on refining numerical approaches and integrating emerging technologies to address these challenges and advance the field further.
5. Combined Experimental and Numerical Methods
Fluid flow and heat transfer in porous media represent intricate phenomena influenced by a multitude of physical and geometric factors. Experimental methods yield essential empirical data regarding flow characteristics, heat transfer rates, and material properties. However, these methods often face limitations due to system complexities and measurement constraints, which can hinder the comprehensive understanding of the phenomena being studied [106]. On the other hand, numerical methods, including CFD and LBM, provide detailed simulations and allow for precise control over various parameters. These methods enable researchers to explore phenomena at scales and conditions that may be otherwise inaccessible [107]. Nevertheless, the accuracy of these numerical models can be compromised by the simplified assumptions they often rely upon, which may not adequately replicate real-world systems.
The integration of experimental and numerical methods offers a synergistic approach that can effectively address the limitations inherent in both methodologies. Experimental data serve as a vital benchmark for validating and calibrating numerical models, ensuring that simulations accurately reflect real-world conditions. Conversely, numerical simulations can enhance the understanding of underlying physical mechanisms, such as pore-scale interactions, which are often challenging to observe experimentally. For instance, numerical methods can predict flow patterns within porous structures, optimize experimental setups, or explore scenarios that are beyond the feasible range of physical experiments [108]. This dual approach not only enriches the understanding of fluid dynamics but also helps in refining experimental designs and methodologies. Moreover, the combined approach significantly reduces the uncertainties associated with both experimental and numerical methods, thereby enhancing the reliability of predictions related to fluid flow and heat transfer in porous media. Validated numerical models can extrapolate experimental findings to different conditions, such as elevated temperatures, pressures, or flow rates, which would be challenging to investigate through experiments alone. Similarly, experimental data can inform and refine numerical simulations by providing insights into material heterogeneity, anisotropy, and unexpected boundary effects.
The practical implications of this integrated methodology are profound. Researchers can leverage this combined approach to optimize the design and performance of various engineering systems, including heat exchangers, geothermal energy systems, and porous electrodes [109]. Case studies in the literature illustrate how such integrations have led to significant advancements, including enhanced heat transfer efficiency, improved fluid mixing, and the development of innovative porous materials tailored for specific applications [110].
Yang et al. [110] provide a comprehensive analysis of multiscale experimental and numerical approaches for addressing multiphysics problems in porous media. Their research highlights the integration of micro-CT imaging with numerical simulations to explore fluid flow, transport, and structural dynamics in porous systems. Key findings include the development of hybrid methods combining pore-scale models with macroscopic continuum theories to capture complex interactions at various scales. This study also emphasizes the importance of integrating numerical methods like the LBM and FVM with experimental techniques for validating fluid transport and reactive processes. These advances enable precise modeling and optimization for applications such as CO2 sequestration, oil and gas recovery, and geothermal energy systems, showcasing the potential for these hybrid methods to enhance energy and environmental engineering.
In conclusion, the integration of experimental and numerical methods constitutes a robust strategy for advancing the understanding of fluid flow and heat transfer in porous media. By harnessing the strengths of both approaches, researchers can achieve a comprehensive and accurate representation of complex systems, thereby guiding the design and optimization of engineering solutions to address real-world challenges effectively.
6. Challenges and Future Directions
6.1. Challenges
Although significant progress has been made in the study of fluid flow and heat transfer in porous media, several challenges still need to be addressed. Pore-scale modeling is commonly used to predict macroscopic transport properties needed for continuum-scale models. However, to achieve this, the REV must be attained. Nevertheless, in some cases, there can be a significant gap between pore-scale and continuum-scale models. This gap makes it challenging to integrate pore-scale simulation results into large-scale continuum-scale simulations, necessitating an appropriate upscaling method [111,112]. Moreover, for certain porous media like thin porous media with a thickness similar to its pore size [113], the REV does not exist. In such scenarios, caution must be exercised when incorporating predicted macroscopic transport properties into continuum-scale models based on the REV. Some of the key challenges are discussed below.
6.1.1. Heterogeneity and Anisotropy of Porous Media
Heterogeneity and anisotropy are two important characteristics of porous media that influence fluid flow and heat transfer processes. Heterogeneity represents the change in the values of different parameters, such as permeability and porosity, from one region to another within the porous medium. For example, a porous medium may have different pore sizes or shapes in different locations, resulting in different flow resistance or storage capacity. Anisotropy represents a change in the parameter value with directions within the porous medium. For example, a porous medium may have different permeability values in the X-, Y-, and Z-directions, depending on the orientation of the pore channels or the grains that form the medium [114]. Heterogeneity and anisotropy can affect fluid flow and heat transfer in various ways, such as creating preferential flow paths, altering the pressure distribution, enhancing or reducing the mixing of fluids, or inducing density-driven convection [115,116]. Therefore, it is essential to account for these characteristics when studying the fluid flow and heat transfer in porous media using numerical or experimental methods.
6.1.2. Fluid–Particle Interactions
Fluid–particle interactions in porous media refer to the forces and phenomena that occur between the fluid phase and the solid phase of the porous medium [117]. These interactions depend on the properties of the fluid, the particles, and the pore structure, such as density, viscosity, electric charge, shape, size, porosity, permeability, and tortuosity [118]. Fluid–particle interactions can influence the fluid flow and heat transfer in various ways, such as creating drag and hydrodynamic effects, altering the pressure distribution and flow patterns, enhancing or reducing the mixing of fluids, inducing chemical reactions or dissolution/precipitation processes, or causing clogging or erosion of the pores [119,120]. Therefore, it is important to account for these interactions when studying the fluid flow and heat transfer in porous media using numerical or experimental methods.
6.1.3. Multiphase Flow and Heat Transfer
In many practical applications, fluid flow and heat transfer in porous media involve multiphase systems, such as gas–liquid, liquid–liquid, or gas–solid–liquid systems. The complex interactions between different phases can result in complex flow and heat transfer patterns, making it challenging to accurately model and simulate such systems [121,122].
6.1.4. Scale Effects
Porous media can exhibit significant scale effects, meaning that the flow and heat transfer properties can vary significantly at different scales. For example, the pore-scale properties can differ significantly from the macroscopic properties, making it challenging to accurately upscale the pore-scale models to the macroscopic scale.
6.2. Future Directions
This review highlights the fundamental principles, numerical methods, and experimental approaches for studying fluid flow and heat transfer in porous media. Beyond the scope of this manuscript, specialized topics such as magnetohydrodynamic effects [123] and double-diffusive convection [124] demonstrate the complexities of flow and heat transfer under unique physical conditions, particularly coupled thermal and concentration gradients. Additionally, the study of micropolar fluids in porous media as models for blood flow through human tissues offers a promising interdisciplinary avenue, connecting porous media research to medical and biological systems [125].
This manuscript focuses on key areas such as theoretical models, experimental techniques, numerical methods like the LBM, and combined experimental–numerical approaches. By addressing these aspects, it establishes a solid foundation for understanding porous media phenomena and provides a framework for future studies in both traditional and emerging fields.
6.2.1. Advances in Numerical Methods
One of the key future research directions is the development of advanced numerical methods for modeling and simulation of fluid flow and heat transfer in porous media. For example, the development of high-performance computing techniques and advanced algorithms can significantly improve the accuracy and efficiency of simulations. Pore-scale modeling, combined with topology optimization, can improve porous media design for better performance [126,127,128]. The transport processes within the structure can be solved using pore-scale models during optimization iteration. Recently, topology optimization has been used to optimize heat exchangers and porous electrodes. However, it is mainly applied to single or simply coupled processes and simplified as a 2D steady-state process due to computational resource limitations. To apply it to engineering design, there is a need to develop models for complex coupled transport processes, optimize algorithms for large-scale parallel computing, and solve 3D unsteady process optimization problems.
6.2.2. Experimental Studies at Multiple Scales
Experimental studies at multiple scales are essential for validating and calibrating numerical models, as well as for characterizing the properties and behavior of porous media. However, experimental studies also face some challenges and limitations, such as high costs, time-consuming setup, difficulties in controlling boundary conditions, and uncertainties in measurements. Therefore, there is a need for developing more advanced experimental techniques that can capture the complex phenomena in porous media with higher accuracy and spatial resolution. Some recent examples of such studies are found in [110,129,130].
These studies demonstrate the advances in multiscale experimental approaches for multiphysics problems in porous media, but they also highlight the need for further research in this field. Some possible suggestions for future studies are as follows:
- Developing new experimental techniques that can measure fluid properties and transport phenomena in porous media at high pressures and temperatures, such as those encountered in geothermal energy systems or carbon capture and storage applications.
- Combining experimental data with machine learning methods to develop predictive models that can account for the uncertainties and heterogeneities in porous media.
- Exploring the effects of chemical reactions, biological processes, or phase changes on the fluid flow and heat transfer in porous media.
6.2.3. Multiphysics Simulations
Multiphysics simulations are numerical methods that can simultaneously solve multiple physical phenomena, such as fluid flow, heat transfer, chemical reactions, and electromagnetic fields, in porous media. These methods are useful for studying complex and coupled processes that occur in porous media applications, such as geothermal energy systems and groundwater remediation [131,132]. However, multiphysics simulations also pose significant challenges, such as the need for accurate models, high computational resources, and reliable validation data. Therefore, further research is needed to develop more efficient and robust multiphysics simulation methods for porous media problems. Some possible directions for future research are as follows:
- Developing new models and algorithms that can capture the multiscale and multiphase nature of porous media phenomena, such as the LBM, the smoothed particle hydrodynamics (SPH), and the discrete element method (DEM).
- Incorporating machine learning and artificial intelligence techniques to enhance the accuracy and speed of multiphysics simulations, such as surrogate models, data-driven models, and optimization methods.
- Performing experimental studies and field measurements to provide more comprehensive and high-resolution data for validating and calibrating multiphysics simulation models.
- Applying multiphysics simulations to novel and emerging applications of porous media, such as bio-inspired materials, nanofluids, and smart porous media.
6.2.4. Applications of Emerging Technologies
Fluid flow and heat transfer in porous media have many applications in emerging technologies, such as additive manufacturing, nanotechnology, biotechnology, and renewable energy [133,134]. These technologies involve complex and coupled processes that require a deep understanding of the transport phenomena in porous media at different scales and conditions. However, there are also many challenges and opportunities associated with these applications, such as the need for novel materials, advanced models, and innovative designs. Therefore, further research is needed to explore the potential and limitations of fluid flow and heat transfer in porous media for these emerging technologies. Some possible directions for future research are as follows:
- Developing new porous materials with tailored properties, such as shape memory alloys, metamaterials, and bio-inspired materials, that can enhance the performance and functionality of porous media-based systems.
- Investigating the effects of nanoscale phenomena, such as surface tension, interfacial forces, and thermal conductivity, on the fluid flow and heat transfer in porous media containing nanofluids or nanoparticles.
- Exploring the applications of porous media in biotechnology, such as tissue engineering, drug delivery, and biosensors, that can benefit from the high surface area, permeability, and biocompatibility of porous materials.
- Optimizing the design and operation of porous media-based systems for renewable energy applications, such as solar thermal collectors, geothermal heat exchangers, and thermoelectric generators, that can improve the energy efficiency and sustainability of energy production.
7. Conclusions
This review article has provided a comprehensive analysis of the numerical and experimental methods used to study fluid flow and heat transfer in porous media. By synthesizing insights from molecular, pore, and macroscopic scales, we have highlighted the fundamental principles, such as Darcy’s law and the Brinkman equation, and mathematical frameworks like volume-averaging methods that govern these phenomena. Additionally, the advantages and limitations of experimental techniques, including X-ray tomography, pressure drop measurements, and heat transfer measurements, were critically reviewed. Numerical methods, such as the finite difference method, finite volume method, finite element method, and lattice Boltzmann method, were presented, showcasing their effectiveness in simulating fluid flow and heat transfer under various conditions.
One of the novel contributions of this review lies in emphasizing the integration of experimental and numerical methods. This combined approach enhances our ability to capture the complex interactions between the fluid phase, solid matrix, and boundary conditions, enabling more accurate modeling and validation of porous media systems. We have also explored emerging methodologies, including advanced pore-scale modeling, machine learning applications, and the lattice Boltzmann method, as transformative tools for addressing challenges like heterogeneity, anisotropy, and scale effects.
Understanding the principles of fluid flow and heat transfer in porous media is essential for optimizing and developing applications in diverse fields, including geothermal energy systems, fuel cells, groundwater remediation, microchannel heat sinks, oil recovery, and carbon capture and storage. The challenges and opportunities associated with these applications underscore the importance of continued research in this area. Future work must address unresolved issues such as multiscale modeling, the integration of advanced numerical techniques with experimental validation, and the exploration of novel materials and geometries.
This review offers valuable guidance for researchers and practitioners, synthesizing the current state of the art while identifying critical gaps and future research directions. The interdisciplinary nature of this field necessitates collaboration across domains to foster innovation and drive advancements. By addressing the challenges of porous media research, this article provides a foundation for the development of optimized systems and applications that improve energy efficiency, environmental sustainability, and industrial performance.
Overall, this review synthesizes fundamental principles and advanced methodologies for studying fluid flow and heat transfer in porous media, focusing on general frameworks and emerging trends rather than specific configurations or effects. While this work provides a broad understanding, future research should explore specialized topics such as hydromagnetic flows, Hall effects, and double-diffusive convection to advance targeted applications.
Funding
This research received no external funding.
Conflicts of Interest
The authors declare no conflict of interest.
References
- Badruddin, I.A.; Azeem; Yunus Khan, T.M.; Ali Baig, M.A. Heat Transfer in Porous Media: A Mini Review. Mater. Today Proc. 2020, 24, 1318–1321. [Google Scholar] [CrossRef]
- Ranjbarzadeh, R.; Meghdadi Isfahani, A.H.; Afrand, M.; Karimipour, A.; Hojaji, M. An experimental study on heat transfer and pressure drop of water/graphene oxide nanofluid in a copper tube under air cross-flow: Applicable as a heat exchanger. Appl. Therm. Eng. 2017, 125, 69–79. [Google Scholar] [CrossRef]
- Faghri, A.; Zhang, Y. Fundamentals of Multiphase Heat Transfer and Flow; Springer: Berlin/Heidelberg, Germany, 2020. [Google Scholar]
- Bear, J. Dynamics of Fluids in Porous Media; Courier Corporation: Chelmsford, MA, USA, 2013. [Google Scholar]
- Carmeliet, J.; Descamps, F.; Houvenaghel, G. A multiscale network model for simulating moisture transfer properties of porous media. Transp. Porous Media 1999, 35, 67–88. [Google Scholar] [CrossRef]
- Alsarraf, J.; Shahsavar, A.; Khaki, M.; Ranjbarzadeh, R.; Karimipour, A.; Afrand, M. Numerical investigation on the effect of four constant temperature pipes on natural cooling of electronic heat sink by nanofluids: A multifunctional optimization. Adv. Powder Technol. 2020, 31, 416–432. [Google Scholar] [CrossRef]
- Baragh, S.; Shokouhmand, H.; Ajarostaghi, S.S.M.; Nikian, M. An experimental investigation on forced convection heat transfer of single-phase flow in a channel with different arrangements of porous media. Int. J. Therm. Sci. 2018, 134, 370–379. [Google Scholar] [CrossRef]
- Ranjbarzadeh, R.; Karimipour, A.; Afrand, M.; Isfahani, A.H.M.; Shirneshan, A. Empirical analysis of heat transfer and friction factor of water/graphene oxide nanofluid flow in turbulent regime through an isothermal pipe. Appl. Therm. Eng. 2017, 126, 538–547. [Google Scholar] [CrossRef]
- Safaei, M.R.; Ranjbarzadeh, R.; Hajizadeh, A.; Bahiraei, M.; Afrand, M.; Karimipour, A. Effects of cobalt ferrite coated with silica nanocomposite on the thermal conductivity of an antifreeze: New nanofluid for refrigeration condensers. Int. J. Refrig. 2019, 102, 86–95. [Google Scholar] [CrossRef]
- Mohammadi, M.H.; Abbasi, H.R.; Yavarinasab, A.; Pourrahmani, H. Thermal optimization of shell and tube heat exchanger using porous baffles. Appl. Therm. Eng. 2020, 170, 115005. [Google Scholar] [CrossRef]
- Tan, X.; Chen, W.; Tian, H.; Cao, J. Water flow and heat transport including ice/water phase change in porous media: Numerical simulation and application. Cold Reg. Sci. Technol. 2011, 68, 74–84. [Google Scholar] [CrossRef]
- Behera, U.S.; Sangwai, J.S.; Byun, H.-S.J.R.; Reviews, S.E. A comprehensive review on the recent advances in applications of nanofluids for effective utilization of renewable energy. Sustain. Energy Rev. 2025, 207, 114901. [Google Scholar] [CrossRef]
- D’Orazio, A.; Karimipour, A.; Ranjbarzadeh, R.J.E. Lattice Boltzmann modelling of fluid flow through porous media: A comparison between pore-structure and representative elementary volume methods. Energies 2023, 16, 5354. [Google Scholar] [CrossRef]
- Baqer, Y.; Chen, X. A review on reactive transport model and porosity evolution in the porous media. Environ. Sci. Pollut. Res. 2022, 29, 47873–47901. [Google Scholar] [CrossRef] [PubMed]
- Cheng, Z.; Ning, Z.; Wang, Q.; Zeng, Y.; Qi, R.; Huang, L.; Zhang, W. The effect of pore structure on non-Darcy flow in porous media using the lattice Boltzmann method. J. Pet. Sci. Eng. 2019, 172, 391–400. [Google Scholar] [CrossRef]
- Esfe, M.H.; Bahiraei, M.; Hajbarati, H.; Valadkhani, M. A comprehensive review on convective heat transfer of nanofluids in porous media: Energy-related and thermohydraulic characteristics. Appl. Therm. Eng. 2020, 178, 115487. [Google Scholar] [CrossRef]
- Nield, D.A.; Bejan, A. Convection in Porous Media; Springer: New York, NY, USA, 2006; Volume 3. [Google Scholar]
- Guo, Z.; Zhao, T.S. A lattice Boltzmann model for convection heat transfer in porous media. Numer. Heat Transf. Part B Fundam. 2005, 47, 157–177. [Google Scholar] [CrossRef]
- Oosthuizen, P.H.; Naylor, D. An Introduction to Convective Heat Transfer Analysis; McGraw-Hill Science, Engineering & Mathematics: New York, NY, USA, 1999. [Google Scholar]
- Boomsma, K.; Poulikakos, D.J.I.J.o.H.; Transfer, M. On the effective thermal conductivity of a three-dimensionally structured fluid-saturated metal foam. Int. J. Heat Mass Transf. 2001, 44, 827–836. [Google Scholar] [CrossRef]
- Boomsma, K.; Poulikakos, D. The effects of compression and pore size variations on the liquid flow characteristics in metal foams. J. Fluids Eng. 2002, 124, 263–272. [Google Scholar] [CrossRef]
- Bonnet, J.-P.; Topin, F.; Tadrist, L. Flow laws in metal foams: Compressibility and pore size effects. Transp. Porous Media 2008, 73, 233–254. [Google Scholar] [CrossRef]
- Bhattacharya, A.; Calmidi, V.; Mahajan, R. Thermophysical properties of high porosity metal foams. Int. J. Heat Mass Transf. 2002, 45, 1017–1031. [Google Scholar] [CrossRef]
- Chukwudozie, C.P. Pore-Scale Lattice Boltzmann Simulations of Inertial Flows in Realistic Porous Media: A First Principle Analysis of the Forchheimer Relationship; Louisiana State University and Agricultural & Mechanical College: Baton Rouge, LA, USA, 2011. [Google Scholar]
- Habibishandiz, M.; Saghir, M.J. A critical review of heat transfer enhancement methods in the presence of porous media, nanofluids, and microorganisms. Therm. Sci. Eng. Prog. 2022, 30, 101267. [Google Scholar] [CrossRef]
- Bear, J.; Buchlin, J.-M. Modelling and Applications of Transport Phenomena in Porous Media; Springer: Berlin/Heidelberg, Germany, 1991; Volume 5. [Google Scholar]
- Forchheimer, P. Wasserbewegung durch boden. Z. Vereines Dtsch. Ingenieure 1901, 45, 1781–1788. [Google Scholar]
- Chen, L.; He, A.; Zhao, J.; Kang, Q.; Li, Z.-Y.; Carmeliet, J.; Shikazono, N.; Tao, W.-Q. Pore-scale modeling of complex transport phenomena in porous media. Prog. Energy Combust. Sci. 2022, 88, 100968. [Google Scholar] [CrossRef]
- Hao, L.; Cheng, P.J.I.J.o.H.; Transfer, M. Pore-scale simulations on relative permeabilities of porous media by lattice Boltzmann method. Int. J. Heat Mass Transf. 2010, 53, 1908–1913. [Google Scholar] [CrossRef]
- Ryan, E.M.; Mukherjee, P.P.; Science, C. Mesoscale modeling in electrochemical devices—A critical perspective. Prog. Energy Combust. Sci. 2019, 71, 118–142. [Google Scholar] [CrossRef]
- Xu, A.; Shyy, W.; Zhao, T. Lattice Boltzmann modeling of transport phenomena in fuel cells and flow batteries. Acta Mech. Sin. 2017, 33, 555–574. [Google Scholar] [CrossRef]
- Molaeimanesh, G.; Googarchin, H.S.; Moqaddam, A.Q. Lattice Boltzmann simulation of proton exchange membrane fuel cells–A review on opportunities and challenges. Int. J. Hydrogen Energy 2016, 41, 22221–22245. [Google Scholar] [CrossRef]
- Nield, D.A.; Bejan, A. Heat transfer through a porous medium. In Convection in Porous Media; Springer: New York, NY, USA, 2006; Volume 3, pp. 27–38. [Google Scholar]
- Rudresh, G.; Rathore, S.S.; Mehta, B. Validation of local thermal equilibrium (LTE) in porous media for variation in flow rate and permeability: Transient analysis. Int. J. Adv. Eng. Sci. Appl. Math. 2023, 15, 82–94. [Google Scholar] [CrossRef]
- Gandomkar, A.; Gray, K.; Transfer, M. Local thermal non-equilibrium in porous media with heat conduction. Int. J. Heat Mass Transf. 2018, 124, 1212–1216. [Google Scholar] [CrossRef]
- Xu, H.J.; Xing, Z.B.; Wang, F.Q.; Cheng, Z.M. Review on heat conduction, heat convection, thermal radiation and phase change heat transfer of nanofluids in porous media: Fundamentals and applications. Chem. Eng. Sci. 2019, 195, 462–483. [Google Scholar] [CrossRef]
- Konduru, R.N.; Farges, O.; Schick, V.; Hairy, P.; Gaillard, Y.; Parent, G. Experimental and numerical investigation of porous heat exchangers with Kelvin cell structured foam at high temperatures: Coupled conduction-convection and radiation heat transfer. Int. J. Heat Mass Transf. 2024, 224, 125253. [Google Scholar] [CrossRef]
- Özgümüş, T.; Mobedi, M.; Özkol, Ü.; Nakayama, A. Thermal dispersion in porous media—A review on the experimental studies for packed beds. Appl. Mech. Rev. 2013, 65, 031001. [Google Scholar] [CrossRef]
- Lv, J.; Xu, H.; Zhu, M.; Dai, Y.; Liu, H.; Li, Z. The performance and model of porous materials in the indirect evaporative cooling system: A review. J. Build. Eng. 2021, 41, 102741. [Google Scholar] [CrossRef]
- Liu, Z.; Wu, H. Pore-scale study on flow and heat transfer in 3D reconstructed porous media using micro-tomography images. Appl. Therm. Eng. 2016, 100, 602–610. [Google Scholar] [CrossRef]
- Wu, H.; Yao, Y.; Zhou, Y.; Qiu, F. Analyses of representative elementary volume for coal using X-ray μ-CT and FIB-SEM and its application in permeability predication model. Fuel 2019, 254, 115563. [Google Scholar] [CrossRef]
- Lopez-Haro, M.; Guétaz, L.; Printemps, T.; Morin, A.; Escribano, S.; Jouneau, P.-H.; Bayle-Guillemaud, P.; Chandezon, F.; Gebel, G.J.N.c. Three-dimensional analysis of Nafion layers in fuel cell electrodes. Nat. Commun. 2014, 5, 5229. [Google Scholar] [CrossRef] [PubMed]
- Boumedjane, M.; Al-Maamari, R.S.; Rabbani, A.; Karimi, M.J.E. Real-Time Pore-Scale Investigation of the Effects of Uniform, Random, and Heterogenous Porous Structures on Intrinsic Permeability Using Two-Dimensional Microfluidic Chips. Energy Fuels 2024, 38, 5700–5713. [Google Scholar] [CrossRef]
- Qin, X.; Xia, Y.; Wu, J.; Sun, C.; Zeng, J.; Xu, K.; Cai, J.J.E. Influence of pore morphology on permeability through digital rock modeling: New insights from the Euler number and shape factor. Energy Fuels 2022, 36, 7519–7530. [Google Scholar] [CrossRef]
- da Silva, M.T.Q.S.; do Rocio Cardoso, M.; Veronese, C.M.P. Tortuosity: A brief review. Mater. Today Proc. 2022, 58, 1344–1349. [Google Scholar] [CrossRef]
- Rakpakdee, W.; Motozawa, M.; Fukuta, M.; Chaiworapuek, W. Characteristics of heat transfer and flow resistance of magnetic fluid flow through porous media combined with magnetic field effect. Exp. Therm. Fluid Sci. 2023, 144, 110851. [Google Scholar] [CrossRef]
- Amani, M.; Ameri, M.; Kasaeian, A. Investigating the convection heat transfer of Fe3O4 nanofluid in a porous metal foam tube under constant magnetic field. Exp. Therm. Fluid Sci. 2017, 82, 439–449. [Google Scholar] [CrossRef]
- Guo, C.; Wang, X.; Wang, H.; He, S.; Liu, H.; Zhu, P. Effect of pore structure on displacement efficiency and oil-cluster morphology by using micro computed tomography (μCT) technique. Fuel 2018, 230, 430–439. [Google Scholar] [CrossRef]
- Tian, X.-W.; Xu, S.-M.; Sun, Z.-H.; Wang, P.; Xu, L.; Zhang, Z. Experimental study on flow and heat transfer of power law fluid in structured packed porous media of particles. Exp. Therm. Fluid Sci. 2018, 90, 37–47. [Google Scholar] [CrossRef]
- Xie, L.; You, Q.; Wang, E.; Li, T.; Song, Y. Quantitative characterization of pore size and structural features in ultra-low permeability reservoirs based on X-ray computed tomography. J. Pet. Sci. Eng. 2022, 208, 109733. [Google Scholar] [CrossRef]
- Jeong, B.; Zhao, Y.; Kang, D.H.; Dai, S. An Experimental Study of the Effect of Motile Bacteria on the Fluid Displacement in Porous Media. E3s Web Conf. 2020, 205, 08008. [Google Scholar] [CrossRef]
- Shigidi, I.; Chemkhi, S. Capillary Pressure Determination Using Thermodynamic Desorption Isotherms and Porosity Measurements. Chem. Eng. Technol. 2023, 46, 1432–1439. [Google Scholar] [CrossRef]
- Mammadov, I.; Panahov, G.; Bakhtiyarov, S.; Museibli, P. Investigation of the Effect of Mutual Diffusion on Hydrodynamic Parameters under Fluid Displacement. J. Adv. Res. Fluid Mech. Therm. Sci. 2024, 118, 39–51. [Google Scholar] [CrossRef]
- Güler, N.; Bayer, Ö.; Solmaz, İ. Experimental and numerical investigation on fluid flow and heat transfer behaviour of foam cladded pin fin heat sink. Appl. Therm. Eng. 2024, 256, 124184. [Google Scholar] [CrossRef]
- Golmohammadi, S.; Ding, Y.; Kuechler, M.; Reuter, D.; Schlueter, S.; Amro, M.; Geistlinger, H. Impact of wettability and gravity on fluid displacement and trapping in representative 2D micromodels of porous media (2D sand analogs). Water Resour. Res. 2021, 57, e2021WR029908. [Google Scholar] [CrossRef]
- Xu, P.; Chen, H.; Shi, W.; Jin, Y.; Wang, H.; Cai, A.; Li, C.; Wu, J.; Yang, G. Experimental study of cryogenic fluid flow through fibrous porous media. Energy 2025, 315, 134358. [Google Scholar] [CrossRef]
- Yaghoubzadeh Vishkaei, M.; Javaherdeh, K. Experimental investigation of the effects of metal foam porous rings on non-Newtonian fluid flow in a double pipe heat exchanger. Int. Commun. Heat Mass Transf. 2024, 158, 107950. [Google Scholar] [CrossRef]
- Shimada, Y.; Watanabe, N.; Ueno, A.; Nagano, H. Evaluation of evaporative heat transfer performance based on observation of Thermo-Fluid behavior in porous structures fabricated by additive manufacturing. Therm. Sci. Eng. Prog. 2024, 56, 103081. [Google Scholar] [CrossRef]
- Hosseini Zadeh, A.; Jeon, M.-K.; Kwon, T.-H.; Kim, S. Pore-scale experimental study on fluid injection into two-dimensional deformable porous media. Int. J. Multiph. Flow 2023, 160, 104376. [Google Scholar] [CrossRef]
- Arshad, A.; Saeed, M.; Ikhlaq, M.; Imran, M.; Yan, Y. Heat and fluid flow analysis of micro-porous heat sink for electronics cooling: Effect of porosities and pore densities. Therm. Sci. Eng. Prog. 2025, 57, 103129. [Google Scholar] [CrossRef]
- Crolet, J.-M. Computational Methods for Flow and Transport in Porous Media; Springer: Berlin/Heidelberg, Germany, 2013. [Google Scholar]
- Boccardo, G.; Tosco, T.; Fujisaki, A.; Messina, F.; Raoof, A.; Aguilera, D.R.; Crevacore, E.; Marchisio, D.L.; Sethi, R. A review of transport of nanoparticles in porous media: From pore-to macroscale using computational methods. In Nanomaterials for the Detection and Removal of Wastewater Pollutants; Elsevier: Amsterdam, The Netherlands, 2020; pp. 351–381. [Google Scholar]
- Blunt, M.J. Flow in porous media—Pore-network models and multiphase flow. In Current Opinion in Colloid & Interface Science; Elsevier: Amsterdam, The Netherlands, 2001; Volume 6, pp. 197–207. [Google Scholar]
- Raoof, A.; Hassanizadeh, S.M. A new method for generating pore-network models of porous media. Transp. Porous Media 2010, 81, 391–407. [Google Scholar] [CrossRef]
- Krishnamurthy, P.G.; Senthilnathan, S.; Yoon, H.; Thomassen, D.; Meckel, T.; DiCarlo, D. Comparison of Darcy’s law and invasion percolation simulations with buoyancy-driven CO2-brine multiphase flow in a heterogeneous sandstone core. J. Pet. Sci. Eng. 2017, 155, 54–62. [Google Scholar] [CrossRef]
- Lautenschlaeger, M.P.; Weinmiller, J.; Kellers, B.; Danner, T.; Latz, A. Homogenized lattice Boltzmann model for simulating multi-phase flows in heterogeneous porous media. Adv. Water Resour. 2022, 170, 104320. [Google Scholar] [CrossRef]
- Chen, L.; Kang, Q.; Mu, Y.; He, Y.-L.; Tao, W.-Q. A critical review of the pseudopotential multiphase lattice Boltzmann model: Methods and applications. Int. J. Heat Mass Transf. 2014, 76, 210–236. [Google Scholar] [CrossRef]
- Succi, S.; Foti, E.; Higuera, F. Three-dimensional flows in complex geometries with the lattice Boltzmann method. Europhys. Lett. 1989, 10, 433. [Google Scholar] [CrossRef]
- Das, B.; Steinberg, S.; Weber, S.; Schaffer, S. Finite difference methods for modeling porous media flows. Transp. Porous Media 1994, 17, 171–200. [Google Scholar] [CrossRef]
- Li, P.-W.; Grabski, J.K.; Fan, C.-M.; Wang, F. A space-time generalized finite difference method for solving unsteady double-diffusive natural convection in fluid-saturated porous media. Eng. Anal. Bound. Elem. 2022, 142, 138–152. [Google Scholar] [CrossRef]
- Nabwey, H.A.; Armaghani, T.; Azizimehr, B.; Rashad, A.M.; Chamkha, A.J. A Comprehensive Review of Nanofluid Heat Transfer in Porous Media. Nanomaterials 2023, 13, 937. [Google Scholar] [CrossRef] [PubMed]
- Xiong, Z.; Wang, X.; He, M.; Benabou, L.; Feng, Z. Investigation on thermal conductivity of silver-based porous materials by finite difference method. Mater. Today Commun. 2022, 33, 104897. [Google Scholar] [CrossRef]
- Shankar Goud, B.; Srilatha, P.; Srinivasulu, T.; Dhamendar Reddy, Y.; Sandeep Kumar, K. Induced by heat source on unsteady MHD free convective flow of Casson fluid past a vertically oscillating plate through porous medium utilizing finite difference method. Mater. Today Proc. 2023. [Google Scholar] [CrossRef]
- Aleksendrić, D.; Carlone, P. 4-Soft computing techniques. In Soft Computing in the Design and Manufacturing of Composite Materials; Aleksendrić, D., Carlone, P., Eds.; Woodhead Publishing: Oxford, UK, 2015; pp. 39–60. [Google Scholar] [CrossRef]
- Batool, S.; Rasool, G.; Alshammari, N.; Khan, I.; Kaneez, H.; Hamadneh, N. Numerical analysis of heat and mass transfer in micropolar nanofluids flow through lid driven cavity: Finite volume approach. Case Stud. Therm. Eng. 2022, 37, 102233. [Google Scholar] [CrossRef]
- He, S.; Wang, M.; Tian, W.; Qiu, S.; Su, G. Development of an OpenFOAM solver for numerical simulations of shell-and-tube heat exchangers based on porous media model. Appl. Therm. Eng. 2022, 210, 118389. [Google Scholar] [CrossRef]
- Di Meglio, A.; Massarotti, N. CFD Modeling of Thermoacoustic Energy Conversion: A Review. Energies 2022, 15, 3806. [Google Scholar] [CrossRef]
- Koutromanos, I. Fundamentals of Finite Element Analysis: Linear Finite Element Analysis; John Wiley & Sons: Hoboken, NJ, USA, 2018. [Google Scholar]
- Reddy, J.N. Introduction to the Finite Element Method; McGraw-Hill Education: Columbus, OH, USA, 2019. [Google Scholar]
- Pepper, D.W.; Heinrich, J.C. Intermediate Finite Element Method: Fluid Flow and Heat Transfer Applications; Routledge: London, UK, 2017. [Google Scholar]
- Sabat, L.; Kundu, C.K. History of finite element method: A review. In Recent Developments in Sustainable Infrastructure: Select Proceedings of ICRDSI; Springer: Singapore, 2020; pp. 395–404. [Google Scholar]
- He, Y.-L.; Liu, Q.; Li, Q.; Tao, W.-Q. Lattice Boltzmann methods for single-phase and solid-liquid phase-change heat transfer in porous media: A review. Int. J. Heat Mass Transf. 2019, 129, 160–197. [Google Scholar] [CrossRef]
- Perumal, D.A.; Dass, A.K. A Review on the development of lattice Boltzmann computation of macro fluid flows and heat transfer. Alex. Eng. J. 2015, 54, 955–971. [Google Scholar] [CrossRef]
- Nemati, M.; Abady, A.R.S.N.; Toghraie, D.; Karimipour, A. Numerical investigation of the pseudopotential lattice Boltzmann modeling of liquid–vapor for multi-phase flows. Phys. A Stat. Mech. Appl. 2018, 489, 65–77. [Google Scholar] [CrossRef]
- Bouarnouna, K.; Boutra, A.; Ragui, K.; Labsi, N.; Benkahla, Y.K. Multiple-relaxation-time lattice boltzmann model for flow and convective heat transfer in channel with porous media. J. Stat. Phys. 2019, 174, 972–991. [Google Scholar] [CrossRef]
- Chen, S.; Doolen, G. Lattice Boltzmann method for fluid flows. Annu. Rev. Fluid Mech. 1998, 30, 329–364. [Google Scholar] [CrossRef]
- Lohner, R.; Corrigan, A.T.; Wichmann, K.-R.; Wall, W. Comparison of lattice-Boltzmann and finite difference solvers. In Proceedings of the 52nd Aerospace Sciences Meeting, National Harbor, MD, USA, 13–17 January 2014; p. 1439. [Google Scholar]
- Zhang, J.J.M. Lattice Boltzmann method for microfluidics: Models and applications. Microfluid. Nanofluid. 2011, 10, 1–28. [Google Scholar] [CrossRef]
- Guo, Z.; Zhao, T.J. Lattice Boltzmann model for incompressible flows through porous media. Phys. Rev. E 2002, 66, 036304. [Google Scholar] [CrossRef] [PubMed]
- Lori, M.S.; Vafai, K. Heat transfer and fluid flow analysis of microchannel heat sinks with periodic vertical porous ribs. Appl. Therm. Eng. 2022, 205, 118059. [Google Scholar] [CrossRef]
- Zhang, S.; Ahmad, F.; Khan, A.; Ali, N.; Badran, M.J.S.R. Performance improvement and thermodynamic assessment of microchannel heat sink with different types of ribs and cones. Sci. Rep. 2022, 12, 10802. [Google Scholar] [CrossRef]
- Karwa, R.; Sharma, C.; Karwa, N. Performance evaluation criterion at equal pumping power for enhanced performance heat transfer surfaces. J. Sol. Energy 2013, 37, 23–32. [Google Scholar] [CrossRef]
- Alruwaili, W.; Jadidi, M.; Keshmiri, A.; Mahmoudi, Y. Pore-scale conjugate heat transfer analysis of turbulent flow over stochastic open-cell metal foams. Int. J. Therm. Sci. 2024, 202, 109061. [Google Scholar] [CrossRef]
- Javaherdeh, K.; Ashorynejad, H.R. Magnetic field effects on force convection flow of a nanofluid in a channel partially filled with porous media using Lattice Boltzmann Method. Adv. Powder Technol. 2014, 25, 666–675. [Google Scholar]
- Venkateshan, S.; Swaminathan, P. Computational Methods in Engineering; Elsevier: Amsterdam, The Netherlands, 2013. [Google Scholar]
- Nabipour, I.; Raoof, A.; Cnudde, V.; Aghaei, H.; Qajar, J. A computationally efficient modeling of flow in complex porous media by coupling multiscale digital rock physics and deep learning: Improving the tradeoff between resolution and field-of-view. Adv. Water Resour. 2024, 188, 104695. [Google Scholar] [CrossRef]
- Vasheghani Farahani, M.; Mousavi Nezhad, M. On the effect of flow regime and pore structure on the flow signatures in porous media. Phys. Fluids 2022, 34, 115139. [Google Scholar] [CrossRef]
- Song, G.; Wang, D.; Li, Y.; Li, W.; Du, D. Pore-scale numerical studies on determination of the effective thermal conductivity of the fluid saturated porous media. Int. J. Heat Mass Transf. 2025, 238, 126472. [Google Scholar] [CrossRef]
- Mehrjoo, H.; Monfared, A.E.F.; Jafari, S.; Norouzi-Apourvari, S.; Schaffie, M. A lattice Boltzmann framework for simulating reactive fluid flow with variable viscosity in porous media. Chem. Eng. Res. Des. 2025, 214, 298–316. [Google Scholar] [CrossRef]
- Ahmad, S.; Tiamiyu, A.T. Numerical simulation of time-dependent non-Newtonian compressible fluid flow in porous media: Finite element method and time integration approach. Int. Commun. Heat Mass Transf. 2024, 159, 107934. [Google Scholar] [CrossRef]
- Zhao, J.; Liu, Y.; Qin, F.; Fei, L. Pore-scale fluid flow simulation coupling lattice Boltzmann method and pore network model. Capillarity 2023, 7, 41–46. [Google Scholar] [CrossRef]
- Zhao, F.; Hong, P.; Dai, C.; Wang, G.; Lei, H. A lattice Boltzmann flux solver with the 1D-link interpolation scheme for simulating fluid flow and heat transfer in fractured porous media. Comput. Geosci. 2024, 193, 105715. [Google Scholar] [CrossRef]
- Alkhamis, N. Heat transfer enhancement for fluid flow inside a channel by using metal foam. Int. Commun. Heat Mass Transf. 2025, 162, 108574. [Google Scholar] [CrossRef]
- Wang, P.; Dong, B.; Chen, Y.; Deng, Y.; Zhang, Q.; Sun, D. Implementation and performance analysis of the IDEAL algorithm for fluid flow and heat transfer in porous media based on OpenFOAM. Therm. Sci. Eng. Prog. 2024, 53, 102736. [Google Scholar] [CrossRef]
- Ye, H.; Wang, S.; Li, J.; Dong, Y.; Zhu, J. Layout optimization of pore microstructure in fluid-saturated porous media using Galerkin decoupling technology and independent continuous mapping method (GDT-ICM). Appl. Math. Model. 2025, 138, 115753. [Google Scholar] [CrossRef]
- Lin, S.; Shi, F.; Feng, W. Experimental and numerical simulation research on fluid pressure drop inside sintered metal porous plates. J. Phys. Conf. Ser. 2024, 2775, 012022. [Google Scholar] [CrossRef]
- Berre, I.; Boon, W.M.; Flemisch, B.; Fumagalli, A.; Gläser, D.; Keilegavlen, E.; Scotti, A.; Stefansson, I.; Tatomir, A.; Brenner, K.; et al. Verification benchmarks for single-phase flow in three-dimensional fractured porous media. Adv. Water Resour. 2021, 147, 103759. [Google Scholar] [CrossRef]
- Okere, C.J.; Su, G.; Gu, X.; Han, B.; Tan, C. An integrated numerical visualization teaching approach for an undergraduate course, flow in porous media: An attempt toward sustainable engineering education. Comput. Appl. Eng. Educ. 2021, 29, 1836–1856. [Google Scholar] [CrossRef]
- Languri, E.M.; Pillai, K.M. A combined experimental/numerical approach to study the thermal dispersion in porous media flows. Therm. Sci. 2014, 18 (Suppl. S2), 463–474. [Google Scholar] [CrossRef]
- Yang, Y.; Zhou, Y.; Blunt, M.J.; Yao, J.; Cai, J. Advances in multiscale numerical and experimental approaches for multiphysics problems in porous media. Adv. Geo-Energy Res. 2021, 5, 233–238. [Google Scholar] [CrossRef]
- Meyer, D.W.; Bijeljic, B. Pore-scale dispersion: Bridging the gap between microscopic pore structure and the emerging macroscopic transport behavior. Phys. Rev. E 2016, 94, 013107. [Google Scholar] [CrossRef] [PubMed]
- Szűcs, H.; Vehovszky, B.; Sanders, B. A Comprehensive Review of the Simulation Methods for Analysis at the Pore-scale. Period. Polytech. Transp. Eng. 2023, 51, 105–116. [Google Scholar] [CrossRef]
- García-Salaberri, P.A.; Hwang, G.; Vera, M.; Weber, A.Z.; Gostick, J.T. Effective diffusivity in partially-saturated carbon-fiber gas diffusion layers: Effect of through-plane saturation distribution. Int. J. Heat Mass Transf. 2015, 86, 319–333. [Google Scholar] [CrossRef]
- Li, Q.; Cai, W.; Tang, X.; Chen, Y.; Li, B.; Chen, C.-Y. The impact of heterogeneous anisotropy of porous media on density-driven convection. Int. J. Numer. Methods Heat Fluid Flow 2020, 30, 956–976. [Google Scholar] [CrossRef]
- Zakirov, T.; Kolchugin, A.; Galeev, A.; Khramchenkov, M. Evaluation of absolute permeability in heterogeneous and anisotropic porous media using the lattice boltzmann simulations. Lobachevskii J. Math. 2021, 42, 3048–3059. [Google Scholar] [CrossRef]
- Tartakovsky, A.M.; Ward, A.L.; Meakin, P. Pore-scale simulations of drainage of heterogeneous and anisotropic porous media. Phys. Fluids 2007, 19, 103301. [Google Scholar] [CrossRef]
- Boutt, D.F.; Cook, B.K.; McPherson, B.J.; Williams, J. Direct simulation of fluid-solid mechanics in porous media using the discrete element and lattice-Boltzmann methods. J. Geophys. Res. 2007, 112, B10209. [Google Scholar] [CrossRef]
- Tartakovsky, D.M.; Dentz, M.J. Diffusion in porous media: Phenomena and mechanisms. Transp. Porous Media 2019, 130, 105–127. [Google Scholar] [CrossRef]
- Benešová, B.; Kampschulte, M.; Schwarzacher, S. Variational methods for fluid–structure interaction and porous media. Nonlinear Anal. Real World Appl. 2023, 71, 103819. [Google Scholar] [CrossRef]
- Liu, Q.; Zhao, B.; Santamarina, J.C. Particle migration and clogging in porous media: A convergent flow microfluidics study. J. Geophys. Res. Solid Earth 2019, 124, 9495–9504. [Google Scholar] [CrossRef]
- Jiao, Z.; Shikazono, N. In operando optical study of active three phase boundary of nickel-yttria stabilized zirconia solid-oxide fuel cell anode under polarization. J. Power Sources 2018, 396, 119–123. [Google Scholar] [CrossRef]
- Eshgarf, H.; Nadooshan, A.A.; Raisi, A. A review of multi-phase and single-phase models in the numerical simulation of nanofluid flow in heat exchangers. Eng. Anal. Bound. Elem. 2023, 146, 910–927. [Google Scholar] [CrossRef]
- Hashemi-Tilehnoee, M.; Dogonchi, A.; Seyyedi, S.M.; Chamkha, A.J.; Ganji, D.D. Magnetohydrodynamic natural convection and entropy generation analyses inside a nanofluid-filled incinerator-shaped porous cavity with wavy heater block. J. Therm. Anal. Calorim. 2020, 141, 2033–2045. [Google Scholar] [CrossRef]
- Chamkha, A.J. Double-diffusive convection in a porous enclosure with cooperating temperature and concentration gradients and heat generation or absorption effects. Numer. Heat Transf. Part A Appl. 2002, 41, 65–87. [Google Scholar] [CrossRef]
- Kocić, M.; Stamenković, Ž.; Petrović, J.; Bogdanović-Jovanović, J. MHD micropolar fluid flow in porous media. Adv. Mech. Eng. 2023, 15, 16878132231178436. [Google Scholar] [CrossRef]
- Dugast, F.; Favennec, Y.; Josset, C.; Fan, Y.; Luo, L. Topology optimization of thermal fluid flows with an adjoint Lattice Boltzmann Method. J. Comput. Phys. 2018, 365, 376–404. [Google Scholar] [CrossRef]
- He, A.; Onishi, J.; Gong, J.; Shikazono, N. Microstructure optimization of porous mixed ionic and electronic conducting cathode for solid oxide fuel cells. J. Power Sources 2020, 478, 228771. [Google Scholar] [CrossRef]
- Zhang, T.; Jing, T.; Qin, F.; Sun, X.; Li, W.; He, G. Topology optimization of regenerative cooling channel in non-uniform thermal environment of hypersonic engine. Appl. Therm. Eng. 2023, 219, 119384. [Google Scholar] [CrossRef]
- Zhao, B.; MacMinn, C.W.; Primkulov, B.K.; Chen, Y.; Valocchi, A.J.; Zhao, J.; Kang, Q.; Bruning, K.; McClure, J.E.; Miller, C.T. Comprehensive comparison of pore-scale models for multiphase flow in porous media. Proc. Natl. Acad. Sci. USA 2019, 116, 13799–13806. [Google Scholar] [CrossRef] [PubMed]
- Bakhshian, S.; Hosseini, S.A.; Shokri, N. Pore-scale characteristics of multiphase flow in heterogeneous porous media using the lattice Boltzmann method. Sci. Rep. 2019, 9, 3377. [Google Scholar] [CrossRef]
- Yang, X.; Sun, H.; Yang, Y.; Liu, Y.; Li, X. Recent progress in multi-scale modeling and simulation of flow and solute transport in porous media. WIREs Water 2021, 8, e1561. [Google Scholar] [CrossRef]
- Flemisch, B.; Darcis, M.; Erbertseder, K.; Faigle, B.; Lauser, A.; Mosthaf, K.; Müthing, S.; Nuske, P.; Tatomir, A.; Wolff, M. DuMux: DUNE for multi-{phase, component, scale, physics,…} flow and transport in porous media. Adv. Water Resour. 2011, 34, 1102–1112. [Google Scholar] [CrossRef]
- Qin, Y.; Liu, A.; Guo, H.; Shen, Y.; Wen, P.; Lin, H.; Xia, D.; Voshage, M.; Tian, Y.; Zheng, Y. Additive manufacturing of Zn-Mg alloy porous scaffolds with enhanced osseointegration: In vitro and in vivo studies. Acta Biomater. 2022, 145, 403–415. [Google Scholar] [CrossRef] [PubMed]
- Upalkar, S.A.; Kumar, S.; Krishnan, S. Analysis of fluid flow and heat transfer in corrugated porous fin heat sinks. Heat Transf. Eng. 2021, 42, 1539–1556. [Google Scholar] [CrossRef]
Disclaimer/Publisher’s Note: The statements, opinions and data contained in all publications are solely those of the individual author(s) and contributor(s) and not of MDPI and/or the editor(s). MDPI and/or the editor(s) disclaim responsibility for any injury to people or property resulting from any ideas, methods, instructions or products referred to in the content. |
© 2025 by the authors. Licensee MDPI, Basel, Switzerland. This article is an open access article distributed under the terms and conditions of the Creative Commons Attribution (CC BY) license (https://creativecommons.org/licenses/by/4.0/).















