Design and the Operation Analysis of a Hybrid Solar Wind System for Sustainable Urban Energy
Abstract
1. Introduction
- (i)
- WindRail was designed in Zurich, Switzerland by the Anerdgy, (Windkraft-Journal, 24 January 2014) [13].
- (ii)
- Bluenergy solar wind turbine, 2020, is a system with a vertical Savonius wind turbine with integrated photovoltaic cells; (https://www.mwps.co.uk/wind-energy-news/wind-power-news/2020/solar-wind-turbine-the-revolutionary-bluenergy-solarwind-turbine, accessed on 20 May 2025) [14].
- (iii)
- Solar-Powered Wind Turbine, designed in 2013 at the University of Liverpool has a horizontal wind turbine, with photovoltaic cells integrated on the blades of the wind turbines [15].
2. Climatological Data
2.1. Wind Potential in Romania
2.2. Solar Potential in Romania
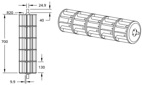
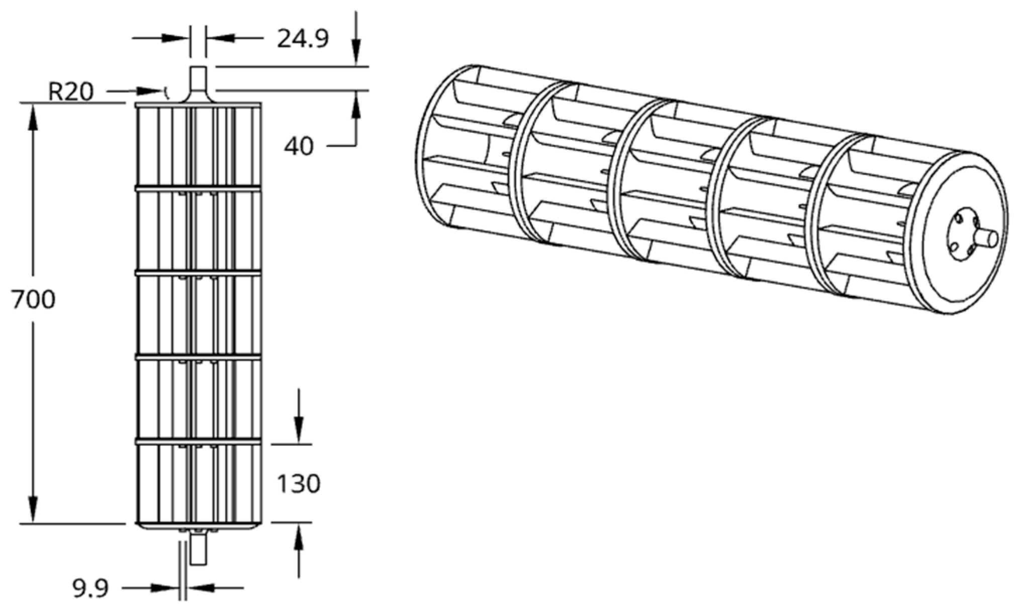
3. Design and Manufacturing of the Hybrid Solar–Wind System
4. Numerical Analysis of the Flow Through the Wind Rotor
5. Experimental Setup and Results
5.1. Experimental Setup
5.2. Crossflow Turbine Experimental Results
5.3. Photovoltaic Panel Experiments
6. Hybrid System Performances Analysis
6.1. Technical Analysis
6.2. Economic Analysis
7. Conclusions and Further Research
- The two renewable energy sources—wind and solar—necessary for the studied model are complementary, and the climatological data show that the placement of hybrid systems can be achieved with good results in the southeastern area of Romania.
- The advantage is that the installation takes up little space compared to other similar solutions and fits on building roofs.
- Numerical simulations confirmed the geometry and predicted the optimal aerodynamic behaviour of the system.
- Tests showed a low wind velocity for the cut-in of the turbine: 0.4 m/s.
- The best power coefficient was over 0.3, for wind speeds between 2 and 6 m/s.
- The photovoltaic panel provides 8–10% more power by air cooling with the crossflow turbine.
- The total power exceeds 45 W with this small experimental model, so the average energy is 405 Wh/day.
- Low costs allow for a quick return on investment, in approximately five years.
- Stable horizontal construction, vibration-free, and easy maintenance.
Author Contributions
Funding
Data Availability Statement
Conflicts of Interest
References
- IEA.org. Available online: https://www.iea.org/energy-system/renewables/wind#tracking (accessed on 10 May 2025).
- Innoenergy. Available online: https://www.innoenergy.com/discover-innovative-solutions/customer-cases/french-hypermarket-gets-24-7-energy-autonomy-sun-wind-combined/ (accessed on 5 October 2025).
- BKV Energy. Available online: https://bkvenergy.com/blog/wind-turbines-for-homes/ (accessed on 5 October 2025).
- Wilberforce, T.; Olabi, A.G.; Sayed, E.T.; Alalmi, A.H.; Abdelkareem, M.A. Wind turbine concepts for domestic wind power generation at low wind quality sites. J. Clean. Prod. 2023, 394, 136137. [Google Scholar] [CrossRef]
- Ledo, L.; Kosasih, P.B.; Cooper, P. Roof mounting site analysis for micro-wind turbines. Renew. Energy 2011, 36, 1379–1391. [Google Scholar] [CrossRef]
- The Power Collective, Ridge Blade RB. Available online: https://www.switchontario.ca/resources/Documents/Managing%20Energy%202017/Managing%20Energy%202017%20-%20Business%20-%20RidgeBlade%20-%20Llion%20Rowlands.pdf (accessed on 15 September 2025).
- Sefidgar, Z.; Ahmadi Joneidi, A.; Arabkoohsar, A. A Comprehensive Review on Development and Applications of Cross-Flow Wind Turbines. Sustainability 2023, 15, 4679. [Google Scholar] [CrossRef]
- Budea, S. Assessment regarding the performances of wind turbines from the roofs of buildings. E3S Web Conf. 2023, 404, 02005. [Google Scholar] [CrossRef]
- Javaid, A.; Sajid, M.; Uddin, E.; Waqas, A.; Ayaz, Y. Sustainable urban energy solutions: Forecasting energy production for hybrid solar-wind systems. Energy Convers. Manag. 2024, 302, 118120. [Google Scholar] [CrossRef]
- Hassan, Q.; Algburi, S.; Sameen, A.Z.; Salman, H.M.; Jaszczur, M. A review of hybrid renewable energy systems: Solar and wind-powered solutions: Challenges, opportunities, and policy implications. Results Eng. 2023, 20, 101621. [Google Scholar] [CrossRef]
- Mahesh, A.; Sandhu, K.S. Hybrid wind/photovoltaic energy system developments: Critical review and findings. Renew. Sustain. Energy Rev. 2015, 52, 1135–1147. [Google Scholar] [CrossRef]
- Solomon, A.A.; Child, M.; Caldera, U.; Breyer, C. Exploiting wind-solar resource complementarity to reduce energy storage need. AIMS Energy 2020, 8, 749–770. [Google Scholar] [CrossRef]
- Windkraft-Journal. 24 January 2014, Building Design and Construction. Available online: https://www.bdcnetwork.com/urban-wind-and-solar-energy-system-may-actually-work (accessed on 5 May 2025).
- Bluenergy Solar Wind Turbine. Available online: https://www.mwps.co.uk/wind-energy-news/wind-power-news/2020/solar-wind-turbine-the-revolutionary-bluenergy-solarwind-turbine/ (accessed on 10 May 2025).
- Inhabitat, Scientists Develop Solar-Powered Wind Turbine for Ultimate Energy Generation. 4 January 2013. Available online: https://inhabitat.com/scientists-develop-solar-powered-wind-turbine/ (accessed on 10 May 2025).
- Meteoblue.com. Available online: https://www.meteoblue.com/ro/vreme/historyclimate/climatemodelled/bucure%c8%99ti_rom%c3%a2nia_683506 (accessed on 28 October 2025).
- Global Wind Atlas. Available online: https://globalwindatlas.info/en/area/Romania (accessed on 28 October 2025).
- Davis, N.N.; Badger, J.; Hahmann, A.N.; Hansen, B.O.; Mortensen, N.G.; Kelly, M.; Larsén, X.G.; Olsen, B.T.; Floors, R.; Lizcano, G.; et al. The Global Wind Atlas: A high-resolution dataset of climatologies and associated web-based application. Bull. Am. Meteorol. Soc. 2023, 104, E1507–E1525. [Google Scholar] [CrossRef]
- Global Solar Atlas. Available online: https://globalsolaratlas.info/map?s=44.436141,26.10272&m=site&c=44.436141,26.10272,11 (accessed on 28 October 2025).
- Mockmore, C.A.; Merryfield, F. The Banki Water Turbine, Bulletin Series no. 25, 1949, Engineering Experiment Station, Oregon State College. Available online: https://www.pumpfundamentals.com/banki_scan.pdf (accessed on 20 May 2025).
- Burton, T.; Sharpe, D.; Jenkins, N.; Bossanyi, E. Wind Energy Handbook, 2nd ed.; Wiley: Chichester, UK, 2011; pp. 220–309. [Google Scholar]
- Hansen, M.O.L. Chapter 9—Aerodynamics and Design of Horizontal-Axis Wind Turbines. In Wind Energy Engineering—A Handbook for Onshore and Offshore Wind Turbines; Trevor, M.L., Ed.; Elsevier Academic Press: Amsterdam, The Netherlands, 2017; pp. 161–183. [Google Scholar]
- Airfoil Tools. Available online: http://airfoiltools.com/airfoil/details?airfoil=naca4412-il (accessed on 5 May 2025).
- Acharya, N.; Kim, C.G.; Thapa, B.; Lee, Y.H. Numerical analysis and performance enhancement of a crossflow hydro turbine. Renew. Energy 2015, 80, 819–826. [Google Scholar] [CrossRef]
- Wibowo, A.; Tjahjana, D.D.D.P.; Santoso, B.; Situmorang, M.R.C. Study of turbine and guide vanes integration to enhance the performance of cross flow vertical axis wind turbine. AIP Conf. Proc. 2018, 1931, 030043. [Google Scholar] [CrossRef]
- Yahya, Y.; Fahrudin, F.; Martana, B. The Influence of Omni—Directional Guide Vane on the Cross—Flow Wind Turbine Performance. Int. J. Mar. Eng. Innov. Res. 2024, 9, 716–724. [Google Scholar] [CrossRef]
- Pujol, T.; Massaguer, A.; Massaguer, E.; Montoro, L.; Comamala, M. Net Power Coefficient of Vertical and Horizontal Wind Turbines with Crossflow Runners. Energies 2018, 11, 110. [Google Scholar] [CrossRef]
- Adhikari, R.; Wood, D. The Design of High Efficiency Crossflow Hydro Turbines: A Review and Extension. Energies 2018, 11, 267. [Google Scholar] [CrossRef]
- Assefa, E.Y.; Asfafaw Haileselassie Tesfay, A.H. Effect of Blade Profile on Flow Characteristics and Efficiency of Crossflow Turbines. Energies 2025, 18, 3203. [Google Scholar] [CrossRef]
- Fuji Electric, 92W FWAVE Solar Modules. Available online: https://www.scribd.com/document/468906307/Calculationsolar-module-FUJI-FPV1092COM2843 (accessed on 5 May 2025).
- Alnaimi, F.B.I.; Kazem, H.A.; Alzakr, A.B.; Alatir, A.M. Design and implementation of smart integrated hybrid Solar-Darrieus wind turbine system for in-house power generation. Renew. Energy Environ. Sustain. 2024, 9, 2. [Google Scholar] [CrossRef]
- Budea, S.; Simionescu, Ș.M. Solar hybrid system for electricity and air heating—Experimental research. IOP Conf. Ser. Earth Environ. Sci. 2023, 1185, 012001. [Google Scholar] [CrossRef]
- Chrifi-Alaou, L.; Drid, S.; Ouriagli, M.; Mehdi, D. Overview of Photovoltaic and Wind Electrical Power Hybrid Systems. Energies 2023, 16, 4778. [Google Scholar] [CrossRef]













| No | V [m/s] | n [rpm] | u [m/s] | Fl [N] | Fd [N] | Fr [N] | Pm [W] | Ptw [W] | cp (-) | λ [-] |
|---|---|---|---|---|---|---|---|---|---|---|
| 1 | 0.3 | 10 | 0.105 | 0.0046 | 0.0002 | 0.0047 | 0.0007 | 0.0023 | 0.2097 | 0.349 |
| 2 | 0.4 | 14 | 0.147 | 0.0083 | 0.0004 | 0.0083 | 0.0016 | 0.0054 | 0.2202 | 0.367 |
| 3 | 0.5 | 19 | 0.199 | 0.0129 | 0.0006 | 0.0129 | 0.0032 | 0.0106 | 0.2391 | 0.398 |
| 4 | 0.9 | 35 | 0.367 | 0.0418 | 0.0021 | 0.0419 | 0.0187 | 0.0622 | 0.2447 | 0.407 |
| 5 | 1.1 | 43 | 0.450 | 0.0625 | 0.0031 | 0.0626 | 0.0341 | 0.1136 | 0.2459 | 0.409 |
| 6 | 2 | 86 | 0.901 | 0.2066 | 0.0103 | 0.2069 | 0.1757 | 0.5855 | 0.2705 | 0.450 |
| 7 | 2.2 | 102 | 1.068 | 0.2500 | 0.0125 | 0.2503 | 0.2373 | 0.7908 | 0.2917 | 0.486 |
| 8 | 2.7 | 128 | 1.340 | 0.3766 | 0.0188 | 0.3771 | 0.5043 | 1.6809 | 0.2982 | 0.496 |
| 9 | 3.4 | 165 | 1.728 | 0.5972 | 0.0299 | 0.5979 | 1.0070 | 3.3565 | 0.3053 | 0.508 |
| 10 | 3.6 | 178 | 1.864 | 0.6695 | 0.0335 | 0.6703 | 1.1953 | 3.9844 | 0.3111 | 0.518 |
| 11 | 4.1 | 200 | 2.094 | 0.8684 | 0.0434 | 0.8695 | 3.2025 | 10.675 | 0.3069 | 0.511 |
| 12 | 5 | 233 | 2.440 | 1.2915 | 0.0646 | 1.2931 | 3.8142 | 12.7141 | 0.2932 | 0.488 |
| 13 | 5.3 | 248 | 2.597 | 1.4511 | 0.0726 | 1.4529 | 6.1060 | 20.3532 | 0.2944 | 0.490 |
| 14 | 6.2 | 276 | 2.890 | 1.9858 | 0.0993 | 1.9883 | 8.0557 | 26.8524 | 0.2801 | 0.466 |
| 15 | 6.8 | 290 | 3.037 | 2.3888 | 0.1194 | 2.3917 | 9.1697 | 30.5656 | 0.2683 | 0.447 |
| 16 | 7.1 | 298 | 3.121 | 2.6042 | 0.1302 | 2.6074 | 9.9666 | 33.2220 | 0.2640 | 0.440 |
| 17 | 7.3 | 302 | 3.163 | 2.7530 | 0.1376 | 2.7564 | 10.3818 | 34.6063 | 0.2603 | 0.433 |
| 18 | 7.4 | 298 | 3.121 | 2.8289 | 0.1414 | 2.8324 | 10.8084 | 36.0281 | 0.2533 | 0.422 |
| 19 | 7.5 | 300 | 3.142 | 2.9059 | 0.1453 | 2.9095 | 11.2466 | 37.4885 | 0.2516 | 0.419 |
| 20 | 7.6 | 292 | 3.058 | 2.9839 | 0.1492 | 2.9876 | 11.6964 | 38.9879 | 0.2417 | 0.402 |
| 22 | 8 | 298 | 3.121 | 3.3062 | 0.1653 | 3.3104 | 13.1174 | 43.7248 | 0.2343 | 0.390 |
| 23 | 8.4 | 282 | 2.953 | 3.6451 | 0.1823 | 3.6497 | 15.1851 | 50.6169 | 0.2112 | 0.352 |
| 24 | 9.3 | 268 | 2.806 | 4.4681 | 0.2234 | 4.4737 | 20.6076 | 68.6920 | 0.1813 | 0.302 |
| Model of Hybrid System | Power (W) | cp (-) Max | Assembly | Cost (Euro) | Notice |
|---|---|---|---|---|---|
| WindRail [13] | 1200 W | NA | Horizontal | 5000 | Suitable for the roofs and terraces of buildings. |
| Bluenergy Solarwind [14] | 5000 W | NA | Vertical | 35,000 | Suitable between buildings or in parks. |
| Soalar wind [15] | 500 W | NA | Horizontal | NA | Requires more space. |
| Yahya et.al. [26] | - | 0.245 | Horizontal | NA | Suitable for the roofs of buildings. |
| Firas Alnaimi et al. [31] | 60–800 W | 0.2366 | Vertical | 450 | With Darrieus wind turbine, difficult to mount on the roof. |
| Present model | 45 W | 0.3 | Horizontal | 200 | Suitable for the roofs and terraces of buildings. |
Disclaimer/Publisher’s Note: The statements, opinions and data contained in all publications are solely those of the individual author(s) and contributor(s) and not of MDPI and/or the editor(s). MDPI and/or the editor(s) disclaim responsibility for any injury to people or property resulting from any ideas, methods, instructions or products referred to in the content. |
© 2025 by the authors. Licensee MDPI, Basel, Switzerland. This article is an open access article distributed under the terms and conditions of the Creative Commons Attribution (CC BY) license (https://creativecommons.org/licenses/by/4.0/).
Share and Cite
Budea, S.; Maravela, G.L.; Florea, G.-F.; Mihai, A.; Voicu, I. Design and the Operation Analysis of a Hybrid Solar Wind System for Sustainable Urban Energy. Energies 2025, 18, 6362. https://doi.org/10.3390/en18236362
Budea S, Maravela GL, Florea G-F, Mihai A, Voicu I. Design and the Operation Analysis of a Hybrid Solar Wind System for Sustainable Urban Energy. Energies. 2025; 18(23):6362. https://doi.org/10.3390/en18236362
Chicago/Turabian StyleBudea, Sanda, Gabriela Larisa Maravela, George-Fabian Florea, Andrei Mihai, and Ionut Voicu. 2025. "Design and the Operation Analysis of a Hybrid Solar Wind System for Sustainable Urban Energy" Energies 18, no. 23: 6362. https://doi.org/10.3390/en18236362
APA StyleBudea, S., Maravela, G. L., Florea, G.-F., Mihai, A., & Voicu, I. (2025). Design and the Operation Analysis of a Hybrid Solar Wind System for Sustainable Urban Energy. Energies, 18(23), 6362. https://doi.org/10.3390/en18236362

