A Numerical Study of the Leakage and Diffusion Behavior of Hydrogen Dispensers in Hydrogen Refueling Stations Under Different Leakage Conditions
Abstract
1. Introduction
2. Computational Model
2.1. Governing Equation
2.2. Geometry and Boundary Conditions
3. Results and Discussion
4. Typical HRS
5. Horizontal Leakage
6. Vertical Leakage
7. Open-Air HRS
8. Confined HRS
9. Horizontal Leakage
10. Vertical Leakage
11. The Effect of Leakage on the Canopy
12. Typical HRS
13. Confined HRS
14. Conclusions
- (1)
- Due to the high storage pressure of hydrogen, the initial leakage is dominated by momentum, resulting in high velocity and concentration in the near-field of the jet. As the hydrogen gradually mixes with the ambient air, the velocity and concentration rapidly decrease along the axial and radial directions. As the velocity decreases to a critical value, buoyancy affects the diffusion of hydrogen and dilutes the concentration below the lower flammability limit.
- (2)
- The behavior of hydrogen leakage is influenced by the obstacles, leakage direction, and the size of the leakage hole. Simulation of leakage in three domains shows that the expansion of flammable gas clouds in a Typical and Open-Air HRS is more regular, with a smaller affected area. In contrast, in a Confined HRS, a flammable gas cloud quickly expands the entire space, resulting in a larger affected area. Compared to horizontal leakage, vertical hydrogen leakage has less impact on the ground nearby, while the flammable gas cloud, affected by the canopy, can expand above the canopy. The size of the leakage hole has a significant influence on the profile of the flammable gas cloud, with smaller leakage holes resulting in a smaller cloud profile and lower hazard.
- (3)
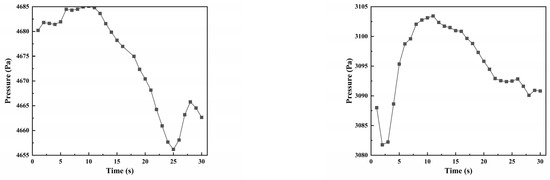
- For the scenario of vertical hydrogen leakage in a Typical and Confined HRS, it is found that in the former the pressure exerted on the canopy is small and almost unchanged with time, and the effect of the hydrogen leakage on the canopy can be ignored. In the latter case, however, the pressure is higher and gradually increases with the duration of the leakage.
- (4)
- In future research, further leakage simulations should be conducted for different types and sizes of canopies at hydrogen refueling stations. In addition, further quantitative and qualitative analyses should be conducted on the identification and prevention of risks at hydrogen refueling stations to reduce the risk of leaks and ensure the safe operation of hydrogen refueling stations.
15. Comparison and Summary
Author Contributions
Funding
Data Availability Statement
Conflicts of Interest
References
- Hydrogen Europe; Chatzimarkakis, J.; Levoyannis, C.; van Wijk, A.J.M.; Wouters, F. Hydrogen Act Towards the Creation of the European Hydrogen Economy; Institution of Gas Engineers & Managers: Derby, UK, 2021. [Google Scholar]
- Kawatsu, K.; Suzuki, T.; Shiota, K.; Izato, Y.; Komori, M.; Sato, K.; Takai, Y.; Ninomiya, T.; Miyake, A. Dynamic Physical Model of Japanese Hydrogen Refueling Stations for Quantitative Trade-off Study between Benefit and Risk. Int. J. Hydrogen Energy 2022, 52, 1208–1219. [Google Scholar] [CrossRef]
- Kim, H.; Eom, M.; Kim, B.-I. Development of Strategic Hydrogen Refueling Station Deployment Plan for Korea. Int. J. Hydrogen Energy 2020, 45, 19900–19911. [Google Scholar] [CrossRef]
- Pivovar, B.; Rustagi, N.; Satyapal, S. Hydrogen at Scale (H2@Scale): Key to a Clean, Economic, and Sustainable Energy System. Electrochem. Soc. Interface 2018, 27, 47. [Google Scholar] [CrossRef]
- Zhao, T.; Liu, Z.; Jamasb, T. Developing Hydrogen Refueling Stations: An Evolutionary Game Approach and the Case of China. Energy Econ. 2022, 115, 106390. [Google Scholar] [CrossRef]
- Bauer, C.G.; Forest, T.W. Effect of Hydrogen Addition on the Performance of Methane-Fueled Vehicles. Part I: Effect on S.I. Engine Performance. Int. J. Hydrogen Energy 2001, 26, 55–70. [Google Scholar] [CrossRef]
- Yang, N.; Deng, J.; Wang, C.; Bai, Z.; Qu, J. High Pressure Hydrogen Leakage Diffusion: Research Progress. Int. J. Hydrogen Energy 2024, 50, 1029–1046. [Google Scholar] [CrossRef]
- Wang, F.; Xiao, J.; Kuznetsov, M.; Breitung, W.; He, B.; Rui, S.; Zhou, S.; Jordan, T.; Song, K.; Zhang, L. Deterministic Risk Assessment of Hydrogen Leak from a Fuel Cell Truck in a Real-Scale Hydrogen Refueling Station. Int. J. Hydrogen Energy 2024, 50, 1103–1118. [Google Scholar] [CrossRef]
- Liu, K.; He, C.; Yu, Y.; Guo, C.; Lin, S.; Jiang, J. A Study of Hydrogen Leak and Explosion in Different Regions of a Hydrogen Refueling Station. Int. J. Hydrogen Energy 2023, 48, 14112–14126. [Google Scholar] [CrossRef]
- Hajji, Y.; Bouteraa, M.; Bournot, P.; Bououdina, M. Assessment of an Accidental Hydrogen Leak from a Vehicle Tank in a Confined Space. Int. J. Hydrogen Energy 2022, 47, 28710–28720. [Google Scholar] [CrossRef]
- Kim, J.; Kim, Y.; Park, B.; Yoon, U.; Kang, C. The Effect of Natural Ventilation through Canopy Vents Following Hydrogen Leaks in Confined Spaces. Int. J. Hydrogen Energy 2024, 50, 1395–1405. [Google Scholar] [CrossRef]
- Molkov, V. Fundamentals of Hydrogen Safety Engineering I. Available online: https://www.zuj.edu.jo/?wpdmdl=9643 (accessed on 23 October 2024).
- Ruffin, E.; Mouilleau, Y.; Chaineaux, J. Large Scale Characterization of the Concentration Field of Supercritical Jets of Hydrogen and Methane. J. Loss Prev. Process Ind. 1996, 9, 279–284. [Google Scholar] [CrossRef]
- Veser, A.; Kuznetsov, M.; Fast, G.; Friedrich, A.; Kotchourko, N.; Stern, G.; Schwall, M.; Breitung, W. The Structure and Flame Propagation Regimes in Turbulent Hydrogen Jets. Int. J. Hydrogen Energy 2011, 36, 2351–2359. [Google Scholar] [CrossRef]
- Han, S.H.; Chang, D.; Kim, J.S. Experimental Investigation of Highly Pressurized Hydrogen Release through a Small Hole. Int. J. Hydrogen Energy 2014, 39, 9552–9561. [Google Scholar] [CrossRef]
- Ruggles, A.J.; Ekoto, I.W. Ignitability and Mixing of Underexpanded Hydrogen Jets. Int. J. Hydrogen Energy 2012, 37, 17549–17560. [Google Scholar] [CrossRef]
- Gupta, S.; Brinster, J.; Studer, E.; Tkatschenko, I. Hydrogen Related Risks within a Private Garage: Concentration Measurements in a Realistic Full Scale Experimental Facility. Int. J. Hydrogen Energy 2009, 34, 5902–5911. [Google Scholar] [CrossRef]
- Merilo, E.G.; Groethe, M.A.; Colton, J.D.; Chiba, S. Experimental Study of Hydrogen Release Accidents in a Vehicle Garage. Int. J. Hydrogen Energy 2011, 36, 2436–2444. [Google Scholar] [CrossRef]
- Qian, J.; Li, X.; Gao, Z.; Jin, Z. A Numerical Study of Hydrogen Leakage and Diffusion in a Hydrogen Refueling Station. Int. J. Hydrogen Energy 2020, 45, 14428–14439. [Google Scholar] [CrossRef]
- Qian, J.; Li, X.; Gao, Z.; Jin, Z. A Numerical Study of Unintended Hydrogen Release in a Hydrogen Refueling Station. Int. J. Hydrogen Energy 2020, 45, 20142–20152. [Google Scholar] [CrossRef]
- Li, X.; Xu, Y.; Li, X.; Jin, Z.; Qian, J. Effect of Wind Condition on Unintended Hydrogen Release in a Hydrogen Refueling Station. Int. J. Hydrogen Energy 2021, 46, 5537–5547. [Google Scholar] [CrossRef]
- Liu, K.; Jiang, J.; He, C.; Lin, S. Numerical Analysis of the Diffusion and Explosion Characteristics of Hydrogen-Air Clouds in a Plateau Hydrogen Refuelling Station. Int. J. Hydrogen Energy 2023, 48, 40101–40116. [Google Scholar] [CrossRef]
- Li, Y.; Wang, Z.; Shi, X.; Fan, R. Safety Analysis of Hydrogen Leakage Accident with a Mobile Hydrogen Refueling Station. Process Saf. Environ. Prot. 2023, 171, 619–629. [Google Scholar] [CrossRef]
- Zhou, C.; Yang, Z.; Chen, G.; Li, X. Optimizing Hydrogen Refueling Station Layout Based on Consequences of Leakage and Explosion Accidents. Int. J. Hydrogen Energy 2024, 54, 817–836. [Google Scholar] [CrossRef]
- Molkov, V.; Makarov, D.; Bragin, M. Physics and Modelling of Under-Expanded Jets and Hydrogen Dispersion in Atmosphere. In Physics of Extreme State of Matter 2009; Russian Academy of Sciences: Moscow, Russia, 2009; pp. 143–145. [Google Scholar]
- Birch, A.D.; Brown, D.R.; Dodson, M.G.; Swaffield, F. The Structure and Concentration Decay of High Pressure Jets of Natural Gas. Combust. Sci. Technol. 1984, 36, 249–261. [Google Scholar] [CrossRef]
- Schefer, R.W.; Houf, W.G.; Williams, T.C. Investigation of Small-Scale Unintended Releases of Hydrogen: Momentum-Dominated Regime. Int. J. Hydrogen Energy 2008, 33, 6373–6384. [Google Scholar] [CrossRef]






















| Dimensions (L × W × H, m) | |
|---|---|
| Canopy | 25 × 25 × 1.2 |
| Cylindrical Pillars | 0.5 × 0.5 × 7 |
| Hydrogen Dispenser | 2 × 0.5 × 3 |
| Station Building | 10 × 4 × 4 |
| Typical HRS Computational Domain | 100 × 100 × 20 |
| Open-Air Computational Domain | 100 × 100 × 20 |
| Confined HRS Computational Domain | 27 × 27 × 9.2 |
| Simulation Scenario | Leakage Direction and Leak Hole Size (mm) | |
|---|---|---|
| S1 | Typical HRS | +X, 10 × 10 |
| S2 | +Z, 10 × 10 | |
| S3 | +Z, 5 × 5 | |
| S4 | Open-Air HRS | +X, 10 × 10 |
| S5 | +Z, 10 × 10 | |
| S6 | +Z, 5 × 5 | |
| S7 | Confined HRS | +X, 10 × 10 |
| S8 | +Z, 10 × 10 | |
| S9 | +Z, 5 × 5 |
| Scenario | Hydrogen Concentration (Max) | Diffusion Rate (Horizontal) | Diffusion Rate (Vertical) | Key Observations |
|---|---|---|---|---|
| Typical HRS Domain | Moderate | Moderate | Moderate | Balanced dispersion, influenced by structural elements |
| Open-Air HRS (No Canopy) | Low | Low | High | Faster vertical dispersion, less lateral spreading |
| Confined HRS Domain | High | Low | Low | High risk of accumulation, requires effective ventilation |
| Small Leak Holes | Low | Low | Low | Slower diffusion, potential detection challenges |
| Large Leak Holes | High | High | High | Rapid diffusion, immediate hazard, requires detection systems |
| With Canopy | High (Under Canopy) | Moderate | Low | Potential for accumulation, need for ventilation |
| Without Canopy | Low | Moderate | High | Unimpeded vertical dispersion, influenced by external factors |
Disclaimer/Publisher’s Note: The statements, opinions and data contained in all publications are solely those of the individual author(s) and contributor(s) and not of MDPI and/or the editor(s). MDPI and/or the editor(s) disclaim responsibility for any injury to people or property resulting from any ideas, methods, instructions or products referred to in the content. |
© 2024 by the authors. Licensee MDPI, Basel, Switzerland. This article is an open access article distributed under the terms and conditions of the Creative Commons Attribution (CC BY) license (https://creativecommons.org/licenses/by/4.0/).
Share and Cite
Zhang, L.; Duan, Z.; Ding, R.; Liu, C. A Numerical Study of the Leakage and Diffusion Behavior of Hydrogen Dispensers in Hydrogen Refueling Stations Under Different Leakage Conditions. Energies 2024, 17, 6224. https://doi.org/10.3390/en17246224
Zhang L, Duan Z, Ding R, Liu C. A Numerical Study of the Leakage and Diffusion Behavior of Hydrogen Dispensers in Hydrogen Refueling Stations Under Different Leakage Conditions. Energies. 2024; 17(24):6224. https://doi.org/10.3390/en17246224
Chicago/Turabian StyleZhang, Lei, Zhixiang Duan, Rui Ding, and Cuiwei Liu. 2024. "A Numerical Study of the Leakage and Diffusion Behavior of Hydrogen Dispensers in Hydrogen Refueling Stations Under Different Leakage Conditions" Energies 17, no. 24: 6224. https://doi.org/10.3390/en17246224
APA StyleZhang, L., Duan, Z., Ding, R., & Liu, C. (2024). A Numerical Study of the Leakage and Diffusion Behavior of Hydrogen Dispensers in Hydrogen Refueling Stations Under Different Leakage Conditions. Energies, 17(24), 6224. https://doi.org/10.3390/en17246224
