Electromagnetic Energy Harvester Using Pulsating Airflows—Reeds Waving in the Wind
Abstract
1. Introduction
2. Energy Harvester Concept
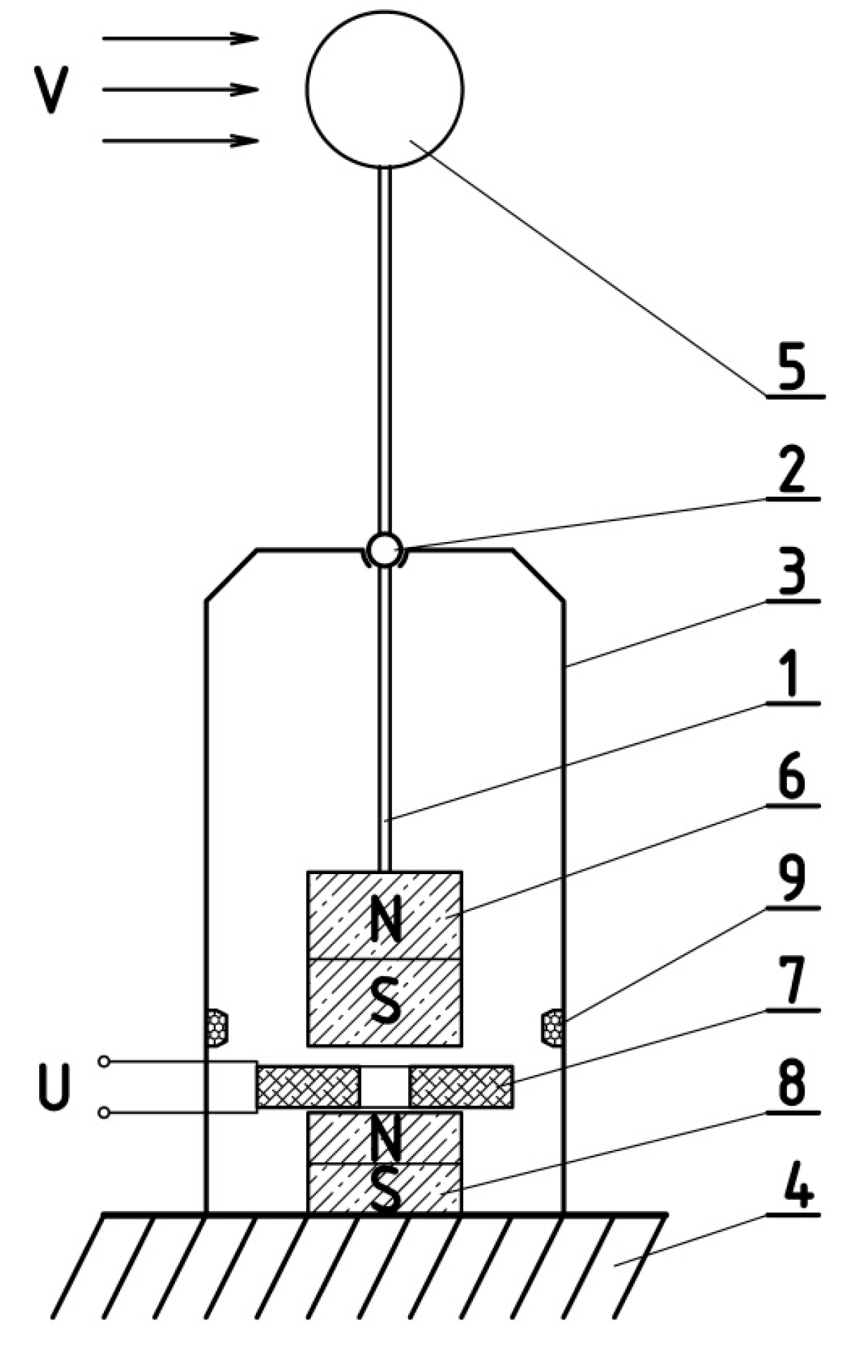
3. Construction of a Prototype Electromagnetic Energy Harvester
4. Experimental Tests of the Prototype
5. Conclusions
Funding
Data Availability Statement
Conflicts of Interest
References
- Zheng, X.; He, L.; Wang, S.; Liu, X.; Liu, R.; Cheng, G. A review of piezoelectric energy harvesters for harvesting wind energy. Sens. Actuators A Phys. 2023, 352, 114190. [Google Scholar] [CrossRef]
- Sun, Y.; Li, Y.-Z.; Yuan, M. Requirements, challenges, and novel ideas for wearables on power supply and energy harvesting. Nano Energy 2023, 115, 108715. [Google Scholar] [CrossRef]
- Ligęza, P. On Search for Unconventional Energy Sources for Harvesting. Energies 2024, 17, 1091. [Google Scholar] [CrossRef]
- Saifi, S.; Xiao, X.; Cheng, S.; Guo, H.; Zhang, J.; Müller-Buschbaum, P.; Zhou, G.; Xu, X.; Cheng, H.-M. An ultraflexible energy harvesting-storage system for wearable applications. Nat. Commun. 2024, 15, 6546. [Google Scholar] [CrossRef]
- Liang, Z.; He, J.; Hu, C.; Pu, X.; Khani, H.; Dai, L.; Fan, D.; Manthiram, A.; Wang, Z.-L. Next-Generation Energy Harvesting and Storage Technologies for Robots Across All Scales. Adv. Intell. Syst. 2023, 5, 2200045. [Google Scholar] [CrossRef]
- Ligęza, P. Essential Assessment of Last-Decade Progress in Road Energy Harvesting Systems. Energy Technol. 2024, 12, 2301060. [Google Scholar] [CrossRef]
- Heydari, S.; Fajri, P.; Rasheduzzaman, M.; Sabzehgar, R. Maximizing regenerative braking energy recovery of electric vehicles through dynamic low-speed cutoff point detection. IEEE Trans. Transp. Electrif. 2019, 51, 262–270. [Google Scholar] [CrossRef]
- Wang, Z.; Huber, C.; Hu, J.; He, J.; Suess, D.; Wang, S.X. An electrodynamic energy harvester with a 3D printed magnet and optimized topology. Appl. Phys. Lett. 2019, 114, 013902. [Google Scholar] [CrossRef]
- Iqbal, M.; Khan, F.U. Hybrid vibration and wind energy harvesting using combined piezoelectric and electromagnetic conversion for bridge health monitoring applications. Energy Convers. Manag. 2018, 172, 611–618. [Google Scholar] [CrossRef]
- Nabavi, S.F.; Farshidianfar, A.; Afsharfard, A. Novel piezoelectric-based ocean wave energy harvesting from offshore buoys. Appl. Ocean Res. 2018, 76, 174–183. [Google Scholar] [CrossRef]
- Covaci, C.; Gontean, A. Piezoelectric energy harvesting solutions: A review. Sensors 2020, 2012, 3512. [Google Scholar] [CrossRef] [PubMed]
- Jie, Y.; Jia, X.; Zou, J.; Chen, Y.; Wang, N.; Wang, Z.L.; Cao, X. Natural Leaf Made Triboelectric Nanogenerator for Harvesting Environmental Mechanical Energy. Adv. Energy Mater. 2018, 8, 1703133. [Google Scholar] [CrossRef]
- Thainiramit, P.; Yingyong, P.; Isarakorn, D. Impact-driven energy harvesting: Piezoelectric versus triboelectric energy harvesters. Sensors 2020, 2020, 5828. [Google Scholar] [CrossRef] [PubMed]
- Xu, Y.; Yang, W.; Lu, X.; Yang, Y.; Li, J.; Wen, J.; Cheng, T.; Wang, Z.L. Triboelectric Nanogenerator for Ocean Wave Graded Energy Harvesting and Condition Monitoring. ACS Nano 2021, 15, 16368–16375. [Google Scholar] [CrossRef]
- Liang, X.; Liu, Z.; Feng, Y.; Han, J.; Li, L.; An, J.; Chen, P.; Jiang, T.; Wang, Z.L. Spherical triboelectric nanogenerator based on spring-assisted swing structure for effective water wave energy harvesting. Nano Energy 2021, 83, 105836. [Google Scholar] [CrossRef]
- Catalan, L.; Garacochea, A.; Casi, A.; Araiz, M.; Aranguren, P.; Astrain, D. Experimental Evidence of the Viability of Thermoelectric Generators to Power Volcanic Monitoring Stations. Sensors 2020, 20, 4839. [Google Scholar] [CrossRef]
- Ramya, G.; Sivakumar, R.; Prabhakar, G.; Maheswari, K.U.; Karthi, K. Architecture of Low Power Energy Harvester Using Hybrid Input Solar, Peltier Thermo Electric and Vibrational Generation. Int. Res. J. Innov. Eng. Technol. 2021, 54, 68. [Google Scholar]
- Koketsu, K.; Tanzawa, T. A Design of a Thermoelectric Energy Harvester for Minimizing Sensor Module Cost. Electronics 2022, 1121, 3441. [Google Scholar] [CrossRef]
- Sultana, A.; Alam, M.M.; Middya, T.R.; Mandal, D. A pyroelectric generator as a self-powered temperature sensor for sustainable thermal energy harvesting from waste heat and human body heat. Appl. Energy 2018, 221, 299–307. [Google Scholar] [CrossRef]
- Thakre, A.; Kumar, A.; Song, H.C.; Jeong, D.Y.; Ryu, J. Pyroelectric energy conversion and its applications—Flexible energy harvesters and sensors. Sensors 2019, 199, 2170. [Google Scholar] [CrossRef]
- Mondal, R.; Al Mahadi Hasan, M.; Baik, J.M.; Yang, Y. Advanced pyroelectric materials for energy harvesting and sensing applications. Mater. Today 2023, 66, 273–301. [Google Scholar] [CrossRef]
- Pei, J.; Zhou, B.; Lyu, L. e-Road: The largest energy supply of the future? Appl. Energy 2019, 241, 174–183. [Google Scholar] [CrossRef]
- Lopez-Gasso, A.; Beriain, A.; Solar, H.; Berenguer, R. Power Management Unit for Solar Energy Harvester Assisted Batteryless Wireless Sensor Node. Sensors 2022, 22, 7908. [Google Scholar] [CrossRef] [PubMed]
- Zhang, K.; Chen, M.; Yang, Y.; Zhong, T.; Zhu, R.; Zhang, F.; Qian, Z.; Lü, G.; Yan, J. Quantifying the photovoltaic potential of highways in China. Appl. Energy 2022, 324, 119600. [Google Scholar] [CrossRef]
- Lee, J.; Kim, D.; Lee, S.; Lim, J. Fundamental Study of Energy Harvesting Using Thermoelectric Effect on Concrete Structure in Road. Adv. Mater. Res. 2014, 1044–1045, 332–337. [Google Scholar] [CrossRef]
- Xie, Z.; Shi, K.; Song, L.; Hou, X. Experimental and field study of a pavement thermoelectric energy harvesting system based on the seebeck effect. J. Electron. Mater. 2023, 52, 209–218. [Google Scholar] [CrossRef]
- Cansiz, M.; Altinel, D.; Kurt, G.K. Efficiency in RF energy harvesting systems: A comprehensive review. Energy 2019, 174, 292–309. [Google Scholar] [CrossRef]
- Shoji, E. New Insights into Radio Wave Energy Harvesting across Wide Geographical Ranges Harnessing Medium-Wave Radio Broadcasting Infrastructure. Energy Technol. 2024, 121, 2300604. [Google Scholar] [CrossRef]
- Mukherjee, S.; Bhowmick, S.; Mukherjee, R. Harvesting Energy from Thunderstorm, A New Source of Renewable Energy—Review. Int. J. Adv. Sci. Eng. 2019, 6 (Suppl. S1), 64–67. [Google Scholar]
- Zhang, R.; Wang, M.; Wan, Z.; Wu, Z.; Xiao, X. Laser direct writing based flexible solar energy harvester. Results Eng. 2023, 19, 101314. [Google Scholar] [CrossRef]
- Alamayreh, M.I.; Alahmer, A. Design a solar harvester system capturing light and thermal energy coupled with a novel direct thermal energy storage and nanoparticles. Int. J. Thermofluids 2023, 18, 100328. [Google Scholar] [CrossRef]
- Lingaraja, D.; Kumar, S.P.; Aravind, T.; Srinivasan, T.K.; Ram, G.D.; Ramya, S. Design of Solar Energy Harvester for Smart Home Application. In Proceedings of the 2023 5th International Conference on Smart Systems and Inventive Technology ICSSIT, Tirunelveli, India, 23–25 January 2023; IEEE: Piscataway, NJ, USA, 2023; pp. 1–5. [Google Scholar]
- Faria, C.L.; Martins, M.S.; Matos, T.; Lima, R.; Miranda, J.M.; Gonçalves, L.M. Underwater Energy Harvesting to Extend Operation Time of Submersible Sensors. Sensors 2022, 22, 1341. [Google Scholar] [CrossRef] [PubMed]
- Sui, G.; Shan, X.; Hou, C.; Tian, H.; Hu, J.; Xie, T. An underwater piezoelectric energy harvester based on magnetic coupling adaptable to low-speed water flow. Mech. Syst. Signal Process. 2023, 184, 109729. [Google Scholar] [CrossRef]
- Wang, S.; He, L.; Wang, H.; Li, X.; Sun, B.; Lin, J. Energy harvesting from water impact using piezoelectric energy harvester. Rev. Sci. Instrum. 2024, 95, 2. [Google Scholar] [CrossRef] [PubMed]
- Xie, Q.; Zhang, T.; Pan, Y.; Zhang, Z.; Yuan, Y.; Liu, Y. A novel oscillating buoy wave energy harvester based on a spatial double X-shaped mechanism for self-powered sensors in sea-crossing bridges. Energy Convers. Manag. 2020, 204, 112286. [Google Scholar] [CrossRef]
- Wu, W.; Pan, Z.; Zhou, J.; Wang, Y.; Ma, J.; Li, J.; Hu, Y.; Wen, J.; Wang, X. Wind-Speed-Adaptive Resonant Piezoelectric Energy Harvester for Offshore Wind Energy Collection. Sensors 2024, 24, 1371. [Google Scholar] [CrossRef] [PubMed]
- Viola, F. Comparison Among Different Rainfall Energy Harvesting Structures. Appl. Sci. 2018, 8, 955. [Google Scholar] [CrossRef]
- Bao, B.; Wang, Q. A rain energy harvester using a self-release tank. Mech. Syst. Signal Process. 2021, 147, 107099. [Google Scholar] [CrossRef]
- Cheng, B.; Niu, S.; Xu, Q.; Wen, J.; Bai, S.; Qin, Y. Gridding, Triboelectric Nanogenerator for Raindrop Energy Harvesting. ACS Appl. Mater. Interfaces 2021, 13, 59975–59982. [Google Scholar] [CrossRef]
- Ahmed, A.; Hassan, I.; Mosa, I.M.; Elsanadidy, E.; Phadke, G.S.; El-Kady, M.F.; Rusling, J.F.; Selvaganapathy, P.R.; Kaner, R.B. All printable snow-based triboelectric nanogenerator. Nano Energy 2019, 60, 17–25. [Google Scholar] [CrossRef]
- Peters, N.L.; Oppenheimer, C.; Jones, B.; Rose, M.; Kyle, P. Harnessing Erebus volcano’s thermal energy to power year-round monitoring. Antarct. Sci. 2021, 331, 73–80. [Google Scholar] [CrossRef]
- Zhang, H.; Wu, X.; Pan, Y.; Azam, A.; Zhang, Z. A novel vibration energy harvester based on eccentric semicircular rotor for self-powered applications in wildlife monitoring. Energy Convers. Manag. 2021, 247, 114674. [Google Scholar] [CrossRef]
- Wang, X.; Shi, Y.; Yang, P.; Tao, X.; Li, S.; Lei, R.; Liu, Z.; Wang, Z.L.; Chen, X. Fish-Wearable Data Snooping Platform for Underwater Energy Harvesting and Fish Behavior Monitoring. Small 2022, 18, 2107232. [Google Scholar] [CrossRef] [PubMed]
- Yan, C.; Gao, Y.; Zhao, S.; Zhang, S.; Zhou, Y.; Deng, W.; Li, Z.; Jiang, G.; Jin, L.; Tian, G.; et al. A linear-to-rotary hybrid nanogenerator for high-performance wearable biomechanical energy harvesting. Nano Energy 2020, 67, 104235. [Google Scholar] [CrossRef]
- Lund, A.; Tian, Y.; Darabi, S.; Müller, C. A polymer-based textile thermoelectric generator for wearable energy harvesting. J. Power Sources 2020, 480, 228836. [Google Scholar] [CrossRef]
- Roshani, H.; Dessouky, S.; Arturo Montoya, A.T. Papagiannakis, Energy harvesting from asphalt pavement roadways vehicle-induced stresses: A feasibility study. Appl. Energy 2016, 182, 210–218. [Google Scholar] [CrossRef]
- Papagiannakis, A.T.; Dessouky, S.; Montoya, A.; Roshani, H. Energy Harvesting from Roadways. Procedia Comput. Sci. 2016, 83, 758–765. [Google Scholar] [CrossRef]
- Qi, L.; Pan, H.; Bano, S.; Zhu, M.; Liu, J.; Zhang, Z.; Liu, Y.; Yuan, Y. A high-efficiency road energy harvester based on a chessboard sliding plate using semi-metal friction materials for self-powered applications in road traffic. Energy Convers. Manag. 2018, 165, 748–760. [Google Scholar] [CrossRef]
- Gholikhani, M.; Nasouri, R.; Tahami, S.A.; Legette, S.; Dessouky, S.; Montoya, A. Harvesting kinetic energy from roadway pavement through an electromagnetic speed bump. Appl. Energy 2019, 250, 503–511. [Google Scholar] [CrossRef]
- Sun, M.; Wang, W.; Zheng, P.; Luo, D.; Zhang, Z. A novel road energy harvesting system based on a spatial double V-shaped mechanism for near-zero-energy toll stations on expressways. Sens. Actuators A Phys. 2021, 323, 112648. [Google Scholar] [CrossRef]
- Kim, C.I.; Kim, K.-B.; Jeon, J.-H.; Jeong, Y.H.; Cho, J.H.; Paik, J.H.; Gang, I.-S.; Lee, M.-Y.; Nahm, S.; Lee, Y.-J.; et al. Development and Evaluation of the Road Energy Harvester Using Piezoelectric Cantilevers. J. Korean Inst. Electr. Electron. Mater. Eng. 2012, 25, 511–515. [Google Scholar] [CrossRef]
- Xiong, H.; Wang, L. Piezoelectric energy harvester for public roadway: On-site installation and evaluation. Appl. Energy 2016, 174, 101–107. [Google Scholar] [CrossRef]
- Chen, N.; Jung, H.J.; Jabbar, H.; Sung, T.H.; Wei, T. A piezoelectric impact-induced vibration cantilever energy harvester from speed bump with a low-power power management circuit. Sens. Actuators A Phys. 2017, 254, 134–144. [Google Scholar] [CrossRef]
- Yang, C.H.; Song, Y.; Woo, M.S.; Eom, J.H.; Song, G.J.; Kim, J.H.; Kim, J.; Lee, T.H.; Choi, J.Y.; Sung, T.H. Feasibility study of impact-based piezoelectric road energy harvester for wireless sensor networks in smart highways. Sens. Actuators A Phys. 2017, 261, 317–324. [Google Scholar] [CrossRef]
- Mazlan, M.; Abd Manan, M.H.; Yusof, N.F.M. Modelling and Analysis Road Energy Harvester Using Piezoelectric Tranducer. Int. J. Eng. Technol. 2019, 8, 94–100. [Google Scholar]
- Gareh, S.; Kok, B.C.; Yee, M.H.; Borhana, A.A.; Alswed, S.K. Optimization of the Compression-Based Piezoelectric Traffic Model CPTM, for Road Energy Harvesting Application. Int. J. Renew. Energy Res.-IJRER 2019, 9, 1272–1282. [Google Scholar]
- Sherren, A.; Fink, K.; Eshelman, J.; Taha, L.Y.; Anwar, S.; Brennecke, C. Design and Modelling of Piezoelectric Road Energy Harvesting. Open J. Energy Effic. 2022, 11, 24–36. [Google Scholar] [CrossRef]
- Cahill, P.; Hazra, B.; Karoumi, R.; Mathewson, A.; Pakrashi, V. Vibration energy harvesting based monitoring of an operational bridge undergoing forced vibration and train passage. Mech. Syst. Signal Process. 2018, 106, 265–283. [Google Scholar] [CrossRef]
- Sheng, W.; Xiang, H.; Zhang, Z.; Yuan, X. High-efficiency piezoelectric energy harvester for vehicle-induced bridge vibrations: Theory and experiment. Compos. Struct. 2022, 299, 116040. [Google Scholar] [CrossRef]
- Muscat, A.; Bhattacharya, S.; Zhu, Y. Electromagnetic vibrational energy harvesters: A review. Sensors 2022, 22, 5555. [Google Scholar] [CrossRef]
- Pan, Y.; Lin, T.; Qian, F.; Liu, C.; Yu, J.; Zuo, J.; Zuo, L. Modeling and field-test of a compact electromagnetic energy harvester for railroad transportation. Appl. Energy 2019, 247, 309–321. [Google Scholar] [CrossRef]
- Zuo, J.; Dong, L.; Yang, F.; Guo, Z.; Wang, T.; Zuo, L. Energy harvesting solutions for railway transportation: A comprehensive review. Renew. Energy 2023, 202, 56–87. [Google Scholar] [CrossRef]
- Wang, H.; Yi, M.; Zeng, X.; Zhang, T.; Luo, D.; Zhang, Z. A hybrid, self-adapting drag-lift conversion wind energy harvesting system for railway turnout monitoring on the Tibetan Plateau. Sustain. Energy Technol. Assess. 2021, 46, 101262. [Google Scholar] [CrossRef]
- Pan, H.; Li, H.; Zhang, T.; Laghari, A.A.; Zhang, Z.; Yuan, Y.; Qian, B. A portable renewable wind energy harvesting system integrated S-rotor and H-rotor for self-powered applications in high-speed railway tunnels. Energy Convers. Manag. 2019, 196, 56–68. [Google Scholar] [CrossRef]
- Ligęza, P. Modification of Hot-Wire Anemometers Frequency Bandwidth Measurement Method. Sensors 2020, 20, 1595. [Google Scholar] [CrossRef]
- Ligęza, P. Basic, Advanced, and Sophisticated Approaches to the Current and Forecast Challenges of Wind Energy. Energies 2021, 14, 8147. [Google Scholar] [CrossRef]
- Ligęza, P. Dynamic Error Correction Method in Tachometric Anemometers for Measurements of Wind Energy. Energies 2022, 15, 4132. [Google Scholar] [CrossRef]
- Ligęza, P.; Jamróz, P. A Hot-Wire Anemometer with Automatically Adjusted Dynamic Properties for Wind Energy Spectrum Analysis. Energies 2022, 15, 4618. [Google Scholar] [CrossRef]
- Tian, W.; Mao, Z.; Li, Y. Numerical Simulations of a VAWT in the Wake of a Moving Car. Energies 2017, 10, 478. [Google Scholar] [CrossRef]
- Liu, C.; Chen, L.; Lee, H.P.; Yang, Y.; Zhang, X. A review of the inerter and inerter-based vibration isolation: Theory, devices, and applications. J. Frankl. Inst. 2022, 359, 7677–7707. [Google Scholar] [CrossRef]
- Ambrożkiewicz, B.; Litak, G.; Wolszczak, P. Modelling of Electromagnetic Energy Harvester with Rotational Pendulum Using Mechanical Vibrations to Scavenge Electrical Energy. Appl. Sci. 2020, 10, 671. [Google Scholar] [CrossRef]
- Hasani, M.; Rahaghi, M.I. The optimization of an electromagnetic vibration energy harvester based on developed electromagnetic damping models. Energy Convers. Manag. 2022, 254, 115271. [Google Scholar] [CrossRef]
- Monaco, M.L.; Russo, C.; Somà, A. Numerical and experimental performance study of two-degrees-of-freedom electromagnetic energy harvesters. Energy Convers. Manag. X 2023, 18, 100348. [Google Scholar] [CrossRef]
- Ligęza, P. Reconstructing the trajectory of the object’s motion on the basis of measuring the components of its velocity. Measurement 2023, 221, 113546. [Google Scholar] [CrossRef]
- Ostrogórski, P.; Skotniczny, P. Methane Emission Measurements Along Underground Galleries of Coal Mine. Arch. Min. Sci. 2024, 69, 107–114. [Google Scholar] [CrossRef]
- Jamróz, P. Interaction between the Standard and the Measurement Instrument during the Flow Velocity Sensor Calibration Process. Processes 2021, 9, 1792. [Google Scholar] [CrossRef]












| Designation of Measurement Configuration | Number of Bottom Magnets | h [mm] | b [mm] | c [mm] | b/c |
|---|---|---|---|---|---|
| A1 | 0 | 0 | 140 | 16 | 8.75 |
| A2 | 3 | 7.8 | 140 | 16 | 8.75 |
| A3 | 6 | 15.6 | 140 | 16 | 8.75 |
| A4 | 9 | 23.4 | 140 | 16 | 8.75 |
| B1 | 0 | 0 | 130 | 26 | 5 |
| B2 | 3 | 7.8 | 130 | 26 | 5 |
| B3 | 6 | 15.6 | 130 | 26 | 5 |
| B4 | 9 | 23.4 | 130 | 26 | 5 |
| Designation of Measurement Configuration | E [mJ] | f [Hz] | M [m Nm] | V [m/s] |
|---|---|---|---|---|
| A1 | 0.24 | 2.33 | 17.7 | 11.3 |
| A2 | 1.84 | 7.83 | 47.2 | 18.5 |
| A3 | 2.85 | 9.75 | 69.8 | 22.5 |
| A4 | 3.31 | 10.67 | 78.4 | 23.9 |
| B1 | 0.64 | 2.74 | 18.3 | 11.9 |
| B2 | 2.64 | 8.77 | 47.7 | 19.2 |
| B3 | 3.84 | 10.74 | 70.6 | 23.3 |
| B4 | 4.44 | 11.72 | 79.4 | 24.9 |
Disclaimer/Publisher’s Note: The statements, opinions and data contained in all publications are solely those of the individual author(s) and contributor(s) and not of MDPI and/or the editor(s). MDPI and/or the editor(s) disclaim responsibility for any injury to people or property resulting from any ideas, methods, instructions or products referred to in the content. |
© 2024 by the author. Licensee MDPI, Basel, Switzerland. This article is an open access article distributed under the terms and conditions of the Creative Commons Attribution (CC BY) license (https://creativecommons.org/licenses/by/4.0/).
Share and Cite
Ligęza, P. Electromagnetic Energy Harvester Using Pulsating Airflows—Reeds Waving in the Wind. Energies 2024, 17, 4834. https://doi.org/10.3390/en17194834
Ligęza P. Electromagnetic Energy Harvester Using Pulsating Airflows—Reeds Waving in the Wind. Energies. 2024; 17(19):4834. https://doi.org/10.3390/en17194834
Chicago/Turabian StyleLigęza, Paweł. 2024. "Electromagnetic Energy Harvester Using Pulsating Airflows—Reeds Waving in the Wind" Energies 17, no. 19: 4834. https://doi.org/10.3390/en17194834
APA StyleLigęza, P. (2024). Electromagnetic Energy Harvester Using Pulsating Airflows—Reeds Waving in the Wind. Energies, 17(19), 4834. https://doi.org/10.3390/en17194834

