Improving Ecological Efficiency of Gas Turbine Power System by Combusting Hydrogen and Hydrogen-Natural Gas Mixtures
Abstract
1. Introduction
2. Materials and Methods
2.1. Mathematical Model of the Combustion Chamber
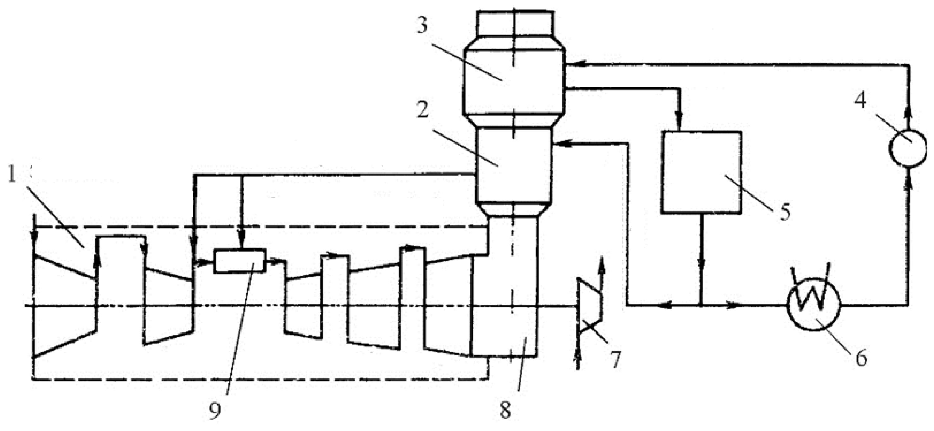
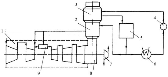
2.2. Determining the Parameters of the “Aquarius” Type Power Plant
- a large increase in power—up to 80%;
- minimum values of NOx and CO emissions;
- low capital costs per unit of installed capacity.
2.3. Verification of Calculated Data
3. Results
3.1. Calculation Grids and Initial Parameters
3.2. Aerodynamics and Temperature Distribution
3.3. Ecological Parameters of Combustion Chambers
4. Conclusions and Future Work
Author Contributions
Funding
Informed Consent Statement
Data Availability Statement
Conflicts of Interest
References
- Yang, Z.; Konovalov, D.; Radchenko, M.; Radchenko, R.; Kobalava, H.; Radchenko, A.; Kornienko, V. Analyzing the efficiency of thermopressor application for combustion engine cyclic air cooling. Energies 2022, 15, 2250. [Google Scholar] [CrossRef]
- Wang, K.; Zhao, C.; Cai, Y. Effect of intake air humidification and EGR on combustion and emission characteristics of marine diesel engine at advanced injection timing. J. Therm. Sci. 2021, 30, 1174–1186. [Google Scholar] [CrossRef]
- Yang, Z.; Radchenko, M.; Radchenko, A.; Mikielewicz, D.; Radchenko, R. Gas turbine intake air hybrid cooling systems and a new approach to their rational designing. Energies 2022, 15, 1474. [Google Scholar] [CrossRef]
- Shukla, A.K.; Singh, O. Thermodynamic investigation of parameters affecting the execution of steam injected cooled gas turbine based combined cycle power plant with vapor absorption inlet air cooling. Appl. Therm. Eng. 2017, 122, 380–388. [Google Scholar] [CrossRef]
- Radchenko, R.; Radchenko, N.; Tsoy, A.; Forduy, S.; Zybarev, A.; Kalinichenko, I. Utilizing the heat of gas module by an absorption lithium-bromide chiller with an ejector booster stage. AIP Conf. Proc. 2020, 2285, 030084. [Google Scholar] [CrossRef]
- Gluesenkamp, K.; Hwang, Y.; Radermacher, R. High efficiency micro trigeneration systems. Appl. Therm. Eng. 2013, 50, 6. [Google Scholar] [CrossRef]
- Popli, S.; Rodgers, P.; Eveloy, V. Gas turbine efficiency enhancement using waste heat powered absorption chillers in the oil and gas industry. Appl. Therm. Eng. 2013, 50, 918–931. [Google Scholar] [CrossRef]
- CIMAC. Position Paper Gas Engine Aftertreatment Systems by CIMAC WG 17, Gas Engines. 2017. Available online: https://www.cimac.com/cms/upload/Publication_Press/WG_Publications/CIMAC_WG17_2017_Aug_Position_Paper_Gas_Engine_Aftertreatment_Systems.pdf (accessed on 5 March 2019).
- Pardiñas, Á.Á.; Jokiel, M.; Schlemminger, C.; Selvnes, H.; Hafner, A. Modeling of a CO2-Based Integrated Refrigeration System for Supermarkets. Energies 2021, 14, 6926. [Google Scholar] [CrossRef]
- Radchenko, A.; Scurtu, I.-C.; Radchenko, M.; Forduy, S.; Zubarev, A. Monitoring the efficiency of cooling air at the inlet of gas engine in integrated energy system. Therm. Sci. 2022, 26, 185–194. [Google Scholar] [CrossRef]
- Barreto, D.; Fajardo, J.; Caballero, G.C.; Escorcia, Y.C. Innovative exergy and exergoeconomic analysis of a gas power system with steam injection and air cooling with a compression refrigeration machine. Energy Technol. 2021, 9, 2000993. [Google Scholar] [CrossRef]
- Radchenko, M.; Radchenko, A.; Trushliakov, E.; Pavlenko, A.; Radchenko, R. Advanced Method of Variable Refrigerant Flow (VRF) System Design to Forecast on Site Operation–Part 3: Optimal Solutions to Minimize Sizes. Energies 2023, 16, 2417. [Google Scholar] [CrossRef]
- Radchenko, M.; Radchenko, A.; Trushliakov, E.; Pavlenko, A.M.; Radchenko, R. Advanced method of variable refrigerant flow (VRF) systems designing to forecast on site operation–Part 1: General approaches and criteria. Energies 2023, 16, 1381. [Google Scholar] [CrossRef]
- Radchenko, M.; Radchenko, A.; Trushliakov, E.; Koshlak, H.; Radchenko, R. Advanced method of variable refrigerant flow (VRF) systems designing to forecast on site operation– Part 2: Phenomenological simulation to recuperate refrigeration energy. Energies 2023, 16, 1922. [Google Scholar] [CrossRef]
- Cardona, E.; Piacentino, A. A methodology for sizing a trigeneration plant in mediterranean areas. Appl. Therm. Eng. 2003, 23, 15. [Google Scholar] [CrossRef]
- Ortiga, J.; Bruno, J.C.; Coronas, A. Operational optimization of a complex trigeneration system connected to a district heating and cooling network. Appl. Therm. Eng. 2013, 50, 1536–1542. [Google Scholar] [CrossRef]
- Yang, Z.; Radchenko, R.; Radchenko, M.; Radchenko, A.; Kornienko, V. Cooling potential of ship engine intake air cooling and its realization on the route line. Sustainability 2022, 14, 15058. [Google Scholar] [CrossRef]
- Pham, V.V. Advanced Technology Solutions for Treatment and Control Noxious Emission of Large Marine Diesel Engines: A Brief Review. J. Mech. Eng. Res. Dev. 2019, 42, 21–27. [Google Scholar] [CrossRef]
- Radchenko, N.; Radchenko, A.; Tsoy, A.; Mikielewicz, D.; Kantor, S.; Tkachenko, V. Improving the efficiency of railway conditioners in actual climatic conditions of operation. AIP Conf. Proc. 2020, 2285, 030072. [Google Scholar]
- Radchenko, N.; Trushliakov, E.; Radchenko, A.; Tsoy, A.; Shchesiuk, O. Methods to determine a design cooling capacity of ambient air conditioning systems in climatic conditions of Ukraine and Kazakhstan. AIP Conf. Proc. 2020, 2285, 30074. [Google Scholar] [CrossRef]
- One Engine. Three Powerful Results. Trigeneration with Jenbacher Gas Engines. GE Energy. Jenbacher Trigeneration Solutions. 2006. Available online: http://ftp.demec.ufpr.br/disciplinas/TM106/Absorcao.pdf (accessed on 1 November 2022).
- Suamir, I.N.; Tassou, S.A. Performance evaluation of integrated trigeneration and CO2 refrigeration systems. Appl. Therm. Eng. 2013, 50, 1487–1495. [Google Scholar] [CrossRef]
- Bartnik, R.; Buryn, Z.; Hnydiuk-Stefan, A.; Skomudek, W.; Otawa, A. Thermodynamic and Economic Analysis of Trigeneration System Comprising a Hierarchical Gas-Gas Engine for Production of Electricity, Heat and Cold. Energies 2020, 13, 1006. [Google Scholar] [CrossRef]
- Popli, S.; Rodgers, P.; Eveloy, V. Trigeneration scheme for energy efficiency enhancement in a natural gas processing plant through turbine exhaust gas waste heat utilization. Appl. Energy 2012, 93, 623–636. [Google Scholar] [CrossRef]
- Maraver, D.; Sin, A.; Royo, J.; Sebastián, F. Assessment of CCHP systems based on biomass combustion for small-scale applications through a review of the technology and analysis of energy efficiency parameters. Appl. Energy 2013, 102, 1303–1313. [Google Scholar] [CrossRef]
- Khaliq, A.; Dincer, I.; Sharma, P.B. Development and analysis of industrial waste heat based trigeneration for combined generation of power heat and cold. J. Energy Inst. 2010, 83, 79–85. [Google Scholar] [CrossRef]
- Radchenko, A.; Radchenko, N.; Tsoy, A.; Portnoi, B.; Kantor, S. Increasing the efficiency of gas turbine inlet air cooling in actual climatic conditions of Kazakhstan and Ukraine. AIP Conf. Proc. 2020, 2285, 030071. [Google Scholar] [CrossRef]
- Chacartegui, R.; Jiménez-Espadafor, F.; Sánchez, D.; Sánchez, T. Analysis of combustion turbine inlet air cooling systems applied to an operating cogeneration power plant. Energy Convers. Manag. 2008, 49, 2130–2141. [Google Scholar] [CrossRef]
- Mito, M.T.; Teamah, M.A.; El-Maghlany, W.M.; Shehata, A.I. Utilizing the scavenge air cooling in improving the performance of marine diesel engine waste heat recovery systems. Energy 2018, 142, 264–276. [Google Scholar] [CrossRef]
- Cipollone, R.; Di Battista, D.; Vittorini, D. Experimental assessment of engine charge air cooling by a refrigeration unit. Energy Procedia 2017, 126, 1067–1074. [Google Scholar] [CrossRef]
- Ibrahim, T.K.; Rahman, M.M.; Abdalla, A.N. Study on the effective parameter of gas turbine model with intercooled compression process. Sci. Res. Essays 2010, 5, 3760–3770. [Google Scholar]
- Konovalov, D.; Radchenko, M.; Kobalava, H.; Kornienko, V.; Maksymov, V.; Radchenko, A.; Radchenko, R. Research of characteristics of the flow part of an aerothermopressor for gas turbine intercooling air. Proc. Inst. Mech. Eng. Part A J. Power Energy 2021, 236, 634–646. [Google Scholar] [CrossRef]
- Yang, Z.; Zhang, D.; Caglayan, O.; Jenkinson, I.; Bonsall, S.; Wang, J.; Huang, M.; Yan, X. Selection of techniques for reducing shipping NOx and SOx emissions. Transp. Res. Part D Transp. Environ. 2012, 17, 478–486. [Google Scholar] [CrossRef]
- Manzela, A.A.; Hanriot, S.M.; Cabezas-Gómez, L.; Sodré, J.R. Using engine exhaust gas as energy source for an absorption refrigeration system. Appl. Energy 2010, 87, 1141–1148. [Google Scholar] [CrossRef]
- Wang, F.; Guo, H. Design of mixed scrubbing and desulfurization system for a marine engine. IOP Conf. Ser. Mater. Sci. Eng. 2019, 472, 012098. [Google Scholar] [CrossRef]
- Hua, Y.; Wang, Z.; Li, R.; Liu, S.; Zhao, Y.; Qu, L.; Mei, D.; Lv, H. Experimental study on morphology, nanostructure and oxidation reactivity of particles in diesel engine with exhaust gas recirculation (EGR) burned with different alternative fuels. Energy 2022, 261, 125249. [Google Scholar] [CrossRef]
- Yang, Z.; Kornienko, V.; Radchenko, M.; Radchenko, A.; Radchenko, R. Research of Exhaust Gas Boiler Heat Exchange Surfaces with Reduced Corrosion when Water-fuel Emulsion Combustion. Sustainability 2022, 14, 11927. [Google Scholar] [CrossRef]
- Kornienko, V.; Radchenko, R.; Bohdal, T.; Radchenko, M.; Andreev, A. Thermal characteristics of the wet pollution layer on condensing heating surfaces of exhaust gas boilers. In Advances in Design, Simulation and Manufacturing IV; DSMIE 2021. Lecture Notes in Mechanical Engineering; Ivanov, V., Pavlenko, I., Liaposhchenko, O., Machado, J., Edl, M., Eds.; Springer: Cham, Switzerland, 2021; pp. 339–348. [Google Scholar] [CrossRef]
- Shu, G.; Liang, Y.; Wei, H.; Tian, H.; Zhao, J.; Liu, L. A review of waste heat recovery on two-stroke IC engine aboard ships. Renew. Sustain. Energy Rev. 2013, 19, 385–401. [Google Scholar] [CrossRef]
- Valluri, S.; Kawatra, S.K. Simultaneous removal of CO2, NOx and SOx using single stage absorption column. J. Environ. Sci. 2021, 103, 279–287. [Google Scholar] [CrossRef] [PubMed]
- Yang, Z.; Kornienko, V.; Radchenko, M.; Radchenko, A.; Radchenko, R.; Pavlenko, A. Capture of pollutants from exhaust gases by low-temperature heating surfaces. Energies 2022, 15, 120. [Google Scholar] [CrossRef]
- Deng, J.; Wang, X.; Wei, Z.; Wang, L.; Wang, C.; Chen, Z. A review of NOx and SOx emission reduction technologies for marine diesel engines and the potential evaluation of liquefied natural gas fueled vessels. Sci. Total Environ. 2021, 766, 144319. [Google Scholar] [CrossRef]
- Chen, D.; Wang, T.; Yang, T.; Li, G.; Chen, Y.; Qiao, T. Effects of EGR combined with DOC on emission characteristics of a two-stage injected Fischer-Tropsch diesel/methanol dual-fuel engine. Fuel 2022, 3291, 125451. [Google Scholar] [CrossRef]
- Yu, Z.; Shevchenko, S.; Radchenko, M.; Shevchenko, O.; Radchenko, A. Methodology of Designing Sealing Systems for Highly Loaded Rotary Machines. Sustainability 2022, 14, 15828. [Google Scholar] [CrossRef]
- Muszyñski, T.; Mikielewicz, D. Comparison of heat transfer characteristics in surface cooling with boiling microjets of water, ethanol and HFE7100. Appl. Therm. Eng. 2016, 93, 1403–1409. [Google Scholar] [CrossRef]
- Konur, O.; Saatcioglu, O.Y.; Korkmaz, S.A.; Erdogan, A.; Colpan, C.O. Heat exchanger network design of an organic Rankine cycle integrated waste heat recovery system of a marine vessel using pinch point analysis. Int. J. Energy Res. 2020, 44, 12312–12328. [Google Scholar] [CrossRef]
- Pavlenko, A.M.; Koshlak, H. Application of Thermal and Cavitation Effects for Heat and Mass Transfer Process Intensification in Multicomponent Liquid Media. Energies 2021, 14, 7996. [Google Scholar] [CrossRef]
- Wajs, J.; Mikielewicz, D.; Jakubowska, B. Performance of the domestic micro ORC equipped with the shell-and-tube condenser with minichannels. Energy 2018, 157, 853–861. [Google Scholar] [CrossRef]
- Mikielewicz, D.; Klugmann, M.; Wajs, J. Flow boiling intensification in minichannels by means of mechanical flow turbulising inserts. Int. J. Therm. Sci. 2013, 65, 79–91. [Google Scholar] [CrossRef]
- Kruzel, M.; Bohdal, T.; Dutkowski, K.; Radchenko, M. The Effect of Microencapsulated PCM Slurry Coolant on the Efficiency of a Shell and Tube Heat Exchanger. Energies 2022, 15, 5142. [Google Scholar] [CrossRef]
- Radchenko, M.; Radchenko, A.; Mikielewicz, D.; Radchenko, R.; Andreev, A. A novel degree-hour method for rational design loading. Proc. Inst. Mech. Eng. Part A J. Power Energy 2022. [Google Scholar] [CrossRef]
- Dutkowski, K.; Kruzel, M. Microencapsulated PCM slurries’ dynamic viscosity experimental investigation and temperature dependent prediction model. Int. J. Heat Mass Transf. 2019, 145, 118741. [Google Scholar] [CrossRef]
- Radchenko, A.; Radchenko, M.; Mikielewicz, D.; Pavlenko, A.; Radchenko, R.; Forduy, S. Energy saving in trigeneration plant for food industries. Energies 2022, 15, 1163. [Google Scholar] [CrossRef]
- Radchenko, A.; Radchenko, M.; Koshlak, H.; Radchenko, R.; Forduy, S. Enhancing the efficiency of integrated energy system by redistribution of heat based of monitoring data. Energies 2022, 15, 8774. [Google Scholar] [CrossRef]
- Ullah, I.; Hussain, I.; Rehman, K.; Wróblewski, P.; Lewicki, W.; Kavin, B.P. Exploiting the Moth–Flame Optimization Algorithm for Optimal Load Management of the University Campus: A Viable Approach in the Academia Sector. Energies 2022, 15, 3741. [Google Scholar] [CrossRef]
- Andi, B.; Venkatesan, J.; Suresh, S.; Mariappan, V. Experimental Analysis of Triple Fluid Vapour Absorption Refrigeration System Driven by Electrical Energy and Engine Waste Heat. Therm. Sci. 2019, 23, 2995–3001. [Google Scholar]
- Abusaa, G.; Issa, K. Performance Improvements of Power Generation Using Waste Heat Hybrid Cooling Plant. Kingdom Trigeneration Summit. 2013, p. 24. Available online: http://www.adcenergysystems.com/images/Downloads/Tri-Gen%202013%Performance%20Improvements%20of%20Power%20Generation%20–%20K.Issa,%20ADC.pdf (accessed on 20 February 2020).
- Carvalho, M.; Lozano, M.A.; Serra, L.M. Multicriteria synthesis of trigeneration systems considering economic and environmental aspects. Appl. Energy 2012, 91, 245–254. [Google Scholar] [CrossRef]
- Kim, M.; Oh, J.; Lee, C. Study on combustion and emission characteristics of marine diesel oil and water-in-oil emulsified marine diesel oil. Energies 2018, 11, 1830. [Google Scholar] [CrossRef]
- Kim, M.C.; Lee, C.S. It’s effects for engine emission of water/oil emulsified fuel. Anal. Sci. Technol. 2008, 21, 156–166. [Google Scholar]
- S&P Global Commodity Insights. Forecasting How Today’s Energy Mix Evolves into the Energy Mix of Tomorrow. Available online: https://www.spglobal.com/commodityinsights/en/energy-transition-service (accessed on 8 April 2023).
- Klyuev, R.V.; Gavrina, O.A.; Madaeva, M.Z. Benefits of solar power plants for energy supply to consumers in mountain territories. In Proceedings of the 2019 International Multi-Conference on Industrial Engineering and Modern Technologies, FarEastCon 2019, Vladivostok, Russia, 1–4 October 2019. [Google Scholar]
- Hannan, M.A.; Al-Shetwi, A.Q.; Mollik, M.S.; Ker, P.J.; Mannan, M.; Mansor, M.; Al-Masri, H.M.K.; Mahlia, T.M.I. Wind Energy Conversions, Controls, and Applications: A Review for Sustainable Technologies and Directions. Sustainability 2023, 15, 3986. [Google Scholar] [CrossRef]
- Igwe, C.I. Geothermal Energy: A Review. Int. J. Eng. Res. Technol. (IJERT) 2021, 10, 655–661. [Google Scholar]
- Sarker, A.K.; Azad, A.K.; Rasul, M.G.; Doppalapudi, A.T. Prospect of Green Hydrogen Generation from Hybrid Renewable Energy Sources: A Review. Energies 2023, 16, 1556. [Google Scholar] [CrossRef]
- Hydrogen Gas Turbines. The Path towards a Zero-Carbon Gas Turbine. ETN Global Report. Available online: https://etn.global/wp-content/uploads/2020/02/ETN-Hydrogen-Gas-Turbines-report.pdf (accessed on 10 February 2022).
- Nose, M.; Kawakami, T.; Araki, H.; Senba, N.; Tanimura, S. Hydrogen-Fired Gas Turbine Targeting Realization of CO2-Free Society. Mitsubishi Heavy Industries Technical Review. Available online: https://www.mhi.co.jp/technology/review/pdf/e554/e554180.pdf (accessed on 6 February 2022).
- Beital, J.; Talibi, M.; Sadasivuni, S.; Balachandran, R. Thermoacoustic Instability Considerations for High Hydrogen Combustion in Lean Premixed Gas Turbine Combustors: A Review. Hydrogen 2021, 2, 33–57. [Google Scholar] [CrossRef]
- Tekin, N.; Ashikaga, M.; Horikawa, A.; Funke, H. Enhancement of Fuel Flexibility of Industrial Gas Turbines by Development of Innovative Hydrogen Combustion Systems. Gas for Energy. Available online: https://www.researchgate.net/publication/332290711_Enhancement_of_fuel_flexibility_of_industrial_gas_turbines_by_development_of_innovative_hydrogen_combustion_systems (accessed on 5 February 2022).
- Soroka, B.S.; Pyanykh, K.E.; Zgursky, V.O.; Gorupa, V.V.; Kudryavtsev, V.S. Energy and environmental characteristics of household gas appliances using methane-hydrogen mixture as a fuel gas. Oil Gas Ind. Ukr. 2020, 6, 3–13. (In Ukrainian) [Google Scholar]
- Amaduzzi, R.; Ferrarotti, M.; Parente, A. Strategies for Hydrogen-Enriched Methane Flameless Combustion in a Quasi-Industrial Furnace. Frontiers in Energy Research. Available online: https://www.frontiersin.org/articles/10.3389/fenrg.2020.590300/full (accessed on 5 February 2022).
- Cappellettia, A.; Martellia, F.; Bianchib, E.; Trifonic, E. Numerical redesign of 100 kW MGT combustor for 100% H2 fueling. Energy Procedia 2014, 45, 1412–1421. [Google Scholar] [CrossRef]
- Barati, S.; De Santoli, L.; Lo Basso, G. Modeling and Analysis of a Micro Gas Turbine Fuelled with Hydrogen and Natural Gas Blends. E3S Web Conf. 2021, 312, 1–13. [Google Scholar]
- Ayed, A.H.; Kusterer, K.; Funke, H.H.W.; Keinz, J.; Bohn, D. CFD based exploration of the dry-low-NOx hydrogen micromix combustion technology at increased energy densities. Propuls. Power Res. 2017, 6, 15–24. [Google Scholar] [CrossRef]
- Ayed, A.H.; Kusterer, K.; Funke, H.H.W.; Keinz, J. CFD Based Improvement of the DLN Hydrogen Micromix Combustion Technology at Increased Energy Densities. Am. Sci. Res. J. Eng. Technol. Sci. (ASRJETS) 2016, 26, 290–303. [Google Scholar]
- Vilag, V.; Vilag, J.; Carlanescu, R.; Mangra, A.; Florean, F. CFD Application for Gas Turbine Combustion Simulations. In Computational Fluid Dynamics Simulations; Ji, G., Zhu, J., Eds.; IntechOpen: London, UK, 2019; Available online: https://www.intechopen.com/chapters/69672 (accessed on 7 February 2022).
- Syred, N.; Abdulsada, M.; Griffiths, A.; O’Doherty, T.; Bowen, P. The effect of hydrogen containing fuel blends upon flashback in swirl burners. Appl. Energy 2012, 89, 106–110. [Google Scholar] [CrossRef]
- Gobbato, P.; Masi, M.; Toffolo, A.; Lazzaretto, A. Numerical simulation of a hydrogen fuelled gas turbine combustor. Int. J. Hydrogen Energy 2011, 36, 7993–8002. [Google Scholar] [CrossRef]
- Attia, M.E.H.; Khechekhouche, A.; Driss, Z. Numerical Simulation of Methane-Hydrogen Combustion in the Air: Influence on Combustion Parameters. Indian J. Sci. Technol. 2018, 11, 1–8. [Google Scholar] [CrossRef]
- Reza, S.; Rahimi, M.; Khoshhal, A.; Alsairafi, A.A. CFD Study on Hydrogen-Air Premixed Combustion in a Micro Scale Chamber. Iran. J. Chem. Chem. Eng. 2010, 29, 161–172. [Google Scholar]
- Göke, S.; Füri, M.; Bourque, G.; Bobusch, B.; Göckeler, K.; Krüger, O.; Schimek, S.; Terhaar, S.; Paschereit, C.O. Influence of steam dilution on the combustion of natural gas and hydrogen in premixed and rich-quench-lean combustors. Fuel Process. Technol. 2013, 107, 14–22. [Google Scholar] [CrossRef]
- Cheng, D.Y.; Nelson, A.L.C. The chronological development of the Cheng cycle steam injected gas turbine during the past 25 years. In Proceedings of the ASME Turbo Expo 2002, Amsterdam, The Netherlands, 3–6 June 2002; GT-2002–30119 2002. pp. 1–8. [Google Scholar]
- Movchan, S.N.; Romanov, V.V.; Chobenko, V.N.; Shevtsov, A.P. Contact Steam-and-Gas Turbine Units of the “AQUARIUS” Type: The Present Status and Future Prospects. In Proceedings of the ASME Turbo Expo 2009: Power for Land, Sea, and Air, Orlando, FL, USA, 8–12 June 2009; pp. 1–7. [Google Scholar]
- Serbin, S.; Burunsuz, K.; Chen, D. Investigation of the Characteristics of a Gas Turbine Combustion Chamber with Steam Injection Operating on Hydrogen-Containing Mixtures and Hydrogen. Int. J. Chem. Eng. 2022, 2022, 1–12. [Google Scholar] [CrossRef]
- Launder, B.E.; Spalding, D.B. Lectures in Mathematical Models of Turbulence; Academic Press: London, UK, 1972. [Google Scholar]
- Serbin, S.I.; Matveev, I.B.; Mostipanenko, G.B. Plasma-Assisted Reforming of Natural Gas for GTL: Part II—Modeling of the Methane-Oxygen Reformer. IEEE Trans. Plasma Sci. 2015, 43, 3964–3968. [Google Scholar] [CrossRef]
- Serbin, S.I.; Kozlovskyi, A.V.; Burunsuz, K.S. Investigations of non-stationary processes in low emissive gas turbine combustor with plasma assistance. IEEE Trans. Plasma Sci. 2016, 44, 2960–2964. [Google Scholar] [CrossRef]
- Yakhot, V.; Orszag, S.A. Renormalization Group Analysis of Turbulence: I. Basic Theory. J. Sci. Comput. 1986, 1, 1–51. [Google Scholar] [CrossRef]
- Magnussen, B.F.; Hjertager, B.H. On mathematical models of turbulent combustion with special emphasis on soot formation and combustion. Combust. Inst. 1977, 16, 719–729. [Google Scholar] [CrossRef]
- Magnussen, B.F. On the Structure of Turbulence and a Generalized Eddy Dissipation Concept for Chemical Reaction in Turbulent Flow. In Proceedings of the 19th Aerospace Sciences Meeting, St. Louis, MO, USA, 12–15 January 1981; pp. 1–7. [Google Scholar]
- Gran, I.R.; Magnussen, B.F. A numerical study of a bluff-body stabilized diffusion flame. Part 2. Influence of combustion modeling and finite-rate chemistry. Combust. Sci. Technol. 1996, 119, 191–217. [Google Scholar] [CrossRef]
- Meloni, R. Pollutant Emission Validation of a Heavy-Duty Gas Turbine Burner by CFD Modeling. Machines 2013, 2, 81–97. [Google Scholar] [CrossRef]
- ANSYS. ANSYS Fluent Theory Guide; ANSYS, Inc.: Canonsburg, PA, USA, 2013; pp. 1–780. [Google Scholar]
- Serbin, S.I. Features of liquid-fuel plasma-chemical gasification for diesel engines. IEEE Trans. Plasma Sci. 2006, 34, 2488–2496. [Google Scholar] [CrossRef]
- Bondin, Y.N.; Krivutsa, V.A.; Movchan, S.N.; Romanov, V.I.; Kolomeev, V.N.; Shevtsov, A.P. Operation experience of a gas turbine unit GPU-16K with steam injection. Gas Turbine Technol. 2004, 5, 18–20. (In Russian) [Google Scholar]
- Serbin, S.; Washchilenko, N.; Dzida, M.; Kowalski, J. Parametric analysis of the efficiency of the combined gas-steam turbine unit of a hybrid cycle for the FPSO vessel. Polish Marit. Res. 2021, 28, 122–132. [Google Scholar] [CrossRef]
- Serbin, S.; Burunsuz, K.; Chen, D.; Kowalski, J. Investigation of the Characteristics of a Low-Emission Gas Turbine Combustion Chamber Operating on a Mixture of Natural Gas and Hydrogen. Pol. Marit. Res. 2022, 29, 64–76. [Google Scholar] [CrossRef]
- Shukla, A.K.; Sharma, A.; Sharma, M.; Mishra, S. Performance Improvement of Simple Gas Turbine Cycle with Vapor Compression Inlet Air Cooling. Mater. Today Proc. 2018, 5, 19172–19180. [Google Scholar] [CrossRef]
- Patel, V.R.; Chaudhari, K.V.; Pathak, B.C.; Shekh, A.A. Evaluation of output and heat rate of the simple cycle gas turbine during the base load condition. Int. J. Adv. Res. Eng. Sci. Technol. 2015, 2, 2394–2444. [Google Scholar]
- Radchenko, M.; Portnoi, B.; Kantor, S.; Forduy, S.; Konovalov, D. Rational Thermal Loading the Engine Inlet Air Chilling Complex with Cooling Towers. In Advanced Manufacturing Processes II: Selected Papers from the 2nd Grabchenko’s International Conference on Advanced Manufacturing Processes (InterPartner-2020), Odessa, Ukraine, 8–11 September 2020; Lecture Notes in Mechanical, Engineering; Tonkonogyi, V., Ed.; Springer International Publishing: New York, NY, USA, 2021; pp. 724–733. [Google Scholar]
- Zhang, T.; Liu, Z.; Hao, H.; Chang, L.J. Application Research of Intake-Air Cooling Technologies in Gas-Steam Combined Cycle Power Plants in China. Power Energy Eng. 2014, 2, 304–311. Available online: https://www.scirp.org/journal/paperinformation.aspx?paperid=44921 (accessed on 5 December 2021). [CrossRef]
- Mahmoudi, S.M.; Zare, V.; Ranjbar, F.; Farshi, L.J. Energy and exergy analysis of simple and regenerative gas turbines inlet air cooling using absorption refrigeration. Appl. Sci. 2009, 9, 2399–2407. [Google Scholar] [CrossRef]
- Şen, G.; Nil, M.; Mamur, H.; Doğan, H.; Karamolla, M.; Karaçor, M.; Kuyucuoğlu, F.; Yörükeren, N.; Bhuiyan, M.R.A. The effect of ambient temperature on electric power generation in natural gas combined cycle power plant—A case study. Energy Rep. 2018, 4, 682–690. [Google Scholar] [CrossRef]
- Tiwari, A.K.; Hasan, M.M.; Islam, M. Effect of ambient temperature on the performance of a combined cycle power plant. Trans. Can. Soc. Mech. Eng. 2013, 37, 1177–1188. [Google Scholar] [CrossRef]
- Yang, Z.; Korobko, V.; Radchenko, M.; Radchenko, R. Improving thermoacoustic low temperature heat recovery systems. Sustainability 2022, 14, 12306. [Google Scholar] [CrossRef]
- Chaker, M.; Meher-Homji, C.B.; Mee, T.; Nicolson, A. Inlet fogging of gas turbine engines-detailed climatic analysis of gas turbine evaporative cooling potential. In Proceedings of the ASME International Gas Turbine and Aeroengine Conference, New Orleans, LA, USA, 4–7 June 2001. ASME Paper 2001-GT-526. [Google Scholar]
- Yu, Z.; Løvås, T.; Konovalov, D.; Trushliakov, E.; Radchenko, M.; Kobalava, H.; Radchenko, R.; Radchenko, A. Investigation of thermopressor with incomplete evaporation for gas turbine intercooling systems. Energies 2023, 16, 20. [Google Scholar] [CrossRef]
- Wan, X.; Chua, H. Absorption Cooling: A review of Lithium Bromide-Water chiller technologies. Recent Pat. Mech. Eng. 2009, 2, 193–213. [Google Scholar]
- Trushliakov, E.; Radchenko, M.; Radchenko, A.; Kantor, S.; Zongming, Y. Statistical Approach to Improve the Efficiency of Air Conditioning System Performance in Changeable Climatic Conditions. In Proceedings of the 5th International Conference on Systems and Informatics, ICSAI 2018, Nanjing, China, 10–12 November 2018; pp. 256–260. [Google Scholar]
- Al-Tahaineh, H.A. Cooling of compressor air inlet of a gas turbine power plant using ammonia-water vapor absorption system. Int. J. Energy Eng. 2013, 3, 267–271. [Google Scholar]
- Bortmany, J.N. Assesstment of aqua-ammonia refrigeration for pre-cooling gas turbine inlet air. In Proceedings of the ASME TURBO EXPO 2002, Amsterdam, The Netherlands, 3–6 June 2002. Paper GT-2002–30657, 12p. [Google Scholar]
- Kornienko, V.; Radchenko, R.; Radchenko, M.; Radchenko, A.; Pavlenko, A.; Konovalov, D. Cooling cyclic air of marine engine with water-fuel emulsion combustion by exhaust heat recovery chiller. Energies 2022, 15, 248. [Google Scholar] [CrossRef]
- Kwon, H.M.; Kim, T.S.; Sohn, J.L. Performance improvement of gas turbine combined cycle power plant by dual cooling of the inlet air and turbine coolant using an absorption chiller. Energy 2018, 163, 1050–1061. [Google Scholar] [CrossRef]
- Korze’n, A.; Taler, D. Modeling of transient response of a plate fin and tube heat exchanger. Int. J. Therm. Sci. 2015, 92, 188–198. [Google Scholar] [CrossRef]
- Taler, D. Mathematical modeling and control of plate fin and tube heat exchangers. Energy Convers. Manag. 2015, 96, 452–462. [Google Scholar] [CrossRef]
- Dizaji, H.S.; Hu, E.J.; Chen, L.; Pourhedayat, S. Using novel integrated Maisotsenko cooler and absorption chiller for cooling of gas turbine inlet air. Energy Convers. Manag. 2019, 195, 1067–1078. [Google Scholar] [CrossRef]
- Zhu, G.; Chow, T.-T.; Lee, C.-K. Performance analysis of biogas-fueled Maisotsenko combustion turbine cycle. Appl. Therm. Eng. 2021, 195, 117247. [Google Scholar] [CrossRef]
- Lozano, M.; Ramos, J.C.; Serra, L.M. Cost Optimization of the Design of CHCP (Combined Heat, Cooling and Power) Systems under Legal Constraints. Energy 2010, 35, 794–805. [Google Scholar] [CrossRef]
- Department of Military and Veterans Affairs. Combined Heat and Power Project Feasibility Study; CHA Project Number: 33710. Prepared by CHA, 26 April 2018; Vineland Veterans Memorial Home: Vineland, NJ, USA, 2018; 412p. [Google Scholar]
- Rodriguez-Aumente, P.A.; Rodriguez-Hidalgo, M.C.; Nogueira, J.I.; Lecuona, A.; Venegas, M.C. District heating and cooling for business buildings in Madrid. Appl. Therm. Eng. 2013, 50, 1496–1503. [Google Scholar] [CrossRef]
- Rouse, G.; Czachorski, M.; Bishop, P.; Patel, J. GTI Integrated Energy System for Buildings. Modular System Prototype; GTI Project report 15357/65118; Gas Technology Institute (GTI): Des Plaines IL, USA, 2006; 495p. [Google Scholar]
- Chua, K.J.; Yang, W.M.; Wong, T.Z.; Ho, C. Integrating renewable energy technologies to support building trigeneration—A multi-criteria analysis. Renew. Energy 2012, 41, 358–367. [Google Scholar] [CrossRef]
- Arteconi, A.; Brandoni, C.; Polonara, F. Distributed generation and trigeneration: Energy saving opportunities in Italian supermarket sector. Appl. Therm. Eng. 2009, 29, 1735–1743. [Google Scholar] [CrossRef]
- Freschi, F.; Giaccone, L.; Lazzeroni, P.; Repetto, M. Economic and environmental analysis of a trigeneration system for food-industry: A case study. Appl. Energy 2013, 107, 157–172. [Google Scholar] [CrossRef]
- Bassols, J.; Kuckelkorn, B.; Langrek, J.; Schneider, R.; Veelken, H. Trigeneration in the food industry. Appl. Therm. Eng. 2002, 22, 595–602. [Google Scholar] [CrossRef]














| Reaction | A | E, J/kg Mole | β | Order of Reaction | |||
|---|---|---|---|---|---|---|---|
| CH4 + 1.5 O2 → CO + 2 H2O | 4.64 × 109 | 1.17 × 108 | −0.062 | CH4 | 0.5 | O2 | 1.066 |
| CO + 0.5 O2 → CO2 | 3.97 × 1011 | 7.68 × 107 | 0.215 | O2 | 1.756 | CO | 1.258 |
| CO2 → CO + 0.5 O2 | 6.02 × 105 | 1.31 × 108 | −0.108 | CO2 | 1.357 | ||
| H2 + 0.5 O2 → H2O | 9.87 × 108 | 3.1× 107 | 0 | H2 | 1.0 | O2 | 1.0 |
| Parameters | With Preliminary Mixing | With Steam Injection |
|---|---|---|
| Air pressure at the inlet, MPa | 1.50 | 2.38 |
| Air flow rate per flame tube, kg/s | 3.31 | 2.75 |
| Air temperature, K | 759 | 769 |
| Fuel temperature, K | 310 | 300 |
| Composition: hydrogen/natural gas (by volume) | 20/80 | 100/0 |
| NO content at the outlet, ppm | 18.40 | 37.97 |
| CO content at the outlet, ppm | 0.86 | 0.0 |
Disclaimer/Publisher’s Note: The statements, opinions and data contained in all publications are solely those of the individual author(s) and contributor(s) and not of MDPI and/or the editor(s). MDPI and/or the editor(s) disclaim responsibility for any injury to people or property resulting from any ideas, methods, instructions or products referred to in the content. |
© 2023 by the authors. Licensee MDPI, Basel, Switzerland. This article is an open access article distributed under the terms and conditions of the Creative Commons Attribution (CC BY) license (https://creativecommons.org/licenses/by/4.0/).
Share and Cite
Serbin, S.; Radchenko, M.; Pavlenko, A.; Burunsuz, K.; Radchenko, A.; Chen, D. Improving Ecological Efficiency of Gas Turbine Power System by Combusting Hydrogen and Hydrogen-Natural Gas Mixtures. Energies 2023, 16, 3618. https://doi.org/10.3390/en16093618
Serbin S, Radchenko M, Pavlenko A, Burunsuz K, Radchenko A, Chen D. Improving Ecological Efficiency of Gas Turbine Power System by Combusting Hydrogen and Hydrogen-Natural Gas Mixtures. Energies. 2023; 16(9):3618. https://doi.org/10.3390/en16093618
Chicago/Turabian StyleSerbin, Serhiy, Mykola Radchenko, Anatoliy Pavlenko, Kateryna Burunsuz, Andrii Radchenko, and Daifen Chen. 2023. "Improving Ecological Efficiency of Gas Turbine Power System by Combusting Hydrogen and Hydrogen-Natural Gas Mixtures" Energies 16, no. 9: 3618. https://doi.org/10.3390/en16093618
APA StyleSerbin, S., Radchenko, M., Pavlenko, A., Burunsuz, K., Radchenko, A., & Chen, D. (2023). Improving Ecological Efficiency of Gas Turbine Power System by Combusting Hydrogen and Hydrogen-Natural Gas Mixtures. Energies, 16(9), 3618. https://doi.org/10.3390/en16093618

