Directions of Development of Diagnostic Methods of Vacuum Medium-Voltage Switchgear
Abstract
1. Introduction
2. Switching Devices in Medium-Voltage Networks
2.1. Gas-Insulated Switchgear
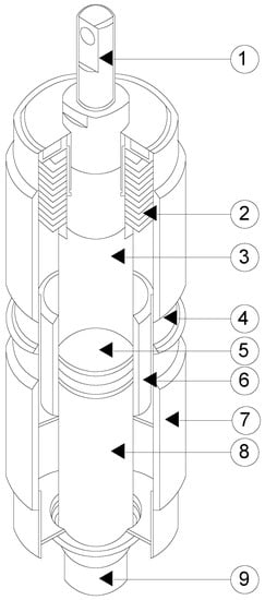
Vacuum Chambers
3. Pressure Control in Switchgear
3.1. Chosen Diagnostic Methods for Vacuum Equipment [54]
3.1.1. The Pening and Magnetron methods
3.1.2. DC Static Voltage Ignition Method
3.1.3. X-ray Measurement Method
3.2. Determination of Pressure Status in Real Time
3.3. Piezoresistive Sensors for Pressure Measurement
3.4. Fiber Optic Technology in Pressure Measurement
3.4.1. Sensors with a Fabry-Perot Interferometer
3.4.2. Sensors with Bragg Gratings
3.5. Measurement of Partial Discharge
3.5.1. IEC 60720 Method
3.5.2. Acoustic Method
3.5.3. Radio Frequency Method
3.5.4. Other Innovative Measurement and Detection Methods
4. Summary
Author Contributions
Funding
Data Availability Statement
Acknowledgments
Conflicts of Interest
References
- Colak, I.; Bayindir, R.; Sagiroglu, S. The Effects of the Smart Grid System on the National Grids. In Proceedings of the 2020 8th International Conference on Smart Grid (icSmartGrid), Paris, France, 17–19 June 2020; pp. 122–126. [Google Scholar] [CrossRef]
- The EU in the World-Energy-Statistics Explained. Available online: https://ec.europa.eu/eurostat/statistics-explained/index.php?title=The_EU_in_the_world_-_energy#Electricity_generation (accessed on 11 August 2022).
- Mohanty, S.P.; Choppali, U.; Kougianos, E. Everything you wanted to know about smart cities: The Internet of things is the backbone. IEEE Consum. Electron. Mag. 2016, 5, 60–70. [Google Scholar] [CrossRef]
- Morello, R.; de Capua, C.; Fulco, G.; Mukhopadhyay, S.C. A Smart Power Meter to Monitor Energy Flow in Smart Grids: The Role of Advanced Sensing and IoT in the Electric Grid of the Future. IEEE Sens. J. 2017, 17, 7828–7837. [Google Scholar] [CrossRef]
- VD4-Medium Voltage Vacuum Circuit-Breakers. Available online: https://search.abb.com/library/Download.aspx?DocumentID=1VCP000001_A&LanguageCode=pl&DocumentPartId=&Action=Launch (accessed on 28 November 2022).
- Totally Integrated Power-SION Wyłączniki Próżniowe SION Typu 3AE5 i 3AE1 Aparaty Łączeniowe Średniego Napięcia. Available online: https://publikacje.siemens-info.com/pdf/115/Wy%C5%82%C4%85czniki%20pr%C3%B3%C5%BCniowe%20SION.pdf (accessed on 8 September 2022).
- Slade, P.G. The Vacuum Interrupter, 2nd ed.; CRC Press: Boca Raton, FL, USA, 2020. [Google Scholar] [CrossRef]
- Alsumaidaee, Y.; Yaw, C.; Koh, S.; Tiong, S.; Chen, C.; Ali, K. Review of Medium-Voltage Switchgear Fault Detection in a Condition-Based Monitoring System by Using Deep Learning. Energies 2022, 15, 6762. [Google Scholar] [CrossRef]
- Yeckley, R.; Perulfi, J. Oil circuit breakers: A look at the earlier generation [history]. IEEE Power Energy Mag. 2018, 16, 86–97. [Google Scholar] [CrossRef]
- Pei, X.; Cwikowski, O.; Vilchis-Rodriguez, D.S.; Barnes, M.; Smith, A.C.; Shuttleworth, R. A review of technologies for MVDC circuit breakers. In Proceedings of the IECON 2016—42nd Annual Conference of the IEEE Industrial Electronics Society, Florence, Italy, 23–26 October 2016; pp. 3799–3805. [Google Scholar] [CrossRef]
- Park, W.; Kim, Y.K.; Lee, S.; Ahn, K.-Y.; Kim, Y.-G. Arc phenomena and method of arc extinction in air circuit breaker. In Proceedings of the 25th International Conference on Electricity Distribution (CIRED 2019), Madrid, Spain, 3–6 June 2019. [Google Scholar]
- Air Circuit Breaker: Construction, Types, Working & Its Applications. Available online: https://www.elprocus.com/air-circuit-breaker-acb-working-principle-application/ (accessed on 12 November 2022).
- Tian, S.; Zhang, X.; Xiao, S.; Zhang, J.; Chen, Q.; Li, Y. Application of C6F12O/CO2 mixture in 10 kV medium-voltage switchgear. IET Sci. Meas. Technol. 2019, 13, 1225–1230. [Google Scholar] [CrossRef]
- Seeger, M.; Smeets, R.; Yan, J.; Ito, H.; Claessens, M.; Dullni, E.; Falkingham, L.; Franck, C.M.; Gentils, F.; Hartmann, W.; et al. Recent Trends in Development of High Voltage Circuit Breakers with SF6 Alternative Gases. Plasma Phys. Technol. 2017, 4, 8–12. [Google Scholar] [CrossRef]
- Xemard, A.; Jurisic, B.; Rioual, M.; Olivier, A.; Sellin, E. Interruption of small, medium-voltage transformer current with a vacuum circuit breaker. Electr. Power Syst. Res. 2020, 187, 106502. [Google Scholar] [CrossRef]
- Moore, T.; Schmid, F.; Tricoli, P. Voltage transient management for Alternating Current trains with vacuum circuit breakers. IET Electr. Syst. Transp. 2021, 12, 1–14. [Google Scholar] [CrossRef]
- Węgierek, P.; Staszak, S.; Pastuszak, J. EKTOS—Innowacyjny napowietrzny rozłącznik próżniowy średniego napięcia w obudowie zamkniętej przeznaczony do sieci smart grids. Wiadomości Elektrotechniczne 2019, 1, 23–27. [Google Scholar] [CrossRef]
- Węgierek, P.; Lech, M.; Kostyła, D.; Kozak, C. Study on the Effect of Helium on the Dielectric Strength of Medium-Voltage Vacuum Interrupters. Energies 2021, 14, 3742. [Google Scholar] [CrossRef]
- Slade, P.G. The Vacuum Interrupter, 1st ed.; CRC Press: Boca Raton, FL, USA, 2018. [Google Scholar] [CrossRef]
- United Nations. Kyoto Protocol to the United Nations Framework Convention on Climate Change; United Nations: Rome, Italy, 1998. [Google Scholar]
- Kumar, S.; Madlener, R. Energy systems and COP21 Paris climate agreement targets in Germany: An integrated modeling approach. In Proceedings of the 2018 7th International Energy and Sustainability Conference (IESC), Cologne, Germany, 17–18 May 2018; pp. 1–6. [Google Scholar] [CrossRef]
- Ullah, R.; Rashid, A.; Rashid, A.; Khan, F.; Ali, A. Dielectric characteristic of dichlorodifluoromethane (R12) gas and mixture with N2/air as an alternative to SF6 gas. High Volt. 2017, 2, 205–210. [Google Scholar] [CrossRef]
- Ullah, R.; Ullah, Z.; Haider, A.; Amin, S.; Khan, F. Dielectric properties of tetrafluoroethane (R134) gas and its mixtures with N2 and air as a sustainable alternative to SF6 in high voltage applications. Electr. Power Syst. Res. 2018, 163, 532–537. [Google Scholar] [CrossRef]
- Kharal, H.S.; Kamran, M.; Ullah, R.; Saleem, M.Z.; Alvi, M.J. Environment-Friendly and Efficient Gaseous Insulator as a Potential Alternative to SF6. Processes 2019, 7, 740. [Google Scholar] [CrossRef]
- European Parliament and of the Council. Regulation of the European Parliament and of the Council on Fluorinated Greenhouse Gases. 2022. Available online: https://eur-lex.europa.eu/legal-content/EN/TXT/HTML/?uri=CELEX:52022PC0150 (accessed on 6 October 2022).
- Zhong, L.; Rong, M.; Wang, X.; Wu, J.; Han, G.; Han, G.; Lu, Y.; Yang, A.; Wu, Y. Compositions, thermodynamicproperties, and transport coefficients of high temperature C5F10O mixed with CO2 and O2 as substitutes for SF6 to reduce global warming potential. AIP Adv. 2017, 7, 075003. [Google Scholar] [CrossRef]
- Xiao, D. Gas Discharge and Gas Insulation 6; Springer: Berlin/Heidelberg, Germany, 2016. [Google Scholar] [CrossRef]
- Li, X.; Zhao, H.; Murphy, A.B. SF6-alternative gases for application in gas-insulated switchgear. J. Phys. D Appl. Phys. 2018, 51, 153001. [Google Scholar] [CrossRef]
- Kovács, T.; Feng, W.; Totterdill, A.; Plane, J.M.C.; Dhomse, S.; Gómez-Martín, J.C.; Stiller, G.P.; Haenel, F.J.; Smith, C.; Forster, P.M.; et al. Determination of the atmospheric lifetime and global warming potential of sulfur hexafluoride using a three-dimensional model. Atmos. Chem. Phys. 2017, 17, 883–898. [Google Scholar] [CrossRef]
- Hosl, A.; Pachin, J.; Eguz, E.; Chachereau, A.; Franck, C.M. Positive synergy of SF6 and HFO1234ze(E). IEEE Trans. Dielectr. Electr. Insul. 2020, 27, 322–324. [Google Scholar] [CrossRef]
- Hopf, A.; Britton, J.A.; Rossner, M.; Berger, F. Dielectric strength of SF6 substitutes, alternative insulation gases and PFC-gas-mixtures. In Proceedings of the 2017 IEEE Electrical Insulation Conference (EIC), Baltimore, MD, USA, 11–14 June 2017; pp. 209–212. [Google Scholar]
- Park, D.-W.; Han, S.-H.; Seon, H.S.; Shin, P.-K.; Park, D.W. Conversion of SF 6 by Thermal Plasma at Atmospheric Pressure. Available online: https://www.researchgate.net/publication/268405914 (accessed on 28 November 2022).
- Ito, H. (Ed.) Switching Equipment; Springer International Publishing: Cham, Switzerland, 2019. [Google Scholar] [CrossRef]
- Conseil International des Grands RéseauxÉlectriques. Comité D’études A3. and Impr. Conformes), the Impact of the Application of Vacuum Switchgear at Transmission Voltages; CIGRÉ: Paris, France, 2014. [Google Scholar]
- Yao, X.; Wang, J.; Ai, S.; Liu, Z.; Geng, Y.; Hao, Z. Vacuum Switching Technology for Future of Power Systems. Engineering; Elsevier Ltd.: Amsterdam, The Netherlands, 2022. [Google Scholar] [CrossRef]
- Duan, X.; Li, F.; Dong, E.; Liao, M.; Guo, Y.; Zou, J. Study on Inner Vacuum Pressure Measurement System of Vacuum Circuit Breakers. In Proceedings of the 2017 4th International Conference on Electric Power Equipment-Switching Technology (ICEPE-ST), Xi’an, China, 22–25 October 2017. [Google Scholar]
- Mei, Y.; Yuan, H.; Wang, X.; Sha, K.; Wang, P.; Guo, J.; Xu, W.; Rong, M.; Wang, W. Study on the change tendency of electro-magnetic signal under different vacuum degree for 10 kV vacuum chamber. In Proceedings of the TENCON 2015—2015 IEEE Region 10 Conference, Macao, China, 1–4 November 2015; pp. 1–6. [Google Scholar] [CrossRef]
- Yao, X.; Wang, J.; Geng, Y.; Liu, Z.; Zhai, X. Determination of opening velocities for vacuum circuit breakers at transmission voltage. In Proceedings of the 2016 27th International Symposium on Discharges and Electrical Insulation in Vacuum (ISDEIV), Suzhou, China, 18–23 September 2016; pp. 1–4. [Google Scholar] [CrossRef]
- Zhang, B.; Ren, L.; Ding, J.; Wang, J.; Liu, Z.; Geng, Y.; Yanabu, S. A Relationship Between Minimum Arcing Interrupting Capability and Opening Velocity of Vacuum Interrupters in Short-Circuit Current Interruption. IEEE Trans. Power Deliv. 2018, 33, 2822–2828. [Google Scholar] [CrossRef]
- Heinz, T.; Koletzko, M.; Giere, S.; Wenzel, N.; Wethekam, S. Control of Vacuum Arcs in High-Voltage Vacuum Interrupters by Suitable Stroke Trajectories of Opening AMF Contacts. In Proceedings of the 2018 28th International Symposium on Discharges and Electrical Insulation in Vacuum (ISDEIV), Greifswald, Germany, 23–28 September 2018; pp. 535–538. [Google Scholar] [CrossRef]
- Sun, L.; Yu, L.; Liu, Z.; Wang, J.; Geng, Y. An Opening Displacement Curve Characteristic Determined by High-Current Anode Phenomena of a Vacuum Interrupter. IEEE Trans. Power Deliv. 2013, 28, 2585–2593. [Google Scholar] [CrossRef]
- Duan, X.; Sun, Q.; Wang, W.; Li, J.; Zhang, L.; Dong, E.; Zhu, Y. Design and Dynamic Performance Analysis of Brushless DC Motor Operating Mechanism for UHV Bypass Switch. In Proceedings of the 2019 4th International Conference on Mechanical, Control and Computer Engineering (ICMCCE), Hohhot, China, 24–26 October 2019; pp. 146–1463. [Google Scholar] [CrossRef]
- Fang, S.; Xia, M.; Lin, H.; Ho, S. Analysis and design of a high-speed permanent magnet characteristic actuator using eddy current effect for high-voltage vacuum circuit breaker. IET Electr. Power Appl. 2016, 10, 268–275. [Google Scholar] [CrossRef]
- Bissal, A.; Magnusson, J.; Engdahl, G. Comparison of Two Ultra-Fast Actuator Concepts. IEEE Trans. Magn. 2012, 48, 3315–3318. [Google Scholar] [CrossRef]
- Yao, X.; Guan, C.; Wang, J.; Liu, Z.; Ai, S.; Ma, K.; Ma, F. Technology of AC Short-Circuit Current Controlled Fast Vacuum Breaking in a Short Arcing Time. In Proceedings of the 2020 IEEE International Conference on Applied Superconductivity and Electromagnetic Devices (ASEMD), Tianjin, China, 16–18 October 2020; pp. 1–2. [Google Scholar] [CrossRef]
- Stoczko, S.; Szewczyk, M.; Pochanke, Z.; Chmielak, W. Experimental study on field emission current in vacuum interrupter at functional limit of vacuum pressure. Electr. Power Syst. Res. 2021, 191, 106860. [Google Scholar] [CrossRef]
- Lech, M.; Kostyła, D. Metoda określania rzeczywistej wartości ciśnienia w próżniowej komorze gaszeniowej sn. Informatyka, Automatyka. Pomiary Gospod. Ochr. Sr. 2021, 11, 28–31. [Google Scholar] [CrossRef]
- Węgierek, P. Test stand for testing and diagnostics of medium voltage vacuum interrupters. Przegląd Elektrotechniczny 2021, 1, 178–181. [Google Scholar] [CrossRef]
- Komory Próżniowe. Available online: https://proznia.itr.org.pl/komory-prozniowe#gallery-3 (accessed on 12 November 2022).
- Martins, P.; Silva, C.; Oliveira, J.; Marques, A. Preliminary Tests with Screen-Printed Piezoresistive Pressure Sensors on PET and Textile Substrates. In Proceedings of the 2022 IEEE International Conference on Flexible and Printable Sensors and Systems (FLEPS), Vienna, Austria, 10–13 July 2022; pp. 1–4. [Google Scholar] [CrossRef]
- Kumar, S.; Rathore, P.K.; Rangababu, P. Implementation of operational amplifier for the designing of novel piezoresistive pressure sensor. In Proceedings of the 2018 2nd International Conference on Smart Sensors and Application (ICSSA), Kuching, Malaysia, 24–26 July 2018; pp. 126–129. [Google Scholar] [CrossRef]
- Pan, L.; Chortos, A.; Yu, G.; Wang, Y.; Isaacson, S.; Allen, R.; Shi, Y.; Dauskardt, R.; Bao, Z. An ultra-sensitive resistive pressure sensor based on hollow-sphere microstructure induced elasticity in conducting polymer film. Nat. Commun. 2014, 5, 3002. [Google Scholar] [CrossRef]
- Bang, S.; Lee, H.W.; Lee, B.W. Real-time monitoring of the vacuum degree based on the partial discharge and an insulation supplement design for a distribution class vacuum interrupter. Energies 2021, 14, 7891. [Google Scholar] [CrossRef]
- Chmielak, W. Review of methods of diagnostics of the vacuum in vacuum circuit breakers. Przegląd Elektrotechniczny 2014, 2, 213–216. [Google Scholar] [CrossRef]
- Yan, F.; Jin, D.; Chen, L.; Wan, X.; Xiao, K. Non-destructive gas pressure measurement in compact sealed electronic vacuum devices by penning-type discharge. In Proceedings of the 2016 27th International Symposium on Discharges and Electrical Insulation in Vacuum (ISDEIV), Suzhou, China, 18–23 September 2016; pp. 1–2. [Google Scholar] [CrossRef]
- Kuhl, W.; Schilling, W.; Schlenk, W. Messung des lnnendruckes in Vakuumschaltröhr. Vakuum-Technik 1985, 34. [Google Scholar]
- Vidar_DS_PL. Available online: https://embed.widencdn.net/pdf/plus/megger/2seoiw0prn/Vidar_DS_PL.pdf (accessed on 8 September 2022).
- Dugan, G.F.; Sonnad, K.G.; Cimino, R.; Ishibashi, T.; Schäfers, F. Measurements of X-ray scattering from accelerator vacuum chamber surfaces, and comparison with an analytical model. Phys. Rev. Spec. Top.-Accel. Beams 2015, 18, 040704. [Google Scholar] [CrossRef]
- How Is Vacuum Pressure Measured—Leybold. Available online: https://www.leybold.com/en/knowledge/vacuum-fundamentals/vacuum-measurement/how-is-vacuum-pressure-measured (accessed on 17 September 2022).
- Tran, A.V.; Zhang, X.; Zhu, B. The Development of a New Piezoresistive Pressure Sensor for Low Pressures. IEEE Trans. Ind. Electron. 2018, 65, 6487–6496. [Google Scholar] [CrossRef]
- Li, J.; Fang, L.; Sun, B.; Li, X.; Kang, S.H. Review—Recent Progress in Flexible and Stretchable Piezoresistive Sensors and Their Applications. J. Electrochem. Soc. 2020, 167, 037561. [Google Scholar] [CrossRef]
- Jian, M.; Xia, K.; Wang, Q.; Yin, Z.; Wang, H.; Wang, C.; Xie, H.; Zhang, M.; Zhang, Y. Flexible and Highly Sensitive Pressure Sensors Based on Bionic Hierarchical Structures. Adv. Funct. Mater. 2017, 27, 1606066. [Google Scholar] [CrossRef]
- Wang, X.; Gu, Y.; Xiong, Z.; Cui, Z.; Zhang, T. Silk-Molded Flexible, Ultrasensitive, and Highly Stable Electronic Skin for Monitoring Human Physiological Signals. Adv. Mater. 2014, 26, 1336–1342. [Google Scholar] [CrossRef]
- Park, H.; Jeong, Y.R.; Yun, J.; Hong, S.Y.; Jin, S.; Lee, S.-J.; Zi, G.; Ha, J.S. Stretchable Array of Highly Sensitive Pressure Sensors Consisting of Polyaniline Nanofibers and Au-Coated Polydimethylsiloxane Micropillars. ACS Nano 2015, 9, 9974–9985. [Google Scholar] [CrossRef]
- Choong, C.-L.; Shim, M.-B.; Lee, B.-S.; Jeon, S.; Ko, D.-S.; Kang, T.-H.; Bae, J.; Lee, S.H.; Byun, K.-E.; Im, J.; et al. Highly Stretchable Resistive Pressure Sensors Using a Conductive Elastomeric Composite on a Micropyramid Array. Adv. Mater. 2014, 26, 3451–3458. [Google Scholar] [CrossRef]
- Park, J.; Lee, Y.; Hong, J.; Ha, M.; Jung, Y.-D.; Lim, H.; Kim, S.Y.; Ko, H. Giant Tunneling Piezoresistance of Composite Elastomers with Interlocked Microdome Arrays for Ultrasensitive and Multimodal Electronic Skins. ACS Nano 2014, 8, 4689–4697. [Google Scholar] [CrossRef]
- Liu, M.; Pu, X.; Jiang, C.; Liu, T.; Huang, X.; Chen, L.; Du, C.; Sun, J.; Hu, W.; Wang, Z.L. Large-Area All-Textile Pressure Sensors for Monitoring Human Motion and Physiological Signals. Adv. Mater. 2017, 29, 1703700. [Google Scholar] [CrossRef]
- Leal-Junior, A.G.; Díaz, C.A.R.; Frizera, A.; Marques, C.; Ribeiro, M.R.N.; Pontes, M.J. Simultaneous measurement of pressure and temperature with a single FBG embedded in a polymer diaphragm. Opt. Laser Technol. 2019, 112, 77–84. [Google Scholar] [CrossRef]
- Leal-Junior, A.; Campos, V.; Frizera, A.; Marques, C. Low-cost and high-resolution pressure sensors using highly stretchable polymer optical fibers. Mater. Lett. 2020, 271, 127810. [Google Scholar] [CrossRef]
- Leal-Junior, A.; Frizera, A.; Marques, C. A fiber Bragg gratings pair embedded in a polyurethane diaphragm: Towards a temperature-insensitive pressure sensor. Opt. Laser Technol. 2020, 131, 106440. [Google Scholar] [CrossRef]
- Ishikawa, R.; Lee, H.; Lacraz, A.; Theodosiou, A.; Kalli, K.; Mizuno, Y.; Nakamura, K. Pressure Dependence of Fiber Bragg Grating Inscribed in Perfluorinated Polymer Fiber. IEEE Photonics Technol. Lett. 2017, 29, 2167–2170. [Google Scholar] [CrossRef]
- Zhang, Q.; Wang, Y.; Sun, Y.; Gao, L.; Zhang, Z.; Zhang, W.; Zhao, P.; Yue, Y. Using Custom Fiber Bragg Grating-Based Sensors to Monitor Artificial Landslides. Sensors 2016, 16, 1417. [Google Scholar] [CrossRef]
- Luo, Y.-T.; Wang, H.-B.; Ma, G.-M.; Song, H.-T.; Li, C.; Jiang, J. Research on High Sensitive D-Shaped FBG Hydrogen Sensors in Power Transformer Oil. Sensors 2016, 16, 1641. [Google Scholar] [CrossRef]
- He, X.; Ma, C.; Wang, X.; Wang, Z.; Yuan, L. Pressure vector sensor based on an orthogonal optical path Sagnac interferometer. Opt. Express 2020, 28, 7969. [Google Scholar] [CrossRef]
- Paixão, T.; Araújo, F.; Antunes, P. Highly sensitive fiber optic temperature and strain sensor based on an intrinsic Fabry–Perot interferometer fabricated by a femtosecond laser. Opt. Lett. 2019, 44, 4833. [Google Scholar] [CrossRef]
- Qi, Y.; Zhang, J.; Feng, Q.; Zhang, X.; Liu, Y.; Han, Y. A Novel High Sensitivity Refractive Index Sensor Based on Multi-Core Micro/Nano Fiber. Photonic Sens. 2019, 9, 197–204. [Google Scholar] [CrossRef]
- Lin, H.; Liu, F.; Guo, H.; Zhou, A.; Dai, Y. Ultra-highly sensitive gas pressure sensor based on dual side-hole fiber interferometers with Vernier effect. Opt. Express 2018, 26, 28763. [Google Scholar] [CrossRef]
- Rao, Y.-J.; Ran, Z.-L.; Gong, Y. Fiber-Optic Fabry–Perot Sensors; CRC Press, Taylor & Francis Group: Boca Raton, FL, USA, 2017. [Google Scholar] [CrossRef]
- Rao, Y.J.; Zhu, T.; Yang, X.C.; Duan, D.W. In-line fiber-optic etalon formed by hollow-core photonic crystal fiber. Opt. Lett. 2007, 32, 2662–2664. [Google Scholar] [CrossRef]
- Villatoro, J.; Finazzi, V.; Coviello, G.; Pruneri, V. Photonic-crystal-fiber-enabled micro-Fabry–Perot interferometer. Opt. Lett. 2009, 34, 2441–2443. [Google Scholar] [CrossRef]
- Villatoro, J.; Kreuzer, M.P.; Jha, R.; Minkovich, V.P.; Finazzi, V.; Badenes, G.; Pruneri, V. Photonic crystal fiber interferometer for chemical vapor detection with high sensitivity. Opt. Express 2009, 17, 1447–1453. [Google Scholar] [CrossRef]
- Wu, C.; Fu, H.Y.; Qureshi, K.K.; Guan, B.-O.; Tam, H.Y. High-pressure and high-temperature characteristics of a Fabry–Perot interferometer based on photonic crystal fiber. Opt. Lett. 2011, 36, 412. [Google Scholar] [CrossRef]
- Wang, W.; Li, F. Large-range liquid level sensor based on an optical fibre extrinsic Fabry–Perot interferometer. Opt. Lasers Eng. 2014, 52, 201–205. [Google Scholar] [CrossRef]
- Lin, H.; Liu, F.; Dai, Y.; Zhou, A. Cascaded Fiber Mach–Zehnder Interferometers for Sensitivity-Enhanced Gas Pressure Measurement. IEEE Sens. J. 2019, 19, 2581–2586. [Google Scholar] [CrossRef]
- Qi, Y.; Cong, B.; Liu, Z.; Gong, C.; Li, F.; Hu, T.; Liu, Y. All-fiber sensitivity-enhanced pressure sensor based on Sagnac and F-P interferometer. Optik 2021, 243, 167359. [Google Scholar] [CrossRef]
- Pan, R.; Yang, W.; Li, L.; Yang, Y.; Yu, X.; Fan, J.; Yu, S.; Xiong, Y.; Zhang, L. High-sensitive fiber-optic pressure sensor based on Fabry-Perot interferometer filled with ultraviolet glue film and Vernier effect. Opt. Fiber Technol. 2021, 67, 102710. [Google Scholar] [CrossRef]
- Guo, X.; Ye, W.; Jiang, C.; Sun, S. High sensitivity gas pressure sensor based on two parallel-connected Fabry–Perot interferometers and Vernier effect. Meas. Sci. Technol. 2021, 32, 125124. [Google Scholar] [CrossRef]
- Chen, P.; Dai, Y.; Zhang, D.; Wen, X.; Yang, M. Cascaded-Cavity Fabry-Perot Interferometric Gas Pressure Sensor based on Vernier Effect. Sensors 2018, 18, 3677. [Google Scholar] [CrossRef]
- Wang, J.; Li, L.; Liu, S.; Wu, D.; Wang, W.; Song, M.; Wang, G.; Huang, M. Investigation of Composite Structure with Dual Fabry–Perot Cavities for Temperature and Pressure Sensing. Photonics 2021, 8, 138. [Google Scholar] [CrossRef]
- Liao, C.; Liu, S.; Xu, L.; Wang, C.; Wang, Y.; Li, Z.; Wang, Q.; Wang, D.N. Sub-micron silica diaphragm-based fiber-tip Fabry–Perot interferometer for pressure measurement. Opt. Lett. 2014, 39, 2827. [Google Scholar] [CrossRef]
- Hou, M.; Zhu, F.; Wang, Y.; Liao, C.; Liu, S.; Lu, P. Antiresonant reflecting guidance mechanism in hollow-core fiber for gas pressure sensing. Opt. Express 2016, 24, 27890. [Google Scholar] [CrossRef]
- Tang, J.; Yin, G.; Liao, C.; Liu, S.; Li, Z.; Zhong, X.; Wang, Q.; Zhao, J.; Yang, K.; Wang, Y. High-Sensitivity Gas Pressure Sensor Based on Fabry–Pérot Interferometer with a Side-Opened Channel in Hollow-Core Photonic Bandgap Fiber. IEEE Photonics J. 2015, 7, 1–7. [Google Scholar] [CrossRef]
- Liang, M.; Fang, X.; Wu, G.; Xue, G.; Li, H. A fiber bragg grating pressure sensor with temperature compensation based on diaphragm-cantilever structure. Optik 2017, 145, 503–512. [Google Scholar] [CrossRef]
- Song, X.; Hou, L.; Wei, X.; Su, H.; Li, C.; Li, Y.; Ran, L. High Sensitivity Fiber Gas Pressure Sensor with Two Separated Fabry–Pérot Interferometers Based on the Vernier Effect. Photonics 2022, 9, 31. [Google Scholar] [CrossRef]
- Liu, T.; Zhang, W.; Wang, S.; Jiang, J.; Liu, K.; Wang, X.; Zhang, J. Temperature Insensitive and Integrated Differential Pressure Sensor for Liquid Level Sensing Based on an Optical Fiber Fabry–Perot Interferometer. IEEE Photonics J. 2018, 10, 1–8. [Google Scholar] [CrossRef]
- Klimek, J.; Kisała, P.; Cięszczyk, S. Badanie Wpływu Parametrów Procesu Wytwarzania Periodycznych Struktur Światłowodowych na ich Charakterystyki Widmowe. Kraków. 2021. Available online: https://www.eaiib.agh.edu.pl/wp-content/uploads/2021/06/autoreferat-Klimek-Jacek.pdf (accessed on 17 September 2022).
- Xu, M.G.; Reekie, L.; Chow, Y.T.; Dakin, J.P. Optical in-fibre grating high pressure sensor. Electron. Lett. 1993, 29, 398–399. [Google Scholar] [CrossRef]
- Huang, J.; Zhou, Z.; Zhang, D.; Wei, Q. A Fiber Bragg Grating Pressure Sensor and Its Application to Pipeline Leakage Detection. Adv. Mech. Eng. 2013, 5, 1–6. [Google Scholar] [CrossRef]
- Huang, J.; Zhou, Z.; Wen, X.; Zhang, D. A diaphragm-type fiber Bragg grating pressure sensor with temperature compensation. Measurement 2013, 46, 1041–1046. [Google Scholar] [CrossRef]
- Pachava, V.R.; Kamineni, S.; Madhuvarasu, S.S.; Putha, K. A high sensitive FBG pressure sensor using thin metal diaphragm. J. Opt. 2014, 43, 117–121. [Google Scholar] [CrossRef]
- Gu, Y.F.; Zhao, Y.; Lv, R.Q.; Yang, Y. A practical FBG sensor based on a thin-walled cylinder for hydraulic pressure measurement. IEEE Photonics Technol. Lett. 2016, 28, 2569–2572. [Google Scholar] [CrossRef]
- Neeharika, V.; Pattnaik, P.K. Optical MEMS Pressure Sensors Incorporating Dual Waveguide Bragg Gratings on Diaphragms. IEEE Sens. J. 2016, 16, 681–687. [Google Scholar] [CrossRef]
- Vorathin, E.; Hafizi, Z.M.; Aizzuddin, A.M.; Lim, K.S. A natural rubber diaphragm based transducer for simultaneous pressure and temperature measurement by using a single FBG. Opt. Fiber Technol. 2018, 45, 8–13. [Google Scholar] [CrossRef]
- Leal-Junior, A.; Frizera, A.; Díaz, C.; Marques, C.; Ribeiro, M.; Pontes, M.J. Material features based compensation technique for the temperature effects in a polymer diaphragm-based FBG pressure sensor. Opt. Express 2018, 26, 20590–20602. [Google Scholar] [CrossRef]
- Hegde, G.; Prasad, M.V.N.; Asokan, S. Temperature compensated diaphragm based Fiber Bragg Grating (FBG) sensor for high pressure measurement for space applications. Microelectron. Eng. 2021, 248, 111615. [Google Scholar] [CrossRef]
- Wang, L.; Wang, Y.; Wang, J.; Li, F. A High Spatial Resolution FBG Sensor Array for Measuring Ocean Temperature and Depth. Photonic Sens. 2019, 10, 57–66. [Google Scholar] [CrossRef]
- Jia, Z.; Fan, Q.; Feng, D.; Yu, D.; Zhao, X.; Yang, K. Design and investigation of the fiber Bragg grating pressure sensor based on square diaphragm and truss-beam structure. Opt. Eng. 2019, 58, 097109. [Google Scholar] [CrossRef]
- Fan, Q.; Jia, Z.; Feng, D.; Yong, Z. Highly sensitive FBG pressure sensor based on square diaphragm. Optik 2021, 225, 165559. [Google Scholar] [CrossRef]
- Liu, Z.; Zeng, L.; Xu, K.; Li, Z.; Chen, H.; Qiao, Z.; Qu, Y.; Liu, G.; Li, L. Design of a Fiber Bragg Grating Pressure Sensor Based on a Metal Diaphragm and Lever Structure. Sensors 2022, 22, 5096. [Google Scholar] [CrossRef]
- Lu, S.; Chai, H.; Sahoo, A.; Phung, B.T. Condition Monitoring Based on Partial Discharge Diagnostics Using Machine Learning Methods: A Comprehensive State-of-the-Art Review. IEEE Trans. Dielectr. Electr. Insul. 2020, 27, 1861–1888. [Google Scholar] [CrossRef]
- Raymond, W.J.K.; Illias, H.A.; Bakar, A.H.A.; Mokhlis, H. Partial discharge classifications: Review of recent progress. Measurement 2015, 68, 164–181. [Google Scholar] [CrossRef]
- Sahoo, A.; Subramaniam, A.; Bhandari, S.; Panda, S.K. A review on condition monitoring of GIS. In Proceedings of the 2017 International Symposium on Electrical Insulating Materials (ISEIM), Toyohashi, Japan, 11–15 September 2017; pp. 543–546. [Google Scholar] [CrossRef]
- Cheng, J.; Xu, Y.; Ding, D.; Liu, W. Investigation of sensitivity of the ultra-high frequency partial-discharge detection technology for micro-crack in epoxy insulator in GIS. High Volt. 2020, 5, 697–703. [Google Scholar] [CrossRef]
- Gao, C.; Yu, L.; Xu, Y.; Wang, W.; Wang, S.; Wang, P. Partial Discharge Localization Inside Transformer Windings via Fiber-Optic Acoustic Sensor Array. IEEE Trans. Power Deliv. 2019, 34, 1251–1260. [Google Scholar] [CrossRef]
- Ilkhechi, H.D.; Samimi, M.H. Applications of the Acoustic Method in Partial Discharge Measurement: A Review. IEEE Trans. Dielectr. Electr. Insul. 2021, 28, 42–51. [Google Scholar] [CrossRef]
- Wang, Y.; Li, X.; Gao, Y.; Zhang, H.; Wang, D.; Jin, B. Partial Discharge Ultrasound Detection Using the Sagnac Interferometer System. Sensors 2018, 18, 1425. [Google Scholar] [CrossRef] [PubMed]
- Nakano, Y.; Kozako, M.; Hikita, M.; Tanaka, T.; Kobayashi, M. Estimation method of degraded vacuum in vacuum interrupter based on partial discharge measurement. IEEE Trans. Dielectr. Electr. Insul. 2019, 26, 1520–1526. [Google Scholar] [CrossRef]
- Chou, C.-J.; Chen, C.-H. Measurement and analysis of partial discharge of high and medium voltage power equipment. In Proceedings of the 2018 7th International Symposium on Next Generation Electronics (ISNE), Taipei, Taiwan, 7–9 May 2018; pp. 1–4. [Google Scholar] [CrossRef]
- Su, H.-B.; Mo, W.-X.; Wang, Y.; Bi, F.; Ye, J.-B.; Gu, L. The Online Monitoring System of Vacuum Degree in High Voltage Vacuum Circuit Breakers Based on Electromagnetic Wave Method. In Proceedings of the 2020 IEEE International Conference on High Voltage Engineering and Application (ICHVE), Beijing, China, 6–10 September 2020; pp. 1–4. [Google Scholar] [CrossRef]
- Kim, S.Y.; Hong, W.K.; Kim, M.H.; Jin, S.Y.; Kim, K.-H. A Comparative Study on the Partial Discharge Characteristics of Dry-air and SF6. In Proceedings of the 2022 6th International Conference on Electric Power Equipment—Switching Technology (ICEPE-ST), Seoul, Republic of Korea, 15–18 March 2022; pp. 267–270. [Google Scholar] [CrossRef]
- Kim, N.-H.; Kim, D.-E.; Kim, S.-W.; Kil, G.-S. Comparative Analysis of Partial Discharge Characteristics of an Eco-Friendly Insulation Gas. In Proceedings of the 2022 6th International Conference on Electric Power Equipment—Switching Technology (ICEPE-ST), Seoul, Republic of Korea, 15–18 March 2022; pp. 294–297. [Google Scholar] [CrossRef]
- Bang, S.; Lee, H.-W.; Lee, B.-W. Comparison of AC and DC Partial Discharge by Monitoring of Vacuum Degree in a Distribution Class Vacuum Interrupter. IEEE Access 2022, 10, 36254–36267. [Google Scholar] [CrossRef]
- Wang, W.; Dong, J.X.; Yang, Y.; Miao, C.; Yue, B. On line measurement of vacuum degree based on continuous terahertz wave technology. In Proceedings of the 2020 5th Asia Conference on Power and Electrical Engineering (ACPEE), Chengdu, China, 4–7 June 2020; pp. 1736–1740. [Google Scholar] [CrossRef]
- Caprara, A.; Cavallini, A.; Garagnani, L.; Guo, J. A Novel Approach for Continuous Monitoring of Partial Discharge Phenomena on Medium Voltage Equipments. In Proceedings of the 2018 IEEE Electrical Insulation Conference (EIC), San Antonio, TX, USA, 17–20 June 2018; pp. 495–498. [Google Scholar] [CrossRef]
- Chung, I.-H.; Lin, Y.-H. Exploring the Impact of Parallel Architecture on Improving Adaptable Neuro-Fuzzy Inference Systems for Gas-Insulated Switch Defect Recognition. Energies 2022, 15, 3940. [Google Scholar] [CrossRef]










| No. | Gas | Global Warming Potential (GWP100) | Atmospheric Lifetime/(Years) |
|---|---|---|---|
| 1 | Vacuum | 0 | - |
| 2 | CO2 | 1 | 200 |
| 3 | CF3I | 5 | 0.05 |
| 4 | CH4 | 27 | 12 |
| 5 | C2H4F2 | 140 | 1.5 |
| 6 | N2O | 310 | 120 |
| 7 | CF4 | 6500 | 50,000 |
| 8 | NF2 | 8000 | 50–740 |
| 9 | C4F10 | 8700 | 2600 |
| 10 | C4F8 | 8700 | 10,300 |
| 11 | C3F8 | 8830 | 2600 |
| 12 | CHF3 | 11,700 | 390 |
| 13 | C2F6 | 12,200 | 10,000 |
| 14 | SF6 | 22,800 | 3200 |
| 15 | CO2 | 0 | - |
| Vacuum Technology (Advantages) | SF6Technology (Disadvantages) |
|---|---|
| No need for conservation work during the operating period | The need for frequent maintenance work during the operating period |
| No influence of outside temperature | Vulnerable to external temperature |
| No risk of explosion | Risk of explosion at high current levels |
| No negative impact on the environment | Greenhouse gas with extremely unfavorable decomposition products, specialized disposal equipment required |
| High breakdown voltage for small contact gaps with large deviations | Lower breakdown voltage for analogous contact breaks but with smaller deviations |
| The contact system is arc resistant | Requirement for special designs to increase contact life |
| Low drive energy required for operating mechanism—smaller opening and closing travel | Significant drive energy required for operating mechanism—greater opening and closing travel |
| Seamless transition to steep transient voltage increase | Problems when switching on/off rapid rise in transient voltage |
| Opening and closing times with slight deviation—easy controlled disconnection of fault and load currents | Opening and closing times with large deviations—complicated control of disconnection of capacitive and inductive currents |
| Ability to interrupt large fault currents regardless of the position of the moving contact | Lack of ability to interrupt large fault currents when the moving contact approaches the open position |
| Arc duration of 5–7 ms | Arc duration of 10–15 ms |
| Vacuum Technology (Disadvantages) | SF6Technology (Advantages) |
| Difficulties in carrying out switching operations for rated currents above 3150 A | Seamless implementation of switching operations for rated currents above 3150 A |
| No real-time monitoring of pressure status during operation | Easy real-time monitoring of quality and pressure during operation |
| X-ray emission of 5.0 μSv∙h-1 under normal operating conditions | No X-ray emission under normal operating conditions |
| High number of arc re-ignitions when combining inductive currents due to high frequency current interrupting capability | Low number of re-ignitions when combining inductive currents |
| Generating switching overvoltage’s due to current clipping before natural zero crossing | No switching overvoltage generation |
| Method | Detection Range [Pa] | Pressure Indication | Operational Applicability |
|---|---|---|---|
| Pening method | 10−5–10−2 | + | - |
| the Magnetron method | 10−5–10−2 | + | - |
| 50 Hz ignition voltages | >1 | + | +/− |
| DC ignition voltages | >1 | + | + |
| AC bonding capacity | >10−2 | − | +/− |
| Emission currents | >10−1 | − | +/− |
| Emission currents + HF current | 10−5–1 | + | + |
| X-ray | >10−1 | − | + |
| DC arc voltage | 10−5–1 | + | + |
| VD/VE | 10−3–1 | + | + |
| Screen potential | 10−3 + 10−1 | + | − |
| Induction current switch-off | >0.3 | + | + |
| Structure | Sensitivity [kPa−1] |
|---|---|
| Micro copula | 15.10 |
| Micro pyramid | 10.30 |
| Micro pillar | 2.00 |
| Hierarchical | 19.80 |
| Empty crutch | 133.10 |
| Textile | 14.40 |
| Sensor Type | Sensitivity [pm/kPa] | Temperature Crossover [kPa/°C]. | Range of Linear Response [kPa] | Production Type |
|---|---|---|---|---|
| Anti-resonance sensor with open side channel | 4.24 | - | 0–2 × 103 | Famtosecond laser |
| Anti-resonance guiding mechanism with hollow fiber reflection (HCF) | 3.59 | 7.5 | 0–2 × 103 | Famtosecond laser |
| Single FP interferometer with silica membrane | 1.036 | 0.96 | 0–2 × 103 | Shell |
| FP double cavities with composite membrane | 30.2 | - | 0–0.4 × 103 | Shell |
| MZ cascade interferometer with myctro-machined air cavity | 82.131 | 0.647 | 0–0.7 × 103 | Famtosecond laser |
| Cascade FP interferometer in a glass capillary tube | 86.64 | 5.18 | 0–0.6 × 103 | Famtosecond laser |
| Parallel connection of the FP interferometer to the gas well | 47.76 | 5.1 | 0–0.45 × 103 | Famtosecond laser |
| FP and Sagnac interferometer separated by silver foil | 31.73 | - | 0–1.6 × 103 | Shell |
| Parallel connection of FP interferometers with thin UV adhesive layer | 38.3 | - | 0.1–0.7 × 103 | Shell |
| Equivalent combination of FP interferometer with HCF | 45.76 | 0.097 | 0–3 × 103 | Arc discharge |
| Parameters | Construction by Q. Fan [108] | Construction by J. J. Huang [99] | Construction by M. Liang [93] | Construction by V. Pachav [100] | Construction by F. Gu [101] | Construction by Q. Fan [108] | Construction by Vorathin [103] | Construction by G. Hegde [105] | Construction by L. Wang [106] |
|---|---|---|---|---|---|---|---|---|---|
| Pressure range | 0–200 kPa | 0–1 × 103 kPa | 0–10 × 103 kPa | 0–207 kPa | 0–16 × 103 kPa | 0–2 × 103 kPa | 0–10 kPa | 0.4–70 × 103 kPa | 0–1000 kPa |
| Temperature range | 20–55 °C | 20–90 °C | 5–70 °C | - | 25–65 °C | - | 27.5–52.5 °C | −40–90 °C | 1–35 °C |
| Pressure sensitivity | 3.402 pm/kPa | 1.57 | 0.34 | 31.9 | 6.94 × 10–2 pm/kPa | 6.227 × 10−1 pm/kPa | 1.007 × 102 pm/kPa | 3.64 × 10−2 pm/kPa | 1.611 pm/kPa |
| Resolution | 6.26 kPa | - | - | - | 2.88 × 10−4 kPa | - | - | - | - |
| Hysteresis | 1.09% | - | - | - | - | 0.66% | - | 0.75% | - |
| Repeatability | 98.80% | 99.40% | - | 99.91% | 99.71% | 99.72% | - | 99.98% | 99.98% |
| Pressure measurement error | 5.53 kPa | 17.2 kPa | 92 kPa | - | - | 1.46 kPa | - | 12.6 kPa | - |
Disclaimer/Publisher’s Note: The statements, opinions and data contained in all publications are solely those of the individual author(s) and contributor(s) and not of MDPI and/or the editor(s). MDPI and/or the editor(s) disclaim responsibility for any injury to people or property resulting from any ideas, methods, instructions or products referred to in the content. |
© 2023 by the authors. Licensee MDPI, Basel, Switzerland. This article is an open access article distributed under the terms and conditions of the Creative Commons Attribution (CC BY) license (https://creativecommons.org/licenses/by/4.0/).
Share and Cite
Węgierek, P.; Kostyła, D.; Lech, M. Directions of Development of Diagnostic Methods of Vacuum Medium-Voltage Switchgear. Energies 2023, 16, 2087. https://doi.org/10.3390/en16052087
Węgierek P, Kostyła D, Lech M. Directions of Development of Diagnostic Methods of Vacuum Medium-Voltage Switchgear. Energies. 2023; 16(5):2087. https://doi.org/10.3390/en16052087
Chicago/Turabian StyleWęgierek, Paweł, Damian Kostyła, and Michał Lech. 2023. "Directions of Development of Diagnostic Methods of Vacuum Medium-Voltage Switchgear" Energies 16, no. 5: 2087. https://doi.org/10.3390/en16052087
APA StyleWęgierek, P., Kostyła, D., & Lech, M. (2023). Directions of Development of Diagnostic Methods of Vacuum Medium-Voltage Switchgear. Energies, 16(5), 2087. https://doi.org/10.3390/en16052087

