Fuzzy Logic Controller Equilibrium Base to Enhance AGC System Performance with Renewable Energy Disturbances
Abstract
1. Introduction
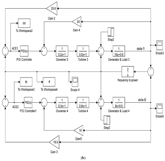
2. System Modeling
2.1. Governor Model
2.2. Turbine Model
2.3. Generator/Load Model
2.4. Wind Disturbance Generator Model
2.5. Proportional Integral Controller Model
3. Optimization Algorithms
3.1. Equilibrium Optimizer (EO)
| is the concentration inside the volume; | |
| is the volume; | |
| is the concentration at an equilibrium state; | |
| is the mass generation rate; | |
| is the turnover rate, it is assumed to be a random vector in the interval of [0, 1]; |
| is a constant value that control the exploration ability. It equals to 2; | |
| is a random vector in the interval of [0, 1]. |
| are random numbers in the interval of [0, 1]; | |
| is a vector constructed by the repetition; | |
| is the generation probability. |
3.2. Fuzzy EO PID/PI Controller
4. Results
4.1. First Section
4.1.1. Case 1
4.1.2. Case 2
4.1.3. Case 3
4.2. Second Section
4.2.1. Case 1
4.2.2. Case 2
5. Conclusions
Author Contributions
Funding
Informed Consent Statement
Data Availability Statement
Conflicts of Interest
References
- Çelik, E.; Durgut, R. Performance enhancement of automatic voltage regulator by modified cost function and symbiotic organisms search algorithm. Eng. Sci. Technol. Int. J. 2018, 21, 1104–1111. [Google Scholar] [CrossRef]
- Mohanty, P.K.; Sahu, B.K.; Panda, S. Tuning and Assessment of Proportional–Integral–Derivative Controller for an Automatic Voltage Regulator System Employing Local Unimodal Sampling Algorithm. Electr. Power Compon. Syst. 2014, 42, 959–969. [Google Scholar] [CrossRef]
- Mosaad, A.M.; Attia, M.A.; Almoataz, Y.A. Comparative Performance Analysis of AVR Controllers Using Modern Optimization Techniques. Electr. Power Compon. Syst. 2018, 46, 2117–2130. [Google Scholar] [CrossRef]
- Ali, M.N.; Soliman, M.; Mahmoud, K.; Guerrero, J.M.; Lehtonen, M.; Darwish, M.M.F. Resilient Design of Robust Multi-Objectives PID Controllers for Automatic Voltage Regulators: D-Decomposition Approach. IEEE Access 2021, 9, 106589–106605. [Google Scholar] [CrossRef]
- Köse, E. Optimal Control of AVR System with Tree Seed Algorithm-Based PID Controller. IEEE Access 2020, 8, 89457–89467. [Google Scholar] [CrossRef]
- Peddakapu, K.; Mohamed, M.R.; Srinivasarao, P.; Veerendra, A.S.; Kishore, D.J.K.; Leung, P.K. Review on automatic generation control strategies for stabilizing the frequency deviations in multi-area power system. Int. J. Ambient. Energy 2021, 1–24. [Google Scholar] [CrossRef]
- Kumar, P.; Kothari, D.P. Recent Philosophies of Automatic Generation Control Strategies in Power Systems. IEEE Trans. Power Syst. 2005, 20, 346–357. [Google Scholar]
- Shayeghi, H.; Shayanfar, H.A.; Jalili, A. Load Frequency Control Strategies: A State-of-the-Art Survey for the Researcher. Energy Convers. Manag. 2009, 50, 344–353. [Google Scholar] [CrossRef]
- Pandey, S.K.; Mohanty, S.R.; Kishor, N. A Literature Survey on Load–Frequency Control for Conventional and Distribution Generation Power Systems. Renew. Sustain. Energy Rev. 2013, 25, 318–334. [Google Scholar] [CrossRef]
- Bakken, H.B.; Grande, O.S. Automatic Generation Control in a Deregulated Power System. IEEE Trans. Power Syst. 1998, 13, 1401–1406. [Google Scholar] [CrossRef]
- Mokhtar, S.; Anayi, F. TLBO Tuned a Novel Robust Fuzzy Control Structure for LFC of a Hybrid Power System with Photovoltaic Source. Eng. Proc. 2022, 19, 1. [Google Scholar]
- Nanda, J.; Mishra, S.; Saikia, L.C. Maiden application of bacterial foraging-based optimization technique in multiarea automatic generation control. IEEE Trans Power Syst 2009, 24, 602–609. [Google Scholar] [CrossRef]
- Nanda, J.; Kaul, B.L. Automatic generation control of an interconnected power system. Proc. Inst. Electr. Eng. 1978, 125, 385–390. [Google Scholar] [CrossRef]
- Hari, L.; Kothari, M.L.; Nanda, J. Optimum selection of speed regulation parameters for automatic generation control in discrete mode considering generation rate constraints. IEE Proc. C—Gener. Transm. Distrib. 1991, 138, 401–406. [Google Scholar] [CrossRef]
- Nanda, J.; Mangla, A.; Suri, S. Some new findings on automatic generation control of an interconnected hydrothermal system with conventional controllers. IEEE Trans. Energy Convers. 2006, 21, 187–194. [Google Scholar] [CrossRef]
- Daraz, A.; Malik, S.A.; Haq, A.U. Review of Automatic Generation Control for Multi-Source Interconnected Power System Under Deregulated Environment. In Proceedings of the 2018 International Conference on Power Generation Systems and Renewable Energy Technologies (PGSRET), Barcelona, Spain, 10–12 September 2018; pp. 1–5. [Google Scholar] [CrossRef]
- Panda, S.; Padhy, N.P. Comparison of particle swarm optimization and genetic algorithm for FACTS-based controller design. Appl. Soft Comput. 2008, 8, 1418–1427. [Google Scholar] [CrossRef]
- Miavagh, F.M.; Miavaghi, E.A.A.; Ghiasi, A.R.; Asadollahi, M. Applying of PID, FPID, TID and ITID controllers on LFC using particle swarm optimization (PSO). In Proceedings of the 2015 2nd International Conference on Knowledge-Based Engineering and Innovation (KBEI), Tehran, Iran, 5–6 November 2015; pp. 866–871. [Google Scholar]
- Kumari, S.; Shankar, G.; Prince, A. Load Frequency Control Using Linear Quadratic Regulator and Differential Evolution Algorithm. In Proceedings of the 2016 International Conference on Next Generation Intelligent Systems (ICNGIS), Kottayam, India, 1–3 September 2016. [Google Scholar]
- Omer, M.; Soliman, M.; Ghany, A.M.A.; Bendary, F. Ant colony optimization based PID for single area load frequency control. In Proceedings of the 2013 5th International Conference on Modelling, Identification and Control (ICMIC), Cairo, Egypt, 31 August–2 September 2013. [Google Scholar]
- Morsali, J.; Zare, K.; Hagh, M.T. A novel dynamic model and control approach for SSSC to contribute effectively in AGC of a deregulated power system. Int. J. Electr. Power Energy Syst. 2018, 95, 239–253. [Google Scholar] [CrossRef]
- Sahu, B.K.; Pati, S.; Panda, S. Hybrid differential evolution particle swarm optimization optimized fuzzy proportional–integral derivative controller for automatic generation control of interconnected power system. IET Gener. Transm. Distrib. 2014, 8, 1789–1800. [Google Scholar] [CrossRef]
- Gozde, H.; Taplamacioglu, M.C. Automatic generation control application with craziness-based particle swarm optimization in a thermal power system. Int. J. Electr. Power Energy Syst. 2011, 33, 8–16. [Google Scholar] [CrossRef]
- Ali, E.S.; Abd-Elazim, S.M. Bacteria foraging optimization algorithm-based load frequency controller for interconnected power system. Int. J. Electr. Power Energy Syst. 2011, 33, 633–638. [Google Scholar] [CrossRef]
- Rout, U.K.; Sahu, R.K.; Panda, S. Design and analysis of differential evolution algorithm based automatic generation control for interconnected power system. Ain. Shams. Eng. J. 2013, 4, 409–421. [Google Scholar] [CrossRef]
- Yesil, E.; Guzelkaya, M.; Eksin, I. Self tuning fuzzy PID type load and frequency controller. Energy Convers. Manag. 2004, 45, 377–390. [Google Scholar] [CrossRef]
- Khuntia, S.R.; Panda, S. Simulation study for automatic generation control of a multi-area power system by ANFIS approach. Appl. Soft Comput. 2012, 12, 333–341. [Google Scholar] [CrossRef]
- Ghosal, S.P. Optimization of PID gains by particle swarm optimization in fuzzy based automatic generation control. Electr. Power Syst. Res. 2004, 72, 203–212. [Google Scholar] [CrossRef]
- Kumar, N.; Chelliah, T.R.; Srivastava, S.P. Analysis of doubly fed induction machine operating at motoring mode subjected to voltage sag. Eng. Sci. Technol. Int. J. 2016, 19, 1117–1131. [Google Scholar] [CrossRef]
- Kaundal, V.; Mondal, A.K.; Sharma, P.; Bansal, K. Tracing of shading effect on underachieving SPV cell of an SPV grid using wireless sensor network. Eng. Sci. Technol. Int. J. 2015, 18, 475–484. [Google Scholar] [CrossRef]
- Nayanar, V.; Kumaresan, N.; Gounden, N.G.A. Wind-driven SEIG supplying DC microgrid through a single-stage power converter. Eng. Sci. Technol. Int. J. 2016, 19, 1600–1607. [Google Scholar]
- Attia, M.A.; Hany, M.H.; Abdelaziz, A.Y. Performance enhancement of power systems with wave energy using gravitational search algorithm based TCSC devices. Eng. Sci. Technol. Int. J. 2016, 19, 1661–1667. [Google Scholar] [CrossRef][Green Version]
- Alzaareer, K.; Al-Shetwi, A.Q.; El-bayeh, C.Z.; Taha, M.B. Automatic generation control of multi-area interconnected power systems using ANN controller. Rev. D’intelligence Artif. 2020, 34, 1–10. [Google Scholar] [CrossRef]
- Kumar, A.; Singh, O. Recent Strategies for Automatic Generation Control of Multi-Area Interconnected Power Systems. In Proceedings of the 2019 3rd International Conference on Recent Developments in Control, Automation & Power Engineering (RDCAPE), Noida, India, 10–11 October 2019; pp. 153–158. [Google Scholar] [CrossRef]
- Muntasir, A.M.; Alquthami, T. Optimal Design of Automatic Generation Control Based on Simulated Annealing in Interconnected Two-Area Power System Using Hybrid PID—Fuzzy Control. Energies 2022, 15, 1540. [Google Scholar] [CrossRef]
- Maroufi, O.; Choucha, A.; Chaib, L. Hybrid fractional fuzzy PID design for MPPT-pitch control of wind turbine-based bat algorithm. Electr. Eng. 2020, 102, 2149–2160. [Google Scholar] [CrossRef]
- Mahto, T.; Malik, H.; Mukherjee, V.; Alotaibi, M.A.; Almutairi, A. Renewable generation-based hybrid power system control using fractional order-fuzzy controller. Energy Rep. 2021, 7, 641–653. [Google Scholar]
- Asgharnia, A.; Shahnazi, R.; Jamali, A. Performance and robustness of optimal fractional fuzzy PID controllers for pitch control of a wind turbine using chaotic optimization algorithms. ISA Trans. 2018, 79, 27–44. [Google Scholar] [CrossRef] [PubMed]
- Yang, L.; Sun, Q.; Zhang, N.; Li, Y. Indirect Multi-Energy Transactions of Energy Internet With Deep Reinforcement Learning Approach. IEEE Trans. Power Syst. 2022, 37, 4067–4077. [Google Scholar] [CrossRef]
- Xi, L.; Zhang, L.; Xu, Y.; Xu, Y.C. Automatic Generation Control Based on Multiple-step Greedy Attribute and Multiple-level Allocation Strategy. CSEE J. Power Energy Syst. 2022, 8, 281–292. [Google Scholar] [CrossRef]
- Yushuai, L.; Zhang, H.; Liang, X.; Huang, B. Event-triggered-based distributed cooperative energy management for multienergy systems. IEEE Trans. Ind. Inform. 2018, 15, 2008–2022. [Google Scholar]
- Attia, M.A.; Mokhtar, M.; Abdelaziz, A.Y.; Sasis, S.; Kumar, S.; Saket, R.K. Optimal Controller Design for Automatic Generation Control Under Renewable Energy Disturbance. In Advances in Smart Grid Automation and Industry 4.0; Springer: Singapore, 2021; pp. 121–132. [Google Scholar]
- Faramarzi, A.; Heidarinejad, M.; Stephens, B.; Mirjalili, S. Equilibrium optimizer: A novel optimization algorithm. Knowl.-Based Syst. 2020, 191, 105190. [Google Scholar] [CrossRef]
- Jäkel, J.; Mikut, R.; Bretthauer, G. Fuzzy Control Systems; Institute of Applied Computer Science; Forschungszentrum Karlsruhe GmbH: Karlsruhe, Germany, 2004. [Google Scholar]
- Kumar, A.; Kumar, V. Performance analysis of optimal hybrid novel interval type-2 fractional order fuzzy logic controllers for fractional order systems. Expert Syst. Appl. 2018, 93, 435–455. [Google Scholar] [CrossRef]
- Laib, A.; Talbi, B.; Gharib, A.K.M. Hybrid Interval Type-2 Fuzzy PID+I Controller for a Multi-DOF Oilwell Drill-String System. IEEE Access 2022, 10, 67262–67275. [Google Scholar] [CrossRef]
- Khan, A.A.; Rapal, N. Fuzzy PID Controller: Design, Tuning and Comparison with Conventional PID Controller. In Proceedings of the 2006 IEEE International Conference on Engineering of Intelligent Systems, Islamabad, Pakistan, 22–23 April 2006; pp. 1–6. [Google Scholar] [CrossRef]
- Gheisarnejad, M. An effective hybrid harmony search and cuckoo optimization algorithm based fuzzy PID controller for load frequency control. Appl. Soft Comput. 2018, 65, 121–138. [Google Scholar] [CrossRef]
- Annapoorani, K.I.; Rajaguru, V.; Padmanabhan, S.A.; Kumar, K.M.; Venkatachalam, S. Fuzzy logic-based integral controller for load frequency control in an isolated micro-grid with superconducting magnetic energy storage unit. Mater. Today Proc. 2022, 58, 244–250. [Google Scholar] [CrossRef]
- Elsaied, M.M.; Attia, M.A.; Mostafa, M.A.; Mekhamer, S.F. Application of Different Optimization Techniques to Load Frequency Control with WECS in a Multi-Area System. Electr. Power Compon. Syst. 2018, 46, 739–756. [Google Scholar] [CrossRef]

























| Symbol | Description | Value |
|---|---|---|
| R | speed regulation | 0.05 |
| D | frequency sensitive coefficient | 1 |
| B | frequency bias factor | 21 |
| Tch | turbine time constant | 0.3 s |
| Tg | governor time constant | 0.1 s |
| M | constant of inertia | 10 s |
| Cp | power coefficient | 0.5 |
| A | swept area | 5538.96 m2 |
| Error | ||||||
| Change of Error | NB | N | Z | P | PB | |
| NB | NB | NB | NB | N | Z | |
| N | NB | NB | N | Z | P | |
| Z | NB | N | Z | P | PB | |
| P | N | Z | P | PB | PB | |
| PB | Z | P | PB | PB | PB | |
| Kp | Ki | |
|---|---|---|
| Fuzzy EO PI initials | 0.4922 | 0.3648 |
| GA PI | 0.4218 | 0.2928 |
| GSA PI | 0.432 | 0.299 |
| HSA PI | 0.4430 | 0.3043 |
| Kp | Ki | |
|---|---|---|
| Fuzzy EO PI initials | Same initial gains of Case 1 | |
| GA PI | 0.5469 | 0.3922 |
| GSA PI | 0.4846 | 0.3321 |
| HAS PI | 0.5085 | 0.3532 |
Publisher’s Note: MDPI stays neutral with regard to jurisdictional claims in published maps and institutional affiliations. |
© 2022 by the authors. Licensee MDPI, Basel, Switzerland. This article is an open access article distributed under the terms and conditions of the Creative Commons Attribution (CC BY) license (https://creativecommons.org/licenses/by/4.0/).
Share and Cite
Mansour, S.; Badr, A.O.; Attia, M.A.; Sameh, M.A.; Kotb, H.; Elgamli, E.; Shouran, M. Fuzzy Logic Controller Equilibrium Base to Enhance AGC System Performance with Renewable Energy Disturbances. Energies 2022, 15, 6709. https://doi.org/10.3390/en15186709
Mansour S, Badr AO, Attia MA, Sameh MA, Kotb H, Elgamli E, Shouran M. Fuzzy Logic Controller Equilibrium Base to Enhance AGC System Performance with Renewable Energy Disturbances. Energies. 2022; 15(18):6709. https://doi.org/10.3390/en15186709
Chicago/Turabian StyleMansour, Soha, Ahmed O. Badr, Mahmoud A. Attia, Mariam A. Sameh, Hossam Kotb, Elmazeg Elgamli, and Mokhtar Shouran. 2022. "Fuzzy Logic Controller Equilibrium Base to Enhance AGC System Performance with Renewable Energy Disturbances" Energies 15, no. 18: 6709. https://doi.org/10.3390/en15186709
APA StyleMansour, S., Badr, A. O., Attia, M. A., Sameh, M. A., Kotb, H., Elgamli, E., & Shouran, M. (2022). Fuzzy Logic Controller Equilibrium Base to Enhance AGC System Performance with Renewable Energy Disturbances. Energies, 15(18), 6709. https://doi.org/10.3390/en15186709

