Harmonic Modeling and Analysis for Parallel 12-Pulse Rectifier under Unbalanced Voltage Condition in Frequency-Domain
Abstract
:1. Introduction
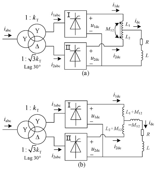
2. Operating Principle and Derivation of AC Current of Parallel 12-Pulse Rectifier under Unbalanced Voltage
3. Frequency-Domain Harmonic Model of Parallel 12-Pulse Rectifier
3.1. Frequency-Domain Harmonic Model under Unbalanced Voltage
3.2. Simplification of Frequency-Domain Harmonic Model
4. Simulation Verification
5. Conclusions
Author Contributions
Funding
Institutional Review Board Statement
Informed Consent Statement
Data Availability Statement
Conflicts of Interest
References
- Xiao, X.; Liao, K.; Tang, S.; Fan, W. Development of Power-Electricized distribution grids and the new supraharmonics issues. Trans. China Electrotech. Soc. 2018, 33, 707–720. [Google Scholar]
- Zhou, X.; Chen, S.; Lu, Z. Review and prospect for power system development and related technologies: A concept of three-generation power systems. Proc. CSEE 2013, 33, 1–11. [Google Scholar]
- Blaabjerg, F.; Chen, Z.; Kjaer, S.B. Power electronics as efficient interface in dispersed power generation systems. IEEE Trans. Power Electron. 2004, 19, 1184–1194. [Google Scholar] [CrossRef]
- Wang, S.; Lv, Z.; Zhang, D.; Zhang, D. A Multi-Pulse thyristor rectifier with high power factor. Autom. Electr. Power Syst. 2012, 36, 74–78. (In Chinese) [Google Scholar]
- Liu, M.; Zhou, X.; Chen, H.; Xie, W.; Jing, Y.; Wang, J.; Wei, N.; Zhou, N. Analysis and calculation on harmonic amplification effect of electric vehicle charging station using three-phase uncontrolled rectification charger. Power Syst. Prot. Control 2016, 4, 36–43. (In Chinese) [Google Scholar]
- Leite, M.C.C.; Vieira, F.A.M.; Silva, V.B.; Fortes, M.Z.; Dias, D.H.N. Harmonic analysis of a photovoltaic systems connected to low voltage grid. IEEE Lat. Am. Trans. 2018, 16, 112–117. [Google Scholar] [CrossRef]
- Chen, Z.; Wang, Y.; Wen, B. Analysis and research of minimum series impedance between AC network and the AC filter in converter stations. Proc. CSEE 2017, 37, 244–250. [Google Scholar]
- Meng, F.; Luo, J.; Gao, L.; Yang, W.; Yang, S. A High-Power density Multi-Pulse rectifier based on harmonic reduction technology at DC link. Trans. China Electrotech. Soc. 2017, 19, 134–140. [Google Scholar]
- Singh, B.; Gairola, S.; Singh, B.N.; Chandra, A.; AI-Haddad, K. Multi-Pulse AC–DC converters for improving power quality: A review. IEEE Trans. Power Electron. 2008, 23, 260–281. [Google Scholar] [CrossRef]
- Meng, F.; Xu, X.; Gao, L. A harmonic reduction method in Multi-Pulse rectifier using passive devices. Trans. China Electrotech. Soc. 2017, 32, 77–86. [Google Scholar]
- Xue, Y.; Xu, Z.; Huang, Y.; Li, X. Improved time domain piecewise calculating method for AC side harmonic current of HVDC systems. Proc. CSEE 2010, 30, 96–99. (In Chinese) [Google Scholar]
- Sainz, L.; Balcells, J. Harmonic interaction influence due to current source shunt filters in networks supplying nonlinear loads. IEEE Trans. Power Deliv. 2012, 27, 1385–1393. [Google Scholar] [CrossRef]
- Malik, M.H.; Borzacchiello, D.; Chinesta, F.; Diez, P. Inclusion of frequency-dependent parameters in power transmission lines simulation using harmonic analysis and proper generalized decomposition. Int. J. Numer. Model. Electron. Netw. Devices Fields 2018, 2, e2331. [Google Scholar] [CrossRef]
- Zhu, Y.; Yang, S.; Meng, F. 12-pulse rectifier system with a PWM rectifier at DC side and its load adaptability. Trans. China Electrotech. Soc. 2012, 27, 85–92. [Google Scholar]
- Sun, Y.; Yin, Z.; Zheng, W.; Liu, Y. Study of the harmonic producing characteristics of the thyristor controlled reactors. Trans. China Electrotech. Soc. 2012, 27, 267–273. (In Chinese) [Google Scholar]
- Sun, Y.; Zhang, G.; Xu, W.; Mayordomo, J.G. A harmonically coupled admittance matrix model for AC/DC converters. IEEE Trans. Power Syst. 2007, 22, 1574–1582. [Google Scholar] [CrossRef]
- Sun, Y.; Wang, X.; Yin, Z. Non-Iterative harmonic power flow analysis for power systems with multiple harmonic sources. Proc. CSEE 2012, 32, 83–90. (In Chinese) [Google Scholar]
- Zhou, N.; Wei, N.; Wang, J.; Weng, L.; Wang, Q. Measurement-Based harmonic power modeling of Three-Phase uncontrolled rectification load. Proc. CSEE 2017, 37, 5583–5593. [Google Scholar]
- Wang, J.; Zhou, N.; Wang, Q.; Wei, N. Frequency-Domain harmonic modeling of the series 12-pulse rectifier under unbalanced voltage condition. Trans. China Electrotech. Soc. 2015, 30, 69–77. [Google Scholar]
- Li, Z.; Wang, G.; Li, H.; Li, X.; Fu, C. An analysis and calculation method of harmonic interaction between AC and DC system under asymmetric operation conditions. Autom. Electr. Power Syst. 2010, 34, 42–47. (In Chinese) [Google Scholar]









| Case | Fire Angle α/° | THDu/% | γ | Overlap Angle μ/° | Ua1/V | R/Ω | L1,L2/H | L/H | H |
|---|---|---|---|---|---|---|---|---|---|
| 1 | 10° | 1.94 | 0.1 | 0° | 380 | 5 | 0.42 | 0.02 | 30 |
| 2 | 30° | 4.79 | 0.20 | 10° | 380 | 10 | 0.5 | 0.2 | 30 |
Publisher’s Note: MDPI stays neutral with regard to jurisdictional claims in published maps and institutional affiliations. |
© 2022 by the authors. Licensee MDPI, Basel, Switzerland. This article is an open access article distributed under the terms and conditions of the Creative Commons Attribution (CC BY) license (https://creativecommons.org/licenses/by/4.0/).
Share and Cite
Qian, G.; Wang, Q.; He, S.; Dai, W.; Wei, N.; Zhou, N. Harmonic Modeling and Analysis for Parallel 12-Pulse Rectifier under Unbalanced Voltage Condition in Frequency-Domain. Energies 2022, 15, 3946. https://doi.org/10.3390/en15113946
Qian G, Wang Q, He S, Dai W, Wei N, Zhou N. Harmonic Modeling and Analysis for Parallel 12-Pulse Rectifier under Unbalanced Voltage Condition in Frequency-Domain. Energies. 2022; 15(11):3946. https://doi.org/10.3390/en15113946
Chicago/Turabian StyleQian, Guochao, Qianggang Wang, Shun He, Weiju Dai, Nengqiao Wei, and Niancheng Zhou. 2022. "Harmonic Modeling and Analysis for Parallel 12-Pulse Rectifier under Unbalanced Voltage Condition in Frequency-Domain" Energies 15, no. 11: 3946. https://doi.org/10.3390/en15113946
APA StyleQian, G., Wang, Q., He, S., Dai, W., Wei, N., & Zhou, N. (2022). Harmonic Modeling and Analysis for Parallel 12-Pulse Rectifier under Unbalanced Voltage Condition in Frequency-Domain. Energies, 15(11), 3946. https://doi.org/10.3390/en15113946
